Date: 20160728
Docket: T-407-14
Citation: 2016 FC 883
Montréal, Québec, July 28, 2016
PRESENT: The Honourable Mr. Justice Locke
|
BETWEEN: |
|
POLLARD BANKNOTE LIMITED |
|
Plaintiff |
|
and |
|
BABN
TECHNOLOGIES CORP. and SCIENTIFIC GAMES PRODUCTS |
|
Defendants |
JUDGMENT AND REASONS
TABLE OF CONTENTS:
III. The 551 Patent and its Background
D. Conclusion on Claim Construction
(3) Conclusion on Overbreadth and Inutility
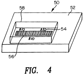
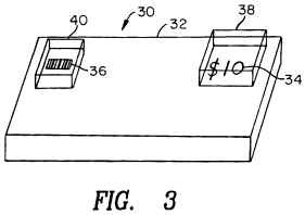
(4) Conclusion on Anticipation
(8) Prosecution History of the 551 Patent and Other Extrinsic Evidence
I. Overview
[1] This action concerns security features on instant lottery tickets. The plaintiff, Pollard Banknote Limited (Pollard), challenges the validity of Canadian Patent No. 2,752,551 (the 551 Patent). The owner of the 551 Patent, Scientific Games Products (Canada) ULC (SG) defends against this validity challenge and counterclaims against Pollard for infringement of the 551 Patent. The other defendant, BABN Technologies Corp. (BABN), is a predecessor of SG.
[2] For the reasons set out below, I have concluded that the claims of the 551 Patent are invalid. Therefore, I grant Pollard’s request for a declaration impeaching the 551 Patent. In the event that I am wrong, and the claims of the 551 Patent are valid, I conclude that said claims are not infringed by Pollard. In either case, I dismiss SG’s counterclaim for infringement.
II. Parties
[3] Both sides in this litigation are major players in the business of marketing, printing and distributing instant lottery tickets. This has become a consolidated market. The Court has heard that there are currently only three major players in this market in the world: Pollard, SG and another company called GTECH Corporation (now International Gaming Technology, or IGT). Pollard and SG are the dominant players in the Canadian market.
[4] SG is the result of a series of consolidations that took the ownership of the rights in the 551 Patent (and its application) from the applicant BABN to Oberthur Gaming Technologies, Inc. (OGT) in 1999, and then (in 2007) from OGT to F.C.O.I. Canada Inc., then to Scientific Games Products (Canada) Inc., and then to the defendant/plaintiff by counterclaim, Scientific Games Products (Canada) ULC.
III. The 551 Patent and its Background
[5] The history of the 551 Patent in suit is extraordinary in two respects. Firstly, though the 551 Patent was issued not long ago on September 17, 2013, it is set to expire later this year on October 14, 2016. This is because the application for the 551 Patent was filed as a divisional (under section 36 of the Patent Act, RSC 1985, c P-4) of Canadian Patent Application No. 2,234,775 (the 775 Application) which was filed back on October 14, 1996. Pursuant to subsection 36(4) of the Patent Act, the divisional has the same filing date as the original application. The prosecution of these applications lasted more than 17 years. In accordance with section 44 of the Patent Act, the term of the 551 Patent is limited to 20 years from the filing date.
[6] The second extraordinary aspect of the history of the 551 Patent is arguably related to the first. It concerns a series of protests (submissions under section 34.1 of the Patent Act) that were filed with the Patent Office on behalf of Pollard against the 775 Application and the divisional application that led to the 551 Patent, beginning on May 27, 1999. In all, no fewer than 12 such protests were filed. Hence, the dispute between the parties about the patentability of the 551 Patent dates back to near the beginning of the prosecution of the 775 Application. That prosecution, including the protests filed in the context thereof, and the continued prosecution and accompanying protests of the divisional application, are discussed in greater detail later in these reasons. For now, I turn to a discussion of the 551 Patent as issued.
[7] The 551 Patent claims priority from a US patent application that was filed on October 16, 1995, and which issued as US Patent No. 6,308,991 (the US 991 Patent). This is therefore the “claim date”, as defined in section 28.1 of the Patent Act. Pursuant to section 10 of the Patent Act, the 775 Application was published on April 24, 1997.
[8] The 551 Patent is entitled “Printed Document Including Bar Code Authentication System”. Though the prosecution of the application for this patent as well as the parent application was extraordinarily long and complicated, the specification is mercifully short.
[9] The 551 Patent concerns instant lottery tickets having an opaque scratch-off layer (sometimes called a latex coating) over game data printed onto a substrate, generally paper or card. The game is played by removing the scratch-off layer to reveal whether or not a prize has been won. Instant lottery tickets are commonly sold at the checkout counter of retail establishments and are generally pre-determined as either winners or non-winners.
[10] Though there is no discussion to this effect in the 551 Patent, another well-known form of instant lottery ticket is a pull tab ticket. On this kind of ticket, the scratch-off layer over the game data is replaced by pull tabs which are secured to the ticket substrate by perforations that create tear lines. The pull tabs are removed by pulling them along the tear lines. Pull tab ticket are generally less expensive to manufacture and tend to be used with lower value lottery games.
[11] Another form of lottery that is not discussed in the 551 Patent is called online gaming. Whereas instant lottery tickets are predetermined as winners and non-winners, tickets for online games (also called draw games) are not determined as winners or non-winners until a draw has been made after the ticket has been purchased. A well-known version of such a game is Lotto 6/49.
[12] Instant lottery tickets have generally included information, in the form of numbers and/or a code (such as a bar code), that may be used for online validation using a central database. This could include information concerning the game, book and ticket numbers of the individual ticket, together with information as to whether it was a winner and the amount of any prize. This information could be used to consult the lottery’s online system to confirm that the ticket had been legitimately sold, that it was indeed a winner, and that it had not previously been redeemed. This was intended to secure lottery tickets against counterfeiting, forgery and/or alteration. The introduction of machine-readable bar codes containing the validation information permitted faster ticket validation as compared to keying in a lengthy series of digits.
[13] The parties are agreed that it was known prior to the claim date of the 551 Patent to cover some or all of the validation information with a scratch-off layer. This would prevent people from benefiting from having information associating validation numbers with winning tickets. For example, in a process called skimming, an unscrupulous retailer might scan the exposed validation information of many tickets in order to find the winners. The retailer could then keep the winners and sell only the non-winners. Lotteries apparently had processes in place to detect skimming by flagging repeated unsuccessful validation attempts, but it appears that those processes were fallible.
[14] Even with validation information covered, an unscrupulous retailer with familiarity with the location and format of the validation information could attempt to gain information for the purpose of skimming by making tiny, virtually invisible holes or fine lines in the scratch-off coating to reveal just enough information to hint to the retailer which tickets might be winners. This is sometimes called pinpricking.
[15] There were two ways to cover the validation information under a scratch layer. It could be done by placing it under the same scratch-off layer as the game data, or it could be located elsewhere on the ticket under a separate scratch-off layer. In the latter case, the scratch-off layer covering the validation information would typically bear an indication that it should not be scratched off. A number or code hidden in this way is often referred to as a VIRN (void if removed number). The scratch-off covering the VIRN would be removed only by a lottery agent upon redemption of the ticket.
[16] Though the parties agree that a human-readable validation number had been placed under scratch-off, it is less clear whether it was also commonly known to cover validation information in the form of a machine-readable bar code with a scratch-off layer. Here, the parties do agree that an exposed bar code on an instant lottery ticket typically would not contain all of the information necessary for validation, and would be accompanied by a VIRN for validation. Placement of at least some of the validation information under scratch-off was intended to improve the security of the lottery system.
[17] Even here, retailer fraud was possible: a player presenting a winning ticket could be told by the retailer that the ticket was not a winner, or that the amount of the prize was smaller than the actual amount. The retailer could then take the ticket for him or herself and redeem it for the full prize amount. Even the introduction of specific sounds played by the retailer’s lottery machine was apparently insufficient to eliminate retailer fraud. It should be noted, however, that this is not the problem that is addressed in the 551 Patent.
[18] Another challenge with instant lottery tickets concerned their relatively small size compared to the size of the bar code needed to contain all of the information required for ticket validation. The Court heard evidence of the importance of the graphics on the front face of an instant lottery ticket to its marketing and sales. Space used for a bar code, especially on the front side of the ticket, limits the space for such graphics. The 551 Patent mentions the significant advantage of reducing the area occupied by the bar code.
[19] The 551 Patent proposes to improve the integrity of instant lottery tickets by hiding the entire bar code from view until such time as authentication is necessary. This permits all of the information necessary for validation to be included in the bar code. Though it is not mentioned in the patent, having all of the validation information in the bar code can also facilitate self-checking of winning tickets, which could potentially reduce retailer fraud.
[20] The patent also proposes to reduce the amount of space taken by the bar code by using a two-dimensional (2D) bar code instead of the one-dimensional (1D) bar code that was then usual. A typical example of a 1D bar code is the interleave 2 of 5, a sample of which is reproduced here:
[21] A typical example of a 2D bar code is the PDF417, a sample of which is reproduced here:
[22] Though the evidence shows that 2D bar codes had not yet been used on instant lottery tickets as of the claim date, they were known generally, and several examples of known 2D bar codes are identified in the 551 Patent. Though a 2D bar code can present greater challenges for proper printing, it permits more data to be provided in a smaller space than a 1D bar code. It also permits more data so as to incorporate redundancies that can alleviate the challenges of misread bar codes due to poor printing quality, damage or incomplete removal of the scratch-off layer.
[23] The 551 Patent describes two distinct embodiments incorporating the concept of the hidden bar code containing all of the information necessary for ticket validation. Figure 3 shows the first embodiment: a ticket on which the game data and the bar code are hidden under separate scratch-off layers. It is contemplated that the scratch-off layer over the bar code would operate as with a typical VIRN, remaining in place until removed by a lottery agent (typically, a retailer) at the time of ticket validation. If the ticket is presented for validation with the scratch-off layer over the bar code removed, that may be a basis for refusing to validate the ticket, as that might indicate that the barcode had been tampered with or subjected to skimming. Figure 3 is reproduced here:
[24] The second embodiment is shown in Figure 4 which shows the game data is printed around the bar code, and both game data and bar code are hidden under a single scratch-off layer. In this embodiment, the bar code would be revealed upon removal of the scratch-off layer at the time the game is played. It follows therefore that the removal of the scratch-off layer over the bar code in this second embodiment cannot be used as a basis for refusing to validate the ticket.
IV. Issues in Dispute
[25] The parties provided a Statement of Issues in which they agreed on a number of the issues in dispute, but disagreed on a few. There were also some changes to the list of issues during trial. Having now considered the parties’ Statement of Issues and heard from the parties, I have prepared my own modified list of issues:
- Claim Construction
- Who is the person skilled in the art (the “skilled person”) of the 551 Patent?
- How would the skilled person as of April 24, 1997, construe the following terms in the claims of the 551 Patent:
i. “play area”;
ii. “printed indicia of the play area”;
iii. “non-play area”;
iv. “spaced apart”;
v. “said 2D bar code containing all information necessary to authenticate the lottery ticket, said 2D bar code being readable by a reading device by an agent of the lottery ticket, such that when the 2D bar code is read by the reading device, the lottery ticket may be authenticated without the input of additional information provided by the agent of the lottery ticket or directly from the printed document”;
vi. “a removable continuous scratch-off coating covering both the printed indicia in said play area and the bar code in said non-play area”;
vii. “wherein the absence or alteration of the scratch-off coating covering the bar code may be a determining factor as to whether the lottery ticket is authentic”;
viii. “game data”;
ix. “printed around the bar code”?
- Invalidity Issues
- Standard of Review – Is any deference owed to the patent examiner who allowed the patent to issue?
- Ambiguity – Are the claims of the 551 Patent invalid for not defining distinctly and in explicit terms the subject-matter of the claimed invention, pursuant to section 27(4) of the Patent Act?
- Overbreadth and Inutility – Are the claims of the 551 Patent invalid for being broader than the purported invention, if any, as set out in the disclosure and for lacking utility?
- Anticipation – Was the subject matter of claim 1 of the 551 Patent anticipated by Canadian Patent Application No. 2,119,190 (the Camarato Application)?
- Obviousness – Was the subject matter of the claims of the 551 Patent obvious in view of one or both of the following:
i. Common General Knowledge;
ii. The Camarato Application.
- Infringement Issues
- If the 551 Patent is valid, has Pollard infringed the 551 Patent?
- Can Pollard rely upon the defence of licence with respect to any infringing tickets made, sold or supplied to British Columbia Lottery Corporation (BCLC), Western Canada Lottery Corporation (WCLC), Interprovincial Lottery Corporation (ILC) and Lotto-Québec?
- If the 551 Patent is valid, has Pollard induced infringement of the 551 Patent?
- Remedies
- If the 551 Patent is valid and infringed, is SG entitled to:
i. elect as between its damages or an accounting of Pollard’s profits arising from Pollard’s infringement of the 551 Patent (whether direct or induced), to be determined on a reference?
ii. reasonable compensation for a period of time prior to grant of the 551 Patent, and if so, for what period of time?
iii. injunctive relief?
iv. delivery up?
v. aggravated, punitive or exemplary damages?
vi. pre-and post-judgment interest, compounded, on any monetary relief awarded to SG?
- Should costs be awarded and if so, at what scale?
[26] In addition to the foregoing list of issues, I must also consider Pollard’s argument that the report and testimony of one of SG’s experts, James Trask, should be ruled inadmissible.
V. Witnesses
[27] This section outlines the testimony of the witnesses who testified during the trial, as well as my impressions after having heard said testimony. Some witnesses were experts while others were fact witnesses. One key difference between experts and fact witnesses is that only experts may provide opinion evidence. There is also a requirement that each expert provide a report in advance of trial of the testimony they intend to give. All of the experts provided such reports, and the Court was provided copies thereof to review prior to the commencement of the trial. This was very helpful to the Court in preparing for the trial and to have a general understanding of the issues addressed by the experts as they testified.
- The characteristics of the skilled person;
- The common general knowledge of which the skilled person would have been aware;
- A description of the 551 Patent;
- How the claims of the 551 Patent should be construed; and
- The inventive concept of the 551 Patent.
[29] In addition, all experts except James Trask addressed the Camarato Application and the issue of obviousness.
A. Pollard’s Expert Witnesses
(1) Yih Lerh Huang
[30] Dr. Huang was employed in the lottery industry for over 25 years. In 1984, he co-founded grouptheory systems incorporated (grouptheory), a lottery print and production company where he worked in ticket production, print process control, and game generation. His responsibilities included designing algorithms for validation numbers, bar codes, and secure database access. Between 1989 and 1995, his company supplied tickets to Pollard. In 1999, grouptheory was acquired by Canadian Bank Note, for whom Dr. Huang became Vice President and Chief Technology Officer. He worked in this capacity until his retirement in 2010.
[31] The parties agreed upon the following Expert Stipulation for Dr. Huang:
Yih Lerh Huang is an expert in game generation for instant lottery tickets, instant ticket management systems and validation systems. This expertise includes prize structures and the validation of tickets, both instant tickets and online tickets.
[32] In his expert report, Dr. Huang addressed all of the issues identified in paragraph [28] above and concluded, among other things, that the 551 Patent is obvious in light of the Camarato Application. During his examination-in-chief, Dr. Huang elaborated on some aspects of his expert report.
[33] In his cross-examination, Dr. Huang was asked to explain the differences between various types of lottery tickets, ways of forging or counterfeiting lottery tickets and of preventing such activities, and the security measures relied upon in the industry. He was also asked to comment on the common general knowledge as well as several pieces of prior art referenced in his report, including the presence of 2D bar codes during the relevant time period. Further, he was asked to discuss the 551 Patent and the meaning of the elements of claim 1, at which point he confirmed that he found all the elements of the claim to be essential.
[34] Dr. Huang’s testimony was of value in assisting the Court to construe the claims of the 551 Patent and to assess their validity. His answers to questions from counsel for both parties were straightforward. He was consistent in his opinions and made admissions where appropriate. I found Dr. Huang to be a reliable witness.
(2) Nicholas Fazzano
[35] Mr. Fazzano entered the lottery business in 1988 and, aside from a six-month period in the early 1990s, has since been employed by GTECH. Mr. Fazzano initially worked as a business manager in charge of purchasing and budgeting for the printing division, and subsequently became involved in customer relations, game development, and sales support. While seconded to a consortium licensed to operate a national lottery in the United Kingdom in the mid-1990s, Mr. Fazzano acted as the local authority on instant tickets, overseeing the testing of each game and developing operational procedures. He continued in his role as an unofficial instant lottery ticket expert upon his return to GTECH. He has since assisted in the start-up of a number of lotteries, particularly with respect to instant tickets. Currently, he is a director in GTECH’s Lottery Marketing Group, where he helps customers grow their instant ticket businesses.
[36] The parties agreed upon the following Expert Stipulation for Mr. Fazzano:
Nick Fazzano is an expert in the lottery industry, especially in the instant ticket area of the industry, which includes game design, manufacturing, operations, selling and implementation of systems for management and validation of instant tickets.
[37] In addition to the issues identified in paragraph [28] above, Mr. Fazzano’s expert report addressed several prior art references and concluded, among other things, that (i) claim 1 of the 551 Patent is anticipated by the Camarato Application; and (ii) the inventive concept of the 551 Patent would have been readily apparent to the skilled person based on the Camarato Application and the common general knowledge. Mr. Fazzano elaborated on some aspects of his expert report during his examination-in-chief.
[38] In his cross-examination, Mr. Fazzano described the differences between scratch tickets and pull tab tickets, and provided additional details on ticket printing and security. He was asked a number of questions about the trade publications and prior art attached to his report, and he confirmed that a 2D bar code could be printed using the technology available in the early 1990s. The remainder of Mr. Fazzano’s cross-examination was spent explaining his account of how the skilled person would understand the 551 Patent and the elements of the claims thereof.
[39] As with Dr. Huang, Mr. Fazzano’s testimony was straightforward. He displayed consistency in his opinions and made admissions where appropriate. His expert report and examination in court have been valuable in understanding the 551 Patent and construing its claims.
B. Pollard’s Fact Witness
(1) Lyle Scrymgeour
[40] Mr. Scrymgeour acted as Pollard’s representative for examinations for discovery before trial. He was employed by Pollard from 1978 to 2010, most of that time as Vice President – Technical Services. In that role, his principal responsibilities were ticket security, process development, product development and engineering. Since 2010, he has acted as a consultant to Pollard.
[41] It should be emphasized that, despite the depth of his experience in the industry, Mr. Scrymgeour testified as a fact witness, and not as an expert. Therefore, the relevance of Mr. Scrymgeour’s testimony is limited to facts and cannot include any opinions. The same comment also applies to the testimony of SG’s fact witnesses.
[42] During his examination-in-chief, Mr. Scrymgeour testified on the history of Pollard as a company printing scratch lottery tickets. He also discussed Pollard’s efforts to oppose patents on the invention of the 551 Patent, including protests before the Patent Office in Canada, an opposition process before the European Patent Office, and correspondence surrounding an opinion obtained from a US lawyer concerning the validity of the US 991 Patent which corresponds to the 551 Patent.
[43] Mr. Scrymgeour also testified concerning Pollard’s testing in 1991, of various bar codes (including 2D bar codes) covered by scratch-off coatings. Copies of both (i) a relevant extract from a Pollard lab notebook, and (ii) the cardstock on which these bar codes were printed, were submitted as trial exhibits. Mr. Scrymgeour went on to describe the first uses of covered 2D bar codes for validation of instant lottery tickets.
[44] During Mr. Scrymgeour’s cross-examination, SG brought to his attention declarations by himself and another Pollard employee named Teri Masson from 2002, describing the testing referred to in the preceding paragraph as involving not bar codes printed on cardstock, but rather “sample lottery tickets”, and indicating that bar codes covered by scratch-off material had thereby been reduced to practice in 1991. In answer to a question as to whether these declarations were misleading, Mr. Scrymgeour acknowledged that “a mistake was made.” Mr. Scrymgeour was also asked, during his cross-examination, some follow-up questions about Pollard’s unsuccessful efforts in the US to have the US 991 Patent declared invalid.
[45] I would have been concerned about the reliability of Mr. Scrymgeour’s statement in his 2002 declaration that the testing that Pollard conducted in 1991, involved sample lottery tickets (rather than bar codes printed on card stock), except that I have concluded that the distinction is not relevant for the purposes of this decision. Moreover, though Mr. Scrymgeour acknowledges that this statement was a mistake, it does not affect the overall reliability of his testimony since I find little, if any, evidence that contradicts any of his testimony on which I rely.
C. SG’s Expert Witnesses
(1) Fred Finnerty
[46] Mr. Finnerty has worked in the lottery industry for 28 years. He has experience in the development and implementation of instant ticket validation systems, as well as in the design, layout, and systems design for printing and production of instant tickets. From 1988 to 1997, he worked at Dittler Brothers, a printing company specializing in the manufacture of instant lottery tickets. Through a series of transactions, Dittler Brothers was eventually acquired by SG. There, Mr. Finnerty worked initially as a programmer, and eventually as Manager of Research and Development. At SG, Mr. Finnerty eventually became Director of Research and Development. Currently, Mr. Finnerty works as a consultant in the lottery industry.
[47] The parties agreed upon the following Expert Stipulation for Mr. Finnerty:
Fred W. Finnerty is an expert in the development and implementation of validation systems for instant lottery tickets[.] His expertise extends to the design, layout and systems design for the printing and production of instant lottery tickets, particularly scratch off tickets.
[48] In his expert report, Mr. Finnerty addressed all of the issues identified in paragraph [28] above, eventually opining that a skilled person in 1995, would not have been easily led to the idea of using a 2D bar code under a scratch-off layer as a means of improving ticket validation. Mr. Finnerty also commented on the conclusions drawn by Mr. Fazzano and Dr. Huang in relation to obviousness, arguing that they had not considered the practical and technical barriers to be overcome, and that they mischaracterized the prior art. In particular, Mr. Finnerty opined that the Camarato Application was unrelated to the 551 Patent, as it did not include any reference to a validation number for identifying winning tickets.
[49] During his examination-in-chief, Mr. Finnerty provided additional details on his employment history and summarized his disagreement with the Pollard experts regarding how a skilled person would understand the 551 Patent. He also summarized his opinion of why a skilled person would not have found the 551 Patent to be obvious.
[50] In his cross-examination, Mr. Finnerty responded to questions regarding the common general knowledge at the relevant time, and then reviewed the 551 Patent with counsel for Pollard.
[51] Upon being asked about the Camarato Application, Mr. Finnerty abruptly stated (for the first time before the Court) that he had “grossly mischaracterized” the Camarato Application in his report, as he had misunderstood its contents. He asked to retract that section of his report. He did discuss the Camarato Application during his cross-examination, but still did not seem to have a firm grasp of its content, stating incorrectly at one point that it refers to pull tab tickets but not to “lottery” tickets.
[52] Mr. Finnerty gave the impression that, in preparing for his testimony, he did not spend sufficient time reviewing the relevant documents, including the patent in suit. For example, he did not seem to know that claim 1 concerns a lottery ticket and not merely a printed document. His approach to his analysis also seemed to lack discipline. He expressed the view that one part of claim 1 concerned the embodiment described in Figure 3 of the 551 Patent, while another part of the same claim concerned the distinct embodiment described in Figure 4. This confusing conclusion is discussed in greater detail below in my analysis of claim construction.
[53] Mr. Finnerty’s admission in cross-examination that he had completely misunderstood what was clearly the most important prior art reference in this case was surprising enough. But I do not understand why Mr. Finnerty’s retraction was not addressed during his examination-in-chief. Based on Mr. Finnerty’s testimony, it appears that he recognized his error well in advance of trial, after reading documents prepared by Pollard’s experts, and that he brought this to the attention of SG’s counsel at the time; he testified that he was told that there was no further opportunity to amend or clarify his report. The failure to address this error during examination-in-chief, leaving Mr. Finnerty’s report unaltered, constitutes not just a strategic misstep by SG, but it also suggests that there may have been a hope that Mr. Finnerty’s confusion would go unnoticed and that the report would be considered without amendment. Proceeding in such a manner would be improper as it would mislead the Court as to the expert’s actual opinion. Pollard’s counsel noted (correctly) that it might have chosen not to cross-examine at all on the Camarato Application, in which case Mr. Finnerty’s confusion would indeed have gone unnoticed. There may have been a reasonable explanation for not correcting Mr. Finnerty’s report at the outset of his testimony, but none was offered.
(2) James Trask
[54] Prior to his recent retirement, Mr. Trask had worked in the lottery industry for 38 years, mostly with SG and its predecessors. Over the course of his career, he worked in a variety of senior executive positions, encompassing a range of business and operational responsibilities including sales, marketing, new product development, new market development, production and quality assurance. At the time of his retirement in January 2015, he was President of SG and Assistant to the CEO, Global Operations, of SG’s parent company.
[55] As with other experts, the parties have agreed upon an Expert Stipulation for Mr. Trask. It reads as follows:
James Trask is an expert in the business of instant lottery tickets, including new product development, marketing, sales, operations and production. This expertise extends to operational oversight of secure printing facilities, including those which print lottery tickets.
[56] Despite the stipulation to Mr. Trask’s expertise, Pollard objects to his testimony on the basis that, because of his close association with SG, he is incapable of complying with the duties of an expert witness. After testimony and argument on the question of admissibility, Mr. Trask’s substantive testimony went ahead on the understanding that I would rule on admissibility in my decision on the merits. That ruling appears below after a description of Mr. Trask’s testimony.
[57] In his expert report, Mr. Trask addressed all of the issues identified in paragraph [28] above. Mr. Trask also identified a number of Canadian lottery tickets that he opined contain all of the essential features of the scratch-off ticket defined in the claims of the 551 Patent. Interestingly, however, he did not explicitly identify the features that he found to be essential.
[58] In his initial examination-in-chief on the question of admissibility, Mr. Trask provided some additional details on his professional background, focusing in particular on the period leading up to his retirement from SG. He was then cross-examined on his ability to act as an independent witness. Mr. Trask described his current financial relationship with the company, provided details on the degree to which he was involved in the present litigation prior to his retirement, and commented on various licence agreements that he had signed on behalf of SG in relation to the 551 Patent. Counsel then made submissions on the admissibility of his testimony.
[59] For the remainder of his examination-in-chief, Mr. Trask replied to questions on the common general knowledge in the lottery industry in the mid-1990s, particularly in relation to ticket security and the printing process, and on how a skilled person would understand the 551 Patent. He was shown a number of instant tickets by counsel for SG, and confirmed that each one exhibited all of the essential elements of the claims of the 551 Patent. In his cross-examination on substantive issues, Mr. Trask provided additional detail on scratch ticket validation, and confirmed that he found all the elements of claim 1 of the 551 Patent to be essential. He subsequently confirmed that the bar codes on the tickets he examined were in the play areas to be exposed by the purchaser upon playing.
(a) Admissibility
[60] In my view, Mr. Trask did not demonstrate any bias or lack of independence in his testimony. In fact, in some respects, his testimony was more in Pollard’s favour than SG’s.
[61] The parties agree that the applicable jurisprudence on the admissibility of Mr. Trask’s evidence is White Burgess Langille Inman v Abbott and Haliburton Co, 2015 SCC 23 [WBLI]. This is a unanimous decision in which the Supreme Court of Canada (SCC) discussed four threshold requirements for admissibility of expert evidence: (i) the evidence must be relevant, (ii) it must be necessary in assisting the trier of fact, (iii) there must be no exclusionary rule, and (iv) the expert must be properly qualified. The SCC went on to state that, in addition to these requirements, the Court has a residual discretion to exclude evidence based on a cost-benefit analysis (WBLI at para 19). An expert’s opinion must be impartial (it must be an objective assessment), independent (it must be uninfluenced by the party or the outcome), and unbiased. The acid test is whether the expert’s opinion would not change if the party retaining her or him was different (WBLI at para 32). Once an expert swears that these requirements are met, the burden is on the opposing party to show a realistic concern that the expert is unable or unwilling to comply with his or her duty (WBLI at para 48).
[62] As the court in WBLI stated at para 49:
This threshold requirement is not particularly onerous and it will likely be quite rare that a proposed expert’s evidence would be ruled inadmissible for failing to meet it. The trial judge must determine, having regard to both the particular circumstances of the proposed expert and the substance of the proposed evidence, whether the expert is able and willing to carry out his or her primary duty to the court.
[63] In applying this framework to the case at bar, I see no reason for concern about Mr. Trask’s ability and willingness to comply with his duty. The SCC cites a number of examples in which expert testimony might be deemed inadmissible, including when there is a financial interest, a familial relationship, a risk of professional liability, or when the witness assumes the role of an advocate. None of these examples applies to Mr. Trask. I am also satisfied that there are no concerns that the relevance, necessity, reliability and absence of bias of Mr. Trask’s testimony are outweighed by any risks associated with that testimony (WBLI at para 54). For these reasons, I am not persuaded to rule Mr. Trask’s testimony to be inadmissible.
D. SG’s Fact Witnesses
(1) Carla Schaefer
[64] Ms. Schaefer has worked in the lottery industry for over 30 years, and is currently Vice President – Business Development of SG’s parent company. She discussed the history of SG as a company and how business is done in the lottery industry. In particular, she discussed mechanisms for ensuring ticket security and quality control. She also described the lottery industry as a small industry in which integrity is considered particularly important because of the high potential for fraud and the conservative attitude of clients, who are mostly governments. Ms. Schaefer additionally identified several documents, including (i) marketing materials describing a commercial product related to the 551 Patent, referred to as “FAILSAFE”; (ii) several licensing agreements for the use of the patented invention; and (iii) correspondence regarding SG’s efforts to obtain the payment of royalties from Canadian licensees.
[65] In her cross-examination, Ms. Schaefer confirmed that the marketing materials for FAILSAFE state that either a 1D or a 2D bar code could be used when implementing the FAILSAFE technology, though she emphasized that most people understand FAILSAFE to be associated with 2D bar codes. She indicated that she was unaware of any customer using FAILSAFE with a 1D bar code. She indicated further that it would be illogical for a customer to adopt FAILSAFE using a 1D bar code. She additionally commented on the relevance of bar code placement on scratch tickets, and provided some clarification on the contents of the licensing agreements previously identified.
(2) Pierre LaPlante
[67] Mr. LaPlante is a management consultant and partner at the management consulting firm NuFocus Strategic Group. Between 1982 and 2008, he was an employee of Atlantic Lottery Corporation (ALC), initially as a communications technician in the IT department, and subsequently as a manager of terminal maintenance, a manager of telecommunication networks and operations, Vice President of Information Technology, and finally Vice President of Organizational and Corporate Development.
[68] In his examination-in-chief, Mr. LaPlante discussed ALC’s adoption of an online validation system for instant lottery tickets, and their use of bar codes in this context. He identified a television documentary from 2006, reporting on fraud in the Canadian lottery market, which documentary was played for the Court. Mr. LaPlante commented on the impact of the documentary on the lottery industry, including increased efforts to improve lottery security. Mr. LaPlante also identified a 2007 report from the Ombudsman of Ontario on the same topic, stating that while this document and the documentary concern online gaming (in which tickets are not pre-determined as winners or non-winners and winning numbers are determined by a draw), the industry responded by increasing security for instant tickets as well. Mr. LaPlante also mentioned a similar report from the Ombudsman of British Columbia. Mr. LaPlante subsequently discussed ALC’s adoption of 2D bar codes under a scratch layer in the mid-2000s.
[69] In his cross-examination, Mr. LaPlante provided some additional details on ALC’s scratch ticket business, and confirmed that the Ombudsman of Ontario report did not make any recommendations regarding the security of instant tickets.
[70] The principal purpose of Mr. LaPlante’s testimony seems to have been the introduction of the television documentary and the Ontario Ombudsman’s report. Because I conclude that these documents are principally concerned with retailer fraud, and whereas the 551 Patent is principally concerned with consumer fraud, I find these documents to be of no more than peripheral relevance.
VI. Claim Construction
A. Applicable Law
[71] Claims construction is antecedent to consideration of both validity and infringement issues: Whirlpool Corp v Camco Inc, 2000 SCC 67 at para 43 [Whirlpool].
[72] A patent is not addressed to an ordinary member of the public, but to a worker skilled in the art described as:
[A] hypothetical person possessing the ordinary skill and knowledge of the particular art to which the invention relates, and a mind willing to understand a specification that is addressed to him. This hypothetical person has sometimes been equated with the “reasonable man” used as a standard in negligence cases. He is assumed to be a man who is going to try to achieve success and not one who is looking for difficulties or seeking failure.
[Free World Trust v Électro Santé Inc, 2000 SCC 66 at para 44, quoting Fox, Harold G, The Canadian Law and Practice Relating to Letters Patent for Inventions, 4th ed, Toronto: Carswell, 1969 at 184]
[73] As stated in Catnic Components Ltd v Hill & Smith Ltd, [1982] RPC 183 at 242-243, and quoted in Whirlpool at para 44:
A patent specification should be given a purposive construction rather than a purely literal one derived from applying to it the kind of meticulous verbal analysis in which lawyers are too often tempted by their training to indulge. The question in each case is: whether persons with practical knowledge and experience of the kind of work in which the invention was intended to be used, would understand that strict compliance with a particular descriptive word or phrase appearing in a claim was intended by the patentee to be an essential requirement of the invention so that any variant would fall outside the monopoly claimed, even though it could have no material effect upon the way the invention worked.
[Emphasis in original.]
[74] The claims language will, on a purposive construction, show that some elements of the claimed invention are essential while others are non-essential: Free World Trust v Électro Santé Inc, 2000 SCC 66 at para 31 [Free World Trust]. Claim elements are presumed to be essential, and a party alleging otherwise bears the onus of establishing non-essentiality.
[75] In construing the claims purposively, it is important to bear in mind that the language of the claims is prime: Free World Trust at para 40.
[76] As stated in Consolboard Inc v MacMillan Bloedel (Saskatchewan) Ltd, [1981] 1 SCR 504 at 520:
We must look to the whole of the disclosure and the claims to ascertain the nature of the invention and methods of its performance, (Noranda Mines Limited v. Minerals Separation North American Corporation [[1950] S.C.R. 36]), being neither benevolent nor harsh, but rather seeking a construction which is reasonable and fair to both patentee and public. There is no occasion for being too astute or technical in the matter of objections to either title or specification for, as Duff C.J.C. said, giving the judgment of the Court in Western Electric Company, Incorporated, and Northern Electric Company v. Baldwin International Radio of Canada [[1934] S.C.R. 570], at p. 574, “where the language of the specification, upon a reasonable view of it, can be so read as to afford the inventor protection for that which he has actually in good faith invented, the court, as a rule, will endeavour to give effect to that construction”. Sir George Jessel spoke to like effect at a much earlier date in Hinks & Son v. Safety Lighting Company [(1876), 4 Ch. D. 607]. He said the patent should be approached “with a judicial anxiety to support a really useful invention”.
[78] There is arguably an inconsistency between the principle that claim construction is antecedent to consideration of validity issues, and the principle that one should favour a construction that upholds the patent (or approach that patent with a judicial anxiety to support a really useful invention). It would seem that one can favour a construction that upholds the patent only if one has considered what is necessary to uphold the patent. So, it is not entirely clear whether or not one should consider validity issues when construing the claims. In my view, both of the foregoing principles should work hand in hand. Some clarity may come from the guidance that the Court is not to construe a claim without knowing where the disputes between the parties lie; it is essential to see where the shoe pinches so that one can concentrate on the important points: Shire Biochem Inc v Canada (Minister of Health), 2008 FC 538 at para. 22; Sanofi-Aventis Canada Inc v Apotex Inc, 2009 FC 676 at para. 82.
To allow such extrinsic evidence for the purpose of defining the monopoly would undermine the public notice function of the claims, and increase uncertainty as well as fuelling the already overheated engines of patent litigation. The current emphasis on purposive construction, which keeps the focus on the language of the claims, seems also to be inconsistent with opening the pandora’s box of file wrapper estoppel. If significant representations are made to the Patent Office touching the scope of the claims, the Patent Office should insist where necessary on an amendment to the claims to reflect the representation.
[80] The SCC did not address the possibility that the Patent Office may fail to insist on amendments to claims to reflect representations made by the applicant. The SCC also did not explain how the patent gives public notice of the claims, but the prosecution history, which is likewise available to the public, does not. I note also that, unlike in 2000, when the Free World Trust decision was released, prosecution histories in many jurisdictions (including Canada) are now available on the internet. This raises the question whether it is time to revisit the rule against using extrinsic evidence in claim construction.
[81] In any case, for now Canadian law appears quite settled that extrinsic evidence is not relevant to claim construction.
B. Person Skilled in the Art
[82] The parties appear to be substantially in agreement as to the characteristics of the skilled person. Having considered the views of all of the experts, I conclude that the 551 Patent is directed to persons with an understanding of the lottery industry, and more particularly of instant lottery game design, and ticket design, production, distribution and validation, as well as security features thereof.
[83] None of the experts indicated that the skilled person must have any amount of post-secondary education. However, they must have some practical experience in the relevant field.
C. Analysis
[84] The parties agree on the meaning of much of the wording of the claims of the 551 Patent but, not surprisingly, there are some points of disagreement. Pollard identifies a number of terms used in the claims that should be construed. Pollard also argues that all of the elements of the claims are essential.
[85] SG argues that, instead of individually construing the terms identified by Pollard, construction of the claims, and the determination of which elements are essential and which are non-essential, should be based on the inventive concept of the 551 Patent, on which the parties generally agree. In my view, this would be the wrong approach. A focus on the inventive concept for claim construction risks overlooking the language used in the claims. Though care must be taken not to be too literal in construing the claims, one must be guided by the primacy of the wording of the claims. The inventive concept is discussed below in consideration of Pollard’s allegation of obviousness.
[86] My discussion of the various elements of the claims is provided in the following paragraphs.
(1) Claim 1
[87] For convenience, claim 1 of the 551 Patent is reproduced here:
1. A scratch-off lottery ticket comprising:
(a) a substrate;
(b) a play area on the substrate comprising printed indicia, said printed indicia when present in a desired format may result in a prize being won;
(c) a non-play area on the substrate spaced apart from the printed indicia of the play area and including an authentication means comprising a two dimensional (2D) bar code, said 2D bar code containing all information necessary to authenticate the lottery ticket, said 2D bar code being readable by a reading device by an agent of the lottery ticket, such that when the 2D bar code is read by the reading device, the lottery ticket may be authenticated without the input of additional information provided by the agent of the lottery ticket or directly from the printed document;
(d) a removable continuous scratch-off coating covering both the printed indicia in said play area and the bar code in said non-play area, wherein the absence or alteration of the scratch-off coating covering the bar code may be a determining factor as to whether the lottery ticket is authentic.
[88] There is no disagreement concerning the meaning of “scratch-off lottery ticket” and “substrate”. A scratch-off lottery ticket is a lottery ticket of the type commonly sold at the checkout counters of retail establishments and having a scratch-off coating. The substrate is the paper or card upon which the other elements of the ticket are placed.
(a) “play area”
[89] The debate here is whether “play area” refers, as Pollard argues, to the part of the ticket that a player is intended to scratch (i.e., the entire area under scratch-off with the exception of any area bearing a “void if removed” indication), or as SG argues, to the subset of the area under scratch-off that indicates to the player whether or not the ticket is a winner. SG’s definition excludes any part under scratch-off that is present simply for ticket validation or other lottery administration purposes. Another way to look at the issue is that the difference between the parties comes down to whether the play area is determined by examining the lottery ticket before it is scratched of after.
[90] The term “play area” is not used in the disclosure portion of the 551 Patent except in one paragraph that simply reproduces claim 1.
[91] When construing the term “play area” in this claim, it is necessary to bear in mind the term “non-play area”. It seems undisputed that the claim defines the substrate of the claimed scratch-off lottery ticket to include a play area and a non-play area, and that the two are mutually exclusive, i.e., no portion of the ticket can be simultaneously within both the play area and the non-play area.
[92] This is a relevant consideration because the non-play area is defined to include “an authentication means comprising a two dimensional (2D) bar code”. Since no portion of the non-play area can be within the play area, this means that the bar code cannot be within the play area. SG argues that Pollard’s interpretation of “play area” is wrong because it leads to a nonsense when construing claim 2. Claim 2 is dependent from claim 1 and therefore it incorporates all of the elements thereof. However, claim 2 also clearly contemplates the bar code being within the play area. There may also be a nonsense within claim 1 itself depending on the construction of the term “a removable continuous scratch-off coating covering both the printed indicia in said play area and the bar code in said non-play area”. This is discussed below. SG argues that, applying the principle that the Court must favour the construction which upholds the patent (see paragraph [77] above), I should conclude that Pollard’s interpretation of “play area” should not be followed.
[93] The problem with SG’s argument, as noted by Pollard, is that the bulk of the expert evidence does not support it. The principle of favouring the construction which upholds the patent applies only to the extent that there is more than one construction that can be reasonably reached. Given the paucity of evidence supporting SG’s interpretation of “play area”, I decline to follow this interpretation even if it may save one or both of the claims from invalidity.
[94] Pollard’s experts, Dr. Huang and Mr. Fazzano, were both of the view that the play area is determined by looking at the ticket before it is scratched, i.e., it is not necessary to scratch the ticket to determine the scope of the play area. Mr. Trask, one of SG’s experts, agreed in cross-examination, and confirmed that the play area includes the area in which a bar code might be placed under the same scratch-off layer as covers the game data. Though Mr. Trask seemed to take a different view during his direct examination, I am more persuaded by what he said in cross-examination.
[95] SG’s other expert, Mr. Finnerty, did not directly address the definition of “play area” in his report, but he did take a position in his testimony that supports SG’s interpretation. As indicated above, I give Mr. Finnerty’s testimony limited weight, owing to his somewhat undisciplined approach to claim construction, and to the fact that it is in disagreement with all of the other experts, including SG’s other expert.
[96] I favour Pollard’s construction of the term “play area”. It means the part of the ticket that a player is intended to scratch in order to play the game. This includes the entire area under scratch-off other than any area that is marked “void if removed” or the like.
(b) “printed indicia of the play area”
[97] The parties are in agreement that the printed indicia are the variable game symbols which indicate to the player, after having scratched off the latex coating, whether or not the ticket is a winner. The parties are also agreed that “printed indicia” is synonymous with “game data”, used in claim 2.
[98] Though there may not be a difference between the parties’ respective interpretations of this term, it is important to bear in mind that the printed indicia of relevance in claim 1 are within the play area.
(c) “non-play area”
[99] As indicated above in discussion of the term “play area”, the parties appear to be agreed that the non-play area of the claimed lottery ticket is that part which is not the play area. Having determined that the play area is the entire area intended to be scratched off when playing the game, it follows that the non-play area is the rest of the ticket, including any portion covered in scratch-off that is not to be removed by the player, but is instead to be removed by a lottery agent upon validation of the ticket.
(d) “spaced apart”
[100] This term in claim 1 comes within the following text: “a non-play area on the substrate spaced apart from the printed indicia of the play area”. The parties’ disagreement on the construction of “spaced apart” is largely tied to their disagreement concerning the terms “play area” and “non-play area”. Having now construed those terms, the task of construing “spaced apart” is simplified.
[101] Pollard argues that “spaced apart” indicates that there is a physical separation of the non-play area from the printed indicia of the play area. Pollard argues that this term refers to the embodiment shown in Figure 3 of the 551 Patent, in which the bar code and the printed indicia are covered by separate scratch-off coatings, as opposed to the embodiment shown in Figure 4, in which the bar code and the printed indicia are covered by the same scratch-off coating. Pollard notes the use of the term “spaced apart” in the disclosure of the 551 Patent at page 4, line 6, which refers to the first embodiment.
[102] SG argues, based on its narrower construction of play area, that the non-play area (including the bar code located therein) may include space under the same scratch-off coating as covers the printed indicia of claim 1, provided that there is no overlap between the non-play area and the printed indicia. In support of its argument, SG refers to page 7, line 4 of the 551 Patent which contemplates the possibility that the printed indicia (game data 54) could be superimposed on the bar code. SG argues that the term “spaced apart” was simply intended to exclude the possibility of superimposing the printed indicia over the bar code.
[103] Having reached the conclusions discussed above concerning the construction of “play area” and “non-play area”, I cannot agree with SG that the bar code (which is explicitly defined to be included in the non-play area) could be located under the scratch-off area that is intended to be removed in the playing of the game.
(e) “said 2D bar code containing all information necessary to authenticate the lottery ticket, said 2D bar code being readable by a reading device by an agent of the lottery ticket, such that when the 2D bar code is read by the reading device, the lottery ticket may be authenticated without the input of additional information provided by the agent of the lottery ticket or directly from the printed document”
[105] The parties do not appear to be in disagreement as to the meaning of this phrase. It provides that the 2D bar code contains all of the information required for machine validation of the ticket. There appears also to be agreement that, for the purposes of the 551 Patent, there is no meaningful difference between validation and authentication.
[106] It is notable that, according to the wording of this element, the reading device used for ticket validation is to be handled by a lottery agent.
(f) “a removable continuous scratch-off coating covering both the printed indicia in said play area and the bar code in said non-play area”
[107] I preface my analysis of this claim element by restating the principle, noted in paragraph [79] above, that claims should be construed without regard to extrinsic evidence, including representations made to the Patent Office during prosecution of the application that led to the patent in suit. Accordingly, I have not taken into account any such representations in this analysis.
[108] The key to the parties’ difference concerning this element is the meaning of the word “continuous”.
[109] Pollard argues that “a removable continuous scratch-off coating covering both the printed indicia in said play area and the bar code in said non-play area” indicates that a single scratch-off coating covers both the printed indicia and the bar code.
[110] It is notable that this construction leads to a peculiar result which becomes relevant below in discussion of Pollard’s invalidity allegations. If the bar code is located under the same scratch-off as covers the printed indicia, it would seem to follow that the bar code (which is defined to be included as part of the non-play area) is located within the play area. As indicated earlier, the play area and the non-play area are mutually exclusive, such that no part of one can be within the other. The only possible escape from this peculiar result is if the portion of the single scratch-off coating that hides the bar code bears some indication that it is not part of the play area (e.g., “void if removed”). However, there is no suggestion in the 551 Patent that this is what was contemplated by the use of the word “continuous”.
[111] SG argues that the word “continuous” does not suggest that there is a single scratch-off coating, but rather that the coating, whether there is only one or more than one, completely hides (is continuous over) each of the printed indicia and the bar code. In support of this argument, SG cites several places in the 551 Patent that refer to the bar code being entirely covered: “entirely covered”, “the entire bar code could be hidden from view”, “completely covered”, “the entire bar code is covered”, “covered in its entirety”.
[112] In my view, SG’s construction is reasonable but somewhat counter-intuitive. If the inventor’s intent had been simply to indicate that each of the printed indicia and the bar code are to be completely covered, I would have expected him to use words like those cited by SG from the disclosure portion of the 551 Patent. If I were to construe the word “continuous” only in the context of the phrase “a removable continuous scratch-off coating covering both the printed indicia in said play area and the bar code in said non-play area”, I would conclude that it suggests a single coating covering both the bar code and the printed indicia.
[113] Even SG’s own expert, Mr. Finnerty, seemed to find this construction attractive. On at least two occasions in his testimony (once during examination-in-chief and once during cross-examination), he clearly stated the confusing opinion that paragraph (c) of claim 1 concerns the embodiment of Figure 3 and paragraph (d) concerns the embodiment of Figure 4. Apart from the confusing nature of this opinion, it suggests a view that “continuous” implies a single scratch-off coating. However, I do recognize that Mr. Finnerty stated explicitly in his report that he disagreed with Pollard’s experts that “continuous” implies a single scratch-off coating.
(g) “wherein the absence or alteration of the scratch-off coating covering the bar code may be a determining factor as to whether the lottery ticket is authentic”
[116] The parties differ here as to who might be making the determination as to whether the lottery ticket is authentic. Pollard argues that, in the context of the patent, this phrase refers to an embodiment in which the validation information is to remain hidden under scratch-off until removed by a lottery agent at the time of validation (i.e., the concept of the VIRN). If the scratch-off coating has been removed or altered, the lottery agent may have reason to believe that the ticket has been tampered with, and may refuse to validate it.
[117] For its part, SG argues that the phrase is not limited to determination of authenticity by a lottery agent, and also contemplates such determination by the player, possibly at the time of purchase of the ticket; the idea being that any noticeable removal or alteration of the scratch-off coating over the bar code could be used by the player to determine that the ticket had been subjected to pinpricking for the purpose of skimming. SG notes that the skilled person at the relevant time was aware that, in addition to concerns about consumer fraud related to instant lottery tickets, there were also concerns about retailer fraud. SG argues that the phrase does not specify who is to make the determination of authenticity, and that the skilled person would have understood the phrase to contemplate both areas of concern.
[118] In my view, the answer lies in the basic principle that the claim language is to be construed based on a reading of the patent as a whole from the point of view of the skilled person. It is not difficult to consider the patent as a whole because it is quite short. Having done so in accordance with the expert evidence, I conclude that the concern addressed in the 551 Patent is consumer fraud, rather than retailer fraud. I accept that the lottery industry has also had problems of retailer fraud, but this is not the concern addressed in the 551 Patent. I note also that paragraph (c) of claim 1 states explicitly that the 2D bar code is to be “readable by a reading device by an agent of the lottery ticket” [emphasis added]. Furthermore, I observe that neither of SG’s experts explicitly construed paragraph (d) of claim 1 to include authentication by the consumer.
[119] Accordingly, I side with Pollard and find that the phrase in question in this section contemplates the scratch-off coating covering the bar code remaining in place until validation of the ticket by a lottery agent.
(2) Claim 2
[120] Claim 2 of the 551 Patent reads as follows:
2. The printed document of claim 1 wherein the game data is printed around the bar code.
[121] Though the parties do not disagree substantially on the construction of the elements of claim 2, these documents require some discussion to clarify my analysis.
[122] It was noted that the preamble of claim 2 refers to “[t]he printed document of claim 1”. This appears to be a minor error since claim 1 actually defines a “scratch-off lottery ticket”, rather than a printed document. However, nothing turns on this. A scratch-off lottery ticket is a kind of printed document, and I simply construe claim 2 to be limited to the kind of printed document defined in claim 1.
(a) “game data”
[123] As indicated above, there seems to be agreement between the parties that “game data” is synonymous with “printed indicia of the play area”. I see no reason to disagree.
(b) “printed around the bar code”
[124] This element appears to contemplate the embodiment shown in Figure 4 of the 551 Patent, in which the bar code is located within the play area of the ticket.
[125] The issue to bear in mind here for discussion below is that this construction seems to be incompatible with the language of claim 1 which contemplates the bar code being in the non-play area, and thus not in the play area.
D. Conclusion on Claim Construction
[126] Having construed all of the elements of the claims, having heard no evidence from SG’s experts to rebut the presumption that all claim elements are essential, and having considered the opinions of both of Pollard’s experts that all of the elements of claim 1 are essential, I conclude that all of the elements of both of the claims of the 551 Patent, as construed above, are indeed essential.
VII. Invalidity Issues
[127] This section provides an analysis of the various invalidity issues that remain in dispute following the trial. The issues of ambiguity and of overbreadth/inutility (the invalidity allegations that are not based on prior art) are dealt with first because Pollard’s arguments on other issues rely on its construction of the claims, and it states that its invalidity allegations that are based on prior art (anticipation and obviousness) are intended to apply only in the alternative that I do not agree with Pollard’s construction of the claims. This is reasonable because it is difficult to see how a claim can be simultaneously obvious and ambiguous: Risi Stone Ltd v Groupe Permacon Inc, [1995] FCJ No 1316 at para 49; Airseal Controls Inc v M & I Heat Transfer Products Ltd (1993), 53 CPR (3d) 259, at 276; Standal’s Patents Ltd v Swecan International Ltd (1989), 28 CPR (3d) 261 at 271 (FCTD).
A. Standard of Review
[128] Before beginning my discussion of the invalidity issues, it is necessary that I address an issue that SG has characterized as the “standard of review” issue. SG alludes to the series of 12 protests that were filed on behalf of Pollard concerning the application for the 551 Patent and its parent application, the 775 Application. SG argues that, in view of the depth of Pollard’s involvement in challenging the patented invention during prosecution, it benefited from what was effectively a patent opposition process. For this reason, and because of the extraordinary delay SG experienced in obtaining allowance of its patent application, SG argues that a degree of deference to the examiner’s decision to allow the 551 Patent to issue should apply. This gives rise to the standard of review issue.
[129] A patent is entitled, in the absence of any evidence to the contrary, to a presumption of validity as contemplated in subsection 43(2) of the Patent Act. There is no standard of review applicable to Pollard’s challenge to the validity of the 551 Patent because this is not a judicial review of the decision to allow the 551 Patent to issue. My task is to assess, in view of the evidence and the applicable legal tests, whether any of Pollard’s allegations of invalidity have merit. The standard is the balance of probabilities. An argument similar to SG’s on this point was considered in depth and rejected by Justice Johanne Gauthier in Eli Lilly and Company v Apotex Inc, 2009 FC 991 at paras 348-370. I concur with Justice Gauthier’s reasoning.
[130] SG admits that there is no jurisprudence in support of its position. It argues based on the unfairness of subjecting the applicant to an unlimited and uncontrollable delay in obtaining its patent (during which time the 20-year term of the patent counts inexorably), and the fact that Pollard has effectively already had a kick at the can.
[131] SG is correct that the term of its eventual patent was counting during the prosecution of the underlying applications and that, as a result, the 551 Patent issued with barely three years left in its term. However, I see no unfairness in this for which Pollard should be held responsible. Its protests contributed to the delay in the 551 Patent’s issuance only inasmuch as the examiner accepted the arguments contained in those protests and included them in the rejection letters that were sent to the applicant. A more direct reason for the delay in the issuance of the 551 Patent is that it took many exchanges with the patent examiner before the applicant found the claim language that would be accepted. I see no basis for criticizing Pollard for having filed its protests.
[132] I note here also that the applicant was not acting as if delay was a concern. According to my review of the prosecution history, the applicant responded at or near the end of the six-month deadline for responding to the examiner’s action in every case but one.
[133] Another concern I would have about raising the burden on Pollard for its validity challenge is that it would, as a result, have a higher hurdle than other interested members of the public who might wish to mount a similar challenge. It should also be noted that an impeachment action, if successful, is a benefit not just to the plaintiff, but also to the public as a whole since an unjustified monopoly is thereby removed from the patent register.
[134] SG complains that some of Pollard’s protests were improper because they did not file prior art as contemplated in section 34.1 of the Patent Act, and some of them simply argued against the applicant’s response to a rejection by the examiner. I make no comment on the propriety of filing protests of this kind other than to say that it does not affect my assessment of the validity of the 551 Patent, and it is not a consideration for this Court in this case.
B. Ambiguity
(1) Applicable Law
[135] The issue of ambiguity begins with subsection 27(4) of the Patent Act, which provides as follows:
|
Claims |
Revendications |
|
(4) The specification must end with a claim or claims defining distinctly and in explicit terms the subject-matter of the invention for which an exclusive privilege or property is claimed. |
(4) Le mémoire descriptif se termine par une ou plusieurs revendications définissant distinctement et en des termes explicites l’objet de l’invention dont le demandeur revendique la propriété ou le privilège exclusif. |
[136] In support of its argument of ambiguity, Pollard cites a 1915 UK House of Lords decision, Natural Colour Kinematograph Co v Bioschemes Ltd (1915), 32 RPC 256, which stated as follows at page 266:
… it is the duty of a patentee to state clearly and distinctly, either in direct words or by clear and distinct reference, the nature and limits of what he claims. If he uses language which, when fairly read, is avoidably obscure or ambiguous, the patent is invalid, whether the defect be due to design, or to carelessness, or to want of skill…
[137] However, Justice Roger Hughes, in Pfizer Canada Inc v Canada (Minister of Health), 2005 FC 1725 at para 52 [Pfizer], stated that “[a]s a practical matter, Canadian courts have resisted holding claims to be incapable of meaning.” He also quoted from Justice Richard Mosley in Letourneau v Clearbrook Iron Works Ltd, 2005 FC 1229 at para 37:
[37] A claim is not invalid simply because it is not a model of concision and lucidity. Very few patent claims are. Claims are drafted to be understood by people with practical knowledge and experience in the specific field of the invention: Risi Stone Ltd [v Groupe Permacon Inc (1995), 65 CPR (3d) 2], at 20. If a term can be interpreted using grammatical rules and common sense, it cannot be ambiguous: Mobil Oil Corp. v. Hercules Canada Inc. (1995), 63 C.P.R (3d) 473 at 484, 188 N.R. 382 (F.C.A.).
[138] “In short,” Justice Hughes stated in Pfizer at para 53, “ambiguity is truly a last resort, rarely, if ever, to be used.”
(2) Analysis
[139] Pollard argues that the first part of paragraph (d) of claim 1 (“a removable continuous scratch-off coating covering both the printed indicia in said play area and the bar code in said non-play area”) is incompatible with both paragraph (c) thereof and the second part of paragraph (d). This argument is dependent on Pollard’s construction of the word “continuous” as contemplating a single scratch-off coating. Pollard argues that the first part of paragraph (d) relates to the embodiment shown in Figure 4 (showing a single scratch-off coating covering both the printed indicia and the bar code), whereas paragraph (c) and the second part of paragraph (d) relate to the embodiment shown in Figure 3 (showing separate scratch-off coatings over each).
[140] Since I have not followed Pollard’s proposed construction of the word “continuous”, and I am of the view that it does not necessarily contemplate a single scratch-off coating, I disagree with Pollard’s argument. I find that claim 1 is not invalid for ambiguity. I am also of the view that paragraph (c) of claim 1 does not necessarily contemplate separate scratch-off coatings over each of the printed indicia and the bar code. As indicated at paragraph [104] above, they could be located under the same scratch-off layer if the portion covering the bar code bore a “void if removed” indication.
[141] As alluded-to above in my discussion of the construction of the phrase “printed around the bar code”, my conclusion on ambiguity is different with regard to claim 2. This phrase contemplates the bar code being located within the play area. I have seen no evidence indicating otherwise. However, claim 1, from which claim 2 depends, clearly defines the bar code as being part of the non-play area. Since the play area and the non-play area are mutually exclusive, the bar code cannot be located both in the play area and the non-play area as defined in claim 2.
[142] This is not simply a problem of nomenclature. The second part of paragraph (d) of claim 1 contemplates that the scratch-off coating hiding the bar code will remain in place until validation of the ticket. This is a key feature of the 551 Patent. With the game data (which is part of the play area) printed around the bar code, it is clearly the intention that the scratch-off coating hiding the bar code will be removed by the player when the game is played. The 551 Patent clearly describes embodiments that work one way or the other (either the bar code is revealed when the game is played, or it remains hidden), but there is no suggestion that both ways could exist in the same ticket. Moreover, none of the evidence suggests how this could be done.
[143] In my view, claim 2 cannot be given any reasonable interpretation because the additional limitation of claim 2 is incompatible with the elements of claim 1 which are incorporated into claim 2 by its dependency.
(3) Conclusion on Ambiguity
[144] The allegation of invalidity of claim 1 for ambiguity fails. However, claim 2 is invalid for ambiguity.
C. Overbreadth and Inutility
[145] Pollard combines these two invalidity arguments because they overlap somewhat.
(1) Applicable Law
[146] Subsection 27(3) of the Patent Act requires that a patent specification “correctly and fully describe the invention and its operation or use as contemplated by the inventor”. A patent claim is invalid for overbroad claiming if it is broader in scope than either (i) the invention made, or (ii) the invention disclosed in the patent. A claim is invalid if it omits an element that is essential to the working of the invention as contemplated by the inventor: Amfac Foods Inc v Irving Pulp & Paper, Ltd (1986), 12 CPR (3d) 193 at 201-205 (FCA).
[147] The definition of “invention” in section 2 of the Patent Act requires that an invention be useful. A claim that is not useful is invalid for lack of utility. This may occur where the claimed invention will not work at all, or where it will not do what the patent promises: Consolboard Inc v MacMillan Bloedel (Saskatchewan) Ltd, [1981] 1 SCR 504 at 525.
(2) Analysis
[148] Pollard’s arguments on invalidity for overbreadth and inutility of claim 1 are based on reasoning similar to its argument for ambiguity – that most of claim 1 reads on the embodiment shown in Figure 3 of the 551 Patent (having separate scratch-off coatings over each of the printed indicia and the bar code), but the first part of paragraph (d) of claim 1 reads on Figure 4 (having a single scratch-off coating covering both). As regards the allegation of overbreadth, Pollard argues that no embodiment having all of the elements of claim 1 is described in the 551 Patent, and therefore the claim is too broad. As regards the allegation of inutility, Pollard argues that one of the promises of the patent, the ability to determine whether a lottery ticket is authentic based on the removal of the scratch-off coating hiding the bar code (defined in the second part of paragraph (d) of claim 1), cannot be met when the bar code’s coating is the same as that covering the printed indicia.
[149] As with its ambiguity argument, Pollard’s arguments of overbreadth and inutility of claim 1 are based on a construction of the word “continuous” that I have declined to follow. As discussed in paragraph [114] above, it is my view that the word “continuous” indicates that each of the printed indicia and the bar code must be completely hidden, but there may be more than one scratch-off coating.
[150] In my view, claim 1 is not overbroad because the first part of paragraph (d) is not limited to the embodiment shown in Figure 4, and therefore a lottery ticket having all of the features defined in claim 1 is adequately disclosed in the 551 Patent.
[151] Similarly, claim 1 does not lack utility since the first part of paragraph (d) does not exclude the ability to determine whether a lottery ticket is authentic based on the removal of the scratch-off coating hiding the bar code (per the second part of paragraph (d)).
(3) Conclusion on Overbreadth and Inutility
[152] Claim 1 is not invalid for either overbreadth or inutility.
D. Anticipation
[153] The next two invalidity arguments, anticipation and obviousness, are based on prior art, specifically the Camarato Application (Canadian Patent Application No. 2,119,190) and the common general knowledge of the skilled person at the claim date (October 16, 1995).
[154] Because I have concluded that claim 2 is invalid for ambiguity, it is not necessary for me to consider this claim for anticipation or obviousness.
(1) Applicable Law
[155] Subsection 28.2(1) of the Patent Act addresses the requirement for novelty in a patented invention. For the purposes of this decision, the subject matter defined by a claim must not have been disclosed before the claim date in such a manner that it became available to the public.
[156] Anticipation, which is simply the absence of novelty, was discussed by the SCC in Apotex Inc v Sanofi-Synthelabo Canada Inc, 2008 SCC 61 [Sanofi-Synthelabo]. The SCC explained that there are two distinct requirements for anticipation: disclosure and enablement.
[157] Addressing the issue of disclosure first, the test was discussed in Beloit Canada Ltd v Valmet OY (1986), 8 CPR (3d) 289 at 297 (FCA) [Beloit]:
One must, in effect, be able to look at a prior, single publication and find in it all the information which, for practical purposes, is needed to produce the claimed invention without the exercise of any inventive skill. The prior publication must contain so clear a direction that a skilled person reading and following it would in every case and without possibility of error be led to the claimed invention.
[158] The SCC approved this statement in Sanofi-Synthelabo, and expanded on it at para 25, stating first that:
… the requirement of prior disclosure means that the prior patent must disclose subject matter which, if performed, would necessarily result in infringement of that patent, …
and then:
… there is no room for trial and error or experimentation by the skilled person. He is simply reading the prior patent for the purposes of understanding it.
[159] Another helpful statement in Sanofi-Synthelabo on the issue of anticipation is borrowed from General Tire & Rubber Co v Firestone Tyre & Rubber Co, [1972] RPC 457 at 486 (Eng CA):
A signpost, however clear, upon the road to the patentee's invention will not suffice. The prior inventor must be clearly shown to have planted his flag at the precise destination before the patentee.
[160] Turning briefly to the issue of enablement, this means that the skilled person would have been able to perform the invention. Here, the skilled person is assumed to be willing to make trial and error experiments to get the invention to work (Sanofi-Synthelabo at para 27), but not so many as to create an undue burden or require any inventive step (Sanofi-Synthelabo at para 33).
(2) The Camarato Application
[162] The Camarato Application is entitled “Interactive Bingo-Like Games and Methods of Playing”. The two figures therein (reproduced below) illustrate a bingo-style instant lottery ticket:
[163] The game portion of the ticket comprises two areas on a substrate covered by pull tabs. These areas are revealed when the pull tabs are removed. The first area, described as a sponsor’s area, shows the set of all possible bingo numbers printed on the outside surface of the pull tab. Removal of the pull tab over the sponsor’s area reveals which of those possible bingo numbers are “called” numbers that are active for the game on that ticket. They are arranged in a format that is typical of the display board often used in a bingo hall to indicate all of the numbers called throughout the game.
[164] The second game area of the ticket, described as the player’s area, shows several bingo cards showing numbers in the conventional format. Once both areas have been revealed, the player is able to use the called numbers in an attempt to match the numbers shown in the bingo cards. Much as in a regular bingo game, winning tickets and prize amounts can be determined based on the rules of the game and the number of matched numbers.
[165] The ticket also has a control area, likewise covered by a pull tab. The control area is marked “void if removed”. The pull tab of the control area hides a bar code having information concerning the ticket including whether it is a winner and the amount of any prize. This bar code can be used to prevent counterfeiting. Though 2D bar codes were known at the time the Camarato Application was published, there is no suggestion therein to use any bar code other than the 1D bar code shown in Figure 2 thereof.
[166] The Camarato Application specifies several times that the pull tabs may be replaced by scratch-off layers. It even contemplates tickets having both pull tabs and scratch-off.
[167] It is also notable that the Camarato Application does not focus on the covered bar code as being an inventive advance. It focuses instead on a way of simulating a game.
(3) Analysis
[168] Pollard argues that the Camarato Application anticipates claim 1 of the 551 Patent because it describes all of the essential elements thereof. As regards the absence of specific reference to 2D bar codes in the Camarato Application, Pollard argues that these were well-known to the skilled person as of the claim date, and therefore the skilled person would have known that a 2D bar code was an option in the Camarato Application. Pollard notes that the lottery ticket described in the Camarato Application looks and functions like that shown in Figure 3 of the 551 Patent.
[169] SG argues that the Camarato Application does not anticipate the 551 Patent because it does not consider, address or solve the issues discussed in the 551 Patent, including the challenges for secure ticket validation or ticket design restrictions when using 1D bar codes.
[170] In my view, the fact that the Camarato Application does not seem to recognize the hiding of the bar code on a lottery ticket as inventive does not necessarily indicate that the 551 Patent is not anticipated. In fact, it could reinforce the argument that there is nothing new in the 551 Patent.
[171] With one exception, I agree with Pollard that the Camarato Application describes all of the essential elements of claim 1 of the 551 Patent. The Camarato Application does not describe the bar code being 2D. I am not persuaded that the fact that 2D bar codes were well-known at the claim date is sufficient to conclude that claim 1 is anticipated. Firstly, I am not convinced that the Camarato Application contains “so clear a direction that a skilled person reading and following it would in every case and without possibility of error be led to the claimed invention”, per Beloit. Secondly, and more importantly, I have heard no convincing argument that the Camarato Application discloses “subject matter which, if performed, would necessarily result in infringement of [the 551] Patent”, per Sanofi-Synthelabo. Though the Camarato Application arguably provides a signpost on the road to the patentee’s invention, it does not plant a flag at the precise destination before the patentee.
[172] The foregoing reasoning leads to the conclusion that the invention of claim 1 of the 551 Patent is not disclosed in the Camarato Application. Having reached this conclusion, it is not necessary to discuss whether the Camarato Application enables claim 1.
(4) Conclusion on Anticipation
[173] Claim 1 of the 551 Patent is not invalid for anticipation by the Camarato Application.
E. Obviousness
(1) Applicable Law
[174] The issue of obviousness begins with section 28.3 of the Patent Act:
|
Invention must not be obvious |
Objet non évident |
|
28.3 The subject-matter defined by a claim in an application for a patent in Canada must be subject-matter that would not have been obvious on the claim date to a person skilled in the art or science to which it pertains, having regard to |
28.3 L’objet que définit la revendication d’une demande de brevet ne doit pas, à la date de la revendication, être évident pour une personne versée dans l’art ou la science dont relève l’objet, eu égard à toute communication : |
|
(a) information disclosed more than one year before the filing date by the applicant, or by a person who obtained knowledge, directly or indirectly, from the applicant in such a manner that the information became available to the public in Canada or elsewhere; and |
a) qui a été faite, plus d’un an avant la date de dépôt de la demande, par le demandeur ou un tiers ayant obtenu de lui l’information à cet égard de façon directe ou autrement, de manière telle qu’elle est devenue accessible au public au Canada ou ailleurs; |
|
(b) information disclosed before the claim date by a person not mentioned in paragraph (a) in such a manner that the information became available to the public in Canada or elsewhere. |
b) qui a été faite par toute autre personne avant la date de la revendication de manière telle qu’elle est devenue accessible au public au Canada ou ailleurs. |
[175] Pursuant to paragraph 28.3(b), a patent claim will be invalid if, based on information that was available to the public before the claim date, its subject-matter would have been obvious to a person skilled in the art or science to which it pertains (the skilled person).
[176] The threshold for inventiveness (non-obviousness) has long been understood to be low. As stated in Beloit at 294:
The test for obviousness is not to ask what competent inventors did or would have done to solve the problem. Inventors are by definition inventive. The classical touchstone for obviousness is the technician skilled in the art but having no scintilla of inventiveness or imagination; a paragon of deduction and dexterity, wholly devoid of intuition; a triumph of the left hemisphere over the right. The question to be asked is whether this mythical creature (the man in the Clapham omnibus of patent law) would, in the light of the state of the art and of common general knowledge as at the claimed date of invention, have come directly and without difficulty to the solution taught by the patent. It is a very difficult test to satisfy.
…
Every invention is obvious after it has been made, and to no one more so than an expert in the field. Where the expert has been hired for the purpose of testifying, his infallible hindsight is even more suspect. It is so easy, once the teaching of a patent is known, to say, “I could have done that”; before the assertion can be given any weight, one must have a satisfactory answer to the question, “Why didn't you?”
[177] Obviousness was discussed by the SCC in Sanofi-Synthelabo. At para 67 of that decision, the Court borrowed the following approach to assessing obviousness from Pozzoli SPA v BDMO SA, [2007] FSR 37 (p 872), [2007] EWCA Civ 588, at para. 23:
(1) (a) Identify the notional “person skilled in the art”;
(b) Identify the relevant common general knowledge of that person;
(2) Identify the inventive concept of the claim in question or if that cannot readily be done, construe it;
(3) Identify what, if any, differences exist between the matter cited as forming part of the “state of the art” and the inventive concept of the claim or the claim as construed;
(4) Viewed without any knowledge of the alleged invention as claimed, do those differences constitute steps which would have been obvious to the person skilled in the art or do they require any degree of invention?
[178] The SCC did not suggest in Sanofi-Synthelabo that the statement of the test for obviousness in Beloit no longer applies to the consideration of obviousness in the fourth step in the foregoing approach. Rather, the SCC noted at para 60, in discussing the concept of “obvious to try”, that the Beloit test should not be applied restrictively. In my view, it is not necessary to consider separately the concept of obvious to try in this case because the 551 Patent does not relate to an area of endeavour where advances are often won by experimentation (see Sanofi-Synthelabo at para 68). A skilled person would have known without experimentation whether a proposed approach would work.
(2) Person Skilled in the Art
[179] The first of the steps set out in Sanofi-Synthelabo for assessing obviousness is to identify the notional person skilled in the art. It is generally understood that this person is sufficiently skilled to understand the nature and description of the invention, and reasonably diligent in keeping up with advances in the field, but unimaginative. I will repeat here a portion of the extract from Beloit reproduced above as it relates to the skilled person:
The classical touchstone for obviousness is the technician skilled in the art but having no scintilla of inventiveness or imagination; a paragon of deduction and dexterity, wholly devoid of intuition; a triumph of the left hemisphere over the right.
[180] In general, the qualities and capabilities of the person skilled in the art for the purposes of assessing obviousness are the same as those for the purpose of construing the patent: D.H. MacOdrum, Fox on the Canadian Law of Patents, 5th ed (Toronto: Carswell, 2013) at 4:13(b) (MacOdrum), quoting Ratiopharm Inc v Pfizer Limited, 2009 FC 711 at para 30.
[181] Accordingly, and as indicated above, the skilled person from whose point of view the patent should be read and understood is a person with an understanding of the lottery industry, and more particularly of instant lottery game design, and ticket design, production, distribution and validation, as well as security features thereof.
(3) Common General Knowledge
In my judgment it is not sufficient to prove common general knowledge that a particular disclosure is made in an article, or series of articles, in a scientific journal, no matter how wide the circulation of that journal may be, in the absence of any evidence that the disclosure is accepted generally by those who are engaged in the art to which the disclosure relates. A piece of particular knowledge as disclosed in a scientific paper does not become common general knowledge merely because it is widely read, and still less because it is widely circulated. Such a piece of knowledge only becomes general knowledge when it is generally known and accepted without question by the bulk of those who are engaged in the particular art; in other words, when it becomes part of their common stock of knowledge relating to the art.
…
It is certainly difficult to appreciate how the use of something which has in fact never been used in a particular art can ever be held to be common general knowledge in the art.
[183] Some of the common general knowledge is discussed above in the context of the background to the 551 Patent. This includes:
- The existence of instant lottery tickets having game data printed onto a paper or card, the game data being covered by either a scratch-off coating or one or more pull tabs to be removed for the playing of the game.
- The use of numbers or codes (such as bar codes) on tickets for validation.
- Covering some or all of a validation number with a scratch-off layer.
- The existence of two arrangements of a hidden validation number: one in which the validation information is located in the play area and revealed when the game is played, and the other in which the validation information is located in the non-play area and is revealed only upon validation by a lottery agent.
[184] There does not appear to be any dispute that the foregoing is indeed part of the common general knowledge for the purposes of this matter.
[185] There also does not appear to be any dispute that a system for keyless validation that existed in Massachusetts prior to the claim date was part of the common general knowledge. It was described in an article by Richard Finocchio entitled “A Report on the Use of Bar Codes and Scanners in Massachusetts” in Public Gaming Magazine, May 1989, p 10. Though the article refers to a planned system which had not yet been put in place, the unrebutted evidence of Pollard’s experts confirmed that the system was indeed put in place prior to the claim date. Accordingly, it was commonly known to have all of the information necessary to authenticate a lottery ticket in a bar code which could be read by a scanner, without the input of additional information by the lottery agent or from the ticket. Because the bar code was not hidden, this method of validation was adequate only for smaller prizes. Larger prizes required that a lottery agent enter digits located under a latex coating.
[186] Though the parties agree that it was commonly known to hide a validation number under a scratch-off layer, it appears that it was not likewise commonly known to place a bar code under scratch-off. Pollard refers to the fact that it was commonly known to place machine-readable Optical Character Recognition (OCR) numbers under scratch-off. However, there is no persuasive evidence that it was obvious to move from an OCR number under latex to a bar code under latex.
[187] Pollard also refers to a system called ScanLine that involved local validation of pull tab instant lottery tickets using a bar code located under one of the pull tabs. However, neither of Pollard’s expert witnesses testified that the ScanLine system was part of the common general knowledge. The extent of their evidence is that the system was proposed, promoted and advertised. There was no evidence that the ScanLine system was ever used.
[188] The next issue for consideration as regards common general knowledge concerns 2D bar codes. There is no dispute that 2D bar codes were commonly known outside the lottery industry. But the question here is whether the use of 2D bar codes for instant ticket validation in the lottery industry was commonly known.
[189] In my view, there are two strong grounds for concluding that 2D bar codes were indeed commonly known in the lottery industry at the claim date of the 551 Patent. The first ground concerns an article by Lynn Koert entitled “Bar Code Implementation” that was published in Public Gaming Magazine in September 1990 (the Koert article). There appears to be no dispute that Public Gaming Magazine was a widely recognized industry publication. As suggested by its title, the Koert article discusses the implementation of bar code technology in instant lottery tickets. In a sidebar to the article, there is a discussion of “Bar Code Languages” which includes reference to several bar codes including a 2D bar code. This suggests that there was nothing particularly innovative in selecting a 2D bar code for use in lottery ticket validation. SG does not dispute that the information in the Koert article was part of the common general knowledge, and all of the expert witnesses treated it as such. Though the Koert article discusses challenges in introducing bar code technology to the process of instant ticket validation, there do not appear to have been any insurmountable technical challenges at the time. Dr. Huang testified that laser scanning technology existed for 2D bar codes, and Mr. Fazzano testified that both parties had 240 DPI inkjet printers at the time which were capable of printing readable 2D bar codes.
[190] A stronger ground for concluding that 2D bar codes were commonly known in the lottery industry concerns a product marketed by Veritec Inc. called Vericode Identification System (Vericode). This product, which is described in a 1986 article in Public Gaming Magazine, offered a proprietary 2D bar code system to permit quick machine validation of an instant lottery ticket. SG argues that Vericode was intended for use by the lottery itself for back-office/inventory control purposes, and not for validation by an agent at the time of redemption of the lottery ticket. In my view, this distinction is insufficient to avoid a finding of obviousness. At least three of the references discussed by the parties in this case (the Camarato Application, the Koert article and an article by Terri La Fleur entitled “Technology propels instant-ticket business” in Gaming & Wagering Magazine published in July 1991) readily discuss bar codes for ticket validation purposes together with bar codes for back-office/inventory control purposes. From this, I conclude that the skilled person would have in mind knowledge related to back-office ticket tracking as readily as knowledge for ticket validation at a retailer.
[191] SG notes also that Vericode was not successful. Indeed, there is no evidence that it is ever made it to the market. Citing the passage quoted in paragraph [182] above to the effect that it is difficult for a product that was never used to be considered common general knowledge, SG argues that Vericode should not be considered common general knowledge. Though I agree that this principle is applicable in general, it is my view that it is not applicable in the present case because the 551 Patent itself, in discussing various known types of bar codes, specifically identifies Vericode. This reference essentially confirms that Vericode was generally known to the skilled person prior to the claim date.
(4) State of the Art
[192] In addition to the common general knowledge of which the skilled person would have been aware, section 28.3 of the Patent Act provides that it is also relevant to consider “information disclosed before the claim date … in such a manner that the information became available to the public”. This goes beyond common general knowledge.
[193] Jurisprudence indicates that prior art relevant for the purpose of assessing obviousness is limited to that which would have been revealed in a diligent search by a skilled person: Eurocopter v Bell Helicopter Textron Canada Ltée, 2012 FC 113 at para 80; Pfizer at para 108; Illinois Tool Works Inc v Cobra Fixations, 2002 FCT 829 at para 100, var’d on costs 2003 FCA 358. Doubt has been expressed as to whether it is correct to limit the scope of relevant prior art to the results of a diligent search since the wording of section 28.3 is not so limited: MacOdrum at 4:11(i); R.H. Barrigar, Canadian Patent Law Annotated, 2d ed (Aurora: Canada Law Book, 1994) at 28.3:640. However, this point was rejected in Novartis Pharmaceuticals Canada Inc v Teva Canada Limited, 2015 FC 770 at para 53. Moreover, the Federal Court of Appeal recently declined an opportunity to revisit the question: E Mishan & Sons, Inc v Supertek Canada Inc, 2015 FCA 163 at para 21.
[194] A related consideration is that monopolies are associated in the public mind with higher prices, and a patent monopoly should be purchased with the hard coinage of new, ingenious, useful and unobvious disclosures: Apotex Inc v Wellcome Foundation Ltd, 2002 SCC 77 at para 37. Accordingly, in order to obtain a valid patent, it is not enough for a skilled person simply to make an obvious change to what is known in the art. This principle should apply to any information that was available to the public, even if it would not have been located in a diligent search. For example, should a skilled person be able to obtain a valid patent by simply searching a dusty corner of a public library for a document that describes a forgotten invention and making an obvious change to it? The fact that a prior art reference would not have been located in a diligent search may be more relevant where the obviousness allegation combines two references, neither of which is part of the common general knowledge. In that event, it would be necessary for the party alleging obviousness to explain how a skilled person having one of the references would have been led directly and without difficulty to combine it with the other to arrive at the impugned invention.
[195] In this case, the only prior art other than common general knowledge on which Pollard still relies for its allegation of obviousness is the Camarato Application. Because there is only one non-common general knowledge reference in issue, the concern about whether it would have been located in a diligent search should not be an impediment to Pollard’s obviousness allegation.
[196] Even if I was of the view that this reference’s findability in a diligent search was a relevant consideration, I would nevertheless conclude that it is citable for obviousness. Firstly, the Camarato Application relates to instant lottery tickets, and indicates that it is placed under international class A63F-003/06 for classification purposes. This is precisely the same as one of the classes under which the 551 Patent indicates that it is placed. This suggests that the Camarato Application would have been found in a diligent search.
[197] Also, the only expert evidence that the Camarato Application would not have been found in a diligent search is that of Mr. Finnerty. But I give his opinion less weight because of his admission that he completely misunderstood the Camarato Application, and also because of his somewhat undisciplined approach to his analysis.
[198] SG notes that Pollard’s experts who opined on the Camarato Application and its relevance to obviousness did not find it on their own. Instead, this reference, like all of the other prior art they were asked to review, was provided to them by Pollard’s counsel. SG cites jurisprudence of this Court discussing the risk of an expert offering a hindsight opinion if the prior art for review is selected by counsel: Uponor AB v Heatlink Group Inc, 2016 FC 320 at paras 203-204; Astrazeneca Canada Inc v Apotex Inc, 2015 FC 322 at para 231. These decisions also highlight that a proper consideration of obviousness requires prior art that may point away from the patented solution. It would indeed have been preferable if Pollard’s experts’ opinions on obviousness had been based on prior art that they had located on their own. At a minimum, such an approach, if it had revealed the Camarato Application, would have assisted Pollard’s argument that Camarato was findable in a diligent search. However, I have already explained that findability should not be a consideration in this case. I have also concluded that the Camarato Application would have been found.
[199] Moreover, SG has not pointed to any other prior art that points away from the patented solution. SG does argue that there were known difficulties with printing 2D bar codes prior to the claim date, and that the Koert article suggested that a simpler bar code (having less information) is preferred because it is easier for a scanner to read. The Koert article does indeed acknowledge improved first-read rates with simpler bar codes, but there is no suggestion that this was a reason not to use a 2D bar code. There were obvious known advantages to having more information in a smaller bar code at the time, as could be provided in a 2D bar code. With regard to printing challenges with 2D bar codes, I note that the 551 Patent does not discuss this as a problem, nor does it offer any sort of solution to that problem.
[200] In my view, the prior art did not teach away from using 2D bar codes, and even if it did, nothing in the 551 Patent teaches how to overcome challenges in the use of 2D bar codes.
(5) Inventive Concept
[201] SG argues that the four experts agreed on the definition of the inventive concept of claim 1. I agree to a point. In my view, Mr. Fazzano’s definition is a good example of the experts’ characterization of the inventive concept: the use of a 2D bar code under scratch-off for one-step keyless validation of an instant lottery ticket. However, this characterization is incomplete in two important respects. It does not mention that validation is to be done using a reading device handled by a lottery agent. It also does not mention that such validation by the lottery agent may be determined on the basis of absence or alteration of the scratch-off over the 2D bar code. Both of these features are explicit in claim 1, are essential, and must be considered part of the inventive concept of claim 1.
(6) Differences between the Prior Art and the Inventive Concept and Whether those Differences Constitute Obvious Steps
[202] Pollard argues first that claim 1 was obvious to a skilled person at the claim date in view of the common general knowledge alone. Pollard also argues that, even if the common general knowledge alone is insufficient to render claim 1 obvious, it was nevertheless obvious to a skilled person at the claim date in view of the Camarato Application.
[203] I can dismiss Pollard’s argument of obviousness in light of the common general knowledge alone on the basis of my finding above that it was not commonly known at the claim date to place a bar code (either 1D or 2D) under scratch-off. Pollard’s arguments based on the use of OCR numbers under scratch-off and the ScanLine system are not persuasive. For at least this reason, claim 1 was not obvious to a skilled person at the claim date based on the common general knowledge alone.
[204] I turn now to the Camarato Application, which is described in detail above at paragraphs [161] and following. In my view, the Camarato Application describes all of the elements of claim 1 of the 551 Patent except the use of 2D bar codes. It describes a lottery ticket which, optionally, is of the scratch-off type. The ticket comprises a play area with printed indicia which indicate whether or not a prize has been won and which are completely covered, as well as a separate non-play area including authentication means (control number 142 in the form of a 1D bar code) which is likewise completely covered.
[205] The covering of the bar code for validation purposes provides the key feature that was missing in the common general knowledge alone. The control number 142 appears to contain all of the information necessary to authenticate the lottery ticket, and authentication may be done without the input of additional information from the lottery agent or from the ticket, since the control number “functions as a serial number to reduce counterfeiting efforts” and no other authentication information is mentioned in the Camarato Application. The bar code is intended to be read by a reading device by a lottery agent after the covering is removed, and the absence or alteration of the covering may be a determining factor as to whether the lottery ticket is authentic (as indicated by the “void if opened” message on the covering).
[206] As indicated, the Camarato Application does not suggest that the bar code could be 2D. However, I have found that the use of 2D bar codes was commonly known in the lottery industry at the claim date. It follows that there was nothing inventive in modifying the lottery ticket described in the Camarato Application by selecting a 2D bar code instead of a 1D bar code. The advantages described in the 551 Patent of using a 2D bar code were commonly known at the claim date.
[207] At page 2, line 15 of the 551 Patent, the inventor indicates that 2D bar codes “enable a greater number of symbols to be set forth in a smaller area.” Later on that same page, the inventor states that there would be “a significant advantage to the overall appearance of the lottery ticket if the area occupied by the bar code authentication system could be reduced.” None of this is inventive. On page 7, the inventor states:
The type of bar codes that can be used in the present invention is unlimited. Both one dimensional bar codes and two dimensional bar codes can be used. Two dimensional bar codes are preferable because they provide the greatest number of symbols in the smallest area.
[208] Though the inventor states a preference for 2D bar codes, it does not appear that he considered their use to be an integral part of the invention.
[209] SG argues that the Camarato Application cannot support an obviousness conclusion in this case because, even though it clearly and repeatedly states that the pull tabs shown in the figures could be substituted with a scratch-off coating, it also states that scratch-off coatings are problematic for several reasons. Mr. Finnerty indicated that he was confused by this inconsistency. Once again, I discount Mr. Finnerty’s opinion in this respect. He stated that he had great difficulty understanding the Camarato Application, but I do not believe that a typical skilled person would have had similar difficulty.
[210] The Court heard arguments from the parties concerning the principle, stated in Beloit, that every invention is obvious after it is made, and that a party arguing “I could have done that” must be ready to answer “Why didn’t you?” Pollard relies on activities by SG and itself to argue that, prior to the claim date, they had both already started investigating the possible use of 2D bar codes under scratch-off for validating lottery tickets. These activities were not available to the public and are therefore not citable as prior art, but they do provide an answer to the question “Why didn’t you?”
[211] As regards Pollard’s activities, it cites the testing of the readability of bar codes under scratch-off on “sample lottery tickets”. The evidence adduced indicates that this testing was done prior to the claim date, in March 1991.
[212] SG argues that the testing did not involve sample tickets, but rather small pieces of cardstock on which had been printed bar codes which were then coated. That distinction may be relevant to SG’s argument that sworn declarations signed by Mr. Scrymgeour and by Teri Masson on the subject are misleading, but it does not alter the fact that Pollard was investigating 2D bar codes under scratch-off for use in validating lottery tickets prior to the claim date. I have not otherwise felt the need to consider these declarations, so I need not consider the issue of whether they are misleading.
[213] SG also argues that Pollard’s testing activities are irrelevant because they were unsuccessful. SG notes that the lab notebook that recorded this testing indicated that the read rate was 60%. However, there is no expert evidence that a read rate of 60% in testing indicates failure. Mr. Scrymgeour testified that the read rate was adequate, and Mr. LaPlante testified that it was not adequate, but I discount the testimony of both men on this point because it is a question of opinion and they were not qualified as experts.
[214] In any case, the fact that this particular experiment may or may not have been successful is not relevant to the question of whether Pollard had conceived the idea of covering 2D barcodes with latex prior to the claim date. A skilled person would have understood that any shortfall in read rate was related to the limitations of the equipment involved in the printing, covering and scanning of the barcodes at that time rather than whether covering barcodes was a valuable idea.
[215] SG also argues that evidence of Pollard’s testing activities should be treated as inadmissible because certain questions on the subject were refused by Pollard during examination for discovery: see Rule 248 of the Federal Courts Rules, SOR/98-106. Unfortunately, SG cites no passages from the examination for discovery in support of this argument. I have not found any proper question that was refused such that evidence could be excluded pursuant to Rule 248. I have noted a refusal to answer whether a 60% read rate was acceptable, but I agree with Pollard’s objection to the question on the basis that it sought an expert opinion. I have also noted other refusals, but I am not persuaded that any of them concerned a proper question.
[216] As regards SG’s activities investigating the use of 2D bar codes for instant lottery ticket validation, this relates to discussions it had with Veritec Inc. (the creator of Vericode, discussed above) in 1985 regarding “the use of latex covered vericode as a method of printing all validation information on scratch-off lottery tickets” (see Exhibit P-21). As with Pollard’s testing, these activities demonstrate that SG considered placing a 2D bar code under scratch-off for instant lottery ticket validation.
[217] I note here that the evidence of the discussions between SG and Veritec appears to be undocumented except for a memorandum from 2002 (some 17 years later), to which was attached some handwritten notes prepared in the context of those discussions. The memorandum was prepared by an in-house lawyer at SG for a US lawyer who was preparing an opinion on the validity of the US 991 Patent which corresponds to the 551 Patent. This was prior to SG’s acquisition of rights in the patented invention, and SG was then working with Pollard to challenge the validity of the US patent.
[218] Under normal circumstances, I would be inclined to consider an unsworn and unsigned memorandum, supported by handwritten documents, and prepared many years later by a party who was challenging the validity of a patent, to be unreliable for that purpose. However, I am prepared to accept this evidence as reliable because (i) the memorandum was prepared by the current owner of the 551 Patent, (ii) SG acknowledges that it had discussions with Veritec at that time, (iii) SG could have brought to the attention of the Court any additional information that might have been needed to explain its discussions with Veritec, and (iv) no such additional information was provided.
[219] I am not persuaded that the parties’ testing in either of these instances was discontinued because 2D bar codes were not seen as the way forward. Rather, I conclude that the long delay until covered 2D bar codes were actually put on instant lottery tickets on the market was a matter of waiting until lottery industry customers were comfortable with the new technology (they are generally a conservative group), and all the necessary equipment (e.g., 2D scanners at retailers) was put in place.
[220] In my view, the differences between the prior art and the inventive concept of claim 1 constitute steps which would have been obvious to a skilled person.
(7) Commercial Success
[221] Commercial success of the patented product may be an important, though not conclusive, secondary consideration in assessing obviousness, mainly in borderline cases. The parties argued commercial success in respect of the 551 Patent, but the argument by SG, which bears the burden of proof on this issue, was somewhat half-hearted, citing no jurisprudence on the subject and relying on a single sheet of paper (with no indication of its source) to establish sales figures allegedly associated with the patented invention.
[222] I begin by stating that I am not persuaded that this is the type of borderline case in which an otherwise obvious invention might be saved by showing commercial success. But even if this were such a case, I would not be persuaded that SG has shown the required commercial success.
[223] Firstly, I can dismiss the issue of commercial success on the basis of the inadequacy of the evidence as regards sales figures. Exhibit D-92 is a sheet marked “FAILSAFE Revenue” (FAILSAFE being the name given by SG’s predecessor OGT to the marketing program developed around the patented invention). Exhibit D-92 provides a two-column table indicating “US Revenue” for the years 2008 to 2013, ending with a total along with an amount for “Additional Trade Value” which is indicated on the sheet to be a “total guess”. This document was put into evidence by Ms. Schaefer, though she did not prepare it or have much familiarity with it. She was not certain who prepared the document. In my view, the evidence is insufficient to establish any amount of revenue from FAILSAFE.
[224] Of course, merely establishing significant revenues, without more, would be insufficient to establish commercial success so as to avoid a finding of obviousness. It would also be necessary to establish a causal connection between the patented invention and those revenues. This would require showing that the inventive concept was incorporated into the product that generated the revenues, and that the inventive concept so incorporated was at least part of the reason for the significant revenues of the product.
[225] Because of my finding that significant revenues have not been shown, it is not strictly necessary for me to reach a conclusion on the causal connection. However, even if I had been persuaded that revenues from FAILSAFE were significant, I would not be satisfied that SG has shown the necessary causal connection.
[226] One reason I reach this conclusion is that, even taking the revenue report at Exhibit D-92 at face value, I note that it reports sales beginning some 13 years after the claim date. Such a delay suggests that any commercial success occurred long after the patented invention was conceived and introduced to the market. This in turn suggests that any commercial success was the result of factors other than the patented invention. I accept Ms. Schaefer’s testimony explaining that the delay in adoption of FAILSAFE (and the revenues resulting therefrom) was due to the fact that lottery industry customers (mainly governments) are generally slow adopters who are risk averse. While this could explain the delay, it does not counter the dearth of positive evidence connecting any commercial success for FAILSAFE with the patented invention.
[227] Another reason that I conclude that FAILSAFE cannot establish commercial success of the patented invention is that a key feature of FAILSAFE seems inconsistent with what I have found to be the inventive concept of the 551 Patent. As discussed in paragraph [66] above, a key feature of FAILSAFE is keyless validation by consumers (self-checking) to improve the efficiency of the validation process and to protect against retailer fraud. However, the inventive concept of the 551 Patent is concerned, at least in part, with determining whether a lottery ticket is authentic based on removal or alteration of the scratch-off layer. Such a determination is impossible in a system in which consumers are allowed to reveal the validation information and validate the ticket themselves.
[228] I have considered the licence arrangements that have been entered into by SG on the patented invention in Canada. There are patent licence agreements between SG and three of Canada’s lotteries concerning the patented invention: ALC, WCLC, and BCLC. There was also a patent licence agreement with ILC, though it apparently expired in 2013. There are no licences of the patented invention in place between SG and Canada’s other lotteries: Ontario Lottery and Gaming Corporation and Lotto-Québec. The licence to ALC was granted royalty-free as an inducement to be the first Canadian lottery to adopt FAILSAFE. It appears that the agreement with ILC provided for royalties only in respect of tickets, the benefit of which occurred in the US; hence no licence fee was payable in respect of lottery tickets for use in Canada. The agreements with WCLC and BCLC provide for a licence fee, but indicate that it “shall only become payable to Scientific Games upon the occurrence of issuance of a Scientific Games patent in Canada wherein at least one valid patent claim in the Licensed Property covers the technology used by LOTTERY in its instant scratch off lottery tickets.”
[229] Therefore, the payment of the licence fee was made contingent on the issuance of a valid patent that, but for the licence, would be infringed by the licensee. Since revenues from FAILSAFE in Canada are contingent on the validity of any patent that might issue, it would be circular reasoning to cite those contingent revenues from these licences as support for an argument of commercial success in an effort to avoid a finding that the 551 Patent is obvious and hence invalid.
[230] I have noted the considerable number of licence agreements that were put in evidence concerning US lotteries and the US counterpart to the 551 Patent, the US 991 Patent. However, I am not convinced that these agreements can be helpful on the issue of commercial success in the absence of any expert evidence comparing the scope of the 551 Patent with that of the US 991 Patent. No such evidence was adduced. Without such a comparison, it is possible that FAILSAFE earned more revenue in the US because the scope of the US 991 Patent and/or the licence terms were different.
(8) Prosecution History of the 551 Patent and Other Extrinsic Evidence
[231] Having now completed my substantive assessment of obviousness, I wish to make a few comments concerning the prosecution history of the 551 Patent, including the series of protests filed on behalf of Pollard. I preface these comments by noting that I have not considered any aspects of this prosecution history either in construing the claims (as mentioned in paragraph [115] above), or in considering Pollard’s invalidity allegations.
[232] SG took the Court through Pollard’s protests one by one. However, it did not direct my attention to the exchanges between the applicant and the patent examiner. Since the full prosecution history was put into evidence, I have been able to review these exchanges myself.
[233] Generally speaking, I can observe that Pollard’s protests met with success in the sense that the patent examiner often followed up with rejections based, at least in part, on the contents of the protests. Each of the protests was followed by a rejection from the examiner or a decision to maintain a previous rejection. The notice of allowance dated June 28, 2013, that led to the issuance of the 551 Patent was issued after Pollard failed to submit a protest concerning the applicant’s response to the examiner (including amended claims) dated March 6, 2013.
[234] This final response from the applicant (the March 6, 2013 Amendment) warrants a closer look. It amended the claims of the application to put them into the form in which they were allowed and in which they appear now in the patent. Of particular importance is the applicant’s representation that claim 1 had been amended “to emphasize the unique features of prior claim 2”, that is claim 2 in the form it had before it was amended. The wording of that prior claim 2 was as follows:
2. The printed document of claim 1 wherein the printed indicia and the bar code are covered by the same removable scratch-off coating.
[235] The portion of current claim 1 which is said to be the same as this prior claim 2 is “removable continuous scratch-off coating covering both the printed indicia in said play area and the bar code”. Hence, in order to obtain allowance of the application for the 551 Patent, SG explicitly represented that this wording refers to a single scratch-off coating. It is remarkable that the position SG now takes concerning this wording is quite different.
[236] But SG went further in the March 6, 2013 Amendment. It distinguished the Camarato Application from the invention described in the 551 Patent on the basis that the Camarato Application “clearly does not teach coating the bar code and the play area indicia with a continuous scratch off coating” [emphasis in original]. Hence, SG argued that the phrase “a removable continuous scratch-off coating covering both the printed indicia in said play area and the bar code” in claim 1 excluded the form of coating shown in the Camarato Application. This can only mean that this phrase was intended to be limited to a single scratch-off coating. This argument was obviously successful, since it was followed by a notice of allowance.
[237] After having reviewed the March 6, 2013 Amendment which led to the issuance of a patent on a patent application which, along with the parent application, had been pending before the Patent Office for almost 17 years and which had been rejected six times, it is breathtaking to see SG now attempt not just to take a different position on the construction of claim 1, but also to argue that, by doing so, it does not reintroduce the problem of obviousness in light of the Camarato Application that it had previously argued was avoided applying its first position.
[238] I would expect that SG’s argument would never have made it to a trial in the US where the principle of file wrapper estoppel applies. There, SG would likely not have been allowed to argue a claim construction that attempts to recapture ground conceded during prosecution of the patent application to avoid prior art.
[239] This case highlights a potential risk in taking a simpler approach to claim construction by ignoring extrinsic evidence, such as the prosecution history of the patent in suit. As revealed in my analysis above, excluding such extrinsic evidence resulted in a very different construction of the phrase “a removable continuous scratch-off coating covering both the printed indicia in said play area and the bar code” than would otherwise have been the case.
[240] SG notes that one of the protests filed on behalf of Pollard included the decision on the successful opposition of the European patent that corresponds to the 551 Patent. In my view, there is no reason to consider the European opposition at all for the purposes of the present case. Firstly, this is an extrinsic document which is not to be considered for the purposes of claim construction. Secondly, there is no reference in the European opposition to the Camarato Application (though other prior art references are discussed). Thirdly, the claims in issue in the European opposition do not appear to define either keyless validation or determining authenticity based on absence or alteration of the scratch-off coating covering the bar code.
[241] I have likewise given no consideration of the US 991 Patent. I note that Pollard did commence a validity challenge against this patent, and that this challenge was unsuccessful. However, the evidence indicates that it was dismissed on the basis that Pollard lacked standing. There was never a decision on the merits of Pollard’s invalidity attack.
(9) Conclusion on Obviousness
[242] Claim 1 of the 551 Patent is invalid for obviousness in view of the Camarato Application and the common general knowledge of the skilled person.
F. Conclusion on Invalidity
[243] Both claims of the 551 Patent are invalid, claim 1 for obviousness and claim 2 for ambiguity.
VIII. Infringement Issues
[244] Because of my conclusions concerning the validity of the claims of the 551 Patent, it is not necessary for me to consider SG’s allegations of infringement of those claims. However, I consider those allegations in this section in the event that I am wrong about validity.
[245] SG alleges that instant lottery tickets Pollard has printed for various Canadian lotteries infringe the 551 Patent both directly and by inducement to infringe.
[246] Pollard defends itself on the basis that its tickets do not fall within the scope of the claims, and hence there cannot be infringement either directly or by inducement. In addition, Pollard alleges that its tickets are covered by licences that have been granted by SG to certain Canadian lotteries. Because of these licences, there is no infringement even if the tickets do fall within the scope of the claims. Moreover, the licences address the allegation of inducement to infringe.
A. Applicable Law
[247] Infringement is not defined in the Patent Act, but it has been defined in the jurisprudence. In order to establish infringement of a patent claim, the party alleging infringement must show that all of the essential elements of the claim (properly construed) are incorporated in the alleged infringement. There is no infringement if an essential element is different or omitted. There may still be infringement, however, if non-essential elements are substituted or omitted: Free World Trust at para 31(f).
B. Analysis
[248] Instant lottery tickets that are alleged to infringe the 551 Patent were attached under tabs 3 to 18 of Schedule C to Mr. Trask’s report. There is no material difference between these various tickets that concerns the essential elements of the claims. There also appears to be no substantial disagreement between the parties as to the characteristics of the tickets in issue. The difference comes with regard to identification of the essential elements of the claims.
[249] The following is a reproduction of a typical allegedly infringing ticket:
[250] It appears that all of the tickets in issue are scratch-off lottery tickets comprising:
- a substrate, per paragraph (a) of claim 1;
- a play area on the substrate comprising printed indicia which, when present in a desired format, may indicate a winning ticket, per paragraph (b) of claim 1;
- a non-play area on the substrate spaced apart from the printed indicia of the play area;
- a machine-readable two dimensional (2D) bar code containing all information necessary to authenticate the lottery ticket without the input of additional information provided by the agent of the lottery ticket or directly from the ticket; and
- a removable continuous scratch-off coating covering both the printed indicia and the bar code.
[251] However, based on my construction of claim 1, all of the allegedly infringing tickets are missing at least two essential elements. Firstly, in all cases, the 2D bar code is located not in the non-play area as defined in paragraph (c) of claim 1, but rather in the play area that is covered by scratch-off that is intended to be removed in the playing of the game. The second missing essential element concerns the fact that, because the bar code is revealed upon the playing of the game, the absence or alteration of the scratch-off coating covering the bar code cannot be a determining factor as to whether the ticket is authentic, as defined in paragraph (d) of claim 1.
[252] Based on the absence of these two essential elements, I conclude that the allegedly infringing instant lottery tickets do not fall within the scope of the claims.
[253] Because I have found that the instant lottery tickets in issue do not fall within the scope of the claims in issue, it is not necessary for me to consider whether Pollard can benefit from a licence defence. Likewise, there is no need to consider the issue of inducement to infringe.
C. Conclusion on Infringement
[254] The claims of the 551 Patent are not infringed by the allegedly infringing tickets.
IX. Remedies
[255] Because of my conclusions that the claims of the 551 Patent are invalid and not infringed, it is not necessary for me to determine whether SG is entitled to the various remedies listed above in the “Issues in Dispute” section. None of these remedies is available in this case.
X. Conclusion
[256] Pollard is entitled to a declaration under subsection 60(1) of the Patent Act that claims 1 and 2 of the 551 Patent are, and have always been, invalid, void and of no force or effect.
[257] SG’s counterclaim for infringement will be dismissed.
[258] Pollard should have its costs of the action and the counterclaim. If the parties are unable to agree on the quantum of costs, I will receive submissions from the parties as contemplated in the Judgment below.
[259] In closing, I wish to thank the parties and their counsel for their efforts at minimizing the number of issues that remained in dispute at the end of the trial. These efforts are appreciated by the Court, and have resulted in a shorter decision.
JUDGMENT
THIS COURT’S JUDGMENT is that:
1. Claims 1 and 2 of Canadian Patent No. 2,752,551 are, and have always been, invalid, void and of no force or effect.
2. The counterclaim by the defendant/plaintiff by counterclaim for infringement is dismissed.
3. Costs will follow the event. If the parties are unable to agree on the quantum of costs payable by Scientific Games Products (Canada) ULC to Pollard Banknote Limited, the latter shall serve and file its costs submissions, of no more than 15 pages, within 30 days following the date of this decision. Scientific Games shall have 15 days following receipt of Pollard’s submissions to serve and file its responding costs submissions which likewise shall be limited to 15 pages. Thereafter, Pollard may, within five (5) days following receipt of Scientific Games’ responding submissions, serve and file reply costs submissions of no more than five (5) pages.
“George R. Locke”
Judge
FEDERAL COURT
SOLICITORS OF RECORD
|
DOCKET: |
T-407-14
|
|
STYLE OF CAUSE: |
POLLARD BANKNOTE LIMITED v BABN TECHNOLOGIES CORP. AND SCIENTIFIC GAMES PRODUCTS (CANADA) ULC
|
|
PLACE OF HEARING: |
Toronto, Ontario
|
|
DATE OF HEARING: |
May 2-6, 9-12, 18-19, 2016
|
|
JUDGMENT AND REASONS: |
LOCKE J.
|
|
DATED: |
JULY 28, 2016
|
APPEARANCES:
|
Ronald E. Dimock Angela Furlanetto Alan Macek Michal Kasprowicz
|
FOR
THE PLAINTIFF
|
|
Susan D. Beaubien Jaimie Bordman
|
FOR
THE DEFENDANTs
|
SOLICITORS OF RECORD:
|
DIMOCK STRATTON LLP Barristers and Solicitors Toronto, Ontario
|
FOR
THE PLAINTIFF
|
|
MACERA & JARZYNA, LLP Barristers and Solicitors Ottawa, Ontario
|
FOR
THE DEFENDANTs
|