Federal Court Decisions

Decision Information

Decision Content

Date: 20200515


Docket: T-546-12

Citation: 2020 FC 624

Ottawa, Ontario, May 15, 2020

PRESENT:  Mr. Justice Sébastien Grammond

BETWEEN:

BAUER HOCKEY LTD.

Plaintiff

Defendant by Counterclaim

and

SPORT MASKA INC. DOING BUSINESS AS CCM HOCKEY

Defendant

Plaintiff by Counterclaim

JUDGMENT AND REASONS


Table of Contents

I. Background  3

A. The Parties  3

B. Skate-Making  4

C. Bauer’s Patent  6

D. The Claim and the Trial  10

II. Preliminary Issues  12

A. Defining the Person Skilled in the Art  13

B. Defining Common General Knowledge  14

C. Claims Construction  18

(1) General Principles  18

(2) Disputed Terms  28

III. Validity  42

A. Anticipation  42

(1) General Principles  43

(2) Application  44

B. Obviousness  51

(1) General Principles  51

(2) Application  55

(3) Summary on Obviousness  69

IV. Infringement and Compensation Issues  69

V. The Easton Case  70

VI. Disposition  73

[1]  This action involves two well-known skate manufacturers, Bauer and CCM. Bauer obtained a patent for a pattern for a component of skates called the quarter. It is now suing CCM for infringement of that patent.

[2]  While many issues were canvassed by the parties at trial, two of them are determinative.

[3]  First, Bauer’s expansive interpretation of the claims of its patent, which would cover a wide range of CCM skates, cannot be accepted. Bauer’s proposed interpretation is not grounded in the wording of the claims or the disclosure. It attributes a purpose other than that explicitly identified in the disclosure. It is also incompatible with the patent’s prosecution history.

[4]  Second, the patent claims asserted by Bauer are obvious. Making the quarter in one piece, whereas it was formerly made of two pieces sewn together, is not an inventive step deserving of patent protection. Even taking into account the surrounding context, a skilled person at the relevant time would have readily come to that solution.

[5]  As a result, Bauer’s action will be dismissed and CCM’s counterclaim, which seeks a declaration of invalidity, will be allowed.

I.  Background

[6]  Bauer’s action is based on Canadian patent no 2,214,748 [the ‘748 patent or Bauer’s patent]. For a proper understanding of the issues in dispute, it is useful to begin these reasons by a presentation of the parties, a brief description of skate manufacturing, an account of the events that led to the invention disclosed in Bauer’s patent and a summary of the trial.

A.  The Parties

[7]  Initially founded as a footwear manufacturer in 1927, Bauer quickly began to make skates. In the 1980s, Bauer gradually abandoned making boots and other kinds of footwear to concentrate on hockey equipment and skates in particular. While market shares may be difficult to quantify precisely, it is fair to say that during the period relevant to this action, Bauer held the largest share of the worldwide market for skates.

[8]  Throughout its history, the Bauer company has changed its structure, corporate name and ownership several times, while maintaining its distinctive identity and brand. In particular, from 1996 to 2008, Bauer was owned by Nike, a global manufacturer of athletic footwear. For part of that period, Bauer manufactured skates under both the Bauer and Nike brands. In 2017, Bauer underwent a reorganization under the Companies’ Creditors Arrangement Act, RSC 1985, c C-36. Because I am dismissing the action for other reasons, I need not address the consequences of that reorganization on Bauer’s right to claim damages. Thus, I will use the name Bauer to refer to the Bauer company as it existed from time to time.

[9]  The defendant, Sport Maska Ltd, does business as CCM Hockey. I will call it simply CCM in these reasons. It manufactures hockey equipment, including skates. In 2004, it was acquired by Reebok, an international manufacturer of athletic footwear and began selling skates under both the CCM and Reebok brands. In 2017, it was sold to a private investment fund. It is fair to say that during the relevant period, CCM had a significant share of the worldwide market for skates, although a smaller one than Bauer’s.

B.  Skate-Making

[10]  Skates have existed in various forms for centuries. It is not necessary, for the purposes of these reasons, to provide a complete history of the evolution of skates. I will simply describe the traditional method for making skate boots and the evolution of that method in the years preceding the invention at issue.

[11]  Ice skates are comprised of a boot to which a blade and blade holder are attached. In the case of roller skates, the blade and blade holder are replaced with a carriage and wheels. The main components of the boot are called the “quarters”. There are traditionally two quarters (one on each side of the foot), which are sewn together at the back of the boot and extend forward on each side of the foot. Together with the toe cap, tongue and other components, they form what is called the “upper” of the boot. One of the figures of Bauer’s patent, as annotated by one of Bauer’s experts and showing the quarter outlined in bold, helps visualize these components:

[12]  The components of skate boots are assembled through a process that was initially developed in the shoe industry and is known as “lasting”. Although the process is inherently variable, its main steps are as follows. The various components of the upper, traditionally made of leather, are cut in the appropriate pattern and then sewn together. Once those components are assembled, the upper is placed upside down onto a “last,” which is a form that approximates the shape of a foot, and the insole is placed between the last and the upper. A lasting machine then pulls the edges of the upper, also called the “lasting margin” and folds them onto the insole. They are then nailed or glued to the insole. Excess material may then be sanded or ground down, after which the outsole can be fixed to the upper. Counters and overlays may be added to the upper at different stages of the process. When the boot is completed, a blade holder is riveted to the sole.

[13]  In the period ranging approximately from 1970 to 1995, several innovations were introduced to the skate industry. One of them is the use of injection moulding to manufacture entire skate boots or skate boot components. When the full skate boot is moulded in one piece, no lasting process is needed; I will return to this issue later in these reasons. The period also saw the gradual replacement of leather with synthetic materials, such as ballistic nylon, which provided more rigidity.

C.  Bauer’s Patent

[14]  In the mid-1990s, Bauer sought to reduce considerably the weight of its skates. It launched a project initially known as the “Super Light.” Indeed, Bauer achieved substantial weight reduction. Professional players who tested the Super Light reacted favourably to this feature. That skate, however, was not rigid and durable enough. It also had a tendency to absorb considerable amounts of water. It was never brought to market.

[15]  A second project was successful in achieving weight reduction while maintaining or improving other desirable features. It led to the commercialization of the Vapor line of skates. The invention claimed by the ‘748 patent was made in the course of that project. Mr. François Chênevert, who is the named inventor, testified about the various steps of the project. All the aspects of skate design were revisited. Ambitious targets were set with respect to weight, stiffness, durability and other factors. Mr. Chênevert examined a wide variety of potential materials. After doing extensive research, he found a new composite material, composed of laminated Surlyn and monofilament, that was 30%-50% thinner than ballistic nylon, that did not absorb water and that provided the desired degree of stiffness.

[16]  In designing the Vapor skate, Mr. Chênevert and his colleagues also wanted to facilitate forward flexion. Among several options, they considered separating the tendon guard from the remainder of the quarter – what became known as the “articulated cuff.” At trial, Mr. Chênevert testified that this led him, almost by chance, to make a prototype in which the two quarters were joined to form a single component (February 5, 2020, pp. 100–101). This was found to provide some additional rigidity and to make skate construction somewhat easier, as the new, more rigid materials were more difficult to sew. In addition, the one-piece construction provided aesthetic advantages that, in Mr. Chênevert’s view, would emphasize the distinctive features of the Vapor skate. The articulated cuff was not retained in the final design. However, after internal debate at Bauer, it was decided to incorporate the one-piece quarter in the new Vapor skate.

[17]  Bauer applied for a patent on September 5, 1997. Two patents resulted from Bauer’s application. The first is the ‘748 patent, which is in dispute in this action. The second one is Canadian patent no 2,302,953 [the ‘953 patent], which issued after the application was examined internationally under the Patent Cooperation Treaty and entered the national phase. The claims of the ‘748 patent are directed to a quarter for a lasted skate boot with foxing portions, while the claims of the ‘953 patent are directed to a skate boot comprising a quarter and a tendon guard having certain characteristics. 

[18]  The ‘953 patent was issued on November 20, 2001. Subsequently, the application that led to the issuance of the ‘748 patent was deemed to be abandoned, but was reinstated in 2003. After examination, the Patent Office objected to certain claims on the ground of obviousness. Bauer responded by joining three claims and making other changes to the application. The ‘748 patent was then issued on August 7, 2007.

[19]  The ‘748 patent, which forms the basis of Bauer’s action, is entitled “quarter for skate boot.” Under the heading “background of the invention,” it describes prior art consisting of two separate quarters sewn together. It highlights the manufacturing or durability issues associated with the presence of that sewing line. It also mentions that the tendon guard would overlap with the quarters. Prior art is illustrated by the following figure:

[20]  The patent then contains a “statement of the invention” essentially paraphrasing the claims. It continues with a “brief description of the drawings” and a “detailed description of embodiments.” One of the drawings, which is said to provide a “view of a quarter according to the invention,” is as follows:

[21]  In this action, Bauer asserts claims 1 and 5 (as dependent on claim 1) of the ‘748 patent. They read as follows:

1. A quarter for a lasted skate boot, said quarter being adapted to encircle the heel and ankle portions of a wearer’s foot, said quarter comprising a quarter medial portion, a quarter lateral portion and a junction line between said medial and lateral portions, wherein said medial and lateral portions are integrally connected at said junction line, wherein said medial and lateral portions extend upwardly along said junction line, and outwardly each side of said junction line along a narrowing profile adapted to a rear shape of the skate boot when folded in U-shape, and wherein each of said medial and lateral portions comprises a foxing portion extending downwardly therefrom.

5. A quarter as defined in any one of claims 1 to 4, wherein said foxing medial and lateral portions are adapted for mutual connection with a sewing line.

[22]  Despite some initial problems, the Vapor line of skates was a commercial success. The contribution of the invention described in the ‘748 patent to that success is an issue to which I will return later in these reasons. Nevertheless, it is not in dispute that Bauer’s competitors soon began to make skates with a one-piece quarter, although whether those skates infringe Bauer’s patent is very much in dispute.

[23]  Bauer sued one of its competitors for infringement of the ‘953 patent. It was successful both at trial and on appeal: Bauer Hockey Corp v Easton Sports Canada Inc, 2010 FC 361; aff’d 2011 FCA 83 [Easton]. The Easton litigation involved different parties and dealt with a different patent. The judgments in that case do not constitute res judicata with respect to the present case. In spite of this, Bauer repeatedly drew my attention to certain findings of the trial judge in Easton. It would be hazardous to transpose findings made in that case to the present matter because the issues, the evidence and the parties’ theories of the case are not the same. It is easier to explain those differences at the end of these reasons.

D.  The Claim and the Trial

[24]  Bauer filed its statement of claim against CCM on December 21, 2012. It asserts that a wide range of CCM skates infringe claims 1 and 5 of the ‘748 patent.

[25]  It took more than seven years to bring this claim to trial. Some portion, but by no means all, of that delay may be due to Bauer’s restructuring in 2016–17.

[26]  At trial, Bauer presented several factual witnesses. Most were current or former employees and were understandably enthusiastic about their brand and the contribution of the invention to the evolution of skate design. Given my reasons for dismissing Bauer’s action, several aspects of their evidence is not directly relevant to the issues I need to address. As a result, I will not engage in a comprehensive description of the evidence given at trial.

[27]  Both parties brought forward five expert witnesses, the maximum number allowed under section 7 of the Canada Evidence Act, RSC 1985, c C-5. Some of them addressed financial issues; others focused on patent validity and infringement issues, including common general knowledge, claims construction, anticipation and obviousness. My observation is that when dealing with the latter issues, especially claims construction, experts tend to become indistinguishable from lawyers. Their opinions as to the meaning of the claims are based more on legal principles than common general knowledge, as if the skilled person was more adept at claims construction than at their own art. (See, for a similar observation, Shire Biochem Inc v Canada (Health), 2008 FC 538 at paragraphs 22–23 [Shire].)

[28]  Moreover, expert witnesses typically cling very closely to the theory of the case of the party that retained them. They are very well prepared. They know the other party’s theory of the case and they develop techniques to deflect objections and to reassert their own theory. In saying this, I do not wish to launch a philosophical debate as to the possibility of separating expertise and advocacy. I will simply note that one of the experts called by Bauer, Mr. Beaudoin, went far beyond the others in advocating for the party who retained him. Throughout these reasons, I will give several examples of the flaws of his reasoning. The common theme is that he takes advantage of the skate industry’s inconsistent use of terminology to stipulate definitions or meanings that are not grounded in any objective evidence. He then builds a conceptual edifice on those definitions and asserts, again without any objective basis, that the skilled person would share his perspective. In my view, his reports and testimony are more properly viewed as an appendix to the submissions of Bauer’s counsel and should be analyzed as such.

[29]  The trial lasted 21 days. Nevertheless, as these reasons will show, the case largely turns upon an issue of claims construction. Claims construction, we are often told, is a question of law, although some forms of evidence are admissible to assist in the process. Where more than 90% of the value of the claim depends on a question of law, the parties should contemplate bringing a motion for summary judgment or summary trial. Had the parties done so in this case, a considerable amount of judicial resources would have been saved, and each party’s legal costs would have been substantially reduced. As I suspect that both parties will pass their litigation costs on to their customers, it is ultimately skaters and hockey players across Canada who will bear the burden of the parties’ strategic choices.

II.  Preliminary Issues

[30]  It is customary for judgments in patent infringement cases to address certain issues at the outset: the identification of the skilled person, the definition of common general knowledge and the interpretation of the patent claims at issue. I discuss these issues before turning to Bauer’s allegations of infringement and CCM’s allegations of invalidity.

[31]  Dealing with these issues at the outset ensures consistency in the analysis. For example, one should not construe a claim in one way for the purposes of validity, and in a different way for the purposes of infringement: Whirlpool Corp v Camco Inc, 2000 SCC 67 at paragraph 49(b), [2000] 2 SCR 1067 [Whirlpool]. Identifying the skilled person and common general knowledge at an early stage of the analysis also provides a basis for determining what, in the relevant field of activity, is considered as inventive. Moreover, addressing issues of claim construction before analyzing validity or infringement prevents claims construction from becoming a “results-oriented” exercise: Whirlpool, at paragraph 49(a).

A.  Defining the Person Skilled in the Art

[32]  It is generally accepted that patents are not meant to be read by ordinary persons, but rather by a “person skilled in the art or science to which it pertains” (see sections 27(3)(b) and 28.3 of the Patent Act, RSC 1985, c P-4) or, in short, the skilled person: Burton Parsons Chemicals, Inc v Hewlett-Packard (Canada) Ltd, [1976] 1 SCR 555 at 563 [Burton Parsons].

[33]  At paragraph 40 of his first report, Mr. Beaudoin, Bauer’s expert, described the skilled person as follows:

I find that the ‘748 patent is directed to a person who has experience in developing or using skate boot patterns in designing a lasted skate boot, and who has experience in the production and manufacturing processes for such skate boots.  These individuals likely gained experience by working in the industry with other skilled persons.  They may have a combination of both work experience and education; for example, they may have taken courses relating to pattern making and/or industrial manufacturing processes, where such courses were available.

[34]  I generally agree with this statement. While CCM’s experts have suggested that the skilled person might actually be a team, nothing really turns on that distinction. In this regard, Mr. Meibock, one of CCM’s experts, writes, at paragraph 136 of his first report:

The 748 Patent does not discuss any particularly advanced technique or cutting-edge material, and therefore the [skilled person] would not need any advanced degree or significant education to understand what is set out in the 748 Patent.

[35]  A more controversial question is the scope of the knowledge of the skilled person. I address this issue in the next section.

B.  Defining Common General Knowledge

[36]  The next preliminary issue is the identification of common general knowledge, which is defined as “knowledge generally known by persons skilled in the relevant art at the relevant time:Apotex Inc v Sanofi-Synthelabo Canada Inc, 2008 SCC 61 at paragraph 37, [2008] 3 SCR 265 [Sanofi]; see also Bell Helicopter Textron Canada Limitée v Eurocopter, société par actions simplifiée, 2013 FCA 219 at paragraph 65 [Eurocopter]; Mylan Pharmaceuticals ULC v Eli Lilly Canada Inc, 2016 FCA 119 at paragraph 25, [2017] 2 FCR 280 [Mylan]. It is what the skilled person would know without doing research. It must be distinguished from publicly accessible knowledge: not all public knowledge is commonly known. In this case, the relevant time is the date Bauer’s patent was laid open for public inspection, which is March 5, 1999.

[37]  The parties put forward markedly contrasting positions as to the sources of the common general knowledge. Bauer contends that the skate industry is entirely separate from the footwear industry. On that view, knowledge related to footwear generally would be irrelevant and would not form part of the skilled person’s knowledge. CCM, in contrast, denies that there is such a separation and argues for a much broader definition of the common general knowledge.

[38]  In spite of the apparently unbridgeable gap between them, these positions can be reconciled. As mentioned by a CCM representative in a video that was played at trial (Exhibit X95), skates are a “highly specialized piece of footwear.” Mr. Pearson, who spent a large portion of his career with Bauer, described the skate industry as a “niche market.” These characterizations recognize that skates have a number of features in common with other kinds of footwear, together with certain distinctive features.

[39]  Thus, the common general knowledge includes, but is not limited to, knowledge pertaining to pattern-making in the footwear industry generally. It also includes knowledge of the specific issues pertaining to skates and the techniques employed in the skate industry to address those issues.

[40]  The evidence belies Bauer’s assertion that general knowledge of the footwear industry is irrelevant to the patent at issue. Several of the witnesses had experience in the general footwear business before beginning employment with Bauer or CCM (Mr. Beaudoin, Mr. Roy, Mr. Nadeau). Upon joining Bauer, Mr. Chênevert learned the art of pattern-making from a Mr. Renaud, who had extensive experience in the shoe industry (February 5, 2020, p. 139), and applied that knowledge to other sewn equipment, such as liners for protective equipment (February 5, 2020, p. 43). Indeed, Mr. Chênevert recognized that the basic principles of pattern-making are the same for all products (February 5, 2020, p. 141). When Mr. Beaudoin mentioned that the skilled person could have taken pattern-making courses, he did not suggest that those courses would only pertain to skates. Given the small number of players in the industry, this would be implausible.

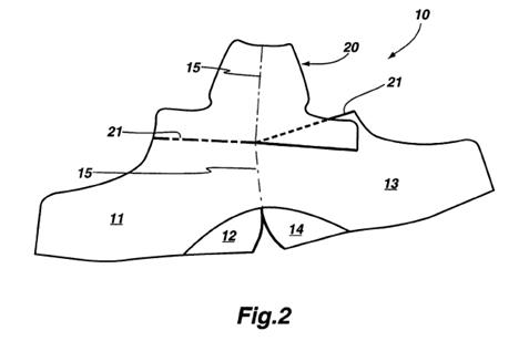
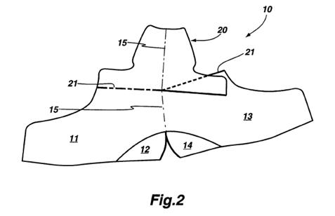
[41]  Moreover, the machinery used to make skates is in large part the same as that used for other types of footwear, even though some adaptations may be necessary (Mr. Roy’s testimony, February 24, 2020, p. 65). The Orisol machines that CCM bought in 1997 to automate certain steps of the process were designed and advertised for sewing shoes. Indeed, some of the Asian manufacturers who made skates for CCM also manufactured shoes (Mr. Roy’s testimony, February 24, 2020, pp. 64–65). Bauer itself made shoes until a relatively recent era (Mr. Nadeau’s testimony, February 11, 2020, pp. 7–9, 38–40).

[42]  In this regard, an analogy may be drawn to the relationship between intellectual property law and law generally. Intellectual property is a highly specialized body of law with its own legislation, concepts and vocabulary. Practitioners in that field mainly cite authorities from that field. Nevertheless, for many aspects of their practice they rely on legal concepts that are common to all fields of law. For example, there is no separate law of evidence for intellectual property disputes.

[43]  Hence, I conclude that the common general knowledge includes basic principles that are common to various forms of footwear, as well as specialized knowledge specific to skates.

[44]  For the purposes of these reasons, it is not necessary to provide a comprehensive definition of what a skilled person would know. What is important is that it would include at least knowledge of basic techniques of pattern-making, which are common to various kinds of footwear, as well as basic knowledge of the manufacturing process for skate boots and the specific issues or requirements pertaining to skates.

[45]  With respect to pattern-making, certain admissions made by Mr. Beaudoin are particularly relevant to claims construction and the obviousness inquiry (February 17, 2020, pp. 168–171). In cross-examination, he recognized that the concept of a one-piece quarter was known in the shoe industry at the relevant time. A skilled person would also have known, at that time, that a curved heel notch or dart allows the quarter to fit the curved heel shape. That person would also understand how material in the lasting margin could be removed to avoid material build-up under the heel. Mr. Beaudoin also admitted that at the relevant time, a skilled person would have known the various forms of notching or material removal that he describes as categories A, B, C, D and E in his infringement analysis. In particular, the category C dart was described in the 1976 Manual of Shoemaking and in previous patents.

[46]  One particular aspect of the common general knowledge in this case is terminological inconsistency. The footwear industry has a common lexicon of terms to describe the main components of shoes and boots (see, e.g., Mr. Meibock’s first report, paragraphs 65–100). However, applying this lexicon to the skates at issue and their manufacturing process is not as straightforward as one might think. Advances in skate design and manufacturing do not generate immediate consensus on the words used to describe them. Moreover, because there are very few players in the skate industry, a different usage tends to develop in each company (see, e.g., Mr. Harvey-Néron’s testimony, February 24, 2020, pp. 82–83). Thus, much caution should be exercised before adopting rigid definitions that do not allow for the evolution of the underlying technology.

C.  Claims Construction

[47]  As I mentioned earlier, the issue of the proper interpretation to be given to the claims of Bauer’s patent is dispositive of a very large portion of the claim. Given the importance of this issue for the case, it may be useful to begin by a through review of the principles that govern the interpretation of patents, or, as it is commonly known, “claims construction.”

(1)  General Principles

[48]  Patent claims, like other kinds of legal writings, are interpreted according to the modern method of legal interpretation. Nevertheless, patents are written according to certain specific conventions. They have distinctive characteristics that must be taken into account in the interpretive exercise. I will discuss these similarities and differences briefly before turning to four guidelines that are particularly relevant to this case.

[49]  Legal interpretation is not an obscure practice governed by arcane rules. It is, as Lord Hoffmann once famously said, not very different from “the common sense principles by which any serious utterance would be interpreted in ordinary life:” Investors Compensation Scheme v West Bromwich Building Society, [1997] UKHL 28, [1998] 1 All ER 98. These common sense principles are often grouped under the headings of the literal, contextual and purposive methods: Pierre-André Côté, in collaboration with Stéphane Beaulac and Mathieu Devinat, The Interpretation of Legislation in Canada, 4th ed. (Toronto: Carswell, 2011), although other groupings are equally valid: Ruth Sullivan, Statutory Interpretation, 3rd ed. (Toronto: Irwin Law, 2016) [Sullivan, Statutory Interpretation].

[50]  Debates about the application of certain technical rules sometimes obscure the usefulness of the basic tools of legal interpretation for the purposes of claims construction: see, for example, Donald H. MacOdrum, Fox on the Canadian Law of Patents, 5th ed (Toronto: Thomson Reuters, looseleaf ed), section 8.3 [MacOdrum, Fox on Patents]. Nevertheless, when the Supreme Court of Canada reviewed the principles of claims construction twenty years ago, it mandated consideration of factors – text, context and purpose – that are the hallmark of the modern method, although it labelled the resulting process the “purposive method:” Whirlpool, especially at paragraph 49(e); Free World Trust v Électro Santé Inc, 2000 SCC 66, [2000] 2 SCR 1024 [Free World Trust].

[51]  Beyond features common to all legal writings, certain distinctive characteristics of patents are relevant to the interpretive exercise. First, patents have been described as a “bargain” according to which the inventor makes the invention public in consideration for a limited-term monopoly: Free World Trust, at paragraph 13; Apotex Inc v Wellcome Foundation Ltd, 2002 SCC 77 at paragraph 37, [2002] 4 SCR 153 [Wellcome Foundation]; AstraZeneca Canada Inc v Apotex Inc, 2017 SCC 36 at paragraph 39, [2017] 1 SCR 943 [AstraZeneca]. The process of interpretation must not tilt that bargain; interpretation should be “fair to both patentee and public:” Consolboard Inc v MacMillan Bloedel (Sask) Ltd, [1981] 1 SCR 504 at 520 [Consolboard]. Second, section 27 of the Patent Act, as well as the Patent Rules, SOR/2019-251, set out certain requirements that inventors must comply with when drafting patent applications. Conventions have also developed in this regard: MacOdrum, Fox on Patents, sections 8.8 and 8.9. The interpreter must take into account these rules and conventions.

[52]  These features of patents combine to give the interpretive exercise a particular flavour – the search for a claim’s essential elements. In Free World Trust, at paragraph 55, the Supreme Court of Canada confirmed that courts should strive to identify the elements of a claim that cannot be substituted without affecting the working of the invention.

[53]  Four particular interpretive issues require consideration in this case: reliance on the disclosure and drawings, reliance on extrinsic evidence, the claims differentiation principle and the principle that the claims are not limited by the disclosed embodiments. I review each of those principles before applying them to the facts of this case.

(a)  Reliance on the Disclosure and Drawings

[54]  Bauer argues that when interpreting a claim, one should not have recourse to the disclosure and drawings if the language of the claim is clear. It cites a number of precedents which appear to support that proposition, including Dableh v Ontario Hydro, [1996] 3 FC 751 (CA) at paragraph 30, and Monsanto Canada Inc v Schmeiser, 2002 FCA 309 at paragraph 37, [2003] 2 FC 165, to which one could add Mylan, at paragraph 39. At trial, counsel for Bauer also cross-examined CCM’s expert witnesses about the order in which they considered various parts of the patent in reaching their conclusions about claims construction. Bauer argues that their evidence should be rejected, because they did not consider the various parts of the patent in the right order. I reject those submissions, as they are incompatible with the modern method of interpretation.

[55]  The modern method aims at helping the interpreter find clues about the meaning of a legal writing. There is no hierarchy of these clues, nor any predetermined order in which they are considered. In particular, the modern method rejects what is known as the “plain meaning rule,” or the idea that if one category of clues – the text – provides a “clear” answer, the other categories of clues are to be disregarded. The Supreme Court of Canada has rejected the plain meaning rule in matters of statutory interpretation (Chieu v Canada (Minister of Citizenship and Immigration), 2002 SCC 3 at paragraph 34, [2002] 1 SCR 84; Montréal (City) v 2952-1366 Québec Inc, 2005 SCC 62 at paragraphs 9–10, [2005] 3 SCR 141; Sullivan, Statutory Interpretation, at 70–72) and contractual interpretation (Sattva Capital Corp v Creston Moly Corp, 2014 SCC 53 at paragraph 47, [2014] 2 SCR 633 [Sattva]; Canada (Attorney General) v Fontaine, 2017 SCC 47 at paragraph 37, [2017] 2 SCR 205).

[56]  Indeed, the “plain meaning rule” is absent from the decisions of the Supreme Court of Canada dealing with the interpretation of patents. Instead, as Justice Dickson stated, “[w]e must look to the whole of the disclosure and the claims to ascertain the nature of the invention:” Consolboard, at 520. In Whirlpool, at paragraph 49(e) and (f), Justice Binnie explains that words should be interpreted in light of their context and purpose. He likens claims construction to statutory interpretation and concludes that the “words of the claims” must be “interpreted in the context of the specification as a whole.

[57]  Most recent decisions of the Federal Court of Appeal are in line with this approach. In Tetra Tech EBA Inc v Georgetown Rail Equipment Company, 2019 FCA 203 at paragraph 86 [Tetra Tech], it described the claims construction process without any reference to the “plain meaning rule:”

A Court may look to the whole of the specification to understand what a word or term used in a claim means or to confirm a construction arrived at by consideration of the language of the claims. However, parts of the specification may not be borrowed from to enlarge or contract the scope of the claim as written […].

[58]  Likewise, in Tearlab Corp v I-MED Pharma Inc, 2019 FCA 179 at paragraph 33 [Tearlab], it noted that “[c]laim construction requires that the disclosure and the claims be looked at as a whole.”

[59]  Nevertheless, the Federal Court of Appeal in Tetra Tech cautioned against an interpretation that would enlarge or narrow the scope of the claim. This admonition is frequently repeated in the case law. Taken too literally, it is illogical. How can we tell whether the interpretive process is widening or narrowing the scope of the claims, as that scope is to be ascertained by interpretation in the first place? More realistically, the prohibition against widening or narrowing is a reminder that the interpretive process must remain faithful to the text of the claims. In other words, the interpretation chosen must be one “that the […] language can reasonably bear:” McLean v British Columbia (Securities Commission), 2013 SCC 67 at paragraph 40, [2013] 3 SCR 895.

(b)  Reliance on Extrinsic Evidence

[60]  In theory, according to the modern method of interpretation, all information relevant to the interpretive exercise should be considered. Nevertheless, fairness forbids that a legal writing be interpreted according to information unavailable to its addressees. For that reason, exclusionary rules restrict the scope of the evidence that may be used to assist interpretation. In the interpretation of a contract, for example, only information that was known to the parties when entering into the contract may be relied upon: Sattva, at paragraph 58.

[61]  Patents are public documents. Their meaning should not depend on information that is not accessible to the public. This explains at least in part the general prohibition on the use of extrinsic evidence to construe patent claims: Free World Trust, at paragraph 61; Whirlpool, at paragraph 49(f). Prohibited extrinsic evidence may include other patents, patent applications and the testimony of the inventor: Bombardier Recreational Products Inc v Arctic Cat, Inc, 2018 FCA 172 at paragraph 51 [Bombardier].

[62]  Yet not all forms of extrinsic evidence are prohibited. The notional addressee of a patent is the skilled person. Evidence is admitted regarding the skilled person’s knowledge or the interpretation that the skilled person would have given to the claims. Despite the difficulties mentioned at paragraph [27] above, experts routinely testify on this topic, even though their evidence is not binding on the court: Whirlpool, at paragraphs 61–62; Eurocopter, at paragraph 74; Tetra Tech, at paragraph 89. The court may also rely on the evidence of lay witnesses who may be considered as “proxies” for the skilled person at the relevant time: Bombardier, at paragraph 35.

[63]  One kind of extrinsic evidence that has given rise to heated debate is patent prosecution history, also known in the United States as the “file wrapper.” When the Patent Office examines a patent application, it may find that some claims are invalid. To overcome those objections, the applicant may redraft the claims or make representations as to their proper scope. American courts have admitted evidence of such communications to ensure that patentees do not advance inconsistent positions before the Patent Office and in subsequent litigation. In Canada, the Supreme Court held that prosecution history was inadmissible: Free World Trust, at paragraph 66. However, in 2018, Parliament altered that rule with the enactment of section 53.1 of the Patent Act. Indeed, prosecution history is publicly available and its use is not unfair to the public. Under the new provision, communications between the patentee and the Patent Office “may be admitted into evidence to rebut any representation made by the patentee in the action or proceeding as to the construction of a claim in the patent.”

[64]  There are few cases addressing the application of section 53.1. Like all legislation, it “shall be given such fair, large and liberal construction and interpretation as best ensures the attainment of its objects:” Interpretation Act, RSC 1985, c I-21. The mischief at which section 53.1 is directed is that the patentee was previously allowed to “argue a claim construction that attempts to recapture ground conceded during prosecution of the patent application to avoid prior art:” Pollard Banknote Limited v BABN Technologies Corp, 2016 FC 883 at paragraph 238; see also David Vaver, Intellectual Property Law: Copyright, Patents, Trade-Marks, 2nd ed (Toronto: Irwin Law, 2011) at 348–350. Thus, “[s]ince the introduction of section 53.1, purposive construction requires consideration of not only the claims and the disclosure, but also the substance behind intentional amendments to the claims issued in Canadian patents:” Canmar Foods Ltd v TA Foods Ltd, 2019 FC 1233 at paragraph 71.

[65]  Although the use of prosecution history is described in terms of estoppel in the United States, section 53.1 squarely makes this a matter of claims construction. When an issue of claims construction arises, the patentee is always making representations to the Court as to the proper construction of the claims and the defendant is always attempting to rebut those representations. Therefore, in my view, as long as the issue is one of claims construction, section 53.1 applies and the prosecution history is admissible. In other words, there is no need to identify a particular representation and rebuttal every time a reference is made to the prosecution history. It is simply integrated in the interpretive process.

(c)  Claims Differentiation

[66]  One principle of interpretation that is particularly relevant to this case is the claims differentiation principle, which the Federal Court of Appeal described as follows in Tetra Tech, at paragraph 113:

[…] the principle of claim differentiation presumes that patent claims are drafted so as not to be redundant. Thus, different claims have different scopes. Independent claims are understood to include more than dependent claims; a limitation in the dependent claim should not be read into the independent claim.

[67]  This principle is simply an application of the contextual method of interpretation. When looking at context, more specifically the immediate or internal context, we assume that each component of a legal document plays a specific role and that none is redundant: Sullivan, Statutory Interpretation, at 136–138. This principle is illustrated by article 1428 of the Civil Code of Québec, which states that “[a] clause is given a meaning that gives it some effect rather than one that gives it no effect.”

[68]  Sections 60–63 of the Patent Rules allow applicants to describe inventions by way of multiple claims. A claim is “dependent” if it includes by reference all the features, or “limitations,” of another claim, as well as additional features. The principle of claims differentiation simply means that the additional feature that distinguishes a dependent claim should not be implied in the independent claim, as that would render the former redundant.

[69]  Of course, the application of this principle assumes a high degree of consistency in the drafting of the legal document under consideration. Even with respect to legislation, which is usually drafted with great care, the presumption against redundancy may be rebutted if other clues point in the opposite direction: Schreiber v Canada (Attorney General), 2002 SCC 62 at paragraphs 74–75, [2002] 3 SCR 269. In contractual matters, the presumption has little strength where the contract was drafted in haste, without the assistance of legal professionals: Bélisle v Marcotte, [1957] Que QB 46 at 49. In his closing submissions, counsel for Bauer suggested that patent agents typically have a quite limited budget for preparing a patent application. Thus, they would not have the degree of understanding of prior art that one gains through litigation. This would explain why patents often include a string of dependent claim in a strategy to obtain the widest protection possible while avoiding invalidity. Thus, one should not be surprised that the claims differentiation principle has, too, been characterized as a “rebuttable presumption:Halford v Seed Hawk Inc, 2004 FC 88 at paragraph 94. It “cannot overcome a purposive interpretation:” Bridgeview Manufacturing Inc v 931409 Alberta Ltd (Central Alberta Hay Centre), 2010 FCA 188 at paragraph 33.

[70]  In reality, if claims differentiation were a hard-and-fast rule instead of a rebuttable presumption, unscrupulous patentees could be tempted to include in their applications a dependent claim that would cover, as its additional feature, something that is merely a synonym of a feature of the independent claim. If the stratagem were to go undetected and the patent issues, the patentee could then rely on the claims differentiation principle to argue that the independent claim must cover more than what was contemplated when it applied for the patent, typically embracing its competitors’ products ex post facto. Courts do not allow themselves to be so cornered. This is one reason why interpretive principles remain flexible.

(d)  Preferred Embodiments and Essential Elements

[71]  Section 27(3)(c) of the Patent Act and section 56(1)(f) of the Patent Rules require the inventor to describe “at least one mode contemplated by the inventor for carrying out the invention.” This is known as the “preferred embodiment.” Yet, a basic principle of claims construction is that “the description of the preferred embodiments is not meant to include all the possible embodiments of the invention claimed:” Bombardier, at paragraph 54; ABB Technology AG v Hyundai Heavy Industries Co, Ltd, 2015 FCA 181 at paragraph 57. The same is true of the figures that may accompany the description of the invention.

[72]  This is related to the fact that some elements of the claims will be considered essential and some will not: Free World Trust. Thus, when the inventor describes the preferred embodiment or illustrates the invention in a figure, one should not presume that everything described or shown is essential. There may be other ways of practicing the invention. But the key word here is “may.” The principle that the preferred embodiment does not exhaust the invention is not a licence to widen, ex post facto, the scope of the claims.

(2)  Disputed Terms

[73]  The parties disagree on the proper interpretation of several words or phrases in claims 1 and 5. Given the view that I am taking of the case, I need only discuss the meaning of two of them, “lasted skate boot” and, most importantly, “foxing portion.” This is “where the shoe pinches,” to use the consecrated expression: Shire, at paragraph 22.  It is common ground that these two phrases describe essential elements of claim 1 and I agree with the parties in this respect. I will review them in turn.

(a)  “lasted skate boot”

[74]  Bauer’s patent is for a lasted skate boot, not for other kinds of skate boots. Thus, a skate boot that is not lasted cannot anticipate Bauer’s patent, nor can it infringe it. In this regard, Bauer argues that for a skate boot to be properly characterized as being “lasted,” its shape must be provided by the lasting process, not by other means. Bauer adds that if a skate boot has a quarter made of injection-moulded plastic, its shape is provided by the moulding process, not the lasting process. It would follow that a skate boot with an injection-moulded quarter could never be lasted.

[75]  I reject Bauer’s interpretation of “lasted.” It departs from the usual meaning of the term in the industry. The exclusion of injection-moulded quarters is incompatible with the patent, which contains no such limitation. The requirement that the shape of the boot be given exclusively, or even mainly, by the lasting process is arbitrary and difficult to apply. The preferable interpretation is simply that a lasted skate boot is one made through the lasting process.

[76]  There was a time when all skate boots were lasted. There was no need to define the term. The introduction of injection-moulded skate boots in the 1970s brought a radical change. The main component of those skate boots, such as the Lange or the Micron Medallic, was a shell that comprised most of the structure of the boot and that was manufactured through the injection of liquid plastic into a cavity created by the juxtaposition of two parts of a mould. Thus, what were traditionally separate components – the outsole, insole, toe cap and quarters – were replaced by a single component. The lasting process, which was meant to assemble those separate components and to give them a three-dimensional shape, was no longer needed.

[77]  Both parties agree that the reference to “lasted skate boots” is meant to exclude moulded boots. Thus, the issue becomes an exercise of drawing a line between the two categories, as the skilled person would have understood them in 1999, when the patent application was laid open to the public.

[78]  The difficulty is that there can be infinite variations in manufacturing processes. These processes are designed to maximize performance and profitability, not to conform to some pre-established definition. A skilled person at the relevant time would appreciate this. Moreover, that person would know that injection-moulded components such as reinforcements or toe caps were used, at that time, in lasted skate boots. Thus, the presence of injected components does not disqualify a skate boot from being lasted.

[79]  A skilled person trying to understand Bauer’s patent would also notice a number of elements that bear upon the meaning of “lasted.” First, the patent does not specify the materials to be used to make the quarter. Quite the contrary, the description states that “[t]he quarter may be manufactured with different materials.” A skilled person would thus reject any arbitrary attempt to exclude certain materials, such as injection-moulded plastics. Second, the patent does not restrict the process through which the quarter is made. The reference to “dye-cutting,” in the disclosure, is only a preferred option. The claims contain no limitation to that effect. Third, since “lasted” is used as an adjective to refer to the boot, a skilled person would have understood “lasted” to describe a boot made by a particular manufacturing process, not simply an end result.

[80]  In that context, a skilled person would have understood the term “lasted” to include any process by which the upper of the boot is attached to the insole with the assistance of a last. Given the inconsistent use of terminology in the industry, a skilled person with a “mind willing to understand” (Free World Trust, at paragraph 44) would not seek to exclude a boot from that definition on the basis of a modest variation in the manufacturing process. Indeed, the disclosure of Bauer’s patent describes the lasting process in summary terms: “To complete the skate, the quarter is formed, sewn to the upper of the boot. The sole is then glued to the upper.” This suggests that specific steps are not essential elements as long as the general sequence is maintained.

[81]  Because the concept of a lasted boot was mainly understood as the opposite of that of moulded boot, a boot would fall outside that definition only where its sole and upper are made as a single component, so that no process is needed to attach them together. Indeed, Mr. Beaudoin admitted that boots that are considered to be moulded, such as the Lange or the Micron Medallic, come out of the mould in their final shape and that their sole is not a separate piece (February 13, 2020, pp. 140–142). Mr. Nadeau also described the concept of a moulded boot in those terms (February 11, 2020, pp. 71–72). The skilled person would not exclude a boot from the definition of “lasted skate boot” on the basis of the materials or the process used to make the quarter.

[82]  In coming to this conclusion, I reject Bauer’s attempt to narrow the meaning of “lasted skate boot” on the basis of certain specific features of the manufacturing process or characteristics of the end product.

[83]  Thus, Mr. Beaudoin, at paragraph 107 of his first report, sought to impose an additional requirement to the effect that “the shape of the skate boot is provided by the last.” His theory, if I understand it correctly, is that a skate boot cannot be said to be lasted unless all, or substantially all its three-dimensional shape is provided by the step of the process where the upper is pulled onto the last and is affixed to the insole. I reject this view. It is based on an unrealistic dissection of the manufacturing process. Even in 1997 or 1999, several steps of the manufacturing process contributed to the boot’s three-dimensional shape (Mr. Beaudoin’s testimony, February 13, 2020, p. 278). In particular, the use of a back-part moulder to pre-form certain components was already known (Mr. Beaudoin’s main report, paragraph 58). When two-piece quarters were used, at least some part of the three-dimensional shape was obtained by sewing the two pieces along a curved line. The same would be true of a one-piece quarter with the foxing portions sewn together. Mr. Beaudoin’s theory draws a line based on the contribution of various steps of the manufacturing process to the final shape of the skate boot.  If we were to follow Mr. Beaudoin, a subjective assessment of this contribution would be required in order to conclude that a boot was lasted. That is wholly impractical and I see no basis whatsoever to conclude that the skilled person would have adopted such an ambiguous definition.

[84]  Likewise, the fact that injection-moulded quarters would not provide certain advantages usually associated with lasted skates, such as a greater ability to be “broken in,” is irrelevant. Again, “lasted” refers to a manufacturing process for the skate boot, not to the materials employed or the advantages they may provide.

[85]  Moreover, Mr. Beaudoin gave inconsistent explanations in this regard in his first and second reports. In his first report, at paragraph 63, he mentioned that “quarters for some lasted skate boots have been made of thermoformable materials.” He explains that those quarters are pre-heated and pressed into a pre-defined shape and then “subjected to a lasting process to provide further shaping and refinement.” Yet, in paragraphs 145 and 147 of his second report, he appears to say that a skate boot is not lasted where its quarter has acquired its shape prior to the lasting process, for example if the quarter is injection-moulded. Those statements are difficult to reconcile.

[86]  In the end, there appears to be no basis for Mr. Beaudoin’s position other than the desire to exclude certain pieces of prior art from the anticipation analysis. It is not supported by any objective evidence that the skilled person would have shared those views at the relevant time. This is exactly the kind of “results-oriented” reasoning proscribed by Whirlpool, at paragraph 49(a).

(b)  “foxing portion”

[87]  It is not disputed that claim 1 refers to a one-piece quarter, as the description and drawings make clear. The main contentious issue is the meaning of the phrase “foxing portion.” Bauer contends that it describes any kind of slits, notches or removal of material that prevents the formation of bumps when the lasting margin is folded and fixed under the insole. CCM, in contrast, argues for a more precise meaning – the foxing portion is a part of the quarter, the geometry of which allows for the formation of a “heel pocket.” I agree with CCM’s interpretation, as it is the only one that relates to a purpose identified in the description – the creation of a curved shape at the heel.

[88]  As discussed above, interpreting a legal writing involves consideration of its text, context and purpose. I will attempt to elucidate the meaning of “foxing portion” in Bauer’s patent by drawing upon these three categories of clues.

[89]  As is often the case, the words used by the author provide useful guidance, but do not answer all questions. The Shorter Oxford English Dictionary (5th ed., 2002) provides several meanings for the noun “foxing,” including “a strip of leather or other material used to ornament the upper of a boot or shoe.” More precisely, “foxing” appears to refer to an overlay covering the heel portion of a shoe or boot. In this regard, Mr. Beaudoin’s assertion that “[i]n general footwear terms, ‘foxing’ may in some cases refer to a covering in the heel area” (paragraph 124 of his main report) is supported by the evidence of witnesses who worked at Bauer at the relevant time (Mr. Chênevert, February 5, 2020, pp. 136, 163, 205; Mr. Covo, February 10, 2020, p. 65). Mr. Harvey-Néron, who successively worked at Bauer and CCM, mentioned that the French word talonnette was used at CCM to describe what would be known at Bauer as the foxing (February 24, 2020, confidential portion, p. 83).

[90]  While the meaning of the term “foxing” was generally understood, no lay or expert witness suggested that the phrase “foxing portion” had any accepted definition or meaning in the industry at the relevant date. It appears that the inventor used the expression to describe a portion of the quarter instead of an overlay. The choice of the word “foxing” to describe that portion suggests, if anything, that it is located at the rear inferior portion of the quarter, where it covers the wearer’s heel. Indeed, claim 1 states that the foxing portion “extends downwardly” from the quarter. Knowing where the foxing portion is located, however, does not tell us what it is and what function it is intended to perform. More guidance is needed from other sources.

[91]  Context is another source of interpretive clues. Among other things, the reader seeks to discern the internal logic of the legal writing to be interpreted. In a patent, this context includes the description of the invention and the drawings. Consideration of the context may help understand the purpose that the inventor sought to achieve.

[92]  Figure 2 of Bauer’s patent, which I reproduce again for ease of reference, shows the two foxing portions as bearing numbers 12 and 14:

[93]  Upon looking at this figure, anyone would immediately understand that the “dart” between the foxing portions allows for the formation of a curved shape at the heel when the quarter is folded. This is confirmed by the following excerpt from the description:

The two foxing medial and lateral portions 12 and 14 are advantageously joined together with a sewing line. This assembly line provides an advantageous curved shape for the heel area.

[94]  That is the purpose of the foxing portions: providing a curved shape for the heel area of the quarter. No other purpose is suggested anywhere else in the patent.

[95]  Of course, these parts of the description relate to an embodiment of the invention. They do not necessarily exhaust the invention. Nevertheless, they are the only indications of the nature and purpose of the foxing portions, beyond the bare language of the claims. In this regard, Bauer insists on the presence of the word “advantageously,” which is typically used, in patents, to describe embodiments or dependent claims. The excerpt that I quoted above, however, was found in the original application and was not updated when the initial claims 1, 2 and 3 were joined to form what is now claim 1 of the patent. In the original application, the foxing portions were not mentioned in claim 1, but only in claim 3, which was a dependent claim. This explains why the curved shape of the heel area was described as a mere advantage. Given the joinder of the original claims, it is now an essential feature of the invention described in claim 1.

[96]  Bauer also suggests that the skilled person would have understood that the heel is locked in place by the heel counter, not by the shape of the quarters. This, however, is contrary to the disclosure. While the heel counter may contribute to securing the heel in place, the inventor clearly wanted the claimed quarter to espouse the shape of the heel, through the use of foxing portions. Bauer cannot now disclaim that feature by arguing that another component could perform that function.

[97]  Therefore, the words used, the context in which they are used and their apparent purpose all suggest that the foxing portions are those portions of the quarter that are located at the lower rear end and that have a shape that allows the formation of a curved heel pocket, when the quarter is folded into its three-dimensional shape.

[98]  Mr. Beaudoin, however, puts forward an alternative interpretation. He defines “foxing portion” through a particular problem that might arise, at paragraph 127 of his main report:

[…] in the absence of a foxing portion, the material in the heel area of the quarter would likely bunch-up when the one piece quarter is folded and lasted.  This would create issues in the heel area, which could include bumps, folds, creasing and/or kinking of the quarter material.  The foxing portion is intended to eliminate such issues.

[99]  Thus, in Mr. Beaudoin’s view, any form of slits, notches or removal of material that would reduce the problems he identified would constitute a foxing portion.

[100]  The difficulties with this alternative interpretation are manifold.

[101]  First, it is not anchored in the language of the claims nor in the disclosure. Nowhere are “bumps, folds, creasing and/or kinking” mentioned as the problem that the inventor set out to solve. Mr. Beaudoin attempts to ascribe the invention a purpose that is not mentioned anywhere in the patent, instead of a purpose that is explicitly mentioned. While an expert may provide an opinion as to what the skilled person would have understood, such an opinion must have some objective basis. An expert cannot select a problem, hypothesize that the patent aims at solving it and construe the patent as covering any solution to the problem. Here, the alleged problems occur whenever one folds the quarter material under the insole. As Mr. Beaudoin admitted, solutions were well known to the skilled person. Absent persuasive indication to the contrary, a patent should not be construed as covering known solutions to known problems. In the case at bar, there is simply no evidence that Bauer’s patent is directed at solving the problem of “bumps, folds, creasing and/or kinking,” that the skilled person would have read the patent in this manner or that the issue was one that was causing difficulties in the industry. In truth, Mr. Beaudoin provides no basis whatsoever for his bare assertion concerning the “issues” that the inventor sought to address.

[102]  Second, Mr. Beaudoin’s interpretation confuses the foxing portion with the lasting allowance or margin, which is the portion of the upper that is folded under, and attached to the inner sole during the lasting process (see Mr. Beaudoin’s responding report, paragraph 66). These two concepts are distinct. In reality, as all quarters for lasted skate boots must have a lasting allowance, equating the lasting allowance and the foxing portion would undermine the latter’s role as a limitation of the claim. Moreover, the issues related to the lasting margin and the foxing portions are distinct and call for distinct solutions (Mr. Beaudoin, February 13, 2020, p. 176). The slits, notches and other forms of removal of material suggested by Mr. Beaudoin would certainly prevent bumps, folds, creasing and kinking, but would not contribute to the creation of a heel pocket. In this connection, Mr. Chênevert recognized in cross-examination that a slit that remains within the lasting margin and that does not extend upwards would not perform the function of creating a heel pocket (February 5, 2020, pp. 205–207).

[103]  Third, under Mr. Beaudoin’s interpretation, the foxing portion is not a portion of the quarter, contrary to the language of claim 1. At paragraph 129 of his report, he mentions that the foxing portion could be created by “the removal of an appropriate amount of quarter material” or by “slots, notches or other types of openings.” (See also paragraphs 187, 190 and 194, where he describes various types of foxing portions as resulting from the removal of material.) The foxing portion would be, so to speak, outside the quarter. At trial, Mr. Beaudoin sought to distance himself from this idea by asserting that the foxing portions did not result from the removal of any material, but rather from the “geometry” of the quarter. This, however, was entirely unpersuasive, as he could not refrain from speaking about material removal, before asserting that it was simply a matter of geometry, sometimes within the same answer (February 12, 2020, pp. 203–206; February 13, 2020, pp. 23, 171–173, 175; February 17, 2020, p. 56).

[104]  This brings me to the fourth problem affecting Mr. Beaudoin’s interpretation. One must recall that Bauer’s patent application initially contained two claims that did not include a foxing portion. The Patent Office objected to them on the ground of obviousness, citing a patent for a one-piece quarter for a shoe. In response, Bauer joined claims 1 and 2 of its application with claim 3, which was a dependent claim referring to foxing portions, resulting in claim 1 of the ‘748 patent. This sequence of events shows that the Patent Office was not prepared to issue a patent for a one-piece quarter without foxing portions.

[105]  There was nothing in the application that would have alerted the Patent Office to the interpretation now put forward by Mr. Beaudoin. Neither did Bauer offer any clarification to the Patent Office as to what it meant by “foxing portion.” Mr. Beaudoin’s interpretation is nothing but an attempt to reclaim ground conceded when the initial claims 1, 2 and 3 were joined and the foxing portion became an essential element. It would effectively reverse the Patent Office’s decision by substituting a variety of slits, notches and removal of material, which Mr. Beaudoin admits are within common general knowledge, for the foxing portions that were deemed essential to the patentability of the invention.

[106]  Overall, it appears that Mr. Beaudoin is seeking to extend retroactively the scope of the claims beyond what the inventor intended, what a skilled person would have understood from reading the claims in context or what the Patent Office was prepared to grant. This is not fair to the inventor nor to the public: Consolboard, at 520. Mindedness to expand is not synonymous with a mind willing to understand: Free World Trust, at paragraph 44.

[107]  Bauer also argues that the interpretation put forward by CCM’s experts is merely an embodiment of the invention. In particular, Bauer argues that figure 2, reproduced above, is an illustration of claim 5. Because it is only one embodiment of the invention, it should not be relied upon to limit the scope of claim 1. Mr. Beaudoin’s interpretation, being wider, would not suffer from the same defect – his slits, notches and other forms of material removal would be other ways of practicing the invention.

[108]  There is, however, more than one way of creating foxing portions within the meaning that I have ascribed to this phrase. One example would be to create darts within each foxing portion instead of a single dart between the foxing portions. This would accomplish the objective of forming a curved heel pocket, but with a pattern shape different from that shown in figure 2 of the patent. Indeed, the Reebok 2k skate, which both Messrs. Beaudoin and Meibock found to infringe claim 1 as I construe it, has a dart in each foxing portion, instead of a single dart between them (see Mr. Meibock’s responding report, paragraphs 226–230):

[109]  Thus, the construction I have adopted does not limit the invention to the preferred embodiment described or shown in the patent.

[110]  Bauer also invokes the claims differentiation principle. It argues that under the construction put forward by CCM’s experts, there would be no meaningful difference between claims 1 and 5. Both claims would describe foxing portions as shown in figure 2 of the patent.

[111]  But again, Bauer’s argument assumes that there is only one manner of embodying claim 1. This is incorrect. As I have shown above, claim 1 could also be practiced by making a dart in each foxing portion. In that case, the “foxing medial and lateral portions are [not] adapted for mutual connection with a sewing line,” contrary to what is required by claim 5. Instead, they are integrally connected to each other and the pattern shape that allows the foxing portions to create a curved heel pocket is located within each portion and not between them.

[112]  In any event, as I mentioned above, the claims differentiation principle is a rebuttable presumption. In particular, the presumption is weakened where the patent appears not to have been drafted with great care. In this case, counsel for Bauer suggested that the patent agent may have had only a small budget to draft and prosecute the patent. Indeed, the wording of the claims is not especially felicitous. For example, in claim 1, the reference to a “junction line” between the medial and lateral quarter portions could lead the reader to think that these are two separate components. It is nevertheless common ground that the inventor intended to describe what has been termed a “one-piece quarter.” Likewise, if one looks at the original claims, claim 7, which is now claim 5, referred to the foxing portions “in any one of preceding claims,” even though only claim 3 mentioned foxing portions. It may well be that the patent agent did not spend a long time considering the various ways in which the claims could interact, either upon original drafting or when joining claims 1, 2 and 3 in response to the Patent Office’s objections. Thus, Bauer cannot invoke the poor drafting of its patent to its own advantage.

[113]  To summarize, all the interpretive methods point in one direction: the foxing portion is located at the lower rear end of the quarter and has a shape that allows the formation of a curved heel pocket. This interpretation differentiates the claims and does not limit them to the embodiment disclosed. The alternative interpretation put forward by Mr. Beaudoin is at odds with the language of the claims, seeks to ascribe a purpose that is not mentioned in the patent and cannot be reconciled with the prosecution history.

III.  Validity

[114]  CCM raises a number of grounds of invalidity of Bauer’s patent. I will only review two of them: anticipation and obviousness.

A.  Anticipation

[115]  In the event that Bauer’s interpretation of the patent prevails, CCM argues that claim 1 is anticipated. However, if its interpretation prevails, CCM concedes that the claims at issue are not anticipated, because foxing portions were missing from existing one-piece quarters. As I agree with CCM’s interpretation, it is not strictly necessary to deal with this issue. Nevertheless, it is useful to state my views on the matter, as I conclude that if Bauer’s construction of the patent were adopted, it would be anticipated.

(1)  General Principles

[116]  In order to be patentable, an invention must be new or novel. A statutory monopoly cannot be justified if an invention is already available to the public: Wellcome Foundation, at paragraph 37. If an invention is not new, it is anticipated. The statutory basis for the novelty requirement is set out by section 28.2(1) of the Patent Act. In Sanofi, at paragraph 24, the Supreme Court of Canada mandated a two-step analysis focusing on disclosure and enablement.

[117]  First, “the requirement of prior disclosure means that the prior patent must disclose subject matter which, if performed, would necessarily result in infringement of that patent:” Sanofi, at paragraph 25. In other words, the prior patent or other form of prior art must contain all the essential elements of the patent claim that is anticipated.

[118]  If the invention was previously disclosed, the analysis turns to whether the prior art would enable the recreation of the invention. This second step requires the Court to determine whether the earlier patent or publication would permit the skilled person to perform or make the invention of the patent in dispute without “undue burden:” Sanofi, at paragraph 33.

[119]  Whether “undue burden” exists is considered in light of the nature of the invention and whether trial and experimentation is common in the relevant field. The skilled person may use the common general knowledge as of the relevant time to supplement information contained in the prior patent: Sanofi, at paragraph 37.

(2)  Application

[120]  CCM has cited three pieces of prior art in support of its anticipation argument. I need only review two of them: CCM’s Champion 90 skate, which was commercialized several years before Bauer filed its patent application, as well as Canadian patent application no 2,112,272 [the ‘272 application]. While no detailed evidence was provided on this point, the parties have suggested that the ‘272 application describes a component of the Champion 90.

[121]  There cannot be any dispute that the ‘272 application can be the basis of the anticipation analysis, as it was made public on June 24, 1995, before the filing date of Bauer’s patent. Likewise, the 1995 CCM catalogue showing the Champion 90 proves that this skate was sold to the public before the relevant date.

[122]  Prior art is citable even though the inventor did not actually know about it: Wenzel Downhole Tools Ltd v National-Oilwell Canada Ltd, 2012 FCA 333 at paragraphs 66–70, [2014] 2 FCR 459 [Wenzel Downhole]. Thus, the fact that Mr. Chênevert or other Bauer witnesses testified that they were not aware of the Champion 90 skate is not relevant to the inquiry. Neither is CCM’s inability to bring precise evidence of its sales volumes.

(a)  Disclosure

[123]  Under Bauer’s construction of the ‘748 patent, each of the Champion 90 and the ‘272 application disclose the three elements that Mr. Beaudoin, Bauer’s expert, says are essential to claim 1: a lasted skate boot, a quarter and notches or cut-outs in the lasting margin. I will review each of these elements in turn.

[124]  With respect to the first essential element, Bauer disputes that the Champion 90 is a lasted skate and that the quarter described in the ‘272 application is for a lasted skate.

[125]  Bauer’s argument, however, is based on an interpretation of the word “lasted” that I have rejected. In essence, Mr. Beaudoin stipulates that a skate with an injection-moulded quarter can never be considered to be lasted, irrespective of its actual manufacturing process. This cannot be so. In my view, a skate is lasted when the process that I have described earlier in these reasons is, in substance, employed to make it. A skilled person would not latch onto a minor difference in that process to find otherwise.

[126]  The evidence before me shows that the Champion 90 was manufactured through a lasting process. The experts on both sides disassembled Champion 90 skates. I was also able to inspect disassembled Champion 90 skates myself during their testimony. From the way in which the components are assembled, it is obvious that a lasting process was used. Even Mr. Beaudoin had to agree that “the bottom portion of the component was likely heated and then bent inward subsequent to moulding, in order to attach the component to an inner sole” (responding report, paragraph 147). This, indeed, is a critical part of the lasting process. If the boot of the Champion 90 had been moulded, there would have been no need for such a manufacturing step.

[127]  Moreover, Mr. Stewart, one of CCM’s witnesses, travelled to the Sakurai factory in Taiwan where the Champion 90 was made. Mr. Stewart testified that he observed the manufacturing line and that he was able to see clearly that all the steps of the lasting process were followed. While his visit took place in the early 2000s, there is no reason to believe that a different process was used prior to 1997. Mr. Stewart’s testimony in this regard was not seriously challenged on cross-examination.

[128]  Indeed, there is no evidence whatsoever that the Champion 90 was made through a process other than lasting. It is obvious that it does not come out of a mould in one piece, as do injection-moulded skates such as the Lange or the Micron Medallic. Mr. Beaudoin’s suggestion that one could take a Lange, cut the sole and the toe cap and obtain the quarter of the Champion 90 is beside the point, as this hypothetical exercise does not provide any clue as to how the Champion 90 was manufactured. Rather, Mr. Beaudoin agreed in cross-examination that the steps for manufacturing the Champion 90 would essentially be those of the lasting process, although he would not call it that way (February 17, 2020, pp. 97–101).

[129]  Bauer makes much of Justice Gauthier’s remark, in her judgment in the Easton case, that she was not convinced that the Champion 90 was a lasted skate. I explain, in the last section of this judgment, why I do not consider this remark to be determinative of the case before me.

[130]  With respect to the ‘272 application, Messrs. Meibock and Holden concluded that a skilled person would have understood that the quarter it describes would need to be lasted. Mr. Beaudoin’s objection is based solely on his view that a lasted skate boot cannot have an injection-moulded quarter. I agree with Messrs. Meibock and Holden.

[131]  The second essential element that needs to be present in the prior art is a quarter. The injection-moulded piece that is the main structural component of the Champion 90 would readily be recognized as a quarter or, more specifically, as a one-piece quarter. It is illustrated below:

[132]  Likewise, the subject-matter of the ‘272 application would be recognized as a quarter or a one-piece quarter, even though the phrase “rear shoe structure” is used in the application to describe it. Again, one of the figures of the application helps understanding:

[133]  Mr. Beaudoin contends that the skilled person would call such a component a shell and not a quarter. This, however, is merely a restatement of Mr. Beaudoin’s view that a skate is not lasted if it has an injection-moulded quarter. Here, Mr. Beaudoin is playing on the fact that terminology is not always used consistently in the skate industry. The word shell may properly be used to describe the main component of an injection-moulded skate boot, which comprises the sole, the toe cap and the quarters in a single piece. A shell, in that sense, is quite different from the quarter of the Champion 90 or that described in the ‘272 application. There is no evidence, beyond Mr. Beaudoin’s bare assertion, that a skilled person would not view these components as quarters. Given the striking similarity in shape and function between the quarters of Bauer’s patent, the Champion 90 and the ‘272 application, a skilled person who calls the first a quarter would use the same word to describe the other two.

[134]  Mr. Beaudoin himself is not consistent in the use of these terms. In his first report, at paragraphs 208–215, he discusses what the parties have called the “C-7” and “C-8” components, which are injection-moulded quarters used in certain CCM skates. He repeatedly uses the word “quarter,” but never the word “shell,” to describe those components. In cross-examination, when asked about this inconsistency, he replied that he simply used the terminology employed by CCM to avoid confusion (February 17, 2020, pp. 103–104, 111–112). This explanation is difficult to accept. The more likely explanation is that Mr. Beaudoin spontaneously used the word that would naturally come to the mind of a skilled person to describe the component. Mr. Beaudoin also admitted that claims 1 and 5 of Bauer’s patent do not exclude injection-moulded quarters, which is inconsistent with his own theory (February 17, 2020, p. 97). In the end, Mr. Beaudoin’s purported distinction between shell and quarter is nothing but an attempt to manipulate language to draw lines in convenient places – another instance of “results-oriented” reasoning.

[135]  The third essential element that must be found in prior art is the foxing portions, as Bauer understands that term. There is no real dispute regarding the presence of notches or cut-outs in the lasting margin of the Champion 90 and the ‘272 application: Mr. Beaudoin’s second report, at paragraphs 155 and 173. Indeed, Mr. Beaudoin admitted that the only relevant distinction between the Champion 90 and Bauer’s patent is the fact that the Champion 90 has an injection-moulded quarter (February 17, 2020, p. 104).

[136]  Thus, I find that, under Bauer’s interpretation, the Champion 90 and the ‘272 application disclose all the essential elements of claim 1 of Bauer’s patent.

(b)  Enablement

[137]  Enablement is the second step of the anticipation inquiry. CCM’s experts have opined that the skilled person could easily practice Bauer’s invention based on the Champion 90 or the ‘272 application (Mr. Meibock’s first report, paragraphs 184–185 and 196; Mr. Holden’s first report, paragraphs 204–206, 211–212). Bauer did not challenge their evidence. Moreover, Mr. Beaudoin agreed in cross-examination that the skilled person would be able to draw the pattern of a quarter based on either the Champion 90 skate or the ‘272 application (February 17, 2020, pp. 179–182).

[138]  In this regard, Bauer suggested that the ‘748 patent or the “atmosphere” in the industry in 1997 taught away from the use of an injection-moulded quarter. That, however, is irrelevant, as the motive for relying on a particular piece of prior art is not part of the inquiry: Wenzel Downhole, at paragraph 73. Prior art need only be “available to the public:” section 28.2(1)(a) of the Patent Act. Bauer also repeatedly insisted on the fact that the Champion 90 was a low-end or “pond hockey” skate, which a person designing a high-end skate would typically not consider. For the same reasons, that too is irrelevant. Indeed, in cross-examination, Mr. Beaudoin agreed that the low value of the Champion 90 was irrelevant to the validity analysis (February 17, 2020, pp. 102–103).

[139]  Hence, I conclude that if Bauer’s interpretation of the patent were to prevail, claim 1 would nevertheless be anticipated by the Champion 90 skate and the ‘272 application.

B.  Obviousness

[140]  CCM also argues that the asserted claims of Bauer’s patent are invalid on the ground of obviousness. For the following reasons, I agree with CCM.

(1)  General Principles

[141]  Obviousness is the opposite of inventiveness. It has always been understood that something obvious cannot constitute a patentable invention. That requirement is now codified in section 28.3 of the Patent Act, which, in its relevant part, reads as follows:

28.3 The subject-matter defined by a claim in an application for a patent in Canada must be subject-matter that would not have been obvious on the claim date to a person skilled in the art or science to which it pertains, having regard to

28.3 L’objet que définit la revendication d’une demande de brevet ne doit pas, à la date de la revendication, être évident pour une personne versée dans l’art ou la science dont relève l’objet, eu égard à toute communication :

[…]

[…]

(b) information disclosed before the claim date by a person not mentioned in paragraph (a) in such a manner that the information became available to the public in Canada or elsewhere.

b) qui a été faite par toute autre personne avant la date de la revendication de manière telle qu’elle est devenue accessible au public au Canada ou ailleurs.

[142]  Like reasonableness or good faith, obviousness is one of those legal concepts that resists a rigid definition. The most that can be done is to provide an analytical framework that guides the inquiry. Based on the decisions of British courts, the Supreme Court of Canada suggested the following method in Sanofi, at paragraph 67:

(1)   (a) Identify the notional “person skilled in the art”;

(b) Identify the relevant common general knowledge of that person;

(2)   Identify the inventive concept of the claim in question or if that cannot readily be done, construe it;

(3)   Identify what, if any, differences exist between the matter cited as forming part of the “state of the art” and the inventive concept of the claim or the claim as construed;

(4)   Viewed without any knowledge of the alleged invention as claimed, do those differences constitute steps which would have been obvious to the person skilled in the art or do they require any degree of invention?

[143]  In subsequent cases, however, the Federal Court of Appeal noted that the Sanofi test should not be applied in a rigid manner: Wenzel Downhole, at paragraph 105; Bristol-Myers Squibb Canada Co v Teva Canada Limited, 2017 FCA 76 at paragraph 62, [2018] 3 FCR 380 [Bristol-Myers Squibb]. In Bristol-Myers Squibb, Justice Pelletier summarized the approach as follows, at paragraph 65:

It may be helpful to keep in mind that the obviousness analysis asks whether the distance between two points in the development of the art can be bridged by the Skilled Person using only the common general knowledge available to such a person. If so, it is obvious. The first of those points is the state of the prior art at the relevant date. References in the jurisprudence to “the inventive concept”“the solution taught by the patent”“what is claimed” or simply “the invention” are attempts to define the second point.

[144]  Under a flexible approach to obviousness, all relevant factors are taken into consideration when assessing if the gap between the prior art and the alleged invention could have been bridged by the skilled person at the relevant time. The following are examples of such factors, taken from the case law. A useful and more elaborate summary may be found in Novopharm Limited v Janssen-Ortho Inc, 2007 FCA 217 at paragraph 25 [Novopharm].

[145]  First, the inventor’s course of conduct may be relevant: Sanofi, at paragraphs 70–71. If the inventor had the knowledge of a skilled person and came quickly to the alleged invention, this may suggest that it was obvious. Conversely, if the invention is the result of a long and difficult research project, this goes against a finding of obviousness.

[146]  Second, the course of conduct of other industry participants, including the defendant, is also a relevant indication. If others have not actually made the alleged invention, it is unlikely to have been obvious. This is often referred to as the Beloit question:” Beloit Canada Ltd v Valmet OY (1986), 8 CPR (3d) 289 (FCA) [Beloit]. While discussing expert evidence regarding obviousness, Justice Hugessen made the following remarks, at p. 295, which have been frequently quoted ever since:

Every invention is obvious after it has been made, and to no one more so than an expert in the field. Where the expert has been hired for the purpose of testifying, his infallible hindsight is even more suspect. It is so easy, once the teaching of a patent is known, to say, “I could have done that”; before the assertion can be given any weight, one must have a satisfactory answer to the question, “Why didn’t you?”

[147]  While it is certainly a relevant factor, the failure to answer the Beloit question is not an absolute bar to a finding of obviousness: Sanofi, at paragraphs 61–62. If it were so, a defendant alleging obviousness in a patent infringement lawsuit would have to show that the exact same invention had already been made. The obviousness inquiry would then collapse into an anticipation inquiry. Nevertheless, the Beloit question reminds us that we should not assess obviousness with hindsight, but rather, as the wording of section 28.3 directs us, at the priority date of the patent.

[148]  Third, courts inquire into the motivation that the skilled person would have had to come to the invention: Actavis Group PTC EHF v ICOS Corp, [2019] UKSC 15 at paragraph 70. Depending on the context, this may lead in different directions: Astrazeneca Canada Inc v Mylan Pharmaceuticals ULC, 2017 FC 142 at paragraphs 148–162. Thus, if all industry participants were motivated to find a solution to a particular problem and only the inventor found it, this may show that the solution was not obvious: Beloit, at 295–296. Likewise, if only the inventor had the idea to investigate a particular problem and found a solution, this may also show non-obviousness: Novopharm, at paragraph 25. Conversely, the state of the art may have motivated the notional skilled person to improve upon prior art in the direction of the patent, which tends to support an obviousness finding.

[149]  Fourth, the conventional wisdom in the industry at the relevant time or the prior art may have discouraged the skilled person from exploring a particular solution. The expression “teach away” is often used to convey this idea. In those situations, a finding of obviousness is less likely: Hoffmann-La Roche Limited v Apotex Inc, 2011 FC 875 at paragraph 65. Nevertheless, one should not lose sight of the fact that obviousness is assessed from a technical, not a commercial perspective. As the English Court of Appeal said in Windsurfing International Inc v Tabur Marine (Great Britain) Ltd, [1985] RPC 59 at 72, “What has to be determined is whether what is now claimed as invention would have been obvious, not whether it would have appeared commercially worthwhile to exploit it.” This principle has been adopted in subsequent decisions of this Court: Shire, at paragraph 82; Janssen Inc v Teva Canada Limited, 2015 FC 184 at paragraph 113; Eli Lilly Canada Inc v Apotex Inc, 2018 FC 736 at paragraph 120.

[150]  Fifth, the commercial success of a product has often been considered to be a mark of inventiveness. Nevertheless, much caution is required, as commercial success may be the result of a wide range of factors other than inventiveness: Tearlab, at paragraphs 68–69.

[151]  Several of the above factors, in particular the last one, are often described as “secondary.” This means that they carry limited weight. As the Federal Court of Appeal said in Tearlab, at paragraph 68, a secondary factor is “never conclusive, in and of itself, and is clearly not sufficient to save an obvious claim.” These factors should not obscure the ultimate question – whether the alleged invention was obvious.

(2)  Application

[152]  I now apply this framework to the alleged obviousness of the relevant claims of Bauer’s patent. I have already described the skilled person and identified the common general knowledge. The second and third step of the Sanofi framework are geared towards measuring the gap between prior art and the alleged invention. I will address them together. I will then assess whether a skilled person would have bridged that gap – the fourth Sanofi question. I will then review Bauer’s arguments regarding the secondary factors, namely, CCM’s conduct, industry climate and commercial success.

(a)  Measuring the Gap

[153]  The second step is to define the “inventive concept,” which, as Justice Pelletier noted in Bristol-Myers Squibb, is merely a distillation of the substance of the claims; see also TearLab at paragraphs 76–78. Based on my interpretation of the claims, the inventive concept of claim 1 is a one-piece quarter with foxing portions aimed at forming a heel pocket. The inventive concept of claim 5 is the fact that the foxing portions may be sewn.

[154]  The third step is to ascertain the gap between the prior art and the inventive concept. CCM invokes three kinds of prior art to buttress its allegation of obviousness: skate boots made with two-piece quarters, skate boots made with a one-piece quarter, and shoes and boots made with a one-piece quarter. As I find that the allegation of obviousness is made out with respect to the first one, it will not be necessary to discuss the other two. In particular, I need not decide whether the skilled person would have reviewed patents for one-piece quarters for shoes or boots. In this regard, I note that in Hospira Healthcare Corporation v Kennedy Trust for Rheumatology Research, 2020 FCA 30, the Federal Court of Appeal held that, for the purposes of the obviousness analysis, prior art can include references that would not have been located by a skilled person conducting a reasonably diligent search. In other words, it found that prior art is broader than the common general knowledge.

[155]  The gap between prior art and the inventive concept is apparent from the patent itself. The inventor described prior art as being two-piece quarters and illustrated those in figure 1. A side-by-side comparison between figure 1 and figure 2, which shows the pattern of the invention, highlights the gap:

 

 

[156]  The gap is simply that the quarter, which was formerly made of two separate pieces, is now made of a single piece. The two separate pieces are joined together or, to use the awkward language of the description, they are “integrally connected at [the] junction line.” (I leave aside the tendon guard, which is not relevant to these proceedings.)

(b)  Bridging the Gap

[157]  I am of the view that this gap would have easily been bridged by the skilled person in 1997.

[158]  Bridging this gap involves the use of simple pattern-making techniques. It would be obvious to any pattern-maker in any industry that two pieces cut separately and later sewn together could be cut in a single piece (Mr. Meibock’s first report, paragraphs 285–289; Mr. Holden’s first report, paragraphs 175–181; Dr. Lockwood’s report, paragraphs 182–194). The only challenge is to reproduce the three-dimensional shape provided by sewing a curved line. Solving that difficulty, however, was within the common general knowledge. As Mr. Beaudoin admitted, the skilled person would have known how to give a three-dimensional shape to flat material and how to use a curved heel notch or dart for that purpose (February 17, 2020, pp. 167–168). Indeed, the curved heel notch that separates the foxing portions appears by itself when one attempts to join the two prior art separate quarters illustrated in figure 1 of the patent, reproduced above. Likewise, a skilled person could have made two such notches, creating a different embodiment of the invention. Therefore, both claims 1 and 5 of Bauer’s patent are obvious.

[159]  The description of the problem that Bauer’s patent attempts to solve points in the same direction. The “background of the invention” section of the description focuses exclusively on “disadvantages” associated with the presence of a sewing line at the back of the skate. Those disadvantages include the difficulty of sewing rigid materials in a cambered line, the risk of breaking and the risk of assembling the wrong quarter sections. If the presence of a sewing line between the two quarters was identified as a problem, an obvious solution was to suppress that sewing line by cutting the two quarters in a single piece.

[160]  This conclusion is buttressed by Mr. Chênevert’s course of conduct. In his testimony, he described the Vapor 8 project, in which all aspects of skate design were investigated with a view to producing a skate that would be lighter, stiffer and less water-absorbent and that would better adapt to certain players’ skating styles, which required greater forward flexion. He explained that using an articulated cuff was one option that was investigated to allow such flexion. Using an articulated cuff removed a structural constraint and allowed him to view the components of the skate in a different light (February 5, 2020, pp. 100–101). As he said, this led him [translation] “somewhat by chance” to make a one-piece quarter, which is reflected in a drawing dated April 2, 1997 (exhibit X-15, p. 223).

[161]  This is far from a situation where the inventor spent a considerable amount of time trying to solve a particular problem. Nor is it a case where the inventor found by chance a solution to a problem that had bedevilled the industry for a long time. Mr. Chênevert simply tried something that became obvious when certain design constraints were lifted.

(c)  The Beloit Question

[162]  Bauer asserts that its patent is not obvious because no one else had made the invention before the filing date. This is the Beloit question: if the one-piece quarter was obvious, why did no one use it before? In this case, however, there is an answer. The likely reason why the one-piece quarter was never used before is economic and relates to the way skate materials are cut.

[163]  Materials used to make quarters and other components typically come in rolls or sheets of limited dimensions. In order to minimize waste, manufacturers attempt to “nest” the pieces close to each other. This process is obviously easier if pieces are smaller. Moreover, certain materials are “directional,” which means that pieces must be cut in a particular direction; they cannot be rotated. This makes nesting even more difficult. Ballistic nylon, which was used to make quarters before 1997, was a directional material (Mr. Nadeau’s testimony, February 11, 2020, p. 65; Mr. Beaudoin’s testimony, February 17, 2020, p. 153–154).

[164]  Thus, trying to make one-piece quarters out of ballistic nylon would have resulted in a significant amount of wasted material, which would have rendered that option uneconomical (Mr. Beaudoin’s testimony, February 17, 2020, p. 152). In contrast, the combination of Surlyn and laminated monofilament used in the Vapor 8 was not directional (Mr. Beaudoin’s testimony, February 17, 2020, p. 155); it was easier to nest one-piece quarters made of that material. Moreover, that material was more rigid than ballistic nylon used previously and more difficult to sew (Mr. Chênevert’s testimony, February 5, 2020, pp. 90–91). Thus, the benefits of removing a seam from the manufacturing process may have become more important, and may have justified the disadvantages of trying to nest a larger piece in the raw material.

[165]  As I have indicated above, obviousness relates to technical feasibility, not to economic or commercial considerations. Where a design was never adopted because it was not profitable to do so, that does not render it any less obvious. Here, CCM’s failure to use one-piece quarters before 1997 is explained by commercial factors and does not foreclose a finding of obviousness.

(d)  Climate in the Industry

[166]  At trial, Bauer spent considerable time bringing evidence about factors that it describes as the “industry climate” at the relevant time. For example, the skate industry was described as averse to change. This stems in part from the fact that professional players are conservative and are not easily persuaded to adopt a new skate model. The attitudes of professional players are important, as they are known to influence junior players, who are likely to buy the same brand of equipment as their professional models or heroes. For that reason, skate lines are usually developed from the top down – the focus of the design process is on the high-end model intended for professional players. Less expensive models are then designed by omitting some features of the high-end model or adopting cheaper materials, while keeping the same look as far as possible.

[167]  This evidence is not seriously in dispute. Its relevance to the issue of obviousness, however, is unclear. The top-down design process, for instance, does not make the invention any less obvious. The conservative nature of the industry would be a commercial consideration that does not affect the technical obviousness of the one-piece quarter with foxing portions. What may be more in point is whether Bauer’s patent solved a persistent problem that all industry participants were grappling with.

[168]  The evidence shows that the 1980s and 1990s were a period of innovation on several fronts in the skate industry. New materials and designs were tried in an attempt to improve performance and reduce cost. There is no indication, however, that the problems identified in the description of Bauer’s patent were a major concern in the industry. It was Mr. Chênevert who identified these problems – the difficulty of sewing rigid materials in a cambered line, the risk of breaking and the risk of assembling the wrong quarter sections – upon disassembling a number of new and used skates in the fall of 1996. While I do not doubt the accuracy of his observations, they do not show that these problems were a significant concern in the industry and that resources were devoted to overcoming them. In this regard, CCM’s Mr. Roy recognized that there would always be some degree of mismatch when two quarter pieces are manually sewn together (Mr. Roy’s testimony, February 24, 2020, confidential portion, pp. 31–38). The evidence does not show, however, how frequently this mismatch exceeded the manufacturing tolerance or whether this issue led to an unacceptable rejection rate. There is simply no evidence that CCM saw this as an important problem or that it was trying to solve it. Indeed, the general thrust of Bauer’s argument is that, at that time, CCM was lagging behind in respect of skate design and was not seeking to innovate.

[169]  Thus, while this evidence may tend to prove the utility of the patent, it does not show that Bauer’s patent is directed at solving a particularly difficult problem or that others had failed in a similar endeavour. It does not detract from a finding of obviousness.

(e)  Commercial Success

[170]  Bauer also provided a considerable volume of evidence intended to show the commercial success of its invention. In a nutshell, Bauer’s theory is that the one-piece quarter was the gateway to a series of innovations that revolutionized skate design and that helped Bauer retain a competitive edge in the industry and that once the invention was made public, it was copied by other skate manufacturers. I am unable to give any significant weight to this factor. Bauer’s argument fails to make the distinction between the general idea of a one-piece quarter and the claims of its patent, which require the presence of foxing portions. Many factors other than the quarter pattern contributed to the commercial success of Bauer’s skates. Even leaving aside the issue of the foxing portions, the contribution of the one-piece quarter to subsequent innovation is difficult to assess. I will address these issues in turn.

(i)  Lack of Nexus with the Claims

[171]  A product’s commercial success is irrelevant unless it can be attributed to the invention: Tearlab, at paragraph 69. Where a party wishes to rely on the commercial success of a product to deflect an obviousness challenge, it must show that the product is covered by the relevant claims of the impugned patent. Where a product incorporates several innovative features, the relative contribution of each to the alleged commercial success must be assessed.

[172]  The main flaw in Bauer’s commercial success argument is that is assumes an overly broad construction of the claims. At trial, Bauer witnesses talked about the benefits of one-piece quarters generally, not the invention as I construe it. Commercial success, however, must be assessed on the basis of the construction I am giving to claims 1 and 5 of the patent. Thus, Bauer cannot merely point to the fact that its competitors used a one-piece quarter. It must show that they used a one-piece quarter with foxing portions intended to create a heel pocket or, in other words, that they manufactured skates that infringed Bauer’s patent. Likewise, if Bauer wants to rely on the commercial success of its own skates, it must show that they embodied its patent.

[173]  Yet, Bauer itself quickly stopped using quarters with a foxing portion as defined in the patent. While Bauer did not set out to prove that its various skate models would come within the claims of the ‘748 patent, the evidence includes patterns, “explosion” drawings or physical quarters demonstrating that the Vapor 8, Vapor 10, Supreme 7000 and Vapor XX models were manufactured with a quarter that included foxing portions as I defined them. Beyond that, however, the same evidence shows that Bauer began using non-infringing patterns, apparently as a result of further advances in materials. For example, the Vapor XXX, introduced in 2005, has a quarter package (exhibit X-35) without foxing portions, but that shows a gap that would require an overlay or reinforcement to create the heel pocket. Likewise, the Supreme One90, introduced in 2006, has a quarter package (exhibit X-39) with a series of notches that remain within the lasting allowance. These do not constitute foxing portions as I construed this term. Thus, any innovation that occurred in these or later models has no nexus with the ‘748 patent.

[174]  With respect to CCM, Bauer’s allegation is that a large proportion, if not a majority of the skates sold by CCM after 1997 infringed its patent. That allegation, however, is based on a construction of the patent that I have rejected. If the foxing portion is intended to create a heel pocket, the parties agree that only the skate models that the experts have labelled “category C” are infringing. For the period after 2006, which is the subject of this action, those skates constitute a small portion of the skates that Bauer alleges are infringing, and an even smaller portion of all skates manufactured by CCM. Moreover, the “category C” foxing portion is mostly found in low-end CCM skates. With respect to the period before 2006, Bauer has not attempted to prove that CCM made infringing skates; Mr. Beaudoin’s report does not cover that period. In those circumstances, it cannot be said that CCM engaged in the kind of large-scale copying that would tend to show that Bauer’s patent was not obvious.

[175]  With respect to other competitors, there is scant evidence that the skates they made infringed Bauer’s patent and can be considered a form of copying. The Easton judgment contains certain drawings suggesting that Easton used a foxing portion that would infringe the ‘748 patent. The focus of that action, however, was not on the foxing portions, because a different patent was at stake. Thus, it is difficult to conclude that there was any large-scale copying.

[176]  Bauer also suggested that CCM adopted the one-piece quarter when Dr. Murphy left Bauer to work with CCM in 2002. While the parties were not always able to retrieve information about skate models of that period, the evidence shows that CCM made at least one skate model with one-piece quarters before Dr. Murphy’s arrival, the Super Tacks 852 (exhibit Y-35; Dr. Murphy’s testimony, February 11, 2020, pp. 150–152; Mr. Roy’s testimony, February 24, 2020, pp. 66–69).

(ii)  Causation

[177]   Even if I were to proceed on the basis that the invention is the one-piece quarter, irrespective of the foxing portions, the commercial success argument is beset with problems. The success of the Vapor 8 skate was likely due to many factors apart from the design of the quarter. In cross-examination, Mr. Beaudoin was unable to offer an opinion as to the proportion of the commercial success of the Vapor 8 that was attributable to the quarter pattern as opposed to materials, the forward flexion ability or marketing (February 17, 2020, p. 176). Likewise, when Mr. Langevin described the Vapor 8 project, he emphasized the profile that facilitated forward flexion and the new material that was lighter and that did not absorb water (February 6, 2020, pp. 24–25).

[178]  Indeed, at a meeting held on March 24, 1997, the members of the Vapor project team agreed that most of the objectives of the project had been achieved while prototypes were still made with two-piece quarters (Mr. Chênevert’s testimony, February 5, 2020, pp. 182–185). When Bauer’s manufacturing division sought to revert to the earlier design in the summer of 1997, Mr. Chênevert’s plea to retain the one-piece quarter emphasized aesthetic considerations and did not relate to performance or the achievement of the goals of the Vapor project, including weight reduction (Mr. Chênevert’s testimony, February 5, 2020, pp. 222–223). All of this tends to show that the one-piece quarter played a relatively limited role in achieving the characteristics that grounded the commercial success of the Vapor 8.

[179]  Likewise, advertising efforts rarely emphasized the one-piece quarter. Over the course of the trial, numerous references were made to Bauer and CCM catalogues showing the skate models each company manufactured throughout the period from 1997 to the present. The one-piece quarter is rarely highlighted as a significant feature. For example, in the 1997 Bauer catalogue where the Vapor 8 was depicted for the first time, seven features are highlighted, two of which relate to the quarter (exhibit D-7; Mr. Covo’s testimony, February 10, 2020, pp. 96–104). What is highlighted is the new material and the manner in which the quarter is cut around the eyelets. No mention is made of the new quarter pattern. It is true that a one-piece quarter allows a manufacturer to remove overlays at the back of the skate and to adopt a sleeker design. Yet, many skate models throughout the relevant period had an overlay at the back. As a result, lay and expert witnesses were often unable to tell whether such skates were made with a one-piece or a two-piece quarter (Mr. Langevin, February 6, 2020, pp. 175–182; Mr. Covo, February 10, 2020, p. 62; Mr. Beaudoin, February 13, 2020, p. 232, and February 17, 2020, p. 87; Mr. Corbett, February 18, 2020, pp. 160–161). Thus, one can assume that the one-piece quarter would play a very limited role in consumer buying decisions and, ultimately, the commercial success of Bauer’s skates.

(iii)  Cascade of Benefits

[180]  Another aspect of Bauer’s commercial success argument is the cascade of benefits allegedly flowing from the adoption of the one-piece quarter. From that perspective, the one-piece quarter unlocked innovative potential that resulted in a continuous chain of improvements to skate design.

[181]  The difficulty with this argument is that evidence of causation is insufficient. Even disregarding the foxing portions, the one-piece quarter did not play a dominant role in the alleged chain of innovation. What cannot be disputed is that Bauer gradually removed certain components or replaced them with lighter equivalents in the skate models developed in the wake of the Vapor 8. Ribs were also moulded on the quarters of the Vapor XX and XXX, providing increased stiffness. The weight of the skates decreased with each model.

[182]  What is difficult to assess, though, is the degree to which these advances are due to other factors and whether they would have been possible without a one-piece quarter. For example, one of the major advances highlighted by Bauer is the removal of the integrated heel and ankle counter (exhibit X-7) in the Supreme One90 skate introduced in 2006. By that time, however, the quarters were made with entirely new materials that were significantly lighter than those employed in the Vapor 8. Bauer had also developed a new thermoforming process that was able to give more shape to the rear part of the quarter. In their testimony, Messrs. Langevin and Covo said that the removal of the integrated heel and ankle counter was made possible by the new materials and the thermoforming process, not by the adoption of the one-piece quarter (February 6, 2020, pp. 95–96; February 10, 2020, pp. 67–68). This is not to say that the one-piece quarter played no role at all in making those innovations possible. Thus, CCM’s Mr. Roy admitted that it would have been difficult, if not impossible, to remove a similar component from CCM skates without the one-piece quarter (February 24, 2020, confidential portion, pp. 34–38). Nevertheless, Bauer did not attempt to quantify that role nor to measure the weight reductions attributable to the one-piece quarter. The only expert evidence put forward on this topic was that of Mr. Corbett, who made general statements as to the importance of the changes brought about by the one-piece quarter, but admitted in cross-examination that new materials could result in weight reductions even with two-piece quarters (February 18, 2020, p. 142). He was also speaking more from a marketing than a technical perspective. His evidence has little probative value. Bauer’s factual witnesses did not purport to offer an opinion as to the feasibility of the subsequent innovations if a two-piece quarter had been retained. Thus, the record before me leads to the conclusion that the one-piece quarter played at best a limited role in enabling subsequent innovation and that other factors were more significant.

[183]  In any event, obviousness must be assessed as of the claim date, which is September 5, 1997. Innovations that took place five or ten years later do not shed much light on the obvious character of Bauer’s patent.

(3)  Summary on Obviousness

[184]  To summarize, the solution taught by Bauer’s patent would have been obvious to a skilled person in 1997. The fact that no one took that route before Bauer is likely explained by the properties of the materials used at that time, which made that choice unattractive from a commercial point of view, but no less obvious from a technical one. The climate in the industry did not teach away from it. The nexus between the claims of Bauer’s patent and the commercial success of Bauer’s skates or the fact that other manufacturers adopted a one-piece quarter pattern is difficult to establish and does not foreclose a finding of obviousness.

IV.  Infringement and Compensation Issues

[185]  With respect to infringement, both parties are in agreement that under CCM’s interpretation of Bauer’s patent, which I adopt, only the skates that the experts have classified as “category C” infringe claims 1 and 5 of the patent. I need not discuss this issue further, as I have found those claims to be invalid for obviousness.

[186]  Likewise, it is unnecessary to deal with compensation. Given the complex ways in which these issues are intertwined with claims construction, validity and infringement issues, it would be useless to attempt to provide an opinion in this regard.

V.  The Easton Case

[187]  In closing, I wish to say a few words about Justice Gauthier’s decision in the Easton case, which was confirmed by the Federal Court of Appeal. Bauer frequently made reference to that decision, suggesting that I should reach similar conclusions, but stopping short of asserting that I was bound to follow it, that I should follow it based on judicial comity or that it constituted res judicata.

[188]  The conditions of res judicata are set out in Article 2848 of the Civil Code of Québec. (This is a matter of evidence, which, according to section 40 of the Canada Evidence Act, RSC 1985, c C-5, is governed by the law of the province where the proceedings take place, in this case Quebec.) Res judicata applies only where, among other things, “the demand is based on the same cause and is between the same parties.” CCM was not a party in the Easton litigation. It would be unjust for it to be bound by a judgment when it did not have the opportunity to bring evidence and make arguments. Moreover, the cause of the demand here and in Easton is not the same – each case was based on a different patent. One can simply not assume that a skate that infringes upon the ‘953 patent would necessarily infringe the ‘748 patent as well. The focus in Easton was on the tendon guard, which is an essential element of the ‘953 patent, but not of the claims of the ‘748 patent that are asserted in the present case.

[189]  Moreover, “each case is decided on the basis of the specific evidentiary record put before a judge:” Teva Canada Limited v Pfizer Canada Inc, 2019 FCA 15 at paragraph 39; see also Pfizer Canada Inc v Apotex Inc, 2009 FCA 8 at paragraph 41, [2009] 4 FCR 223. This is why the doctrine of judicial comity does not apply to findings of fact: Apotex Inc v Allergan Inc, 2012 FCA 308 at paragraph 50. I do not know the contents of the record before Justice Gauthier. From reading her judgment, it is apparent that many of the witnesses were not the same. Where the same witnesses were heard in both cases, they may have provided different evidence or fared differently under cross-examination. Nevertheless, it is appropriate that I give her judgment “respectful attention:” Amgen Inc v Pfizer Canada ULC, 2020 FC 522 at paragraph 169.

[190]  Justice Gauthier issued her judgment before Parliament amended the Patent Act to allow evidence of patent prosecution history. Thus, no evidence was brought before her concerning the Patent Office’s refusal to issue a patent for a bare one-piece quarter. That may explain the fact that her judgment does not distinguish between quarters with and without foxing portions. In any event, foxing portions were not an element of the claims asserted in the case before her.

[191]  Other differences in the manner in which both cases were presented may be highlighted. In Easton, the anticipation argument was based on disclosure of the Vapor 8 skate to the public in the context of the “test league” (paragraphs 211–221), whereas in this case, it is based on a prior patent application and skate model. The obviousness analysis is not directed at the same gap. In Easton, the focus was on the presence of a tendon guard sewn side-by-side to the quarter, creating an angular profile (paragraph 252). Moreover, as far as I can tell from the judgment, Easton’s arguments regarding obviousness were based on a theory different from that put forward by CCM in this case. It even appears that counsel for Easton, in its closing submissions, conceded that the ‘953 patent was not obvious (paragraph 262). No such concession was made here.

[192]  In spite of these differences between the two cases, there are certain areas where I reach conclusions similar to Justice Gauthier’s. For example, we both conclude that the common general knowledge does not exclude knowledge from the footwear industry (paragraphs 122, 225) and that the skilled person would know the basic principles of pattern-making (paragraph 230). We both note that terminology is not used uniformly in the footwear and skate industry (paragraphs 160–162). We both conclude that little weight should be given to evidence of commercial success, because that success cannot easily be attributed to either patent (paragraph 275).

[193]  I am mindful that Justice Gauthier declared herself “not satisfied that it has been established on a balance of probabilities that the [skilled person] at the relevant times would have commonly considered the Champion 90 or similar SMUs as lasted skates” (paragraph 229). She made this remark, however, in the course of analyzing obviousness and not anticipation. Despite this remark, she nevertheless found that the Champion 90 formed part of the common general knowledge (paragraph 228) and was a piece of prior art that could sustain an obviousness argument. Importantly, the claims of the ‘953 patent do not explicitly refer to lasted skates. As a result, Justice Gauthier was not called upon to construe this term and did not provide a comprehensive definition.

[194]  Moreover, Justice Gauthier based her remarks regarding the Champion 90 on the “marked differences in the expert opinions expressed and testimonies of factual witnesses” in this respect. In this case, the only evidence tending to show that the Champion 90 skate was not lasted was Mr. Beaudoin’s. I have explained why I cannot give weight to his opinion.

[195]  I also note that Justice Gauthier’s reluctance to characterize the Champion 90 as a lasted skate does not appear to extend to the ‘272 patent application, which she considers as describing a component of a lasted skate boot (paragraphs 243–244).

[196]  Thus, Bauer’s success in the Easton case was the result of a different record presented in support of a different claim.

VI.  Disposition

[197]  For those reasons, Bauer’s action will be dismissed. CCM’s counterclaim will be allowed and claims 1 and 5 (as dependent on claim 1) of Bauer’s patent will be declared invalid.

[198]  As usual in this kind of matter, the issue of costs is reserved and the parties are asked to provide submissions in this regard.

 


JUDGMENT in T-546-12

THIS COURT’S JUDGMENT is that:

1.  Plaintiff’s action is dismissed.

2.  Defendant’s counterclaim is allowed.

3.  Claims 1 and 5 (as dependent on claim 1) of Canadian patent no 2,214,748 are invalid.

4.  The issue of costs is reserved.

5.  Within 30 days of the issuance of this judgment, the defendant must serve and file its submissions regarding costs, not to exceed 30 pages in length.

6.  Within 15 days of the receipt of the defendant’s submissions, the plaintiff must serve and file its submissions in response regarding costs, not to exceed 30 pages in length.

“Sébastien Grammond”

Judge

 

 


FEDERAL COURT

SOLICITORS OF RECORD


 

Docket:

T-546-12

 

STYLE OF CAUSE:

BAUER HOCKEY LTD. v SPORT MASKA INC. DOING BUSINESS AS CCM HOCKEY

PLACE OF HEARING:

Montréal, Quebec

DATE OF HEARING:

February 3 – MARCH 12, 2020

JUDGMENT AND REASONS:

GRAMMOND J.

DATED:

May 15, 2020

APPEARANCES:

François Guay

Jeremy Want

Jean-Sébastien Dupont

Matthew Burt

Élodie Dion

 

For The Plaintiff

 

Jay Zakaïb

Frédéric Lussier

Erin Creber

Alexander Camenzind

Cole Meagher

For The Defendant

 

SOLICITORS OF RECORD:

Smart & Biggar

Barristers and Solicitors

Montréal, Quebec

For The Plaintiff

 

Gowling WLG (Canada) LLP

Barristers and Solicitors

Ottawa, Ontario

For The Defendant

 

 

 You are being directed to the most recent version of the statute which may not be the version considered at the time of the judgment.