Federal Court Decisions

Decision Information

Decision Content

Date: 20210716


Docket: T-954-18

Citation: 2021 FC 501

Fredericton, New Brunswick, July 16, 2021

PRESENT: Madam Justice McDonald

BETWEEN:

DEEPROOT GREEN INFRASTRUCTURE, LLC

AND DEEPROOT CANADA CORP.

Plaintiffs/

Defendants By Counterclaim

and

GREENBLUE URBAN NORTH AMERICA INC.

Defendant/

Plaintiff by Counterclaim

PUBLIC JUDGMENT AND REASONS

(Confidential Judgment and Reasons issued May 28, 2021)


Table of Contents

Overview 5

Background 6

Confidentiality Order 7

The Trial 7

The Witnesses 8

Plaintiffs’ Fact Witnesses 8

Charles Graham Ray 8

James Urban 10

Plaintiffs’ Expert Witnesses 11

Dr. Richard LeBrasseur 11

Prem Lobo 12

Defendant’s Fact Witnesses 12

Dean Bowie 12

Stewart Bowie 14

Craig Melvin 14

Jeremy Bailey 14

Carol Daly 14

Defendant’s Expert Witnesses 15

Dr. Barrett L. Kays 15

Bruce Blacker 16

Agreed Statement of Issues 17

Claim Construction 17

Infringement 17

Validity 18

Remedies 18

The Patents 19

The 348 Patent 20

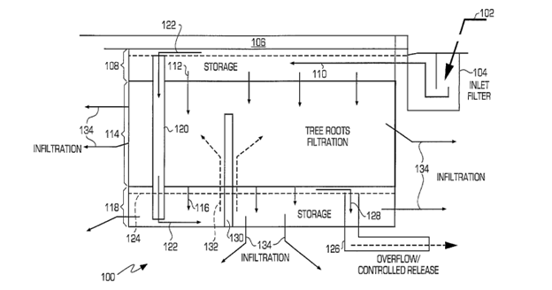
The 599 Patent 22

Claim Construction 23

General Principles 23

What are the relevant dates of the 348 Patent and 599 Patent? 25

Who is the Person of Skill in the Art (POSITA) 25

Common General Knowledge 27

Conclusion - Common General Knowledge 31

Supporting Tree Growth 31

Managing Storm Water 32

Hardscape Management 32

Construction of the Patents 33

348 Patent 33

“structural cell” 36

“A plurality of structural cells positioned below a hardscape substantially covering the structural cells, the structural cells each comprising” 38

a base 39

a top 41

at least approximately 8 inches 42

at least approximately 85% 43

… maintaining the soil within the volume in a low compacted state accommodating natural growth of structural roots of a tree within the volume … 43

One or more permeable barriers around the structural cells 45

Water ingress into / water egress from the plurality of structural cells 46

Claims 2, 3, 4 46

Claim 5 46

Claims 7 & 8 46

Claims 11 & 12 46

Claim 13 47

Claim 14 47

Claims 16 & 17 47

Claims 18, 19, 20 47

Claim 22 47

Claim 23 48

Claim 24 48

Conclusion 348 Patent Essential Elements 48

599 Patent 50

Periphery support members engaging the base and extending outwardly from said base, for attaching to a base of another cell or a lid and for supporting said hardscape, said support members being size and arranged so that at least approximately eighty five percent of a volume defined by outer edge of said cell is a void space. 51

Claim 2 51

Claims 3 & 4 52

Conclusion 599 Patent Essential Elements 53

Infringement 53

Legal Principles 53

GreenBlue Product Development 54

Analysis 60

A Base 63

A Top 64

At least approximately 85% 64

Conclusion – 348 Infringement 64

599 Patent 64

Validity 65

Anticipation 65

GreenLeaf 2002 Catalogue – Prior Art 66

Other Prior Art 67

Anticipation - Disclosure 70

Anticipation - Enablement 71

Burkhart 609 72

Gilette Defence 73

Obviousness 74

Ambiguity 80

Overbreadth and Insufficiency 82

Improper and Speculative Amendments 84

Conclusion 84

Remedies 85

Injunction 85

Damages 85

Experts Opinions 88

Costs 91

Judgment 92

Annex: Relevant Provisions of the Patent Act 93

Overview

[1] The Plaintiffs, DeepRoot Green Infrastructure LLC and DeepRoot Canada Corp. (collectively referred to as “DeepRoot”), and the Defendant GreenBlue Urban North America Inc. (GreenBlue) provide products and services in the urban landscaping field.

[2] DeepRoot alleges that GreenBlue’s “RootSpace” product infringes various claims of their Patents number 2,552,348 (348 Patent) and number 2,829,599 (599 Patent).

[3] DeepRoot seeks a declaration that their patents have been infringed, a permanent injunction as well as monetary damages in the form of an accounting of profits or a reasonable royalty.

[4] GreenBlue denies any infringement and counterclaims that the 348 and 599 Patents are invalid. The grounds of invalidity asserted by GreenBlue include anticipation, obviousness, overbreadth, insufficiency, speculative filing, and section 53 of the Patent Act.

[5] For the reasons that follow, I have concluded that the 348 Patent and the 599 Patent are valid and have been infringed.

Background

[6] The following background facts are from the Agreed Statement of Facts filed by the parties:

  • (a) The Plaintiff DeepRoot Green Infrastructure, LLC (“DeepRoot”) is a corporation organized and existing under the laws of California, having its principal place of business at 101 Montgomery Street, Suite 2850, San Francisco, California.

  • (b) The Plaintiff DeepRoot Canada Corp. (“DeepRoot Canada”) is the Canadian operating subsidiary of DeepRoot. DeepRoot Canada is incorporated under the laws of Nova Scotia with a principal place of business at 550 West Broadway, Suite 341, Vancouver, British Columbia.

  • (c) DeepRoot and DeepRoot Canada are in the business of providing products and services in the field of urban landscaping.

  • (d) The Defendant GreenBlue Urban North American Inc. (“GreenBlue”) is a corporation organized and existing under the laws of Ontario, having a principal place of business at 71 Bysham Park Drive, Woodstock, Ontario.

  • (e) GreenBlue is in the business of providing products and services in the field of urban landscaping.

  • (f) In general, GreenBlue’s RootSpace is an engineered structural cell soil system with modular components providing high volumes of uncompacted soil for healthy tree root growth below hardscape surfaces.

  • (g) GreenBlue’s RootSpace structural cell system uses a series of structural cells positioned below a hardscape to enable tree root growth and accommodate filtering, retention, storage and infiltration of storm water while preventing hardscape damage.

  • (h) The structural cells of the RootSpace system are designed and used by GreenBlue and its customers to bear substantially the entire load of both the hardscape and commercial vehicle traffic directed thereover, while maintaining the soil within the volume in a low compacted state accommodating natural growth of structural roots of a tree within the volume.

  • (i) GreenBlue has advertised RootSpace as having “over 95% usable void space”, being “made from 100% recycled plastic” and “rated vehicular traffic with minimal surface.”

  • (j) DeepRoot is the owner of record of Canadian Patent No. 2,552,348 (the “348 Patent”) and Canadian Patent No. 2,829,599 (the “599 Patent”).

  • (k) The 599 Patent is a divisional of the 348 Patent.

Confidentiality Order

[7] Pursuant to a Protective Order dated September 24, 2020, the parties agreed to the confidentiality of certain documents and evidence. When necessary, the Court moved to “in camera” proceedings in keeping with the provisions of this Order.

The Trial

[8] This trial was conducted via videoconference pursuant to the terms of the Remote Hearing Protocol Order dated October 1, 2020. Legal counsel, the parties, and the witnesses attended via videoconference from their various locations in Ontario, Nova Scotia, California, North Carolina and the UK.

The Witnesses

[9] The following is a brief summary of the witness evidence. I include this summary to provide an overall factual and contextual framework. I also note my general observations as to the reliability of the witnesses’ evidence. The particulars of some of the witness evidence will be addressed in more detail in the analysis of the issue to which it relates.

[10] Read-ins from the Discovery evidence of Dean Bowie and Graham Ray were also tendered by the parties.

Plaintiffs’ Fact Witnesses

Charles Graham Ray

[11] Mr. Ray is the Chief Executive Officer of DeepRoot Green Infrastructure LLC. He is one of the named inventors on the 348 Patent and the 599 Patent. He provided background evidence on the research and development that went into the product that became the SilvaCell. Before the development of the SilvaCell product, Mr. Ray was in the related business of manufacturing products related to the control of tree root growth, geo-membranes and tree trunk protectors. He testified that in the early 2000s there were very few products designed to promote the growth of urban trees.

[12] Mr. Ray explained the various options explored by DeepRoot to develop a product that would enhance and support tree growth in the urban environment. Around 2003, DeepRoot started collaborating with James Urban. The collaboration focused on promoting tree growth and managing stormwater in the urban environment. This collaboration became a joint venture between DeepRoot and Mr. Urban.

[13] DeepRoot and Mr. Urban retained an engineering design firm, Innova Engineering, to provide engineering designs of the first concept of the structural cell. Innova Engineering provided a number of iterations until the group arrived at a product that was able to meet the specifications necessary for the industry.

[14] When the SilvaCell commercial product entered the market, it got positive reviews in industry publications. According to Mr. Ray, the product’s success is directly related to the significant research and development that DeepRoot invested in the development of the product. Mr. Ray testified that one of the first projects using the SilvaCell was the site of the athlete’s housing for the 2010 Winter Olympic Games in Vancouver. He also testified about the use of SilvaCell in a number of projects in the city of Toronto. He testified that the market for green infrastructure is growing and climate change initiatives have enhanced that growth. Mr. Ray also explained that the key to sales is to ensure that the product is specified by architects and engineers on project plans.

[15] Mr. Ray states that he first learned of the RootSpace product in 2016. He explained that the presence of the RootSpace product has created confusion in the marketplace.

[16] Mr. Ray gave evidence in a straightforward manner. He did not engage in embellishment and did not avoid answering questions that were not helpful to his position. Overall, I have no reason to doubt the veracity of his evidence.

James Urban

[17] Mr. Urban is one of the named inventors on the 348 Patent and the 599 Patent. He is a landscape architect specializing in urban forestry, soil analysis and design, trees, horticulture design, and site-specific landscape architecture projects. He testified that he has been involved with methods to improve trees in urban settings since 1978. He has written over 50 articles including articles in the Landscape Architecture magazine, the Journal of Horticulture and Arborist News. Mr. Urban testified that his book, published in 2008, Up by Roots: Trees and Soils in the Built Environment, is considered a primary book in the landscape architecture profession. Mr. Urban has won several awards for his work including an award from the American Society of Landscape Architecture.

[18] Mr. Urban testified on the research and development of the SilvaCell product. He explained that the modular concept informed the development of the SilvaCell. Mr. Urban also explained that the intention was to maximize soil and minimize structure size in order to balance the size of the product with the economic cost of creating it. It is clear Mr. Urban has a strong body of knowledge in the relevant area; he is passionate about tree health in the urban environment. Mr. Urban provided useful background on the evolution and development of green space in the urban environment.

[19] Mr. Urban was a credible witness who also did not engage in embellishment and answered all questions forthright. His evidence was helpful.

Plaintiffs’ Expert Witnesses

Dr. Richard LeBrasseur

[20] Dr. LeBrasseur was qualified on consent as an expert in landscape architecture and green infrastructure. He is a licensed landscape architect and an environmental psychologist. He is currently an associate professor of landscape architecture at Dalhousie University. Dr. LeBrasseur has a PhD in green infrastructure from the University of Edinburgh, a Master of Landscape Architecture from the University of Michigan, and a Bachelor of Landscape Architecture from the University of Connecticut.

[21] Dr. LeBrasseur prepared three reports as follows:

  • Report of Dr. Richard LeBrasseur dated June 14, 2020 (LeBrasseur first report)

  • Responding report dated August 21, 2020 (LeBrasseur second report)

  • Reply report dated September 25, 2020 (LeBrasseur third report).

[22] Dr. LeBrasseur provided opinions on claims construction, the credentials and characteristics of the Skilled Person, the state of the art as of January 15, 2004, and the common general knowledge [CGK] of the Skilled Person for both the 348 Patent and the 599 Patent.

[23] My impression of Dr. LeBrasseur was that he attempted to testify accurately and honestly. At times, he seemed to be defensive regarding questions that he felt threatened his opinion. I also note that he had difficulty going outside the parameters of his written reports. However, I interpret this as Dr. LeBrasseur attempting to ensure his answers were precise rather than avoiding answering questions.

Prem Lobo

[24] Mr. Lobo was DeepRoot’s expert witness on loss quantification and was qualified on consent. Mr. Lobo is a chartered professional accountant, chartered accountant, chartered business valuator, certified fraud examiner and is certified in financial forensics. Mr. Lobo is an expert in investigative and forensic accounting, the valuation of intellectual property and commercial businesses and loss quantification in commercial and intellectual property disputes.

[25] Mr. Lobo gave his opinion based upon instructions he received from legal counsel to quantify revenues and royalties based on set percentages. On royalty calculations, Mr. Lobo confirmed that he did not consider any royalties beyond his instructions.

[26] Mr. Lobo gave evidence in a straightforward and objective manner.

Defendant’s Fact Witnesses

Dean Bowie

[27] Mr. Dean Bowie is the Chief Executive Officer of GreenBlue Urban Limited, United Kingdom, and President of the Defendant, GreenBlue Urban North America, Inc.

[28] In college, Mr. Bowie studied land sciences, horticulture, and arboriculture. Mr. Bowie has many years of experience in the urban landscape business. He described the evolution of GreenBlue’s landscape architecture products including tree pits and how the RootCell product evolved to become the RootSpace product. Mr. Bowie gave evidence on the RootCell product and its use on various projects such as Hastings, Blackheath the Old Bailey and Alesbury.

[29] Mr. Bowie holds a number of patents for urban landscaping products. GreenBlue also took steps to seek a patent for the RootSpace product. However, Mr. Bowie’s evidence on why GreenBlue did not pursue patent protection was vague; he attributed this to failures of his patent agent to make timely filings. He also claimed that he decided against seeking patent protection in favour of allowing others to use the RootSpace concept in the interest of promoting urban tree health.

[30] He became aware of the SilvaCell product in 2013 but states that it did not have features he needed. According to Mr. Bowie, the RootSpace product was designed away from SilvaCell.

[31] Overall, Mr. Bowie’s evidence was helpful and provided useful background information on the GreenBlue business undertakings.

Stewart Bowie

[32] Mr. Bowie is the brother of Dean Bowie. Mr. Stewart Bowie gave evidence on the sales of GreenBlue tree pit systems and products throughout the UK, while he was employed with GreenBlue from 2000 to 2008.

Craig Melvin

[33] Mr. Melvin is the current Operations Manager at the Defendant Corporation GreenBlue, responsible for Canada and the US. In 2005, Mr. Melvin set up GreenLeaf Canada, the company that later became GreenBlue Urban North America Inc. Mr. Melvin testified on the operations of GreenBlue. His evidence provided useful context.

Jeremy Bailey

[34] Mr. Bailey is the general manager of GreenBlue Urban North America who provided evidence on sales in North America since he joined the company in April 2011. He first joined as a sales consultant and became the general manager in May 2019. Mr. Bailey explained the full line of products offered by GreenBlue including RootSpace. Mr. Bailey also gave evidence on the sales and related expenses regarding GreenBlue products.

Carol Daly

[35] Ms. Daly is employed in an administrative role with GreenBlue, and part of her duties include bookkeeping. Ms. Daly gave evidence on the financial records. Ms. Daly explained where the numbers used in the reports were taken from and the accounting approach taken to calculate expenses such as exchange rates and freight rates.

Defendant’s Expert Witnesses

Dr. Barrett L. Kays

[36] Dr. Kays gave evidence as an expert in both the landscape architect and soil scientist fields. He was qualified on consent as an expert in landscape architecture, urban stormwater, horticulture, and soil science. Dr. Kays holds a Bachelor’s degree in horticulture from Oklahoma State University and a Master’s degree in landscape architecture from North Carolina State University. He holds a PhD in soil science from North Carolina State University and is a Fellow in the American Society of landscape architects [ASLA]. He is a registered landscape architect in the states of North Carolina, Virginia and New York.

[37] Dr. Kays prepared three reports as follows:

  • First witness statement dated June 12, 2020 (Kays first report)

  • Second witness statement dated August 21, 2020 (Kays second report)

  • Third witness statement dated September 25, 2020 (Kays third report).

[38] Dr. Kays has extensive experience in landscape architecture and storm-water management. As a witness however, Dr. Kays occasionally did not answer the questions put to him by opposing counsel in a direct or straightforward manner. On occasion he made claims that were not supported with evidence. For example, he claimed that the RootSpace product had a “system that handles much larger structural loads” without an evidentiary basis for his statement.

[39] Dr. Kays also went into detail to explain the distinction between woody versus non-woody roots and structural and non-structural roots, however his definition of “structural roots” did not have an evidentiary basis.

[40] Overall, I would describe Dr. Kays’ approach to claims construction as overly technical and narrow. Despite his extensive experience, at times he appeared to struggle with concepts that should have been familiar to someone with his extensive experience. I took this to be more of a defensive tactic rather than an evasive one.

[41] Subject to these comments, Dr. Kays otherwise provided useful evidence.

Bruce Blacker

[42] Mr. Blacker is a certified public accountant, certified in financial forensics, and is a forensic accountant. He was qualified on consent as an expert in the evaluation of economic damages in intellectual property matters. Mr. Blacker has an undergraduate degree and Master’s degree in accounting from Brigham Young University. He is a Chartered Public Accountant and certified in financial forensics under the American Institute of Certified Public Accountants (AICPA). Mr. Blacker has extensive experience in litigation and particularly in intellectual property cases.

[43] Mr. Blacker explained his reasonable royalty calculation. He approached quantifying damages based on the per unit sales of the product versus relying upon net sales. In his view, a per-unit royalty is the most logical approach in light of the fact that GreenBlue sells other products aside from RootSpace products. He explained that factors unrelated to the patents in suit should not influence the value of royalty payments.

[44] I found Mr. Blacker’s evidence helpful and, as explained below, I prefer his royalty calculation approach.

Agreed Statement of Issues

[45] The parties submitted the following agreed statement of issues which I will follow:

Claim Construction

  1. Who is the appropriate person of skill in the art of the 348 Patent and the 599 Patent?
  1. What is the claim date of the 348 Patent and 599 Patent?

  1. What was the POSITA’s common general knowledge as of:
  • (a) The claim date of the 348 Patent and 599 patent; and

  • (b) The publication date of the 348 Patent and 599 Patent?

  1. What is the meaning of the words and phrases of:

  • (a) Claims 1-3, 7, 11, 12, 16-20, 23 and 24 of the 348 Patent; and

  • (b) Claims 1-4 of the 599 Patent?

Infringement

  1. Has GreenBlue infringed or induced infringement of any valid Asserted Claims of the 348 Patent by making, using, or selling systems including the RootSpace products?
  1. Has GreenBlue infringed or induced infringement of any valid Asserted Claims of the 599 Patent by making, using or selling the RootSpace products?

  2. In particular, do the RootSpace products have:

  • (a) A “base” (all asserted claims) and “for attaching to a base” (599 Patent claims 1-4)

  • (b) “periphery support members” (599 Patent claims 1-4);

  • (c) “outer edges” (599 Patent claims 1-4);

  • (d) A lid including “structural members to bear a portion of load of said hardscape” (599 Patent claim 3); and

  • (e) “a portion of the lid is formed of plastic” (599 Patent claim 4)?

Validity

  1. Were the essential elements of the Asserted Claims of the 348 Patent and the 599 Patent disclosed and enabled by any one of the asserted Prior Art:
  • (a) RootCell system described in, inter alia, the GreenLeaf 2002 Brochure

  • (b) Urriola Patent US 5,030,343

  • (c) Urriola Patent US 6,779,946

  • (d) Urriola Patent US 5,810,510

  • (e) Bonhoff Patent US 6,095,718

  • (f) Bonhoff Patent US 6,428,870, and

  • (g) Burkhart Patent CA 2,445,609?

  1. Was the subject matter of the Asserted Claims invalid for insufficient disclosure contrary to Section 27(3) of the Patent Act?

  2. Are any of the Asserted Claims of the 348 Patent and of the 599 Patent obvious in view of the above-noted Prior Art, either alone or in combination?

  1. Are any of the Asserted Claims invalid as being unclear, lacking definiteness and being ambiguous contrary to Section 27(4) of the Patent Act? In particular:
  • (a) “at least approximately 8 inches apart” and “at least approximately 85% of the volume can be filled with soil”

  • (b) collectively defining a volume

  • (c) substantially

  • (d) may

  • (e) preventing hardscape damage

  • (f) or”.

  1. Are any of the Asserted Claims broader than the invention made or disclosed as a result of missing a necessary essential element? In particular, the two metal rods located at the top of the structure (599 Patent, Claims 1-4).

  2. Is DeepRoot entitled to a permanent injunction, enjoining GreenBlue from infringing the 348 Patent or the 599 Patent until the expiry of the patents?

  3. Is DeepRoot entitled to elect an accounting of GreenBlue’s profits from infringement of the 348 Patent and 599 Patent? If so:

Remedies

  • (a) What are GreenBlue’s revenues casually connected to infringement?

  • (b) What are the appropriate cost deductions from GreenBlue’s infringing revenues? And

  • (c) Is an apportionment of GreenBlue’s profit appropriate, and if so what is the percentage that should be apportioned?

  1. In the alternative, what is reasonable royalty that would have been negotiated between DeepRoot and GreenBlue, but for GreenBlue’s infringement?

  2. Is DeepRoot entitled to reasonable compensation for GreenBlue’s acts after the publication of the application for the 599 Patent but before the grant of the 599 Patent? If so, what is the amount of reasonable compensation?

The Patents

[46] In the Chronology of Agreed Facts the parties agreed to the following dates:

a. The 348 Patent and the 599 Patent claimed priority to a US patent application (US 10/759, 493) filed on January 15, 2004.

b. The 348 Patent in the 599 Patent have a filing date of January 14, 2005.

c. The 348 Patent and the 599 Patent are shown to have been laid open for public inspection on August 4, 2005.

d. GreenBlue became aware of DeepRoot’s first generation SilvaCell product in approximately 2009.

e. GreenBlue began designing RootSpace in 2014.

f. The 348 Patent was issued on January 7, 2014.

g. GreenBlue introduced and began advertising RootSpace in March 2016.

h. GreenBlue first became aware of the 348 Patent and 599 Patent Application in or about February 2017.

i. Construction of the Jack Layton Ferry Terminal project implementing using RootSpace commenced in October 2017.

j. GreenBlue’s first Canadian invoice for the sale of the RootSpace structural cell system is dated April 27, 2017.

k. The 599 Patent was issued on September 26, 2017.

l. The full term of the 348 Patent runs until January 14, 2025.

m. The full term of the 599 Patent runs until January 14, 2025.

The 348 Patent

[47] The 348 Patent is titled: “Integrated tree root and storm water system”. The five named inventors are James Urban, Albert L. Key, Charles Julian Ray, Charles Graham Ray and Michael James. The following is the diagram for the 348 Patent:

[48] The abstract, in reference to the above diagram, states as follows:

A structural cell system (100) is disclosed for supporting hardscape (106) areas in a way that enables tree root growth and accommodates filtering, retention, storage and infiltration of stormwater while preventing hardscape damage. The system (100) includes a plurality of structural cells (210) capable of being positioned below a hardscape. The structural cells are designed to have openings that are sized to accept tree root. The system has one or more permeable barriers around the structural cells with a way for water to flow into and out of the plurality of structural cells. The structural cells may include a lid (712) that includes reinforcement members to reduce resin creep.

[49] The field of invention is noted at page 1 as follows:

[0002] This disclosure relates generally to a system for the management of tree roots and stormwater runoff in urban areas, and more particularly to integrated cells used in a structural system for supporting sidewalks and other paved areas that enables tree root growth and accommodates filtering, retention, storage and infiltration of stormwater while preventing hardscape damage.

[50] The summary of this invention is described at pages 3 and 3a of the of the Patent as follows:

[0008] Embodiments of this invention may allow the same space within the city infrastructure to accommodate both significant storm water management and tree root development.

[0008a] According to one particular aspect of the invention, there is provided a structural cell system for supporting hardscape areas that enables tree root growth and accommodates filtering, retention, storage and infiltration of stormwater while preventing hardscape damage, comprising; a plurality of structural cells positioned below a hardscape substantially covering the structural cells, the structural cells each comprising: a base, a top, and structural members positioned therebetween so as to maintain the base and the top at least approximately 8 inches apart, the base, top, and structural members collectively defining a volume that includes the base, top, and structural members, wherein at least approximately 85% of the volume can be filled with soil; wherein the structural cell bears substantially the entire load of both the hardscape and commercial vehicle traffic directed thereover, while maintaining the soil within the volume in a low compacted state accommodating natural growth of structural roots of a tree within the volume; one or more permeable barriers around the structural cells; water ingress into the plurality of structural cells; and water egress from the plurality of structural cells.

[0009] In one embodiment a structural cell or frame system is disclosed for supporting hardscape areas that enables tree root growth and accommodates filtering, retention, storage and infiltration of stormwater while preventing hardscape damage from tree roots. The system includes a plurality of structural cells capable of being positioned below a hardscape. The structural cells may have openings sized to accept tree roots. The system may also include one or more permeable barriers around the structural cells. There is also a way for water to flow into and out of the plurality of structural cells.

[0010] In another embodiment a multilayered structural cell system is disclosed for supporting hardscape areas that enables tree root growth and accommodates filtering, retention, storage and infiltration of stormwater while preventing hardscape damage. The system includes a first layer of structural cells for short-term water storage positioned below the hardscape and being capable of short-term water storage. A second layer of structural cells positioned below the first layer, the second layer of structural cells being capable of storing tree routing medium supporting the growth of tree roots. A third layer of cell structure positioned below the second layer, the third layer of structural cells being capable of long-term water storage. There is also a way for water to flow into the first layer and out of the third layer. With a first permeable barrier separating the first and second layer, a second permeable barrier separates the second and third layers and each of the layers being in fluid communication with the other layers.

The 599 Patent

[51] The 599 Patent lists the same five inventors as the 348 Patent and is also titled “integrated tree root and storm water system”. The diagram for the 599 Patent is as follows:

[52] The 599 Patent abstract description is identical to the 348 Patent with the exception that it does not include the diagram numbers as noted in brackets in the 348 Patent. Likewise, the field of invention is identical to that of the 348 Patent.

[53] The summary at paragraph [0008] is identical to the summary at paragraph [0008] of the 348 Patent; however, the next paragraph is different from the 348 Patent, as follows:

[0008a] According to one particular aspect, there is provided a structural cell for supporting hardscape, the cell comprising: a base; and periphery support members engaging the base and extending outwardly from said base, for attaching to a base of another cell or a lid and for supporting said hardscape, said support members being sized and arranged so that at least approximately eighty five percent of a volume defined by outer edges of said cell is a void space.

[54] The balance of the summary at paragraphs [0009] and [0010] are identical to those for the 348 Patent.

Claim Construction

General Principles

[55] Claim construction requires the consideration of the claims as a whole “to ascertain the nature of the invention and methods of its performance...being neither benevolent nor harsh, but rather seeking a construction which is reasonable and fair to both patentee and public” (Consolboard Inc v Macmillan Bloedel (Sask) Ltd. [1981] 1 S.C.R. 504 at page 520; see also Teva Canada Ltd v Pfizer Canada Inc, 2012 SCC 60 [Teva] at para. 50).

[56] The words of the claims must be read in an informed and purposive way with a mind willing to understand. (Free World Trust v Électro Santé Inc, 2000 SCC 66 [Free World Trust] at para 44).

[57] A patent is not addressed to an ordinary member of the public, it is directed to a worker who is skilled in the art to which the patent relates (Whirlpool Corp v Camco Inc, 2000 SCC 67 [Whirlpool] at para 44). The claim language must be read through the eyes of the person of skill in the art (POSITA) with the common general knowledge (Free World Trust at paras 44-45; see also AFD Petroleum Ltd v Frac Shack Inc, 2018 FCA 140 at para 60; Whirlpool at para 53).

[58] The Federal Court of Appeal in Tearlab Corporation v I-MED Pharma Inc, 2019 FCA 179 at para 31, noted:

The Patent Act promotes adherence to the language of the claims, which in turn promotes fairness and predictability (Free World Trust at paras. 31(a), (b) and 41). The words of the claims must, however, be read in an informed and purposive way (at para. 31(c)), with a mind willing to understand (at para. 44). On a purposive construction, it will be apparent that some elements of the claimed invention are essential while others are non-essential (at para. 31(e)). The interpretative task of the court, in claim construction, is to separate and distinguish between the essential and the non-essential elements, and to give the legal protection to which the holder of a valid patent is entitled only to the essential elements (at para. 15).

[59] In construing the claims, the Court can consider the patent specifications to understand what the inventor meant by the words in the claims. However, the specifications cannot be used to “to enlarge or contract the scope of the claim as written and ... understood” (Whirlpool at para 52; see also Free World Trust at para 32).

[60] As noted in Free World Trust:

[51] The words chosen by the inventor will be read in the sense the inventor is presumed to have intended, and in a way that is sympathetic to accomplishment of the inventor’s purpose expressed or implicit in the text of the claims. However, if the inventor has misspoken or otherwise created an unnecessary or troublesome limitation in the claims, it is a self-inflicted wound. The public is entitled to rely on the words used provided the words used are interpreted fairly and knowledgeably.

What are the relevant dates of the 348 Patent and 599 Patent?

[61] I agree with DeepRoot that the relevant date for claims construction is the date of publication of August 5, 2005, being the date that the 348 Patent was laid open for public inspection. As the 599 Patent is a divisional patent of the 348 Patent, the same date applies.

Who is the Person of Skill in the Art (POSITA)

[62] The Person of Skill in the Art (POSITA) is a hypothetical person possessing the ordinary skill and knowledge of the particular art to which the invention relates and a mind willing to understand a specification that is addressed to them (see, e.g., Tetra Tech EBA Inc v Georgetown Rail Equipment Company, 2019 FCA 203 at para 25, citing Free World Trust at para 44).

[63] The POSITA is a technician skilled in the art but having no scintilla of inventiveness or imagination; a paragon of deduction and dexterity, wholly devoid of intuition; a triumph of the left hemisphere over the right (see Apotex Inc v Sanofi-Synthelabo Canada Inc, 2008 SCC 61 [Sanofi] at para 52).

[64] The POSITA may be a team of people possessed of different skills (see Teva Canada Limited v Jansen Inc, 2018 FC 754 at para 66).

[65] DeepRoot’s expert Dr. LeBrasseur describes the POSITA as a team of persons rather than one person. At paragraph 36 of his June 14, 2020 report, he states: “where a particular project requires highly technical scientific information, the landscape architect would either research the relevant area in publications they subscribe to or can locate themselves, or hire a specialist to advise on the issue.” According to Dr. LeBrasseur, such individuals may include urban planners/designers, civil engineers, hydrologists and hydrogeologists, architects, arborists or botanists, soil scientists, tradespersons, landscape contractors, and governments or municipalities.

[66] Dr. LeBrasseur states that the POSITA would be a landscape architect with at least 10 years of experience practicing as a professional landscape architect. The POSITA would also include a professional civil engineer to conduct load-bearing calculations.

[67] Dr. Kays’ description of the POSITA is a person with a Master’s degree in landscape architecture with at least a minor in environmental sciences and a considerable amount of experience in designing stormwater systems (Kays Second Report, para 132).

[68] With regard to the educational requirements for POSITA, I agree with Dr. Kays that the POSITA would likely have an advanced degree in landscape architecture. Dr. Kays gave evidence that universities in the 1970s began transitioning from undergraduate programs to graduate programs to fulfill accreditation requirements. Therefore, in 2005, the relevant date of the Patent, it is likely that the POSITA would have an advanced degree in landscape architecture.

[69] Considering the claims language specifically references the necessity to be “load-bearing”, I agree with Dr. LeBrasseur that the POSITA would also include a professional civil engineer to determine load-bearing capabilities. In my view, landscape architects would rely upon a civil engineer to determine load-bearing capabilities of a product for the specified use.

[70] I conclude that the POSITA is a team comprised of a landscape architect who has, at a minimum, a Master’s degree in landscape architecture and who has fulfilled the relevant landscape architecture licensing requirements. The POSITA also has storm water expertise and has knowledge of environmental science. Finally, the POSITA would also include a professional civil engineer.

Common General Knowledge

[71] The relevant date for assessing common general knowledge for the purpose of claim construction is the publication date (Eli Lilly Canada Inc v Mylan Pharmaceuticals ULC, 2020 FC 816 at para 187). Therefore, the relevant date for the common general knowledge is August 4, 2005 for both patents.

[72] The Supreme Court in Sanofi noted that “common general knowledge means knowledge generally known by persons skilled in the relevant art at the relevant time” (para 37). Whirlpool at para 74 notes that the POSITA is expected to be “reasonably diligent in keeping up with advances in the field to which the patent relates.”

[73] Both parties submitted evidence that prior to the early 2000s, urban trees had a poor survival rate.

[74] The following are the key points noted in the LeBrasseur First Report, at paragraphs 47-52, as the common general knowledge regarding trees in the urban environment:

  • trees are an important part of ecological and human well-being

  • urban trees provide social, recreational, and psychological benefits

  • urban trees are environmentally important and contribute to climate change mitigation

  • urban trees play an important role in regulating stormwater

  • growing trees successfully in an urban environment is difficult because of compacted soil and conflicts with urban infrastructure such as building foundations roadways sidewalks pipes and utilities.

[75] With respect to stormwater management, the LeBrasseur First Report notes the following at paragraphs 97-116, which would have been common general knowledge of the relevant time:

  • stormwater management is the practice of maintaining and controlling the water resulting from weather events like rain and snow melt

  • infiltration and filtration of stormwater is dependent on the properties of the soil

  • surface runoff can wash away fertile topsoil and other organic matter that is important for trees and soil health

  • in the urban areas stormwater was managed by collecting the runoff and redirecting it to sewer systems, drainage ditches, or floodways

  • commercial products available to address urban stormwater management were limited

  • engineered soils are manufactured soils were used to address stormwater management.

[76] With respect to load management, the LeBrasseur First Report, at paragraphs 117-119, notes that the skilled person would have the following common general knowledge:

  • knowledge of how to design and construct structures safe and sufficiently strong for their desired purpose

  • knowledge of the relevant building construction transportation safety codes

  • know how to design and construct hardscape areas including roads parking lots and sidewalks.

[77] In the Kays First Report, the following is noted as being part of the common general knowledge:

  • The skilled person would have known that prior to the year 2000, plastic chambers for wastewater and stormwater systems had begun to dominate on-site systems (at para 128).

  • different products could be used to improve urban trees and stormwater management including concrete boxes gravel based soil systems and plastic systems (at para 22).

  • concrete boxes had been used for more than 40 years (at para 23).

  • gravel based soil systems like the CU soil system had been in use for more than 20 years (at para 24).

  • plastic structural cell systems had been used for more than 30 years (at para 25).

[78] Further, with respect to the common general knowledge, the Kays first report highlights the existence of the following prior art at paragraph 78:

(a) The 2002 GreenLeaf catalogue which detailed a root cell system of vertical stacks consisting of six layers of root cell as shown in the illustration.

(b) Urriola drainage cell (US patent number 5,030,343) (Urriola 343) filed in April 1987 for a system of interlocking frames used for subsurface drainage consisting of cells with a rigid plastic top, bottom, and vertical spacer members.

(c) Urriola drainage structures (US patent number 6,779, 946) (Urriola 946) filed February 2004 for a system of interlocking frames for subsurface drainage and plant growth.

(d) Urriola underground drainage system (US patent 5, 810, 510) (Urriola 510) filed December 1994 for a system of perforated wall modules supporting hardscape.

(e) Bohnhoff Subsurface Fluid Drainage and Storage systems (US patent 6, 095,718) (Bonhoff 718) filed October 1998 is a system of rigid plastic interlocking circular cell stacking layers by the RainStore company.

(f) Bohnhoff Subsurface Fluid Drainage and Storage system and mat (US patent 6,428,870) (Bonhoff 870) filed December 2000 being a system of rigid plastic interlocking cell stacking layers 4 inches in height.

(g) Burkhart methods and modules (Canada patent number 2,445,609) (Burkhart 609) filed October 2002 for an underground assembly for stormwater retention or detention.

[79] According to Dr. Kays, these prior art systems were used for subsurface drainage and/or vegetation planters under hardscape’s roadways and parking lots prior to the patents at issue. DeepRoot objected to the prior art evidence being considered as part of the common general knowledge on the basis that the prior art evidence was provided to Dr. Kays rather than being located through his own research. However, I am satisfied based upon the evidence of Mr. Urban and Mr. Bowie, that the common general knowledge at the relevant time included the concepts identified in the prior art.

Conclusion - Common General Knowledge

[80] Based upon the evidence of both experts, the following are my conclusions regarding what would have been within the common general knowledge of the POSITA as of the claim date. This common general knowledge is broken down into three core areas: supporting tree growth, managing storm water, and supporting hardscape. The only real area of contention between the experts was the meaning of structural roots which I discuss under claim construction.

Supporting Tree Growth

[81] At the relevant time, the POSITA would know that healthy trees have roots that generally grow near the surface. If planted in improper conditions, tree roots can girdle, meaning the tree roots grow around the tree trunk instead of laterally away from the tree. The POSITA would also have known that healthy tree development required uncompacted soil for healthy root development. At this time, structural soils, being a mixture of soil, clay, loam and gravel or crushed rock, were being used to create void space in the soil to promote urban tree growth.

[82] The POSITA would also be aware of the use of aeration and watering tubes to provide water irrigation and airflow. The POSITA would be aware that tree root control barriers that inhibit or deflect tree root growth negatively affected healthy tree development and often caused significant damage to the tree. In the early 2000s, landscape architects would have been familiar with the use of tree pits and tree trenches. Tree pits are underground planter boxes filled with soil. Tree trenches are a continuous channel of soil material for the roots of several trees to grow together and can be used to connect individual tree pits.

Managing Storm Water

[83] Prior to the early 2000s, urban areas managed storm water by directing it away from hardscape surface through urban infrastructure such as sewer systems. Around the early 2000s, cities began experimenting with the use of green infrastructure that incorporated the natural process of soil infiltration, percolation and filtration. Commercial products in the early 2000s included rooftop cisterns and plastic tanks to hold storm water as well as engineered soils. The POSITA would know that planning was necessary to facilitate the dual goals of healthy trees and the presence of stormwater.

Hardscape Management

[84] The common general knowledge at the time would be that unmanaged urban trees could result in hardscape damage as the result of the expansion of tree roots. Photographs from the relevant time depict roots causing sidewalk heaves and other hardscape damage. The POSITA would also know how to design and construct hardscape areas, including roads, parking lots and sidewalks for the required use specified. The POSITA would be aware of the relevant building, construction, transportation, and safety codes and specifications including those of the Canadian Standards Association, the American Association of State Highway and Transportation Officials, highway construction specifications and the American Society for Testing and Materials road and paving standards.

Construction of the Patents

[85] Having outlined the common general knowledge of the POSITA, I will now turn to the meaning of the words and phrases in the following claims requiring construction:

Claims 1-5, 7-8, 11-14, 16-20, 22-24 of the 348 Patent; and

Claims 1-4 of the 599 Patent.

[86] A number of terms and phrases in the Patents need to be construed to understand the scope of the patent. As noted above, the patent is construed according to the understanding of the person skilled in the art. Here, construction is also carried out with the benefit of the opinions of the expert witnesses. However, I will preface this by stating that I generally prefer the construction of the claims offered by Dr. LeBrasseur over that of Dr. Kays. In my view, Dr. Kays construction was often more in the vein of a critique of the claims language rather than a purposive attempt to give meaning to the words and phrases used.

[87] The wording of the patent claims requiring construction are reproduced in full below:

348 Patent

1. A structural cell system for supporting hardscape areas that enables tree root growth and accommodates filtering, retention, storage and infiltration of storm water while preventing hardscape damage, comprising;

A plurality of structural cells positioned below a hardscape substantially covering the structural cells, the structural cells each comprising:

A base, a top, and structural members positioned therebetween so as to maintain the base and the top at least approximately 8 inches apart, the base, top, and structural members collectively defining a volume that includes the base, top, and structural members, wherein at least approximately 85% of the volume can be filled with soil;

Wherein the structural cells bears substantially the entire load of both the hardscape and commercial vehicle traffic directed thereover, while maintaining the soil within the volume in a low compacted state accommodating natural growth of structural roots of a tree within the volume;

One or more permeable barriers around the structural cells;

Water ingress into the plurality of structural cells; and

Water egress from the plurality of structural cells.

2. The system of claim 1, wherein the hardscape may be sidewalk, parking or roadway.

3. The system of claim 1, wherein the structural cells are capable of storing water.

4. The system of claim 1, wherein the structural cells are capable of storing low compacting tree-rooting medium.

5. The system of claim 4, wherein the tree-rooting medium is capable of filtering storm water.

7. The system of claim 1, wherein the structural cells are positioned in two or more layers

8. The system of claim 7, wherein at least one layer includes structural cells to hold water and at least one layer including soil.

11. The system of claim 1, further comprising one or more permeable barriers positioned between the structural cells and the hardscape.

12. The system of claim 1, further comprising one or more permeable or impermeable barriers positioned between the structural cells and surrounding soil.

13. The system of claim 1, wherein structural cells are of different functions and are disposed in a vertical or horizontal configuration.

14. The system of claim 1, wherein the structural cells are assembled in a corbel configuration.

16. The system of claim 1, wherein the water ingress is a storm drain inlet or roof drain.

17. The system of claim 16, wherein the storm drain inlet or roof drain includes a filter.

18. The system of claim 1, wherein the water ingress is through permeable hardscape.

19. The system of claim 1, wherein water egress is into surrounding soil by water infiltration.

20. The system of claim 1, wherein the structural cells includes storm water passages disposed over or under a compacted structural rooting medium.

22. The system of claim 1, where the structural cells include storm water passages disposed over or under a compacted structural rooting medium.

23. The system of claim 1, wherein some of said structural cells include a region for disposing communication lines therein.

24. The system of claim 1, wherein the volume is at least approximately 4608 cubic inches.

[88] Based upon the claim language, claims 2, 3, 4, 7, 11, 12, 13, 14 16, 18, 19, 20, 22, 23, 24 are all dependent on Claim 1. Claim 5 is dependent on claim 4, which is dependent on Claim 1. Claim 8 is dependent on Claim 7 which is dependent on Claim 1. Claim 17 is dependent on Claim 16, which is also dependent on Claim 1. To the extent that the claims at issue are directly or indirectly dependent on Claim 1, the parties and the experts primarily focused on the meaning of the following terms and phrases in Claim 1 of the 348 Patent as being essential:

  • structural cell

  • a plurality of structural cells positioned below a hardscape substantially covering the structural cells, the structural cells each comprising

  • a base

  • a top

  • at least approximately 8 inches apart

  • at least approximately 85%

  • maintaining the soil within the volume in a low compacted state accommodating natural growth of structural roots of a tree within the volume.

[89] In undertaking a purposive construction of the above, it is important to recall the purpose of the invention and the problem the invention sought to address. For the 348 Patent, the invention is described as a system for the management of tree roots and stormwater runoff in urban areas.

structural cell

[90] Dr. LeBrasseur states that the phrases “structural cell” and “structural cell system” were not terms of art at the relevant time. Dr. LeBrasseur construed the structural cell as a frame-like open structure that can be attached or joined to other structural cells when used in an integrated tree root and storm water system. Dr. LeBrasseur also noted that structural cells are described as strong enough to withstand loads of hardscape and vehicles (LeBrasseur First Report, para 126).

[91] The structural cell must serve three purposes: (1) enabling tree root growth; (2) accommodating filtering, retention, storage and infiltration of storm water; and (3) supporting hardscape surfaces (LeBrasseur First Report, para 127).

[92] According to Dr. LeBrasseur, the structural cell is a modular load-bearing frame that can be attached to other frame structures. (LeBrasseur First Report, para 128). Dr. LeBrasseur also gave evidence that the POSITA would understand that the term structural cell is not limited to any particular shape of configuration except as otherwise specified in the claims of the 348 Patent (LeBrasseur First Report, para 130).

[93] I agree with Dr. LeBrasseur’s opinion that structural cells must be open structures, meaning that they provide a continuous void space that can be filled with soil to promote tree root growth. When structural cells are joined together, they create a layer of continuous void space that extends between neighbouring structural cells. When filled with soil, this continuous void space will provide an uninterrupted soil volume to allow for unimpeded lateral root growth through neighbouring structural cells. (LeBrasseur First Report, at para 132)

[94] The structural cells can be configured to provide for different stormwater functions depending upon the application. It can be designed to address the presence of stormwater, the surface conditions, and the interaction with other components of the structural cell system. (LeBrasseur First Report, para 134)

[95] The structural cell bears substantially all of the weight of the hardscape and any forces that are applied to the hardscape (LeBrasseur First Report, para 143).

[96] In cross examination, Dr. Kays conceded that the structural cell was an open design (Transcript, pp 1240).

A plurality of structural cells positioned below a hardscape substantially covering the structural cells, the structural cells each comprising

[97] I agree with Dr. LaBrasseur that plurality means more than one structural cell. The phrase “positioned below a hardscape” is clear language that would be understood by the POSITA.

[98] Dr. LeBrasseur states that the phrase “substantially covering the structural cells” requires that the hardscape be positioned above a vast majority of structural cells. Dr. LeBrasseur states that it is typical for openings in the hardscape to be present, into which trees are planted. (LeBrasseur First Report, para 149).

[99] According to Dr. Kays, the phrase “substantially covering” lacks definiteness as to what constitutes substantial (Kays First Report, para 36).

[100] I find that the phrase “substantially covering the structural cells” means “positioned above the vast majority of structural cells” as described by Dr. LeBrasseur.

[101] Dr. LeBrasseur understands that the word “comprising” is frequently used in patent claims as meaning “including but not limited to” (LeBrasseur First Report, para 305). I agree with that understanding.

a base

[102] The experts fundamentally disagree on the meaning of the term “a base”.

[103] Dr. LeBrasseur states that the “base” refers to a lower-most portion of the structural cell intended to act as the stable foundation for the structural cell. He also is of the opinion that the skilled person would not understand this to be of any particular shape or configuration as long as it met the requirement of providing a stable foundation (LeBrasseur First Report, para 151).

[104] Dr. Kays contends that the “base” is the “horizontal bottom component of each structural cell or frame which includes a central horizontal crossing connector in the First Embodiment and the SilvaCell Embodiment a base with a crossing connector is necessary to avoid twisting movement” (Kays First Report, para 38).

[105] The claim language does not make reference to a central horizontal crossing connector, nor is there other language to support Dr. Kays’ view that the central horizontal crossing connector is an essential part of the “base.” Some of the embodiments including figure 14 and figure 19 have horizontal crossing connectors; however, the claim language does not make reference to these connectors as being essential. Moreover, no reliable evidence is before the Court that the horizontal crossing connector is necessary to avoid twisting movement as alleged by Dr. Kays.

[106] In my view, the “base” as claimed in the 348 Patent is intended to provide a stable foundation for the structural cell. The “base” may be integrally formed or formed separately then connected together allowing for on site assembly (348 Patent, p. 16).

[107] The definition of base promoted by Dr. Kays does not construe the term “base” in a purposive way and does not align with the claim language. Dr. Kays’ evidence was contradictory on what constitutes a “base” as compared to a “bottom”. In my view, this was a narrow construction with an eye towards non-infringement. Therefore, I find that, on the construction of the term “base” Dr. Kays did not approach the patent with a mind willing to understand.

[108] Claim 1 states: “A base, a top, and structural members positioned therebetween so as to maintain the base and the top at least approximately 8 inches apart.” On cross-examination, Dr. Kays easily identified the “base” and the “top” of a column (Transcript, pp. 1286-1287; Exhibit 73). Therefore, I find that the statement, “a base, a top, and structural members position therebetween so as to maintain the base and the top at least approximately 8 inches apart”, is a description of the distance between the upper-most portion of the cell and the lower-most portion of the cell.

a top

[109] Dr. Kays states that “a top” refers to the horizontal top component also referred to as the lid or deck. (Kays First Report, para 40).

[110] In Dr. LeBrasseur’s opinion, the 348 Patent does not allow for the reading of a “top” as the lid, because in both the claim language and the embodiments, the lid is a separate part of the cell. Figure 19 of the 348 Patent (below) depicts the structure as a structural cell without a lid. The Detailed Description, on page 15 of the 348 Patent, states “Figure 19 is a top prospective view of structural cells 700.”

[111] Further, figure 17 of the 348 Patent (below) also labels the diagram as having two structural cells by labelling each cell with “700” defined as a structural cell. The bottom cell does not have a lid and is merely attached to the above cell while the top cell does have a lid. The Detailed Description of the 348 Patent at page 15 states: “Figure 17 shows a top prospective view of structural cells 700…the structural cells 700 can be stacked and assembled in a load bearing orientation, and buried in a soil system promoting water drainage and tree root growth. A lid or deck 712 (called lid 712 herein) may be used for the hardscape to be placed upon.”

[112] The language of the patent teaches that the lid is optional, depending upon the particular application.

[113] I agree with Dr. LeBrasseur’s evidence that the “top” is the uppermost portion of the structural cell that accepts forces from above such as the weight of hardscape or the weight of other structural cells in the system that are positioned above (LeBrasseur First Report, para 152).

at least approximately 8 inches

[114] Dr. LeBrasseur’s view is that “at least approximately” is a limitation to account for measurement tolerances and that the POSITA would understand “at least approximately eight inches” to refer to a tolerance of plus or minus 1/32 inch. (LeBrasseur Second Report, paras 40-43).

[115] Dr. Kays states that this language is unclear. Dr. Kays argues that the range of “at least approximately” could be between 5 and 8 inches. (Kays First Report, para 43). Dr. Kays’ evidence is that “’at least approximately 8 inches apart’ spans at least two vertical layers” because “in the drawings of the 348 Patent, the systems have two or more vertical layers of cells” (Kays First Report, para 44). I do not agree with Dr. Kays. In reviewing the Patent, the figures are clearly marked to show two separate structural cells when stacked as seen in Figure 17 above.

[116] I agree with the tolerance as explained by Dr. LeBrasseur and I agree that a structural cell with a height of 7 and 31/32 inches would be “at least approximately 8 inches.” I also find that “at least approximately 8 inches” refers to the height of one structural cell.

at least approximately 85%

[117] The phrase “at least approximately 85%” is also a tolerance description. Although Dr. Kays stated that the “at least approximately 85%” was unclear, I agree with Dr. LeBrasseur’s opinion that this would be a number that rounded to 85%, meaning 84.5% or greater. This is a measurement tolerance.

… maintaining the soil within the volume in a low compacted state accommodating natural growth of structural roots of a tree within the volume …

[118] Dr. LeBrasseur’s evidence is that “low compacted state” refers to soil that retains a large enough pore size for it to retain and move air, water and nutrients (LeBrasseur First Report, para 159).

[119] Dr. Kays’ evidence is that “the soil within the volume in a low compacted state” means that the soil material is not compacted to achieve the maximum density, but rather a density much less than the maximum density (Kays First Report, para 48).

[120] Dr. LeBrasseur states that the 348 Patent teaches that the low compacted soil would promote the natural growth of structural roots within the structural cell compared to the highly compacted soils typically present under hardscape in urban areas. (LeBrasseur First Report, 160). Dr. LeBrasseur also states that structural roots are the thicker, larger diameter roots that branch off from the tree’s base and extend downward initially and then outward or laterally to provide the tree with stability. According to Dr. LeBrasseur, structural roots vary in size depending on the type, size and age of tree (LeBrasseur First Report, para 160).

[121] The main point of contention on this claim surrounded the meaning to be attached to “structural roots”. Dr. LeBrasseur’s evidence was that structural roots can be as small as 1 inch, and as large as 1 foot in diameter.

[122] Dr. Kays’ evidence was that structural roots could be as small as 5 mm (Kays Third Report, para 130; Transcript, pp. 1173; Transcript, pp. 1400). However, the source Dr. Kays relied upon in support of this claim, does not state that structural roots could be as small as 5 mm. In Dr. Thomas Perry’s “Urban Forest Soil – a Reference Workbook” he differentiates between “rope-like roots” and “non-woody roots” with “rope like roots” being approximately 1 inch in diameter and “non-woody roots” being 0.008 to 0.19 inches in diameter (Exhibit 76, p 2-33). In Gary Watson’s “Getting the Roots Right: the Structural Root Depth Best Management Practice” describes structural roots as “the large woody roots giving characteristic form and shape to the root system” (Exhibit 77, p 52).

[123] I accept that “large woody roots” and “major woody roots” are different ways of describing structural roots for large trees. I also accept Dr. LeBrasseur’s opinion that “structural roots” are generally greater than 1 inch (Transcript, pp 351). However, based upon the evidence of the experts and their resource materials that there is no generally accepted definition of “structural roots”. I would also note that Mr. Urban, one of the inventors, testified that a structural root is an absorbing root and is not defined by diameter (Transcript, pp 277-278).

[124] I therefore conclude that the reference to structural roots in Claim 1 is not a reference to roots of a particular size necessarily, but rather is a reference to the roots that are vital to the structure and health of the particular variety of tree or shrub for which the system is being designed.

One or more permeable barriers around the structural cells

[125] This language would be understood as referencing the use of a material such as a fiber or geotextile which was well known in the landscaping field to keep matter in the structural cells or to keep matter from entering the structural cell.

Water ingress into / water egress from the plurality of structural cells

[126] This would be understood based upon the words used as not imposing any specific limitation as to how the water enters or exits the structural cell.

Claims 2, 3, 4

[127] These dependent claims are clearly worded and do not require further construction.

Claim 5

[128] This claim is dependent on Claim 4, and therefore Claim 1, and adds the limitation of filtering stormwater.

Claims 7 & 8

[129] These claims dependent on Claim 1, allow for two or more layers of structural cells where one layer holds water and one layer holds soil.

Claims 11 & 12

[130] Both of these claims depend on Claim 1 and teach the use of permeable or impermeable barriers around the structural cell depending upon the particular application.

Claim 13

[131] I agree with Dr. LeBrasseur’s construction of this claim and that it teaches that the structural cell having different functions can be positioned in different layers or in different positions (LaBrasseur First Report, para 183).

Claim 14

[132] To construe this claim, I agree with Dr. LeBrasseur that the POSITA would consult the description of the 348 Patent for direction and would understand that it teaches multiple layered stacks of structural cells where each successive layer protrudes more than the layer below or above (LeBrasseur First Report, para 186).

Claims 16 & 17

[133] According to Dr. LeBrasseur “storm drain inlet” and “roof drain” are terms of art that would be understood as water entering the structural cell through underground piping (LeBrasseur First Report, paras 187-189).

Claims 18, 19, 20

[134] These claims are all dependent on Claim 1 and add limitations to the water ingress and egress in easy to understand terms.

Claim 22

[135] This claim incorporates the Claim 1 limitations and adds the limitation of stormwater passage. I accept Dr. LeBrasseur’s construction that structural rooting medium would be understood to be engineered soil (LeBrasseur First Report para 194-195).

Claim 23

[136] This claim allows for the location of communication lines within the structural cell. The claims language is “the system of claim 1, wherein some of said structural cells include a region for disposing communication lines therein.” This language is clear and does not require construction.

Claim 24

[137] This dependent claim provides that the volume is at least approximately 4068 cubic inches. This language is easily understood.

Conclusion 348 Patent Essential Elements

[138] In identifying the essential elements, it is important to recognize the patent was introduced to solve two problems in the urban green environment – the support of urban trees and the control of stormwater runoff. At the time, the common general knowledge demonstrates that there were various options for stormwater management and there were various approaches to attempt to control tree roots. This Patent’s invention is a solution to both of these challenges in a single product being an integrated tree root and stormwater system.

[139] On the issue of claims construction, I generally prefer the evidence of Dr. LeBrasseur. In my opinion, Dr. Kays did not approach the task of claims construction with a mind willing to understand. Dr. Kays adopted a narrow construction of the claims and was of the view that many of the claims and the diagrams conflicted. In my view, Dr. Kays’ construction of the patent was unduly narrow.

[140] The Court in Halford v Seed Hawk Inc, 2006 FCA 275 at para 13, states “in the process of construing the claims of a patent, a court will identify some elements of the invention as essential. The determination of which elements are essential depends upon the language of the claims, read purposively, and informed by evidence as to how persons skilled in the art would understand the claims.”

[141] Considering the common general knowledge, the POSITA would identify these elements as essential:

  • structural cell for supporting hardscape areas that enables tree root growth and accommodates filtering, retention, storage and infiltration of storm water while preventing hardscape damage

  • the structural cells each comprising a base

  • the structural cells each comprising a top

  • substantially covering the structural cells

  • structural members position to maintain the base and the top at least approximately 8 inches apart

  • at least approximately 85% of the volume can be filled with soil

  • maintaining the soil within the volume in a low compacted state accommodating natural growth of structural roots of a tree within the volume.

599 Patent

[142] The 599 Patent claims in issue are the following:

  1. A structural cell for supporting hardscape, the cell comprising:

A base; and

Periphery support members engaging the base and extending outwardly from said base, for attaching to a base of another cell or a lid and for supporting said hardscape, said support members being size and arranged so that at least approximately eighty five percent of a volume defined by outer edge of said cell is a void space.

  1. The structural cell of claim 1 further comprising said lid attachable to said periphery support members for supporting said hardscape.

  2. The structural cell of claim 2 wherein said lid includes structural members to bear a portion of said hardscape.

  3. The structural cell of claim 3 wherein a portion of the lid is formed of plastic.

[143] While it is necessary to construe the 599 Patent independently from the 348 Patent, the parties agree that the common words and phrases used in both patents are to be given the same meaning and are therefore only construed once. Accordingly, I will only construe the claims unique to the 599 Patent.

Periphery support members engaging the base and extending outwardly from said base, for attaching to a base of another cell or a lid and for supporting said hardscape, said support members being size and arranged so that at least approximately eighty five percent of a volume defined by outer edge of said cell is a void space.

[144] Dr. LeBrasseur describes the periphery support members as being at least two strong rigid structural components positioned around the perimeter of the structural cell. The purpose of each support member is to provide strength and rigidity to the structural cells and to transmit loads from either a lid or another structural cell positioned above the frame down to the base. (LeBrasseur First Report, para 307). He notes that the 599 Patent does not limit the configuration of the structural members. I agree that the only requirement of the structural members is that they support the hardscape.

[145] With respect to the void space, the experts agreed that the skilled person would understand “at least approximately eighty five percent void space” as being void space available for uncompacted soil or stormwater.

Claim 2

[146] Claim 2, which is dependant on Claim 1, speaks to the lid which attaches to the periphery support members. Dr. LeBrasseur’s construction is that Claim 2 incorporates all the limitations of Claim 1 and adds a requirement for a lid that is configured so that it can attach to the support members. Dr. LeBrasseur explains that the purpose of the lid is to provide a horizontal surface that accepts the distributed load of the hardscape and directs the load to the periphery support members. (LeBrasseur First Report, para 318). I agree with this construction.

Claims 3 & 4

[147] Claim 3 incorporates the limitations of Claims 1 and 2 and adds the requirement that the lid includes structural members to bear a portion of the load of the hardscape. Dr. LeBrasseur states that this requires that the lid include reinforcement to provide additional strength and to distribute the loads from the hardscape from the center of the lid to the periphery supporting members. This does not require a particular configuration or type of reinforcement. Reinforcement could include pieces affixed to the lid or structure integrated into the lid as one piece at the time of manufacturing. (LeBrasseur First Report, para 320)

[148] Dr. Kays’ construction is that “a portion of the lid is formed in plastic” in Claim 4 refers indirectly to two metal bars that provide structural support in the lid (Kays First Report, para 74). Dr. Kays claims that without the metal rods the system will be subject to failures (Kays First Report, para 100-103). However, there is no evidence to support this assertion, and Dr. Kays had no first hand knowledge or evidence on the purported failures of DeepRoot’s commercial product. In any event, DeepRoot’s commercial product is not at issue in construing the patents in suit.

[149] There is no language in the 599 Patent to support Dr. Kays’ construction that two metal rods are required. The claim refers to structural members. In my view, Dr. Kays has read this element into the 599 Patent and there is nothing in the patent language to suggest that this is an essential part of the claim.

Conclusion 599 Patent Essential Elements

[150] Considering the common general knowledge, the POSITA would identify these elements as essential:

  • A structural cell for supporting hardscape

  • A base

  • Periphery support members

  • At least approximately eighty five percent void space.

  • A lid.

Infringement

Legal Principles

[151] The exclusive rights associated with a patent are outlined in section 42 of the Act.

[152] The Supreme Court in Free World Trust at para 55, states:

It would be unfair to allow a patent monopoly to be breached with impunity by a copycat device that simply switched bells and whistles, to escape the literal claims of the patent. Thus the elements of the invention are identified as either essential elements (where substitution of another element or omission takes the device outside the monopoly), or non-essential elements (where substitution or omission is not necessarily fatal to an allegation of infringement).

[153] Therefore, there is infringement if the product has the essential elements of the claim, regardless if a non-essential feature is omitted or substituted (Whirlpool at para 46).

[154] GreenBlue argues that the RootSpace was designed away from the SilvaCell and is a superior structural cell product. However, section 32 of the Patent Act is clear that improvements do not entitle a person to “obtain the right of making, vending or using the original invention”. The case law is also clear that improvements over the patented invention are not relevant to the question of infringement (MIPS AB v Bauer Hockey Ltd, 2018 FC 485 at para 182; Bessette v Quebec (Attorney General), 2019 FC 393 at para 244).

[155] The burden of proving infringement is on DeepRoot who must establish that GreenBlue has infringed or induced infringement of the asserted claims of the 348 and 599 Patents by making, using, or selling the RootSpace products (Eli Lilly and Company v Apotex Inc, 2009 FC 991 at para 211, aff’d 2010 FCA 240).

GreenBlue Product Development

[156] I acknowledge that the background to the development of the RootSpace product is not strictly relevant to the infringement analysis. However, GreenBlue’s product development provides useful context for this analysis.

[157] On behalf of GreenBlue, Mr. Bowie testified that he has been in the landscaping business since the early 1990s. He provided background information on: product development; concept development; research and development; testing of products both in the field and in laboratories; load testing; engineering; and marketing. Historically, he marketed products aimed at tree root management such as “ReRoot” and “Root Directors”. Mr. Bowie explained the evolution of the business from root control products to the use of grass rings in the 2000s.

[158] In a document dated October 2000, GreenLeaf, the predecessor company to GreenBlue, described the evolution of tree root management products in “Advanced Tree Pit Systems: The Problem – A Brief Analysis” (Exhibit 31, p 37) that explains as follows:

Tree roots require space, nutrient, moisture and oxygen to thrive. Paved surfaces require solid, compacted ground to support pedestrians and vehicular over run…. Root Directors and ReRoot Barriers will deflect root growth downwards thus safe guarding pavements from root damage. What is required is optimal rooting conditions at the root dispersal level to allow the root system to develop at a safe depth.

[159] The Advanced Tree Pit system document (Exhibit 31, p 37) notes that landscape professionals used sand/soil mixes with some success but that sand/soil mixes can suffer from waterlogging. It also notes that under the average city pavement, space is limited because tree roots are forced to compete for space with utilities such as gas, water, electric, sewage and fiber-optic cables. Exhibit 31 explains GreenLeaf’s solution, stating:

Our solution is to utilize a load bearing, recycled plastic structure which will give 92% topsoil volume. The system can be easily assembled in modules to suit the available space and ‘loaded’ with an appropriate local topsoil. The plastic cell structure acts as a soil ‘skeleton’ carrying any loading applied on top of the soil zone. The soil remains uncompacted even when severe loadings are applied. (See tests completed)

The system can be used in conjunction with Root Directors, ReRoot Barriers and Root Tain irrigation/aeration systems. The long term root zone of the tree can be monitored to a certain extent and care for as necessary.

[160] The “plastic cell structure” referenced are the first generation RootCell, as shown below:

[161] GreenLeaf marketed their “Advanced Tree Pit Design” to architects and others in the urban landscaping business in their 2002 product catalogue (Exhibit 31, pgs 11-34, 73). According to Mr. Bowie, he estimates that GreenLeaf distributed approximately 6,000 copies of their product catalogue in the fall of 2002 (Transcript, pp 602).

[162] GreenLeaf also undertook compression testing of the RootCell in March 2001 (Exhibit 31, p 53-61) as well as soil analysis to ascertain the optimal soil mixture (Exhibit 31, p 62-67). Evidence of sales of RootCell modules was also presented (Exhibit 31, p 98).

[163] With respect to the effectiveness of the RootCell system, GreenBlue relies upon a Root Investigation report prepared by Tree Radar on May 23, 2014 (Exhibit 31, p 106-137) as proof that the system worked as intended. The author of the report conducted radar readings at the Blackheath Hill planting site where GreenBlue planted the first tree using the RootCell system. The objective of this report was to determine the presence of roots by using ground penetrating radar. The conclusion of this report is as follows:

The tree radar picks up roots with a diameter greater than 20 cm deep, and from these will be finer roots with a smaller diameter. The larger roots (20 cm and above) are important for stability and transporting water and nutrients to the tree. The finer roots obtain the water and nutrients. The life span of the finer roots is very variable and they proliferate where conditions are favourable.

The physiological needs of the tree are clearly being met. The underground system has resulted in roots growing below the pavement fill and spreading reasonably uniformly under the pavement to obtain all it needs. (paras 6.1-6.2)

[164] Although Mr. Bowie was extensively cross-examined on this radar report, as he was not the author of the report, I accept the report for what it says. However, overall the report does not assist GreenBlue as it is a study of the RootCell system and I do not accept the RootSpace product is the inventive evolution from RootCell.

[165] Mr. Bowie explained that GreenBlue introduced the second generation RootCell toward the end of 2003. He also stated that this design was shared with an Australian company, CityGreen, who created a larger version of the second generation RootCell.

[166] In cross-examination, Mr. Bowie acknowledged that the second generation of RootCell was not publicly available by January 15, 2004 or January 14, 2005 (Transcript, pp 845). Mr. Bowie also acknowledged that the second generation of RootCell is not referenced in any of the GreenLeaf product brochures from 2002, 2003, 2004, 2005 or 2006 (Transcript, pp 845-846).

[167] According to Mr. Bowie, RootCell was a very successful product for GreenBlue and they sold over a million units (Transcript, pp 671).

[168] In 2007 GreenBlue developed the StrataCell, described as “the fourth-generation of soil cell development…the StrataCell provides a large module with more space for extensive root growth in large-canopy trees” (Exhibit 31, p 159). The StrataCell is pictured below:

[169] Mr. Bowie explained that the StrataCell larger design was intended to perform the same function as the RootCell, but because of the larger size, it was more efficient to ship and to install (Transcript, pp 674). Mr. Bowie says that the StrataCell performed well in the landscape market and it continues to be sold.

[170] Following StrataCell, the next major product development for GreenBlue was the RootSpace system. Mr. Bowie’s testimony at trial regarding the development of the RootSpace product is reproduced below:

Q: So what led to the development of [the RootSpace system]?

A: Well, we were selling – at this time we were selling quite a lot of soil cells, RootCells and StrataCells. They really had become the heart of our business and treatment design. They were – both parts that were successful and well known, but we wanted to bring down the costs of larger installations.

In the early days, we were struggling to get architects to accept that instead of doing a 1 metre by 1 metre by 1 metre tree pit, they had to do a 5 or a 10 or 12 cubic metre.

Well, by this stage that we are now, which is – you know, we’re talking about, we’ve had StrataCell for perhaps the three or four years, we’re talking 20 – 2013, in that kind of era, we’re having engineers and tree officers coming and saying we really love this idea, this concept but we want bigger tree pits and what can you do to make them more affordable and still keep all the load bearing capabilities and so on.

So there was a thought process that started then, and, but we didn’t really get a breakthrough probably until about – because I couldn’t work out – I was looking at the StrataCell and RootCell and thinking how can we improve this.

By that time of course we are aware of the SilvaCell and I had looked at that and really it didn’t give the properties I need to sell with confidence. It had less than the – it was about a third of the loading capabilities of a StrataCell and even less than that for RootCell.

So I realized that what was really needed was a paradigm shift in the way we were doing things. For example, the SilvaCell had hollow legs. I didn’t want that in the design because it’s a waste of soil space. The metal rods I was worried about. I didn’t want a product that needed to integrate metal to get its load bearing that worried me. And I had target soil volumes to aim for.

It took quite a while to work out how we were going to do this, and this might just illustrate how we had the breakthrough. We sell products a lot in London. We travel up on the train -- this might be the seem irrelevant but you'll see why I'm telling you this in a minute -- we travel on the train into London for work quite a lot, and the last quarter of a mile of our journey ends in Charing Cross Station.

Now, when you rumble across that last bridge across the Thames into Charing Cross there's an excellent view both sides. You can look down the river at the HMS Belfast, which is a Second World War cruise, or you can look up the river and see the Houses of Parliament, Westminster Tower, Big Ben, the wheel and so on. The problem is that this view is partially obscured by the structure of the bridge.

Now, that bridge is like a steel lattice structure. And I used to rumble across this and think this bridge is bearing colossal loads. How is it doing it? And so it occurred to me that that principle of using a lattice structure with spars which don't take up space in soil could actually be utilized to design a soil panel system, which is a massive shift from anything we had done before. And so it was almost like going back to the drawing board and starting again but we've been given parameters to achieve. And that is what led to RootSpace. (Transcript, pp 681-683).

[171] The following is the RootSpace both assembled and its component parts:

[172] GreenBlue began designing RootSpace in 2014 and started advertising it in March 2016. The first sale in Canada of RootSpace structural cell system was on April 27, 2017 (Agreed Statement of Facts). In October 2017, RootSpace was used at the Jack Layton Ferry Terminal in Toronto.

Analysis

[173] The infringement analysis asks if the RootSpace has the essential elements of the 348 Patent. The essential elements of the 348 Patent are as follows:

  • structural cell for supporting hardscape areas that enables tree root growth and accommodates filtering, retention, storage and infiltration of storm water while preventing hardscape damage

  • the structural cells each comprising a base

  • the structural cells each comprising a top

  • substantially covering the structural cells

  • structural members position to maintain the base and the top at least approximately 8 inches apart

  • at least approximately 85% of the volume can be filled with soil

  • maintaining the soil within the volume in a low compacted state accommodating natural growth of structural roots of a tree within the volume.

[174] GreenBlue does not dispute that the RootSpace system satisfies most of the essential elements of the 348 Patent. In the Agreed Statement of Facts, GreenBlue admits that the structural cell system uses a series of structural cells positioned below a hardscape to enable tree root growth and accommodate filtering, retention, storage and infiltration of stormwater while preventing hardscape damage. The structural cells of the RootSpace system are designed to bear substantially the entire load of both the hardscape and commercial vehicle traffic, while maintaining the soil within the volume in a low compacted state accommodating natural growth of structural roots of a tree within the volume. GreenBlue also agrees that the RootSpace is a structural cell soil system with modular components providing for high volumes of uncompacted soil for healthy tree root growth below hardscape surfaces.

[175] DeepRoot relies upon the opinion of Dr. LeBrasseur who states that RootSpace products satisfy all the limitations of Claims 1 to 3, 7, 11, 12, 16, 18 to 20, 23 and 24 of the 348 Patent and all the limitations of Claims 1 to 4 of the 599 Patent. (LeBrasseur First Report, para 359).

[176] Dr. LeBrasseur states in his June 14, 2020 Report that installations of the RootSpace Products satisfy Claim 1. Dr. LeBrasseur states “the RootSpace Products are open frame like structures. In particular, a frame is formed by connecting four RootSpace panels. Connecting four panels together creates a box shaped frame of panel assembly. In my opinion, each panel assembly shown below…is a structural cell.” (paras 207-209)

[177] According to Dr. LeBrasseur “the RootSpace cell has openings sufficiently sized to allow soil and tree roots to pass through the frame. GreenBlue markets the RootSpace cell as an ‘open structure’ for ‘fast filling and class leading soil void ratio’. This makes the RootSpace Cells open structures as required by claim 1.” (LeBrasseur First Report para 210)

[178] Further, Dr. LeBrasseur states that RootSpace satisfy the three functions required of structural cells. RootSpace enables tree root growth by providing “uncompacted soil volumes – beneath heavily engineered pavements and roadways”…GreenBlue’s product information is replete with references indicating that the uncompacted soil provided by RootSpace promotes tree root growth. The RootSpace cells can also accommodate filtration, retention, storage and infiltration of stormwater. The RootSpace Cells are designed and marketed to be used for stormwater management (LeBrasseur First Report, paras 214-216).

[179] By contrast, GreenBlue’s expert, Dr. Kays, states that there is no infringement because the RootSpace product does not have a base which is an essential element of Claim 1 of the 348 Patent and upon which all the other claims depend. The absence of a “base” according to GreenBlue, is the core distinguishing feature between the RootSpace product and the 348 Patent and the 599 Patent.

[180] As GreenBlue has essentially conceded that the RootSpace product otherwise contains most of the other essential elements, I will focus my analysis on whether RootSpace has a “base”, a “top”, and “at least approximately 85% of the volume can be filled with soil”.

A Base

[181] A base is called out in Claim 1, and all the other claims are dependant upon Claim 1, therefore all of the patent claims require a base.

[182] Dr. Kays states that the RootSpace product does not infringe Claim 1 of the 348 Patent because it lacks a “base” (Kays second Report p. 25-28). In his report and during his evidence, Dr. Kays was adamant that the RootSpace does not have a base. However, this position is contradicted by GreenBlue’s own evidence in the RootSpace Installation and Maintenance Instructions where GreenBlue writes “ensure panel pins locate x2 top and x1 base with a click” (Exhibit 31, p. 164).

[183] I have construed the “base” to mean the lowermost portion of the structural cell intended to provide a stable foundation. I find that the RootSpace does have a “base” as described by the 348 Patent. As a result, I do not accept Dr. Kays’ opinion that the RootSpace does not infringe because it lacks a “base”.

A Top

[184] Dr. Kays construes the “top” as referring to the horizontal top component also referred to as the lid or deck. As noted above in the construction analysis, the “top” refers to the uppermost portion of the structural cell which accepts forces from above such as the weight of hardscape or the weight of other structural cells positioned above. I therefore conclude that RootSpace has a “top”.

At least approximately 85%

[185] GreenBlue has advertised RootSpace as having “over 95% usable void space.” This therefore satisfies the essential element of Claim 1 that “at least approximately 85% of the volume can be filled with soil”.

Conclusion – 348 Infringement

[186] I conclude that GreenBlue with the RootSpace product has infringed Claim 1 of the 348 patent. As all the other claims of the 348 Patent are dependant on Claim 1, infringement of the 348 patent has been established.

599 Patent

[187] I conclude that the RootSpace product also infringes the essential elements of Claims 1-4 of the 599 Patent. The RootSpace product has a base, “for attaching to a base,” periphery support members, outer edges, and a lid. The RootSpace product has a lid made out of plastic. The RootSpace product has all the essential elements of the 599 Patent.

[188] With respect to the lid described in the 599 Patent, GreenBlue relies on Dr. Kays’ evidence that the lid requirement includes 2 metal rods. GreenBlue argues that as the RootSpace does not contain any metal, it does not infringe the 599 Patent.

[189] As stated above, I do not accept GreenBlue’s position that metal rods are an essential element of the 599 Patent.

[190] I conclude that the RootSpace product infringes the 599 Patent.

Validity

Anticipation

[191] GreenBlue argues that the claims asserted in the 348 and 599 Patents were not new at the relevant time being the claim date which is the priority date of January 15, 2004, and the subject matter was disclosed and anticipated by the GreenBlue prior art depicting the RootCell system. I note that the second generation of the RootCell was not publicly available at the relevant time. Therefore, this analysis is done considering if the first generation RootCell prior art fully anticipates the patents.

[192] As noted by the Supreme Court in Free World Trust at para 26:

The test for anticipation is difficult to meet:

One must, in effect, be able to look at a prior, single publication and find in it all information which, for practical purposes, is needed to produce the claimed invention without the exercise of any inventive skill. The prior publication must contain so clear a direction that a skilled person reading and following it would in every case and without possibility of error be led to the claimed invention.

[193] The Supreme Court in Sanofi at paras 26-27 outlined the two-part test for anticipation as (a) disclosure, and (b) enablement. The test was explained in Hospira Healthcare Corporation v Kennedy Trust for Rheumatology Research, 2020 FCA 30 at para 66:

It is useful to note that there are two requirements for establishing that a prior art anticipates:

1) the prior art must disclose the claimed invention such that, if performed, it would necessarily result in infringement; and

2) the prior art reference must be sufficiently detailed to enable a PSA to perform the claimed invention without the exercise of inventive ingenuity or undue experimentation”

GreenLeaf 2002 Catalogue – Prior Art

[194] GreenBlue says the subject matter of the 348 Patent and the 599 Patent were fully anticipated by prior art found in the GreenBlue (then Greenleaf) catalogue published in 2002 (Exhibit 31) which depicts in part as follows:

[195] This catalogue was marketed extensively and RootCells were installed at Poole, the Old Bailey, Wembley Stadium and Blackheath.

Other Prior Art

[196] GreenBlue also points to the following prior art (as discussed in the Common General Knowledge section above) in support of its anticipation arguments:

  • Urriola 343 drainage cell being a system of interlocking frames used for subsurface drainage consisting of cells with a rigid plastic top, bottom, and vertical spacer members.

  • Urriola 946 drainage structures of interlocking frames for subsurface drainage and plant growth.

  • Urriola 510 underground drainage system of perforated wall modules supporting hardscape.

  • Bohnhoff 718 Subsurface Fluid Drainage and Storage systems of rigid plastic interlocking circular cell stacking layers by the RainStore company.

  • Bohnhoff 870 underground storage system for water

  • Burkhart 609 modules for an underground assembly for stormwater retention or detention.

[197] According to Dr. Kays (First Report, paras 81- 88), the invention described in Patent 348 and Patent 599 were not new concepts. In his opinion, the 2002 GreenLeaf Catalogue disclosed the RootCell system with rigid plastic interlocking structural cells with a base, a top, and vertical supporting members used for subsurface drainage and, or vegetation planters, under hardscapes, roadways, parking lots which fully anticipates the 348 Patent.

[198] Dr. Kays states that the Urriola 946 drainage structure is a structural cell system, and by utilizing a series of interconnected cells it can be built to any height, width and length, and thereby meeting all of the claim terms in the 348 Patent.

[199] Regarding the 599 Patent, Dr. Kays in his First Report (para 87) notes that the 599 Patent did not include the “at least approximately 8 inches apart” claim language but did require “at least approximately 85% of the volume defined by outer edges of said cell is a void space.”

[200] In his opinion, the GreenLeaf Prior Art systems were used for subsurface drainage and/or vegetation planters, under hardscapes, roadways, parking lots, with a base component with crossing connectors and periphery support members and thereby meets all the claims in the 599 Patent.

[201] As well, according to Dr. Kays with the Urriola 946 Drainage Structures is a structural cell system, utilizing a series of interconnected cells, and uses a base and periphery support members and meets all of the claims of the 599 Patent.

[202] Dr. Kays also claims that the Bonhoff 718 Subsurface Fluid Drainage and Storage System is a structural cell system utilizing a series of interconnected cells and can be layered to achieve an 8-inch height. This, according to Dr. Kays, meets all of the claims in the 599 Patent.

[203] By contrast, Dr. LeBrasseur in his Second Report states:

I disagree with Dr. Kays’ opinions on anticipation. I have reviewed each of the prior art references in detail and it is my opinion that not one of the prior art references, taken alone, provides information or knowledge that would have disclosed or enabled all of the elements of any claim of the 348 Patent or 599 Patent for the skilled person…The RootCell is not a structural cell as defined in the 348 Patent because it is not a frame-like open structure…There is no continuous void space that extends through and between neighbouring cylinders. The skilled person would not understand the RootCell product as allowing unimpeded lateral growth of structural roots (or any roots) through neighbouring cylinders. (para 138; 143)

Anticipation - Disclosure

[204] Conceptually, the GreenLeaf RootCell prior art at pages 17-18 is compelling in the sense that it captures the essence of a modular subsurface system that is scalable and that accommodates tree growth and water runoff while supporting the hardscape above. However, as discussed below, the RootCell system does not meet either the disclosure or the enablement requirements so as to meet the anticipation test for the 348 Patent and the 599 Patent.

[205] The RootCell system lacks essential elements of the 348 Patent. First, the RootCell system is not an open frame structure. Second, the RootCell is described as 140 mm, or 5.5 inches high, thereby not meeting the base and top that are at least approximately 8 inches apart. Although by stacking RootCells, it is possible to meet the “at least approximately 8 inches apart” criteria, stacking does not achieve the open structure requirement. Although there is disagreement on the available volume within and around the RootCell cylinder, I conclude that based upon the evidence, the RootCells would not allow woody or structural tree roots to grow through its small apertures (Transcript, pp. 1477).

[206] Further, Dr. Kays acknowledged during cross examination that the only way the RootCell prior art anticipates the 348 Patent or the 599 Patent is if a geotextile product is considered a base and a top (Transcript, pp. 1464). However, Dr. Kays also acknowledged during cross-examination that the prior art does not disclose the use of a geotextile product below the RootCell itself (Transcript, pp. 1464).

[207] Dr. Kays’ evidence on the RootCell system is inconsistent with his evidence on the RootSpace system regarding a “base” and a “top” which is problematic as GreenBlue asks the Court to draw the conclusion that the RootSpace system was a scaled up version of the RootCell system.

[208] My conclusion is that the RootCell system prior art does not anticipate the 348 Patent and the 599 Patent. There is no indication that the RootCell prior art could accommodate the retention, storage and filtration of stormwater, substantially support the hardscape or enable structural tree roots to grow. Finally, the RootCell prior art does not provide for the use of a lid as required by the 599 Patent.

[209] Even the public installations of the RootCell product, including the Fernside Avenue installation at Poole, the Old Bailey, Wembley Stadium, and Blackheath, would not lead the POSITA to fully anticipate the invention. In my view, the strongest evidence in support of the anticipation argument is the GreenLeaf Catalogue prior art, and that is insufficient.

Anticipation - Enablement

[210] Although the POSITA is granted some trial and error leeway in order to allow the prior art to function (Sanofi para 27), in my view, even with liberal trial and error the RootCell prior art does not disclose the invention and allow for enablement.

[211] The grass rings disclosed in Urriola 946 are designed to support grass on a shallow basis. This does not anticipate a deep rooting system or anticipate the unique rooting challenges with trees.

[212] Further, the other prior art fails to disclose the essential elements. Most importantly the majority of the other prior art is focused on and primarily designed for water management. I do not accept that products that are designed to store water would lead the POSITA, even with trial and error, to arrive at an alternative use of the product to accommodate and support tree growth.

Burkhart 609

[213] GreenBlue argues that Burkhart 609, which was filed in Canada before the priority date, anticipates the 599 Patent. The Burkhart 609 patent is for a stormwater drainage system. The system is not designed to allow or promote tree growth. In fact, the Burkhart 609 patent teaches the use of pre-cast concrete structures to control the flow of water. The use of concrete would teach away from the growth of tree roots.

[214] Dr. Kays asserts that the 599 Patent was anticipated by the GreenLeaf 2002 RootCell catalogue, and the Urriola, and Bonhoff patents. However, there is no evidence before the Court that the prior art has “at least approximately 85% of the volume defined by outer edges of said cell is a void space.” This is an essential claim of the 599 Patent.

[215] I therefore conclude that there was no anticipation of the 348 Patent or the 599 Patent.

Gilette Defence

[216] The Federal Court of Appeal recently described the Gillette defence in Western Oilfield Equipment Rentals Ltd v M-I LLC, 2021 FCA 24 at para 75, as follows:

The Gillette defence gets its name from the U.K. House of Lords decision in Gillette Safety Razor Company v. Anglo-American Trading Company Ltd. (1913), 30 R.P.C. 465 (Gillette). This case gave rise to the principle that if a defendant is accused of infringing a patent with a product that is the same as, or not patentably distinct from, the prior art, the patentee finds itself on the horns of a dilemma in pursuing its claim; in the words of Lord Moulton in Gillette at 480:

[…] If the claims of such a Patent were so wide as to include [the Defendants’ product], the Patent would be bad, because it would include something which differed by no patentable difference from that which was already in possession of the public. Such a Patent would be bad for want of novelty. If the Claims were not sufficiently wide to include the Defendants’ [product], the patentee could not complain of the public making it. In other words, the Defendants must succeed either on invalidity or on non-infringement.

[217] GreenBlue argues that the Gillette defence applies here because based upon a broad interpretation of the claim language, the RootCell is covered by the patent claims and therefore anticipates the claims or renders them obvious. While, on a narrow interpretation of the claim language, the RootSpace is not covered by the patent claims and therefore does not infringe.

[218] To accept this premise I would also have to accept the premise that the RootSpace product is the evolutionary continuation of the RootCell product. As noted above in the infringement analysis, I do not accept this premise.

[219] I agree with Dr. LeBrasseur’s conclusion that “I identified the differences between the claims of the 348 Patent and the RootCell system…As explained below, the skilled person would not overcome these differences directly and without difficulty. Rather, going from [the RootCell] to the 348 Patent would require inventive ingenuity” (LeBrasseur Second Report, para 224).

[220] I also note that the RootCell system does not functionally meet the same goals as either the 348 Patent or the 599 Patent.

[221] On a broad interpretation of the claim terms, the RootCell is not covered by the Patent claims because it lacks essential elements of both the 348 Patent and the 599 Patent. On a narrow interpretation of the claim terms, the RootSpace is covered by the patent claims and does infringe.

[222] Therefore, I conclude that the Gillette defence does not apply.

Obviousness

[223] Section 28.3 of the Patent Act requires that the “subject matter of a claim not be obvious to a person skilled in the art” in light of the relevant common general knowledge.

[224] The Supreme Court in Sanofi laid out the framework for obviousness assessments at para 67, as follows:

(1) (a) Identify the notional “person skilled in the art”;

(b) Identify the relevant common general knowledge of that person;

(2) Identify the inventive concept of the claim in question or if that cannot readily be done, construe it;

(3) Identify what, if any, differences exist between the matter cited as forming part of the “state of the art” and the inventive concept of the claim or the claim as construed;

(4) Viewed without any knowledge of the alleged invention as claimed, do those differences constitute steps which would have been obvious to the person skilled in the art or do they require any degree of invention?

[225] Obviousness is assessed as of the claim date of January 15, 2004, with regard to the information publically disclosed by that date (Hospira paras 85-86).

[226] My conclusions on the POSITA and the common general knowledge addressed above apply to this analysis.

[227] The inventive concepts in the 348 Patent and the 599 Patent are a subsurface structural cell system that supports the hardscape, enables stormwater retention and filtration as well as allowing tree roots to grow in uncompacted soil.

[228] GreenBlue relies upon a mosaic of the prior art discussed above in support of its argument that the 348 and 599 Patents were obvious and therefore not valid.

[229] In Dr. Kays’ first report then notes at paragraphs 128-130 that prior to 2000, plastic chambers for wastewater and stormwater systems had begun to dominate the on-site systems. He claims that the Urriola 946 Patent provided an indication to make larger sizes and the Urriola 510 Patent demonstrated larger modules. He points to the Burkhart Patent which disclosed modules with sizes of 12 inches or more. According to Dr. Kays, the DeepRoot design in the 348 and 599 Patents provided no real difference over the Prior Art.

[230] On the height of the structural cell, Dr. Kays claims that the difference in height can be overcome by layering. The 348 Patent proposes a height of 8 inches, however, the Urriola, the Bonhoff and the RootCell can be stacked to achieve the height claim. He claims the circular interconnected units in the RootCell, Bonhoff and Urriola systems provide the base, top, and vertical structural members claimed in the 348 Patent.

[231] Concerning the 599 Patent, Dr. Kays writes in his first report: “I have compared the 599 Patent to the Prior Art documents. The 599 Patent claim 1 eliminates the height requirement and reduces the language to only deal with a single structural cell rather than a plurality of horizontal or vertical cells. The 85 percent criteria was changed to apply only to the void volume. Therefore, the 599 Patent did not contain any improvement over the Prior Art systems.”

[232] The abstract of the Urriola 343 entitled “Drainage Cell” reads as follows:

… a rigid cell-like structure primarily for use under gardens and roads where it is required to provide food drainage…the perforate nature of both surfaces and the disposition of spacer members being such that gases or liquids may freely pass through the composite structure… (Exhibit 75, pp 555).

[233] I find that the Urriola 343 Patent is aimed at water management.

[234] The abstract of the Urriola 946 Patent entitled “Drainage Structures” reads as follows:

…this drainage structure can also be filled with good drainage soil and planted with grass to filter and retain water that passes therethrough, with a layer of filter medium below and a water permeable drain below the filter medium, to transport water into the substrate and into a reticulation tank where the water can percolate back into the soil.

[235] I find that the Urriola 946 is also aimed at water management. Although the Urriola 946 notes that grass can be used to aid water filtration and retention, however, there is no mention of enabling tree root growth.

[236] I also find that the Urriola 510 Patent entitled “Underground Drainage System” is aimed at water management in the form of an underground cistern (Exhibit 75, p 591-605).

[237] The abstract of the Bonhoff 718 entitled “Subsurface fluid drainage and storage systems” reads “there is provided by the invention a subsurface drainage system which promotes efficient and controlled subsurface drainage of fluids, such as irrigation water, applied to the surface of land such as a football field.” (Exhibit 75, p 607).

[238] The Bonhoff 870 (Exhibit 75, 623-636) is also an “invention generally [related] to systems for subsurface fluid drainage and storage, and more particularly to a system and method for vertically stacking in a nested relation an apparatus especially suited for promoting, directing, and storing rain and irrigation water drainage on and/or below the land’s surface” (Exhibit 75, 633).

[239] The Bonhoff 609 entitled “methods and modules for an underground assembly for storm water retention or detention” is similarly focused on managing stormwater (Exhibit 74, p 640).

[240] Dr. Kays presents a number of arguments as to how the prior art of the various stormwater systems could be, with a few steps, utilized to do what the 348 and 599 Patents teach. I agree that they are similar to the extent they provide a subsurface solution. However, that is where the similarities end. In my view, the prior art does not lead the POSITA to the structural cell that supports the hardscape, manages stormwater, and allow tree roots to grow in uncompacted soil. In other words, the structural cell system creates conditions that allows for all three goals to be met. The invention is not the mere act of assembling the structural cell under the surface; rather, it is the creation of conditions and an environment that encourages and supports healthy urban tree growth and the management of stormwater.

[241] Ultimately, in the obviousness analysis the issue is the difference between what is claimed and the prior art. I do not agree that, the POSITA, armed with the common general knowledge with no inventiveness would arrive at the 348 Patent or the 599 Patent based upon the patents cited above.

[242] Of the prior art that GreenBlue relies on, the only prior art that speaks to tree growth is the GreenLeaf RootCell brochure. I will consider this prior art by reference to the “obvious to try” Sanofi factor and the list of the considerations to be taken into account as outlined at paragraphs 69 to 70:

[69] If an “obvious to try” test is warranted, the following factors should be taken into consideration at the fourth step of the obviousness inquiry. As with anticipation, this list is not exhaustive. The factors will apply in accordance with the evidence in each case.

1. Is it more or less self-evident that what is being tried ought to work? Are there a finite number of identified predictable solutions known to persons skilled in the art?

2. What is the extent, nature and amount of effort required to achieve the invention? Are routine trials carried out or is the experimentation prolonged and arduous, such that the trials would not be considered routine?

3. Is there a motive provided in the prior art to find the solution the patent addresses?

[70] Another important factor may arise from considering the actual course of conduct which culminated in the making of the invention. It is true that obviousness is largely concerned with how a skilled worker would have acted in the light of the prior art. But this is no reason to exclude evidence of the history of the invention, particularly where the knowledge of those involved in finding the invention is no lower than what would be expected of the skilled person.

[243] The Federal Court of Appeal in Apotex v Pfizer, 2019 FCA 16 at para 32, warned that caution must be exercised in the obvious to try test:

Following Sanofi, our Court in Atazanavir echoed the Supreme Court’s consideration of obviousness by reiterating that the “obvious to try” test must be approached with caution as it remains one factor amongst many that may assist in the obviousness inquiry.

[244] I agree with Dr. LeBrasseur when he states that “the gap between the original RootCell and the DeepRoot patents is too vast to bridge without inventive ingenuity…indeed, it took GreenBlue over a decade to arrive at a suitable open design…for which GreenBlue has sought its own patent protection.”

[245] As noted above, I do not accept that the RootSpace product was the natural next step, or the natural evolution from the RootCell product. In fact, GreenBlue itself confirmed that design changes were necessary to create RootSpace from the second generation RootCell.

[246] The RootCell prior art, while purporting to address the challenge of growing trees in the urban environment, depended upon an entirely different system that did not feature an “open” design. In fact, even considering the RootCell prior art in combination with the other prior art, I am not convinced that the POSITA would have arrived at the open concept. The prior art was in fact counter intuitive to an open design, and where there was something akin to an open design, such as grass rings and RootCells, the opening available for vegetation were too small and too restricted so as to make it obvious to get to a product described in the 348 and 599 Patents.

[247] I note as well that DeepRoot’s SilvaCell product was awarded a most innovative product award by the American Society of Landscape Architects and the reception of the SilvaCell within the industry was described as tremendous.

[248] I conclude that based upon the differences in the prior art, including RootCells, there are no steps which would have been obvious to the person skilled in the art to arrive at the inventions in the 348 and 599 Patents.

Ambiguity

[249] In support of the ambiguity claim, GreenBlue argues that the claims are invalid because the words and phrases of the claims are not clearly defined, are indefinite and are ambiguous.

[250] The Court has affirmed in Bayer Inc v Apotex Inc, 2016 FC 1013 at para 173, that “a claim is ambiguous when the patent fails to define the nature of the invention. According to Justice Hughes, ‘ambiguity is truly a last resort, rarely, if ever, to be used’ (Pfizer Canada Inc v Canada (Minister of Health), 2005 FC 1725 at para 53).”

[251] As stated in Letourneau v Clearbrook Iron Works Ltd, 2005 FC 1229 [Letourneau] at para 37, that “a claim is not invalid simply because it is not a model of concision and lucidity.”

[252] Dr. Kays took issue with various words and phrases in the 348 and 599 Patents. In his first report at paragraph 105, Dr. Kays states “I have reviewed and determined that there are a number of claims of the 348 Patent that are unclear, lack definiteness and are ambiguous.” He points to the following:

  1. ‘preventing hardscape damage’ – lacks definiteness and is ambiguous because it does not indicate with precision the type of damages

  2. ‘substantially covering’ – lacks definiteness as to what constitutes substantial

  3. ‘at least approximately 8 inches apart’ is clearly ambiguous by merging a definite term ‘at least’ with a vague term ‘approximately’. It is impossible for the combination to be anything but unclear

  4. ‘the base, top, and structural members collectively defining a volume’ – does not make sense due to the fact that three of the illustrations show multiple layers and only one top

  5. ‘at least approximately 85%’ – is clearly ambiguous by merging a definite term ‘at least’ with a vague term ‘approximately’. It is impossible for the combination to be anything but unclear.

  6. ‘substantially the entire load’ – lacks definiteness in that the structural cell system either carries the entire load or it does not carry the entire load.

[253] In my opinion, Dr. Kays did not approach the patents with a “mind willing to understand.” His approach to construction was an excessively literal, and even if the words chosen could have been more concise, more is needed to find the patents are invalid for ambiguity.

[254] There is no merit to the ambiguity arguments.

Overbreadth and Insufficiency

[255] GreenBlue argues that the patents are overbroad or insufficient on the following grounds:

  1. Claims an available soil volume of 85% to 95% or alternatively higher than 95%;

  2. Omits a base with cross connectors; and

  3. Omits a top or lid with two metal rods.

[256] The Federal Court of Appeal in Pharmascience Inc v Pfizer Canada Inc, 2011 FCA 102 at paras 40-41, stated that:

[40] if the claims read fairly on what has been disclosed and illustrated in the specification and drawing,…, they are not wider than the invention…

[41] This statement was endorsed by this Court in Pfizer Canada Inc. v Minister of Health 2007 FCA 209, wherein it made clear that a claim will be considered overbroad if it asserts a right of exclusive property in something which the invention did not actually invent or disclose.

[257] I do not agree with GreenBlue’s interpretation of the case law on this point where it argues that ambiguity is found when “the claims are capable of having more than one meaning.” In fact, this directly contradicts the case law which clearly holds that patents are presumptively valid. As stated in Letourneau at para 38, the Court stated that “if there is more than one construction that can be reasonably reached, the Court must favour the construction that upholds the patent.”

[258] In any event, there is no evidence that the Patents do not live up to the claim of 85% void volume. Prior to the trial, the Court refused to allow the evidence of the testing conducted by Dr. Kays to be introduced into evidence, as DeepRoot was not given an opportunity to attend the testing.

[259] The issue raised by Dr. Kays with the “base with cross connectors” and “a lid with two metal rods” relates to DeepRoot’s commercial product, which is not at issue in this analysis.

[260] Dr. Kays’ statement that the SilvaCell “certainly could support hardscape and vehicles over it, but after a number of years of heavy loads on the hardscape by large vehicles it could cause a deformation of plastic cell structures” was not based upon any first hand observations so it is disregarded.

[261] The claims that the patents are overbroad or insufficient in description are dismissed.

Improper and Speculative Amendments

[262] GreenBlue argues that amendments made to the 348 Patent after the filing date were improper contrary to section 53(1) of the Act.

[263] In support of the section 53(1) arguments, GreenBlue relies upon Exhibit BK6 attached to the Kays First Report. Dr. Kays states “DeepRoot Partners, L.P knew or should have known that the 8-inch criterion was speculative and had not been invented, due to the fact that the percent Soil Volume in the DeepRoot design falls far below 85 percent” (Kays First Report, para 115).

[264] GreenBlue did not lead evidence in support of these asserted grounds of invalidity. Rather, these allegations appear to be tied into their arguments in relation to patents being overbroad, which I have addressed above.

[265] Accordingly, there is no merit to the improper or speculative allegations made by GreenBlue.

Conclusion

[266] I conclude that the 348 and 599 Patents are valid as being non-anticipated by prior art, non-obvious when prior art and the common general knowledge are considered, and that the claims made are not broader than the invention.

[267] I also conclude that the RootSpace product infringes the 348 and 599 Patents.

Remedies

Injunction

[268] DeepRoot requests an injunction pursuant to section 57 (1) of the Act. As noted in Bombardier Recreational Products Inc v Arctic Cat, Inc, 2020 FC 946 at para 29, citing Valence Technology, Inc v Phostech Lithium Inc, 2011 FC 174 at para 204, “the Court should refuse to grant a permanent injunction where there is a finding of infringement, only in very rare circumstances.”

[269] Having found that the RootSpace product infringes the 348 Patent and the 599 Patent, and there being no “rare circumstances” against granting an injunction, a permanent injunction will be granted.

Damages

[270] DeepRoot seeks an accounting of GreenBlue’s profits. Alternatively, if the Court determines that GreenBlue’s profits are less than $145,000.00, then DeepRoot seeks a reasonable royalty payment.

[271] The Supreme Court in Monsanto Canada Inc v Schmeiser, 2004 SCC 34, states at paragraph 100:

The Patent Act permits two alternative types of remedy: damages and an accounting of profits. Damages represent the inventor’s loss, which may include the patent holder’s lost profits from sales or lost royalty payments. An accounting of profits, by contrast, is measured by the profits made by the infringer, rather than the amount lost by the inventor.

[272] As noted in Nova Chemicals Corporation v Dow Chemicals Company, 2020 FCA 141 [Nova Chemicals] at para 20: “The aim of an accounting of profits is not to compensate for injury, but to remove the benefits the wrongdoer has made as a result of the infringement.” The Court in Nova Chemicals also notes at para 38 that “…patentees must take their infringers as they find them...”

[273] The Court in Merck & Co v Apotex Inc, 2006 FCA 323, held at para 127 that “once a patentee has successfully demonstrated infringement, the Court has the discretion to grant the patentee’s choice of remedies pursuant to section 57 of the Act. If a Judge thereby refuses the award of an accounting of profits, damages are available pursuant to section 55 of the Act. There is no presumption that the patentee is entitled to an election rather, a trial Judge has complete discretion in deciding whether or not to grant this equitable remedy.” (citations omitted)

[274] The parties are in agreement that GreenBlue’s first Canadian sale of RootSpace was on April 27, 2017. The experts are also in agreement on the gross sales revenues of GreenBlue. However, DeepRoot challenges the deductions claimed by GreenBlue.

[275] The financial statements relied upon by GreenBlue (Exhibit 63) detail GreenBlue Canada’s sales and the RootSpace associated costs. The evidence is that for the 2017-2020 period, there is a |||||||||||||||||||||||||||||||||| on the sales of RootSpace, as detailed in the chart below (Exhibit 63, p. 87-92):

[IMAGE REDACTED]

[276] The amounts in the COGS 2 (cost of goods) column are expenses related to cost of products, duty on imports, and freight. The overhead allocation expenses include rent, utilities, marketing, insurance, and general operating expenses. The RootSpace overhead allocation figures were arrived at by taking the percentage of GreenBlue’s total overhead related to the RootSpace product.

[277] DeepRoot challenged the expenses during the cross examinations of Jeremy Bailey and Carol Daley. DeepRoot argues that GreenBlue failed to disclose financial records, and that it is not reasonable to accept that GreenBlue is selling RootSpace at a loss. DeepRoot argues that GreenBlue should not be permitted to deduct freight, import fees or over-head from its infringing revenues. However, DeepRoot was not able to establish any fundamental flaws or irregularities with the financials.

[278] As noted in Nova Chemicals at para 145: “…the ‘full costs’ approach should always be available to an infringer. Indeed, absent some exceptional and compelling circumstance or persuasive expert evidence in a particular case, the ‘full costs’ approach is the preferred method for deducting costs.”

[279] In this case, I accept the financial evidence tendered by GreenBlue in relation to sales the costs associated with manufacturing, purchasing, transporting, and warehousing the RootSpace products. Further, there is no evidence to support the claims of DeepRoot that there were inappropriate intercompany payments.

[280] Having accepted the financial evidence of GreenBlue, I am not satisfied that GreenBlue has in fact made a profit on sales of RootSpace. Accordingly, I will address the alternative relief requested by DeepRoot in the form of reasonable royalty.

Experts Opinions

[281] DeepRoot’s expert Mr. Lobo calculates GreenBlue’s sales revenues of infringing products for the period of April 2017 to August 2020 as being |||||||||||||| on the 348 Patent; and |||||||||||||| for the 599 Patent for the combined pre-patent and post-patent period of April 2017 to August 2020 (October report, pp 7-8). Using these sales revenues as the base, Mr. Lobo was instructed to calculate “reasonable” royalty rates of 7%, 9%, and 11%. This exercise yielded totals ranging from |||||||||||||||||||||||||||||||| for both the 348 Patent and the 599 Patent (Lobo October report, pp 9-10).

[282] The 7% royalty figure used by Mr. Lobo was based upon the |||||||||||||||||||||||||||||||||||| ||||||||||||||||||||||||||||||||||||||||||||||||||||||||||||||||||||||||||||||||||. No evidence was provided to support the basis for a 9% or an 11% royalty.

[283] By contrast, GreenBlue’s expert, Mr. Blacker took the position that sales of “related products” or “convoyed products” are not relevant and should therefore not be included in the calculations. Mr. Blacker is also of the view that the sales revenue figure relied upon by Mr. Lobo is unsupported and too high (Blacker report, p 5).

[284] After analyzing GreenBlue sales figures, Mr. Blacker calculated the sales revenue from RootSpace and convoyed products as follows (Blacker Report, p 14):

[IMAGE REDACTED]

[285] Mr. Blacker broke the RootSpace sales down into unit sales as follows (Blacker Report, p 14):

[IMAGE REDACTED]

[286] In assessing a reasonable royalty rate, Mr. Blacker relies upon the hypothetical negotiation and the factors outlined in AlliedSignal Inc v du Pont Canada Inc, (1998) 1998 CanLII 7464 (FC), 78 CPR (3d) 129 [AlliedSignal]. The Court in AlliedSignal at paragraph 34 provided a non-exhaustive list, stating “the process of examining the hypothetical situation where one assumes that the infringing product never entered the market is an uncertain one. Nonetheless, there are several factors that serve to answer the question, ‘What would have happened?’”

[287] Mr. Blacker states that GreenBlue’s presence in the market as well as the non-infringing alternatives GreenBlue sells, such as the StrataCell and RootCell, put downward pressure on the hypothetical negotiation. Whereas the competition between GreenBlue and DeepRoot would put upward pressure on the hypothetical negotiation.

[288] Within this negotiation, Mr. Blacker’s opinion at para 38 of his report is that GreenBlue would not have agreed to a running royalty structure using a percentage of sales revenues because “this would extract a royalty on features and/or contributions by GreenBlue to the RootSpace products that are unrelated to the patents-in-suit”.

[289] Mr. Blacker then calculated GreenBlue’s maximum and minimum revenue per unit of the panels, airflow top and infill panels. Based upon a 7% royalty on the minimum unit price, Mr. Blacker arrived at .94 cents per unit.

[290] Mr. Blacker, at paragraph 42 of his report, concludes that “a hypothetical negotiation between DeepRoot and GreenBlue occurring on or before April 2017, would have resulted in DeepRoot granting to GreenBlue a non-exclusive, freedom-to-operate, Canadian-only licence for rights to the Patents-in-Suit…for a per unit royalty rate of $0.94 per unit sold.”

[291] In the Blacker report, the royalty damages are calculated as follows (Blacker Report, p 20):

[IMAGE REDACTED]

[292] The payment of a reasonable royalty is the only remedy that provides compensation to DeepRoot for infringement. With respect to a pre-unit or net sales royalty approach, DeepRoot did not lead any evidence to suggest that it has negotiated other royalty payments based upon net sales with any other party with whom it may have entered a license agreement.

[293] In the exercise of my discretion, I am awarding a reasonable royalty on a per-unit basis as GreenBlue has been in the urban landscaping business for a long period of time and it has a vast array of products which are unrelated to the patents at issue. Accordingly, it is not appropriate, on the facts in this case to assess royalties on sales of unrelated products.

[294] With respect to the rate of the royalty, the only evidence to assist the Court in setting a reasonable rate is the evidence offered by DeepRoot and its |||||||||||||||||||||||||||||||||||||||||||||||||||| ||||||||||||||||||||||||||||||||||||||||||||||||||||||||||||||||||||||||||.

[295] Therefore, I am granting an award of a 7% royalty rate on a per-unit basis at $0.94 per unit which as calculated by Mr. Blacker, amounts to $136,000.00.

Costs

[296] The Plaintiffs are entitled to costs. If the parties are unable to agree on costs, they can make submissions to the Court within 30 days of the date of this Judgment.

[297] These Reasons are being issued to the parties on a confidential basis. They have 15 days after the date hereof to advise the Court whether there is a requirement to redact any confidential information.


JUDGMENT IN T-954-18

THIS COURT’S JUDGMENT is that:

  • 1. The Plaintiffs’ action is granted;

  • Claims 1-5, 7-8, 11-14, 16-20, 22-24 of Canada Patent 2,552,348 are valid and are infringed by the Defendant’s RootSpace;

  • Claims 1-4 of Canada Patent 2,829,599 are valid and are infringed by the Defendant’s RootSpace;

  • The Defendant is permanently enjoined from infringing these claims of Canada Patent 2,552,348 and these claims of Canada Patent 2,829,599 until the expiry of the patents;

  • The Plaintiffs are entitled to a royalty payment in the amount of $136,000.00.

  • The Defendant’s Counterclaim is dismissed;

  • The Plaintiffs are entitled to costs.If the parties are unable to agree on costs, they can make submissions to the Court within 30 days of the date of this Judgment.

"Ann Marie McDonald"

Judge


ANNEX

Relevant Provisions of the Patent Act are the following:

Les dispositions pertinentes de la Loi sur les brevets sont les suivantes :

Specification

Mémoire descriptif

27 (3) The specification of an invention must,

27 (3) Le mémoire descriptif doit :

(a) correctly and fully describe the invention and its operation or use as contemplated by the inventor;

a) soit se trouve hors de tout pays dont elle a la nationalité et ne peut ou, du fait de cette crainte, ne veut se réclamer de la protection de chacun de ces pays;

(b) set out clearly the various steps in a process, or the method of constructing, making, compounding or using a machine, manufacture or composition of matter, in such full, clear, concise and exact terms as to enable any person skilled in the art or science to which it pertains, or with which it is most closely connected, to make, construct, compound or use it;

b) exposer clairement les diverses phases d’un procédé, ou le mode de construction, de confection, de composition ou d’utilisation d’une machine, d’un objet manufacturé ou d’un composé de matières, dans des termes complets, clairs, concis et exacts qui permettent à toute personne versée dans l’art ou la science dont relève l’invention, ou dans l’art ou la science qui s’en rapproche le plus, de confectionner, construire, composer ou utiliser l’invention;

(c) in the case of a machine, explain the principle of the machine and the best mode in which the inventor has contemplated the application of that principle; and

c) s’il s’agit d’une machine, en expliquer clairement le principe et la meilleure manière dont son inventeur en a conçu l’application;

(d) in the case of a process, explain the necessary sequence, if any, of the various steps, so as to distinguish the invention from other inventions.

d) s’il s’agit d’un procédé, expliquer la suite nécessaire, le cas échéant, des diverses phases du procédé, de façon à distinguer l’invention en cause d’autres inventions.

Claims

Revendications

27(4) The specification must end with a claim or claims defining distinctly and in explicit terms the subject-matter of the invention for which an exclusive privilege or property is claimed.

27(4) Le mémoire descriptif se termine par une ou plusieurs revendications définissant distinctement et en des termes explicites l’objet de l’invention dont le demandeur revendique la propriété ou le privilège exclusif.

Claim date

Date de la revendication

28.1 (1) The date of a claim in an application for a patent in Canada (the “pending application”) is the filing date of the application, unless

(a) the pending application is filed by

28.1 (1) La date de la revendication d’une demande de brevet est la date de dépôt de celle-ci, sauf si :

a) la demande est déposée, selon le cas :

(i) a person who has, or whose agent, legal representative or predecessor in title has, previously regularly filed in or for Canada an application for a patent disclosing the subject-matter defined by the claim, or

(ii) a person who is entitled to protection under the terms of any treaty or convention relating to patents to which Canada is a party and who has, or whose agent, legal representative or predecessor in title has, previously regularly filed in or for any other country that by treaty, convention or law affords similar protection to citizens of Canada an application for a patent disclosing the subject-matter defined by the claim;

(i) par une personne qui a antérieurement déposé de façon régulière, au Canada ou pour le Canada, ou dont l’agent, le représentant légal ou le prédécesseur en droit l’a fait, une demande de brevet divulguant l’objet que définit la revendication,

(ii) par une personne qui a antérieurement déposé de façon régulière, dans un autre pays ou pour un autre pays, ou dont l’agent, le représentant légal ou le prédécesseur en droit l’a fait, une demande de brevet divulguant l’objet que définit la revendication, dans le cas où ce pays protège les droits de cette personne par traité ou convention, relatif aux brevets, auquel le Canada est partie, et accorde par traité, convention ou loi une protection similaire aux citoyens du Canada;

(b) the filing date of the pending application is within twelve months after the filing date of the previously regularly filed application; and

b) à cette date, il s’est écoulé, depuis la date de dépôt de la demande déposée antérieurement, au plus douze mois;.

(c) the applicant has made a request for priority on the basis of the previously regularly filed application.

c) le demandeur a présenté, à l’égard de sa demande, une demande de priorité fondée sur la demande déposée antérieurement

Invention must not be obvious

Objet non évident

28.3 The subject-matter defined by a claim in an application for a patent in Canada must be subject-matter that would not have been obvious on the claim date to a person skilled in the art or science to which it pertains, having regard to

28.3 L’objet que définit la revendication d’une demande de brevet ne doit pas, à la date de la revendication, être évident pour une personne versée dans l’art ou la science dont relève l’objet, eu égard à toute communication :

(a) information disclosed before the one-year period immediately preceding the filing date or, if the claim date is before that period, before the claim date by the applicant, or by a person who obtained knowledge, directly or indirectly, from the applicant in such a manner that the information became available to the public in Canada or elsewhere; and

a) qui a été faite, soit plus d’un an avant la date de dépôt de la demande, soit, si la date de la revendication est antérieure au début de cet an, avant la date de la revendication, par le demandeur ou un tiers ayant obtenu de lui l’information à cet égard de façon directe ou autrement, de manière telle qu’elle est devenue accessible au public au Canada ou ailleurs;

(b) information disclosed before the claim date by a person not mentioned in paragraph (a) in such a manner that the information became available to the public in Canada or elsewhere.

b) qui a été faite par toute autre personne avant la date de la revendication de manière telle qu’elle est devenue accessible au public au Canada ou ailleurs.

Improvements

Perfectionnement

32 Any person who has invented any improvement on any patented invention may obtain a patent for the improvement, but he does not thereby obtain the right of making, vending or using the original invention, nor does the patent for the original invention confer the right of making, vending or using the patented improvement.

32 Quiconque est l’auteur d’un perfectionnement à une invention brevetée peut obtenir un brevet pour ce perfectionnement. Il n’obtient pas de ce fait le droit de fabriquer, de vendre ou d’exploiter l’objet de l’invention originale, et le brevet couvrant l’invention originale ne confère pas non plus le droit de fabriquer, de vendre ou d’exploiter l’objet du perfectionnement breveté.

Contents of patent

Contenu du brevet

42 Every patent granted under this Act shall contain the title or name of the invention, with a reference to the specification, and shall, subject to this Act, grant to the patentee and the patentee’s legal representatives for the term of the patent, from the granting of the patent, the exclusive right, privilege and liberty of making, constructing and using the invention and selling it to others to be used, subject to adjudication in respect thereof before any court of competent jurisdiction.

42 Tout brevet accordé en vertu de la présente loi contient le titre ou le nom de l’invention avec renvoi au mémoire descriptif et accorde, sous réserve des autres dispositions de la présente loi, au breveté et à ses représentants légaux, pour la durée du brevet à compter de la date où il a été accordé, le droit, la faculté et le privilège exclusif de fabriquer, construire, exploiter et vendre à d’autres, pour qu’ils l’exploitent, l’objet de l’invention, sauf jugement en l’espèce par un tribunal compétent.

Void in certain cases, or valid only for parts

Nul en certains cas, ou valide en partie seulement

53 (1) A patent is void if any material allegation in the petition of the applicant in respect of the patent is untrue, or if the specification and drawings contain more or less than is necessary for obtaining the end for which they purport to be made, and the omission or addition is wilfully made for the purpose of misleading.

53 (1) Le brevet est nul si la pétition du demandeur, relative à ce brevet, contient quelque allégation importante qui n’est pas conforme à la vérité, ou si le mémoire descriptif et les dessins contiennent plus ou moins qu’il n’est nécessaire pour démontrer ce qu’ils sont censés démontrer, et si l’omission ou l’addition est volontairement faite pour induire en erreur.

Injunction may issue

Interdiction

57 (1) In any action for infringement of a patent, the court, or any judge thereof, may, on the application of the plaintiff or defendant, make such order as the court or judge sees fit,

57 (1) Dans toute action en contrefaçon de brevet, le tribunal, ou l’un de ses juges, peut, sur requête du plaignant ou du défendeur, rendre l’ordonnance qu’il juge à propos de rendre :

(a) restraining or enjoining the opposite party from further use, manufacture or sale of the subject-matter of the patent, and for his punishment in the event of disobedience of that order, or

a) pour interdire ou défendre à la partie adverse de continuer à exploiter, fabriquer ou vendre l’article qui fait l’objet du brevet, et pour prescrire la peine à subir dans le cas de désobéissance à cette ordonnance;

(b) for and respecting inspection or account, and generally, respecting the proceedings in the action.

b) pour les fins et à l’égard de l’inspection ou du règlement de comptes, et d’une façon générale, quant aux procédures de l’action.



FEDERAL COURT

SOLICITORS OF RECORD

DOCKET:

T-954-18

 

STYLE OF CAUSE:

DEEPROOT GREEN INFRASTRUCTURE, LLC ET AL v GREENBLUE URBAN NORTH AMERICA INC

 

PLACE OF HEARING:

HELD BY VIDEOCONFERENCE

 

DATES OF HEARING:

october 13-16, 19-23, 26-29, 2020

December 17-18, 2020

JUDGMENT AND REASONS:

MCDONALD J.

 

CONFIDENTIAL JUDGMENT AND REASONS ISSUED:

may 28, 2021

PUBLIC JUDGMENT AND REASONS ISSUED:

JULY 16, 2021

 

APPEARANCES:

Geoffrey D. Mowatt

Bentley Gaikis

Aleksandar Kaludjerovic

 

For The plaintiffs/

defendants by counterclaim

 

Yuri Chumak

Ted Kalnins

For The defendant/

PLAINTIFF BY COUNTERCLAIM

 

SOLICITORS OF RECORD:

DLA Piper (Canada) LLP

Barristers & Solicitors

Toronto, Ontario

 

For The plaintiffs/

defendants by counterclaim

 

Dickinson Wright LLP

Barristers & Solicitors

Toronto, Ontario

For The DEFENDANT/

PLAINTIFF BY COUNTERCLAIM

 

 

 You are being directed to the most recent version of the statute which may not be the version considered at the time of the judgment.