Décisions de la Cour fédérale

Informations sur la décision

Contenu de la décision

Date : 20160728


Dossier : T-407-14

Référence : 2016 CF 883

[TRADUCTION FRANÇAISE]

Montréal (Québec), le 28 juillet 2016

En présence de monsieur le juge Locke

ENTRE :

POLLARD BANKNOTE LIMITED

demanderesse
(défenderesse reconventionnelle)

et

BABN TECHNOLOGIES CORP. et SCIENTIFIC GAMES PRODUCTS (CANADA) ULC

défenderesses
(demanderesses reconventionnelles)

JUGEMENT ET MOTIFS

TABLE DES MATIÈRES

I.             Aperçu. 3

II.           Les parties. 3

III.         Le brevet 551 et le contexte factuel 4

IV.         Questions en litige. 11

V.           Témoins. 15

A.           Témoins experts de Pollard. 16

(1)          M. Yih Lerh Huang. 16

(2)          Nicholas Fazzano. 17

B.           Témoin de fait de Pollard. 19

(1)          Lyle Scrymgeour 19

C.           Témoins experts de SG.. 21

(1)          Fred Finnerty. 21

(2)          James Trask. 24

D.           Témoins des faits de SG.. 28

(1)          Carla Schaefer 28

(2)          Pierre LaPlante. 29

VI.         Interprétation des revendications. 31

A.           Loi applicable. 31

B.           Personne versée dans l’art 35

C.           Analyse. 36

(1)          Revendication 1. 36

(2)          Revendication 2. 48

D.           Conclusion en matière d’interprétation des revendications. 49

VII.       Questions d’invalidité. 50

A.           Norme de contrôle. 50

B.           Ambiguïté. 53

(1)          Loi applicable. 53

(2)          Analyse. 54

(3)          Conclusion en matière d’ambiguïté. 56

C.           Portée excessive et inutilité. 56

(1)          Loi applicable. 56

(2)          Analyse. 57

(3)          Conclusion sur la portée excessive et l’inutilité. 58

D.           Antériorité. 59

(1)          Loi applicable. 59

(2)          Demande Camarato. 61

(3)          Analyse. 63

(4)          Conclusion relative à l’antériorité. 65

E.           Évidence. 65

(1)          Loi applicable. 65

(2)          Personne versée dans l’art 67

(3)          Connaissances générales courantes. 68

(4)          État de la technique. 74

(5)          Idée originale. 77

(6)          Ce qui distingue l’idée originale de l’art antérieur et la question de savoir si ces distinctions constituent des étapes évidentes. 78

(7)          Productivité et rentabilité. 85

(8)          Historique des poursuites relatives au brevet 551 et autres éléments de preuve extrinsèques  89

(9)          Conclusion concernant l’évidence. 92

F.            Conclusion concernant l’invalidité. 93

VIII.     Questions de contrefaçon. 93

A.           Loi applicable. 94

B.           Analyse. 94

C.           Conclusion concernant la contrefaçon. 97

IX.         Mesures de réparation. 97

X.           Conclusion. 97

I.                   Aperçu

[1]               La présente action concerne les éléments de sécurité sur les billets de loterie instantanée. La demanderesse Pollard Banknote Limited [Pollard] conteste la validité du brevet canadien no 2 752 551 [le brevet 551]. Le propriétaire du brevet 551, Scientific Games Products (Canada) ULC [SG], se défend contre cette contestation de validité et présente une demande reconventionnelle à l’encontre de Pollard pour contrefaçon du brevet 551. L’autre défenderesse, BABN Technologies Corp. [BABN], est un prédécesseur en droit de SG.

[2]               Pour les motifs énoncés ci-dessous, je conclus que les revendications du brevet 551 sont invalides. Par conséquent, j’accueille la demande de Pollard sollicitant une déclaration invalidant le brevet 551. Si ma conclusion est erronée et que les revendications du brevet 551 sont valides, je conclus qu’il n’y a pas eu violation desdites revendications par Pollard. Dans les deux cas, je rejette la demande reconventionnelle de SG pour contrefaçon.

II.                Les parties

[3]               Les deux parties au présent contentieux sont des acteurs importants dans le secteur du marketing, de l’impression et de la distribution de billets de loterie instantanée. Il s’agit d’un marché consolidé. La Cour a appris qu’il ne reste dans ce secteur que trois grands acteurs au monde, soit Pollard, SG et une autre entreprise du nom de GTECH Corporation (aujourd’hui appelée International Gaming Technology ou IGT). Pollard et SG sont les acteurs qui dominent le marché canadien.

[4]               Résultant d’une série de fusions, SG a acquis les droits de propriété sur le brevet 551 (et de la demande de brevet) qui sont passés de la demanderesse BABN à Oberthur Gaming Technologies, Inc. (OGT) en 1999, puis d’OGT à F.C.O.I. Canada Inc. en 2007, ensuite à Scientific Games Products (Canada) Inc. et enfin à la défenderesse/demanderesse reconventionnelle Scientific Games Products (Canada) ULC.

III.             Le brevet 551 et le contexte factuel

[5]               L’historique du brevet 551 qui est en cause est exceptionnel pour deux raisons. D’abord, même s’il n’a pas été délivré il y a longtemps, le 17 septembre 2013, le brevet 551 doit expirer plus tard cette année, le 14 octobre 2016. Cette situation s’explique par le fait que la demande de brevet 551 a été déposée à titre de demande complémentaire, en vertu de l’article 36 de la Loi sur les brevets, L.R.C. (1985), ch. P-4, relativement à la demande de brevet no 2 234 775 (la demande 775), dont le dépôt remonte au 14 octobre 1996. En vertu du paragraphe 36(4) de la Loi sur les brevets, la date de dépôt d’une demande complémentaire est celle de la demande originale. Les poursuites à l’égard de ces demandes de brevet ont duré plus de 17 ans. Conformément à l’article 44 de la Loi sur les brevets, la durée du brevet 551 est limitée à vingt ans à compter de la date de dépôt.

[6]               Le deuxième aspect exceptionnel du brevet 551 est, d’un certain point de vue, associé au premier. Il s’agit en fait de contestations fondées sur l’article 34.1 de la Loi sur les brevets déposées auprès du Bureau des brevets au nom de Pollard à l’encontre de la demande 775 et de la demande complémentaire à l’origine du brevet 551, remontant au 27 mai 1999. En tout, pas moins de douze contestations ont été déposées. C’est ainsi que le litige qui oppose les parties sur la brevetabilité du brevet 551 a commencé peu de temps après le début des poursuites à l’égard de la demande 775. Ces poursuites, notamment les contestations déposées dans ce contexte, ainsi que les procédures ciblant la demande complémentaire et les contestations qui l’accompagnent, font l’objet d’une analyse détaillée dans les présents motifs. J’examinerai d’abord le brevet 551 qui a été délivré.

[7]               Le brevet 551 revendique la priorité sur la base d’une demande de brevet américain, déposée le 16 octobre 1995, et dont le brevet a été délivré sous le brevet américain no 6 308 991 [le brevet américain 991]. Il s’agit donc de la « date de la revendication », au sens de l’article 28.1 de la Loi sur les brevets. Conformément à l’article 10 de la Loi sur les brevets, la demande 775 a été publiée le 24 avril 1997.

[8]               Le brevet 551 est intitulé « Document imprimé portant un système d’authentification constitué d’un code barres ». Même si les poursuites à l’égard de la demande pour ce brevet et celle de la demande initiale étaient interminables et complexes, le mémoire descriptif, lui, est bref, heureusement.

[9]               Le brevet 551 concerne des billets de loterie instantanée ayant une couche opaque à gratter (parfois appelée pellicule de latex) recouvrant les données de jeu imprimées sur un support, le plus souvent du papier ou des cartes. Le jeu consiste à retirer la couche à gratter par grattage pour découvrir si un lot a été gagné. Les billets de loterie instantanée se vendent généralement à la caisse d’un détaillant et les billets gagnants sont le plus souvent prédéterminés.

[10]           Même si le sujet n’est pas traité dans le brevet 551, le billet à languettes est une forme bien connue de billet de loterie instantanée. Sur ce type de billet, la couche à gratter recouvrant les données de jeu est remplacée par une languette fixée au support du billet et dont les indentations forment des lignes en pointillés. Les languettes se tirent le long des pointillés. Le billet à languettes coûte généralement moins cher à fabriquer et on tend à l’utiliser pour des jeux de loterie de faible valeur.

[11]           Le jeu en ligne est un autre type de loterie dont le brevet 551 ne traite pas. Alors que les billets gagnants de loterie instantanée sont déterminés à l’avance, les billets gagnants de jeux en ligne (aussi appelés jeux de tirage) ne sont déterminés qu’au moment du tirage, qui a lieu après l’achat du billet. Le Lotto 6/49 est une forme bien connue de ce type de jeu.

[12]           Un billet de loterie instantanée contient généralement des renseignements, sous forme de nombres ou de code (un code barres, par exemple), servant à la validation en ligne au moyen d’une base de données centrale. Peuvent y figurer les numéros du jeu, d’émission et du billet individuel, ainsi que des renseignements indiquant s’il s’agit d’un billet gagnant et le montant du lot gagné, le cas échéant. Ces renseignements peuvent servir à vérifier auprès du système en ligne de loterie que le billet a été vendu légitimement, qu’il est gagnant et qu’il n’a pas déjà été réclamé. Ils ont pour objet de protéger les billets de loterie contre la contrefaçon, la falsification et les altérations. L’arrivée de codes barres lisibles par machine contenant des renseignements de validation a permis d’accélérer la validation des billets qui exigeait auparavant la saisie d’une longue série de chiffres.

[13]           Il est constant que l’on savait avant la date de revendication du brevet 551 qu’une couche à gratter pouvait recouvrir les renseignements de validation en tout ou en partie. Cela empêchait les joueurs d’accéder à des renseignements permettant d’associer les numéros de validation à des billets gagnants. Par exemple, lors d’un processus appelé écrémage de données, un détaillant peu scrupuleux pourrait analyser les renseignements de validation visibles d’un grand nombre de billets pour trouver les gagnants. Ce détaillant pourrait alors conserver les billets gagnants et ne vendre que les non-gagnants. Les loteries avaient, semble-t-il, mis en place des processus de détection d’écrémage signalant les validations successives de billets perdants, processus qui n’auraient pas été infaillibles.

[14]           Même si ces renseignements de validation étaient recouverts, le détaillant peu scrupuleux muni d’une connaissance de l’emplacement et du format de ces renseignements pouvait tenter d’écrémer les billets en pratiquant de minuscules trous pour ainsi dire invisibles ou de fines lignes dans la couche à gratter pour révéler un certain nombre de renseignements suffisants au repérage des billets potentiellement gagnants. Cette technique est parfois appelée « piquage ».

[15]           Il existait deux façons de recouvrir les renseignements de validation par une couche à gratter. Ces renseignements pouvaient être présents sous la même couche à gratter que les données de jeu ou se situer ailleurs sur le billet, sous une autre couche à gratter. Dans le deuxième cas, la couche à gratter recouvrant les renseignements de validation comportait l’instruction de ne pas la gratter. On appelle habituellement le nombre ou le code caché de cette façon numéro NSD pour « Nul si découvert ». La couche à gratter recouvrant le numéro NSD n’est grattée que par l’agent de loterie lors de l’encaissement du billet.

[16]           Si les parties s’entendent pour dire que le numéro de validation lisible par un humain se trouvait sous une couche à gratter, il est moins certain qu’il était généralement connu que des renseignements de validation sous la forme d’un code barres lisible par machine étaient recouverts d’une couche à gratter. En l’espèce, il est constant que le code barres d’un billet de loterie instantanée qui serait gratté contiendrait normalement tous les renseignements nécessaires à la validation et qu’un numéro NSD accompagnerait celui-ci aux fins de validation. L’insertion d’au moins une partie des renseignements de validation sous la couche à gratter avait pour but d’améliorer la sécurité du système de loterie.

[17]           La fraude au détail demeurait néanmoins une possibilité, car il était possible pour un détaillant de dire à un joueur lui présentant un billet gagnant que le billet n’était pas gagnant ou que le montant du lot était moindre que le montant véritable. Ce détaillant pouvait alors réserver ce billet pour son propre usage et encaisser le montant véritable du lot gagné. Même l’émission de sons particuliers indiquant un lot gagné par la machine du détaillant n’a pas suffi à éliminer la fraude chez les détaillants. Il convient toutefois de mentionner que ce problème n’est pas à examiner en ce qui concerne le brevet 551.

[18]           Les billets de loterie instantanée soulèvent toutefois un autre problème, vu leur petite taille en comparaison avec celle d’un code barres, qui doit contenir tous les renseignements nécessaires à la validation d’un billet. La Cour a entendu la preuve portant sur l’importance des éléments graphiques au recto du billet de loterie instantanée pour sa promotion et sa vente. L’espace utilisé pour un code barres, surtout au recto du billet, empiète sur l’espace réservé aux éléments graphiques. Le brevet 551 évoque l’énorme avantage que représente la réduction de l’espace occupé par le code barres.

[19]           Le brevet 551 propose d’améliorer l’intégrité des billets de loterie instantanée en masquant le code barres dans son intégralité, lequel demeurera invisible jusqu’à l’authentification du billet, le cas échéant. De cette manière, tous les renseignements nécessaires à la validation sont intégrés dans le code barres. Même si le brevet n’en fait pas mention, la réunion de tous les renseignements de validation dans le code barres peut permettre la vérification libre-service des billets gagnants par les joueurs en vue de réduire la fraude potentielle chez les détaillants.

[20]           Le brevet propose également de réduire l’espace occupé par le code barres grâce à l’utilisation d’un code barres bidimensionnel (2D) plutôt qu’un code barres unidimensionnel (1D), d’usage normal à l’époque. Voici la reproduction d’un code barres 1D type en code 2 de 5 imbriqué :

Code barres unidimensionnel

[21]           Voici la reproduction d’un code barres 2D type de format PDF417 :

Code barres bidimensionnel

[22]           Même si la preuve démontre que le code barres 2D n’était pas encore en usage sur les billets de loterie instantanée à la date de la revendication, ce code était connu de façon générale, car le brevet 551 en présente quelques exemples. Il est vrai que l’impression adéquate du code barres 2D pose plus de difficultés, mais ce code barres contient plus de renseignements qu’un code barres 1D, tout en occupant moins d’espace. Il permet aussi de consigner plus de données et d’intégrer des redondances pour atténuer les difficultés engendrées par une mauvaise lecture des codes due à une faible qualité d’impression ou à un endommagement, ou à un retrait partiel de la couche à gratter.

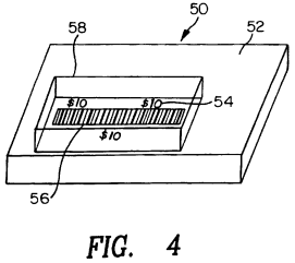
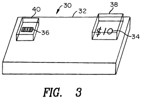
[23]           Le brevet 551 donne un compte rendu de deux configurations distinctes qui font appel au concept du code barres masqué contenant tous les renseignements nécessaires à la validation d’un billet. La figure 3 illustre la première configuration. Il s’agit d’un billet sur lequel les données de jeu et le code barres sont masqués par des couches à gratter distinctes. Il est prévu que la couche à gratter recouvrant le code barres fonctionne de la même façon qu’un numéro NSD type et demeurerait intacte jusqu’au retrait par l’agent de loterie (habituellement le détaillant) lors de la validation du billet. Si le code barres est visible et n’est plus recouvert par la couche à gratter lors de la présentation du billet aux fins de validation, il y aurait motif à refuser la validation du billet, car cet état pourrait avoir été causé par une falsification ou un écrémage de données. Voici une reproduction de la figure 3 :

Figure 3 Voici un billet sur lequel les données de jeu et le code barres sont masqués par des couches à gratter distinctes.

[24]           La deuxième configuration est illustrée par la figure 4 qui montre des données de jeu imprimées autour du code barres, mais les données de jeu et le code barres sont masqués par une seule couche à gratter. Dans cette configuration, le code barres est révélé lors du grattage de la couche au moment du jeu. Par conséquent, dans cette deuxième configuration, le retrait de la couche à gratter recouvrant le code barres ne peut servir de motif pour refuser de valider le billet.

Figure 4 Le billet illustré montre des données de jeu imprimées autour du code barres, les données de jeu et le code barres étant masqués par une seule couche à gratter.

IV.             Questions en litige

[25]           Les parties ont remis un énoncé des questions en litige. Elles sont arrivées à une entente sur un certain nombre des questions en litige, mais pas sur toutes. Certaines modifications ont été apportées à cette liste au cours du procès. Après avoir examiné l’énoncé des questions en litige de chaque partie et entendu leurs observations, j’ai préparé ma propre liste modifiée, que voici :

  1. Interprétation des revendications
    1. Qui est la « personne versée dans l’art » en ce qui concerne le brevet 551?
    2. De quelle façon cette personne versée dans l’art interprète-t-elle, en date du 24 avril 1997, les termes suivants dans les revendications du brevet 551 : [traduction]

                                                              i.      « aire de jeu »;

                                                            ii.      « indications imprimées de l’aire de jeu »;

                                                          iii.      « aire extérieure au jeu »;

                                                          iv.      « distinct »;

                                                            v.      « ledit code barres 2D contenant tous les renseignements nécessaires à l’authentification du billet de loterie, ledit code barres 2D pouvant être lu par un agent de loterie à l’aide d’un dispositif de lecture de telle sorte qu’à la lecture du code barres 2D par le dispositif, l’authentification se fait sans que l’agent de loterie ait à entrer de renseignements supplémentaires ou se fait directement à partir du document imprimé »;

                                                          vi.      « une couche à gratter continue recouvrant à la fois les indications imprimées dans ladite aire de jeu et le code barres dans ladite aire extérieure au jeu »;

                                                        vii.      « dans laquelle l’absence ou l’altération de la couche à gratter recouvrant le code barres est un facteur vraisemblablement décisif de l’authenticité du billet de loterie »;

                                                      viii.      « données de jeu »;

                                                          ix.      « imprimées autour du code barres »?

  1. Questions d’invalidité
    1. Norme de contrôle – Doit-on faire preuve de déférence envers l’examinateur du brevet qui a autorisé la délivrance du brevet?
    2. Ambiguïté – Les revendications du brevet 551 sont-elles invalides en raison du fait que l’objet de l’invention n’est pas défini distinctement et en des termes explicites, conformément au paragraphe 27(4) de la Loi sur les brevets?
    3. Portée excessive et inutilité – Les revendications du brevet 551 sont-elles invalides en raison du fait que leur portée excède celle de la prétendue invention, s’il y a lieu, telles qu’elles sont énoncées dans la divulgation ou parce qu’elles sont dénuées du caractère d’utilité?
    4. Antériorité – L’objet de la revendication 1 du brevet 551 se heurtait-il à une antériorité en raison de la demande de brevet canadien no 2 119 190 (la demande Camarato)?
    5. Évidence – L’objet des revendications du brevet 551 était-il évident compte tenu d’un élément ou plus parmi les suivants :

                                                              i.      les connaissances générales courantes;

                                                            ii.      la demande Camarato.

  1. Questions de contrefaçon
    1. Si le brevet 551 est valide, le brevet 551 a-t-il été contrefait par Pollard?
    2. Pollard peut-elle invoquer la licence dans sa défense relativement à la fabrication, à la vente ou à la distribution de billets contrefaits pour le compte de la British Columbia Lottery Corporation (BCLC), de La Société de la loterie Western Canada, de la Société de la loterie interprovinciale et de Loto-Québec?
    3. Si le brevet 551 est valide, Pollard a-t-elle incité à la contrefaçon du brevet 551?
  2. Mesures de réparation
    1. Si le brevet 551 est valide et qu’il a été contrefait, SG a-t-elle droit :

                                                              i.      de choisir entre recevoir des dommages-intérêts ou une restitution des profits de Pollard découlant de la contrefaçon du brevet 551 par Pollard (directe ou induite), ce qui doit être déterminé par renvoi?

                                                            ii.      à une indemnisation raisonnable pour une période précédant la délivrance du brevet 551, le cas échéant, pendant combien de temps?

                                                          iii.      à une injonction?

                                                          iv.      à la remise de produits?

                                                            v.      à des dommages-intérêts majorés, punitifs ou exemplaires?

                                                          vi.      à un intérêt composé sur toute réparation pécuniaire accordée avant et après jugement à SG?

    1. Des dépens doivent-ils être adjugés? Le cas échéant, de quel ordre seront-ils?

[26]           En plus de la liste des questions en litige susmentionnée, je dois également examiner l’argumentation de Pollard selon laquelle le rapport et le témoignage de l’un des experts de SG, James Trask, devraient être jugés inadmissibles.

V.                Témoins

[27]           Dans la présente partie, je résume les témoignages livrés au cours du procès et je fais part des impressions que j’en ai tirées. Certains témoins sont experts, alors que d’autres sont des témoins des faits. Il existe une différence importante entre un témoin expert et un témoin des faits : seul l’expert peut exprimer un témoignage d’opinion. De plus, chaque expert a l’obligation de produire un rapport avant la tenue de procès concernant le témoignage qu’il prévoit livrer. Tous les experts ont produit ces rapports dont la Cour a reçu des copies aux fins d’examen avant le début du procès. Ils ont été d’une grande utilité à la Cour pour la préparation du procès et la compréhension générale des questions soulevées par les experts lors de leur témoignage.

[28]           Afin d’éviter les répétitions inutiles, j’affirme d’ores et déjà que tous les experts ont traité dans une certaine mesure des questions suivantes :

  1. les caractéristiques d’une personne versée dans l’art;
  2. les connaissances générales courantes que la personne versée dans l’art devrait avoir;
  3. la description du brevet 551;
  4. la façon d’interpréter les revendications du brevet 551;
  5. l’idée originale du brevet 551.

[29]           De plus, tous les experts à l’exception de James Trask ont abordé la demande Camarato et la question de l’évidence.

A.                Témoins experts de Pollard

(1)               Yih Lerh Huang

[30]           M. Huang a travaillé dans le secteur de la loterie pendant plus de 25 ans. Cofondateur de grouptheory systems incorporated (grouptheory), une entreprise d’impression et de production dans le secteur de la loterie, en 1984, il s’occupait de la production de billets, du contrôle du processus d’impression et de la génération de jeux. Ses responsabilités comprenaient la conception d’algorithmes pour les numéros de validation, les codes barres et l’accès sécurisé aux bases de données. Entre 1989 et 1995, son entreprise a produit des billets pour le compte de Pollard. En 1999, la Compagnie canadienne des billets de banque a fait l’acquisition de grouptheory et M. Huang en est devenu vice-président et directeur des techniques informatiques. Il a travaillé à ce titre jusqu’à sa retraite en 2010.

[31]           Les parties s’entendent sur le mandat d’expert suivant pour M Huang :

Yih Lerh Huang est expert en génération de jeux dans le domaine des billets de loterie instantanée et des systèmes de gestion et de validation de billets instantanés. Cette expertise porte notamment sur la structure des lots et la validation des billets, qu’il s’agisse de billets instantanés ou de billets en ligne.

[32]           Dans son rapport d’expert, M. Huang a abordé toutes les questions au paragraphe ‎[28] ci-dessus, et affirme, entre autres, que le brevet 551 est évident, compte tenu de la demande Camarato. Lors de son interrogatoire principal, M. Huang a précisé certains aspects de son rapport.

[33]           Lors de son contre-interrogatoire, on a demandé à M. Huang d’expliquer les différences entre les divers types de billets de loterie, les contrefaçons possibles des billets de loterie et les façons de prévenir ce genre d’activité ainsi que les mesures de sécurité de ce secteur. M. Huang a été prié par la suite de parler des connaissances générales courantes de la période pertinente et de plusieurs éléments d’antériorité mentionnés dans son rapport, notamment de la présence de codes barres 2D à cette période. En outre, il lui a été demandé d’expliquer le brevet 551 et de parler de la signification des éléments de la revendication 1; c’est à ce moment-là qu’il a confirmé que les éléments de cette revendication étaient tous essentiels, selon lui.

[34]           Le témoignage de M. Huang s’est avéré utile à la Cour dans l’interprétation des revendications du brevet 551 et dans l’évaluation de la validité de celles-ci. Les réponses qu’il a fournies aux avocats des deux parties ont été honnêtes. Ses opinions étaient cohérentes et il a admis certains faits au moment opportun. J’ai conclu que M. Huang était un témoin crédible.

(2)               Nicholas Fazzano

[35]           M. Fazzano est arrivé dans le secteur de la loterie en 1988 et a été employé par GTECH depuis cette année-là, à l’exception d’une période de six mois au début des années 1990. D’abord directeur des opérations responsable des achats et du budget pour la division de l’impression, M. Fazzano s’est occupé par la suite des relations avec la clientèle, du développement des jeux et du soutien aux ventes. Détaché provisoirement auprès d’un consortium ayant l’autorisation d’exploiter une loterie nationale au Royaume-Uni au milieu des années 1990, M. Fazzano était une autorité locale relativement aux billets instantanés devant superviser les essais de chaque jeu et la mise au point des procédures d’exploitation. Il a continué d’assumer ses fonctions en tant qu’expert non officiel en billets de loterie instantanée jusqu’à son retour à GTECH. Depuis, il a participé au lancement d’un certain nombre de loteries, surtout en ce qui concerne les billets de loterie instantanée. Actuellement, il est administrateur pour le groupe de commercialisation des loteries de GTECH et aide les clients à faire croître leurs activités liées aux billets instantanés.

[36]           Les parties s’entendent sur le mandat d’expert suivant pour M. Fazzano :

Nick Fazzano est expert dans le domaine de la loterie, surtout dans le domaine des billets instantanés, plus particulièrement en matière de conception de jeu, de fabrication, d’exploitation et de vente et de mise en place de systèmes de gestion et de validation des billets instantanés.

[37]           Outre les questions susmentionnées au paragraphe [28], le rapport d’expert de M. Fazzano traite de plusieurs références d’antériorité et présente des conclusions affirmant, entre autres, i) que la revendication 1 du brevet 551 se heurte à une antériorité par la demande Camarato et ii) que l’idée originale du brevet 551 aurait été évidente à la personne versée dans l’art qui se fonde sur la demande Camarato et les connaissances générales courantes. M. Fazzano a précisé certains aspects de son rapport lors son interrogatoire principal.

[38]           Lors de son contre-interrogatoire, M. Fazzano a décrit les différences entre un billet à gratter et un billet à languettes, et a présenté des détails supplémentaires sur l’impression des billets et sur la sécurité. Un certain nombre de questions lui ont été posées concernant les revues spécialisées et les antériorités présentes dans son rapport, et il a confirmé qu’il était possible d’imprimer un code barres 2D à l’aide des moyens techniques dont on disposait au début des années 1990. Le reste du contre-interrogatoire a porté sur l’analyse de M. Fazzano de la compréhension qu’une personne versée dans l’art aurait eue du brevet 551 et des éléments des revendications.

[39]           Tout comme celui de M. Huang, le témoignage de M. Fazzano était honnête. Il a fait preuve de cohérence dans ses opinions et il a admis certains faits au moment opportun. Son rapport d’expert et son interrogatoire devant la Cour ont été utiles à la compréhension du brevet 551 et à l’interprétation des revendications.

B.                 Témoin de fait de Pollard

(1)               Lyle Scrymgeour

[40]           M. Scrymgeour a agi à titre de représentant de Pollard lors des interrogatoires préalables précédant le procès. Il a travaillé pour Pollard de 1978 à 2010, le plus souvent à titre de vice-président des services techniques. Ses principales responsabilités à ce titre relevaient de la sécurité des billets, de la mise en œuvre des processus, du développement de produits et de l’application technique. Depuis 2010, il travaille à titre de consultant pour Pollard.

[41]           Il faut souligner que, malgré l’étendue de son expérience dans ce domaine, M. Scrymgeour est un témoin des faits et non un témoin expert. Par conséquent, le témoignage de M. Scrymgeour se limite aux faits et ne saurait inclure des opinions. Ce commentaire s’applique également au témoignage des témoins des faits de SG.

[42]           Au cours de l’interrogatoire principal, M. Scrymgeour a parlé de l’historique de Pollard, une entreprise qui imprimait des billets de loterie à gratter. En outre, il a parlé des démarches entreprises par Pollard pour contester l’invention du brevet 551, ce qui comprend les contestations déposées au Bureau des brevets au Canada, le processus d’opposition entrepris à l’Office européen des brevets et la correspondance liée à l’avis juridique d’un avocat des États-Unis portant sur la validité du brevet américain 991 qui correspond au brevet 551.

[43]           Dans son témoignage, M. Scrymgeour a également discuté des essais réalisés par Pollard en 1991 sur une variété de codes barres, notamment les codes barres 2D, masqués par des couches à gratter. Ont été présentés en preuve au procès : 1) un extrait pertinent provenant d’un portatif du laboratoire de Pollard et 2) une carte-copie sur laquelle les codes barres susmentionnés ont été imprimés. M. Scrymgeour a par la suite décrit les premières utilisations des codes barres 2D servant à la validation des billets de loterie instantanée.

[44]           Lors de son contre-interrogatoire, SG a porté à son attention les déclarations que lui-même et une autre employée de Pollard, Teri Masson, avaient faites en 2002 à propos des essais dont il a été question au paragraphe précédent. Le fait que ces essais ne portaient pas sur des codes barres imprimés sur une carte-copie, mais plutôt sur des [traduction] « échantillons de billet de loterie » indique que les codes barres masqués par une couche à gratter ont été mis en œuvre pour la première fois en 1991. Lorsqu’il lui a été demandé si ces déclarations étaient trompeuses, M. Scrymgeour a reconnu qu’ [traduction] « une erreur a été commise ». Lors de son contre-interrogatoire, M. Scrymgeour a été interrogé au sujet des tentatives infructueuses de la part de Pollard à faire invalider le brevet américain 991 aux États-Unis.

[45]           Cette partie la déclaration de 2002 de M. Scrymgeour selon laquelle les essais de Pollard menés en 1991 portaient sur des échantillons de billet de loterie et non pas sur des barres codes imprimés sur une carte-copie aurait pu être jugée douteuse, mais j’ai conclu qu’il n’y avait pas lieu de faire cette distinction pour rendre ma décision en l’espèce. Qui plus est, même si M. Scrymgeour admet avoir commis une erreur dans cette déclaration, cela n’affecte en rien la fiabilité générale de son témoignage, car il existe fort peu d’éléments de preuve, le cas échéant, qui contredisent la partie de son témoignage sur laquelle je me fonde.

C.                 Témoins experts de SG

(1)               Fred Finnerty

[46]           M. Finnerty a travaillé dans le secteur de la loterie pendant 28 ans. Il a de l’expérience dans la mise au point et la mise en place de systèmes de validation de billets instantanés ainsi que dans la conception graphique, la mise en page et la conception de systèmes d’impression et de production de billets instantanés. De 1988 à 1997, il a travaillé chez Dittler Brothers, une entreprise d’impression spécialisée dans la production de billets de loterie instantanée. Par suite d’un ensemble d’opérations commerciales, SG a fait l’acquisition de Dittler Brothers. Chez SG, M. Finnerty a d’abord été programmeur avant de devenir responsable en recherche et développement. Par la suite, il est devenu directeur en recherche et développement. Actuellement, M. Finnerty travaille à titre de consultant dans le secteur de la loterie.

[47]           Les parties s’entendent sur le mandat d’expert suivant pour M. Finnerty :

Fred W. Finnerty est expert en mise au point et en mise en place de systèmes de validation de billets de loterie instantanée. Son expertise couvre la conception graphique, la mise en page et la conception de systèmes d’impression et de production de billets de loterie instantanée, surtout les billets à gratter.

[48]           Dans son rapport d’expert, M. Finnerty traite de toutes les questions au paragraphe [28], ci-dessus, pour conclure qu’une personne versée dans l’art en 1995 n’aurait pas nécessairement eu l’idée de recourir à un code barres 2D masqué par une couche à gratter pour améliorer la validation des billets. M. Finnerty a également commenté les conclusions de M. Fazzano et M. Huang en ce qui a trait à l’évidence, faisant valoir que n’ayant pas examiné les difficultés pratiques et techniques à surmonter, ceux-ci ont mal interprété l’antériorité. Plus précisément, M. Finnerty est d’avis que la demande Camarato n’avait aucun lien avec le brevet 551, car il ne s’y trouve aucun renvoi à un numéro de validation pour l’identification des billets gagnants.

[49]           Lors de son interrogatoire principal, M. Finnerty a ajouté de nouveaux détails sur ses antécédents professionnels et résumé son désaccord envers les experts de Pollard concernant la compréhension du brevet 551 d’une personne versée dans l’art. Il résume aussi son point de vue sur les raisons pour lesquelles une personne versée dans l’art n’aurait pas considéré le brevet 551 comme étant évident.

[50]           Lors de son contre-interrogatoire, M. Finnerty a répondu aux questions concernant les connaissances générales courantes à l’époque pertinente avant d’examiner le brevet 551 avec l’avocat de Pollard.

[51]           En réponse à une question portant sur la demande Camarato, M. Finnerty a soudainement affirmé (pour la première fois devant la Cour) qu’il avait [traduction] « manifestement mal interprété » la demande Camarato dans son rapport, car il n’avait pas bien saisi son contenu. Il a demandé à ce que cette partie de son rapport soit retirée. Même s’il a traité de la demande Camarato lors de son contre-interrogatoire, il ne semblait toujours pas bien maîtriser son contenu, car, à un moment, il a affirmé par erreur qu’elle traitait des billets à languettes et non des billets de [traduction] « loterie ».

[52]           M. Finnerty donne l’impression de ne pas avoir passé suffisamment de temps à examiner les documents pertinents, notamment le brevet en cause, pour préparer son témoignage. Par exemple, il ne semblait pas savoir que la revendication 1 portait sur un billet de loterie et non sur un document imprimé quelconque. Sa méthode d’analyse semblait, elle aussi, manquer de rigueur. Selon lui, une partie de la revendication 1 portait sur la configuration illustrée à la figure 3 du brevet 551, alors qu’une autre partie de la même revendication portait sur une configuration différente, illustrée à la figure 4. Je traiterai à nouveau de cette conclusion portant à confusion lors de mon analyse sur l’interprétation des revendications.

[53]           Le fait que M. Finnerty admette, en contre-interrogatoire, qu’il ne comprenait pas du tout ce qui, d’évidence, était l’élément d’antériorité le plus important de ce dossier était assez étonnant. Je ne comprends cependant pas pourquoi la rétractation de M. Finnerty n’a pas été abordée pendant son interrogatoire principal. Selon le témoignage de M. Finnerty, il semble qu’il ait reconnu son erreur bien avant le procès, soit à la lecture des documents préparés par les experts de Pollard, et qu’il en ait fait part à l’avocat de SG. Il a d’ailleurs dit, dans son témoignage, qu’on lui a dit qu’il n’était plus possible de modifier son rapport ni d’y apporter des précisions. Le fait de ne pas avoir abordé cette erreur lors de l’interrogatoire principal, et donc de laisser le rapport de M. Finnerty inchangé, n’est pas seulement un impair stratégique de la part de SG, cela fait aussi valoir qu’on ait pu espérer que la perplexité de M. Finnerty passe inaperçue afin que son rapport soit pris en compte sans modifications. Une telle façon de procéder serait inappropriée, car elle induirait la Cour en erreur en ce qui concerne la véritable opinion de l’expert. L’avocat de Pollard a indiqué (à juste titre) qu’il aurait pu choisir de ne poser aucune question sur la demande Camarato en contre-interrogatoire, auquel cas la perplexité de M. Finnerty serait certainement passée inaperçue. Il se peut qu’il y ait une explication raisonnable au fait que le rapport de M. Finnerty n’a pas été corrigé dès le début de son témoignage, mais aucune explication n’a été fournie.

(2)               James Trask

[54]           Avant de prendre sa retraite récemment, M. Trask a travaillé dans le secteur de la loterie pendant 38 ans, surtout au sein de SG et chez ses prédécesseurs. Au cours de sa carrière, il a tenu plusieurs postes de cadre supérieur comprenant diverses responsabilités administratives et opérationnelles, y compris les ventes, la commercialisation, l’élaboration de nouveaux produits, le développement de nouveaux marchés, la production et l’assurance de la qualité. À sa retraite, en janvier 2015, il était président de SG et directeur général adjoint des opérations mondiales à la maison mère de SG.

[55]           Comme les autres experts, les parties se sont entendues sur un mandat d’expert pour M. Trask. Il est rédigé comme suit :

James Trask est un expert dans le domaine des billets de loterie instantanée, y compris dans l’élaboration de nouveaux produits, la commercialisation, la vente, l’exploitation et la production. Cette expertise couvre la supervision des opérations dans les installations d’impression sécurisée, y compris celles où sont imprimés les billets de loterie.

[56]           Malgré ce mandat relatif à l’expertise de M. Trask, Pollard s’oppose à ce témoignage, car le témoin, en raison de sa grande proximité avec SG, serait incapable de se conformer aux obligations d’un témoin expert. Par suite des témoignages et plaidoiries livrés sur la question de l’admissibilité, l’important témoignage de M. Trask a pu être entendu à condition que je juge de l’admissibilité au moment de rendre ma décision sur le fond. Cette décision suit la description du témoignage de M. Trask.

[57]           Dans son rapport d’expert, M. Trask traite de toutes les questions traitées au paragraphe [28] ci-dessus. De plus, M. Trask a aussi relevé un certain nombre de billets de loterie canadiens qui, à son avis, contiennent toutes les caractéristiques essentielles d’un billet présentées dans les revendications du brevet 551. Fait intéressant, il n’a cependant pas explicitement mentionné les caractéristiques qu’il juge essentielles.

[58]           Lors de son premier interrogatoire principal portant sur la question de l’admissibilité, M. Trask a apporté quelques précisions sur ses antécédents professionnels, surtout en ce qui concerne la période au sein de SG précédant sa retraite. Il a ensuite été contre-interrogé sur sa capacité à agir à titre de témoin impartial. M. Trask a parlé de sa relation financière actuelle avec l’entreprise, précisé son niveau de participation dans le contentieux actuel avant sa retraite et commenté divers contrats de licence qu’il a signés au nom de SG relativement au brevet 551. C’est à ce moment-là que l’avocat a présenté des arguments sur l’admissibilité de son témoignage.

[59]           Pendant le reste de l’interrogatoire principal, M. Trask a répondu à des questions portant sur les connaissances générales courantes dans le secteur de la loterie au milieu des années 1990, surtout en ce qui a trait à la sécurité des billets et au processus d’impression et sur la compréhension du brevet 551 qu’aurait la personne versée dans l’art. L’avocat de SG lui a montré un certain nombre de billets instantanés et il a confirmé que chaque billet comportait les éléments essentiels des revendications du brevet 551. Lors du contre-interrogatoire sur les questions importantes, M. Trask a offert quelques précisions sur la validation des billets à gratter et a confirmé qu’il jugeait essentiel l’ensemble des éléments de la revendication 1 du brevet 551. Il a par la suite confirmé que les codes barres présents sur les billets qu’il a examinés étaient dans les aires de jeu révélées par l’acheteur en jouant.

(a)                Admissibilité

[60]           À mon avis, M. Trask n’a pas fait preuve de partialité ni de manque d’indépendance lors de son témoignage. À vrai dire, son témoignage favorisait même plus Pollard que SG à certains égards.

[61]           Il est constant que la jurisprudence qui s’applique dans le cas de l’admissibilité du témoignage de M. Trask est l’arrêt White Burgess Langille Inman c. Abbott and Haliburton Co., 2015 CSC 23 [WBLI]. Il s’agit d’une décision unanime de la Cour suprême du Canada (CSC) faisant état de quatre critères d’admissibilité du témoignage d’opinion de l’expert, à savoir : 1) la pertinence de la preuve; 2) la nécessité d’aider le juge des faits; 3) l’absence de toute règle d’exclusion; 4) la qualification suffisante de l’expert. La CSC a également indiqué qu’en plus de ces quatre critères, la Cour dispose d’un pouvoir discrétionnaire résiduel permettant d’exclure une preuve de ce genre à l’issue d’une analyse coût-bénéfice (arrêt WBLI, au paragraphe 19). L’opinion d’un expert doit être impartiale (il doit s’agir d’un examen objectif), indépendante (ne pas être influencée par une partie ni par l’issue) et sans parti pris. Le critère décisif est que l’opinion de l’expert ne changerait pas, peu importe la partie qui aurait retenu ses services (arrêt WBLI, au paragraphe 32). Une fois que l’expert affirme sous serment qu’il satisfait à ces exigences, il incombe à la partie qui s’oppose à ce témoignage de démontrer un motif réaliste de croire que l’expert ne peut ou ne veut pas s’acquitter de son obligation (arrêt WBLI, au paragraphe 48).

[62]           Tel que l’a affirmé la Cour au paragraphe 49 de l’arrêt WBLI :

Ce critère n’est pas particulièrement exigeant, et il sera probablement très rare que le témoignage de l’expert proposé soit jugé inadmissible au motif qu’il ne satisfait pas au critère. Le juge de première instance doit déterminer, compte tenu de la situation particulière de l’expert tout comme de la teneur du témoignage proposé, si l’expert peut et veut s’acquitter de sa principale obligation envers le tribunal.

[63]           Pour appliquer cette démarche en l’espèce, je ne vois aucune raison de s’inquiéter de la capacité ou de la volonté de M. Trask à s’acquitter de son obligation. La CSC relève un certain nombre de cas où le témoignage d’expert peut être jugé inadmissible, y compris lorsqu’il existe un lien financier, des liens familiaux, une exposition possible à une responsabilité professionnelle ou lorsque le témoin tient le rôle de défenseur. Aucun de ces cas ne s’applique à M. Trask. Je suis également convaincu qu’aucune réserve n’est émise quant au fait que les risques liés au témoignage de M. Trask ne l’emportent pas sur la pertinence, la nécessité, la fiabilité et l’absence de parti pris (arrêt WBLI, au paragraphe 54). Pour ces motifs, je n’ai pas été persuadé qu’il fallait déclarer inadmissible le témoignage de M. Trask.

D.                Témoins des faits de SG

(1)               Carla Schaefer

[64]           Mme Schaefer travaille dans le secteur de la loterie depuis plus de 30 ans et est actuellement vice-présidente de la prospection de clientèle à la maison mère de SG. Elle a présenté l’historique de SG, en tant qu’entreprise, et la façon de faire des affaires dans le secteur de la loterie. Plus précisément, son discours portait sur les mécanismes de sécurité s’appliquant aux billets et sur le contrôle de la qualité. Elle a également mentionné que le secteur de la loterie est petit, que l’intégrité y est d’une importance considérable en raison du haut potentiel de fraude et de l’attitude conservatrice des clients, le plus souvent des gouvernements. En outre, Mme Schaefer a désigné plusieurs documents, y compris i) des documents de commercialisation portant sur un produit commercialisé lié au brevet 551, appelé [traduction] « FAILSAFE » (sécurité intégrée); ii) plusieurs contrats de licence concernant l’utilisation de l’invention brevetée; iii) la correspondance de SG avec les titulaires de licence canadiens concernant le paiement de redevances.

[65]           Lors de son contre-interrogatoire, Mme Schaefer a confirmé que les documents de commercialisation portant sur le produit FAILSAFE indiquent qu’un code barres 1D ou 2D suffisait pour mettre en place la technologie à sécurité intégrée, bien qu’elle ait souligné que la plupart des gens associaient la sécurité intégrée aux codes barres 2D. Elle a fait savoir qu’elle ne connaissait aucun client qui profitait de la technologie à sécurité intégrée au moyen d’un code barres 1D. Elle a également mentionné qu’il ne serait pas logique de la part d’un client d’adopter la technologie à sécurité intégrée au moyen d’un code barres 1D. En outre, elle a parlé de la pertinence du choix de l’emplacement du code barres sur un billet de loterie à gratter et précisé quelque peu le contenu des contrats de licence qu’elle avait identifiés.

[66]           Même si Mme Schaefer a fourni quelques renseignements utiles sur les contrats de licence et la promotion du produit commercial associé au brevet 551, son témoignage semblait avoir été influencé à l’occasion par son association étroite avec SG. Le fait qu’elle souligne, par exemple, que la technologie FAILSAFE est associée aux codes barres 2D (et non aux codes barres 1D), semble s’opposer quelque peu aux documents de commercialisation qu’elle a présentés et qui prévoient explicitement l’utilisation de codes barres 1D ou 2D. À ce fait s’ajoute l’affirmation de Mme Schaefer selon laquelle l’avantage déterminant de la technologie FAILSAFE serait la capacité des consommateurs à éviter la fraude des détaillants en validant eux-mêmes leurs propres billets après avoir gratté la couche recouvrant le code barres. Cette vérification libre-service est pourtant incompatible avec un aspect de la revendication 1 du brevet 551, selon lequel le code barres doit rester masqué jusqu’à la validation par le détaillant. Lors de son contre-interrogatoire, Mme Schaefer a avancé que la technologie FAILSAFE pourrait également faire usage d’un code barres qui resterait masqué jusqu’au moment de la validation si cette méthode est requise, mais cette méthode n’est mentionnée nulle part dans les documents de commercialisation et Mme Schaefer a admis que ce type de méthode n’a pas été employé.

(2)               Pierre LaPlante

[67]           M. LaPlante est consultant en gestion et partenaire de la société de consultation en gestion Groupe NuFocus Strategic. De 1982 à 2008, il a travaillé pour la Société des loteries de l’Atlantique (SLA), d’abord à titre de technicien en communications au service des TI, puis à titre de gestionnaire de l’entretien d’appareils de loterie, de gestionnaire des réseaux de télécommunication et des opérations, de vice-président de l’informatique et enfin à titre de vice-président du développement organisationnel.

[68]           Lors de son interrogatoire principal, M. LaPlante a parlé de l’adoption par SLA du système de validation en ligne pour les billets de loterie instantanée et de l’utilisation de codes barres dans ce contexte. Il a désigné un documentaire télévisuel datant de 2006 et portant sur la fraude existant sur le marché de la loterie au Canada, documentaire qui a été visionné par la Cour. M. LaPlante a parlé des répercussions que le documentaire a eues sur le secteur de la loterie, notamment le redoublement des efforts en vue d’améliorer le volet sécurité. M. LaPlante, qui a également désigné un rapport de 2007 préparé par l’ombudsman de l’Ontario portant sur le même sujet, affirme que même si le rapport et le documentaire concernent le jeu en ligne (jeu pour lequel les billets gagnants et perdants ne sont pas prédéterminés, les numéros gagnants étant tirés au sort), l’accroissement de la sécurité s’est tout de même répercuté sur les billets instantanés. Il fait aussi état d’un rapport semblable préparé par l’ombudsman de la Colombie-Britannique. M. LaPlante a par la suite traité de l’adoption par la SAL des codes barres 2D masqués par une couche à gratter au milieu des années 2000.

[69]           Lors de son contre-interrogatoire, M. LaPlante a apporté quelques précisions sur le milieu des billets de loterie à gratter et a confirmé que le rapport de l’ombudsman de l’Ontario ne fait pas de recommandation concernant la sécurité des billets instantanés.

[70]           Le principal objectif du témoignage de M. LaPlante semble avoir été la présentation du documentaire télévisuel et du rapport de l’ombudsman de l’Ontario. Selon ma conclusion, ces documents concernent surtout la fraude commise par des détaillants, alors que le brevet 551 se préoccupe de la fraude commise par les consommateurs; c’est pourquoi je juge que la pertinence de ces documents demeure marginale.

VI.             Interprétation des revendications

A.                Loi applicable

[71]           L’interprétation des revendications précède l’examen des questions de validité et de contrefaçon : arrêt Whirlpool Corp c. Camco Inc., 2000 CSC 67, au paragraphe 43 [Whirlpool].

[72]           Un brevet ne s’adresse pas au citoyen ordinaire, mais au travailleur versé dans l’art décrit comme :

[traduction] un être fictif ayant des compétences et des connaissances usuelles dans l’art dont relève l’invention et un esprit désireux de comprendre la description qui lui est destinée. Cette notion de la personne fictive a parfois été assimilée à celle de l’« homme raisonnable » retenue en matière de négligence. On suppose que cette personne va tenter de réussir, et non rechercher les difficultés ou viser l’échec.

[Arrêt Free World Trust c. Électro Santé Inc., 2000 CSC 66, au paragraphe 44, citant Fox, Harold G. The Canadian Law and Practice Relating to Letters Patent for Inventions, 4e éd., Toronto: Carswell, 1969, à la p. 184.]

[73]           Comme il est indiqué dans l’arrêt Catnic Components Ltd v Hill & Smith Ltd, [1982] RPC 183, aux pages 242 et 243 [Catnic], et cité dans l’arrêt Whirlpool, au paragraphe 44 :

Le mémoire descriptif d’un brevet doit recevoir une interprétation téléologique plutôt que l’interprétation purement littérale découlant du genre d’analyse terminologique méticuleuse que les avocats sont trop souvent tentés de faire en raison de leur formation. La question qui se pose dans chaque cas est la suivante:  les personnes ayant une connaissance et une expérience pratiques du genre de travail auquel l’invention est destinée à servir comprendraient‑elles que le breveté voulait que l’interprétation stricte d’une expression ou d’un mot descriptifs particuliers figurant dans une revendication constitue une condition essentielle de l’invention, de manière à ce que toute variante soit exclue du monopole revendiqué même s’il se peut qu’elle n’ait aucun effet important sur la façon dont l’invention fonctionne.

[En italique dans l’original.]

[74]           C’est la teneur des revendications qui, dans une interprétation téléologique, démontre que certains éléments de l’invention revendiquée sont essentiels alors que d’autres ne le sont pas : voir l’arrêt Free World Trust c. Électro Santé Inc., 2000 SCC 66, au paragraphe 31 [Free World Trust]. Comme les éléments d’une revendication sont censés être essentiels, il incombe à la partie qui prétend le contraire d’en établir le caractère non essentiel.

[75]           Pour interpréter une revendication de façon téléologique, il est important de garder à l’esprit la primauté de la teneur des revendications : voir l’arrêt Free World Trust, paragraphe 40.

[76]           Tel qu’énoncé dans l’arrêt Consolboard Inc c. MacMillan Bloedel (Sask.) Ltd, [1981] 1 RCS 504, à la page 520 :

Il faut considérer l’ensemble de la divulgation et des revendications pour déterminer la nature de l’invention et son mode de fonctionnement (Noranda Mines Limited c. Minerals Separation North American Corporation), [1950] R.C.S. 36), sans être ni indulgent ni dur, mais plutôt en cherchant une interprétation qui soit raisonnable et équitable à la fois pour le titulaire du brevet et pour le public. Ce n’est pas le moment d’être trop rusé ou formaliste en matière d’oppositions soit au titre ou au mémoire descriptif puisque, comme le dit le juge en chef Duff, au nom de la Cour, dans l’arrêt Western Electric Company, Incorporated, et Northern Electric Company c. Baldwin International Radio of Canada [[1934] R.C.S. 570], à la p. 574 : [traduction] « quand le texte du mémoire descriptif, interprété de façon raisonnable, peut se lire de façon à accorder à l’inventeur l’exclusivité de ce qu’il a inventé de bonne foi, la Cour, en règle générale, cherche à mettre cette interprétation à effet ». Sir George Jessel a dit à peu près la même chose il y a beaucoup plus longtemps dans l’arrêt Hinks & Son c. Safety Lighting Company [(1876), 4 Ch. D. 607]. Il a dit que l’on devait aborder le brevet « avec le souci judiciaire de confirmer une invention vraiment utile ».

[77]           Si plusieurs interprétations sont raisonnablement possibles, la Cour doit favoriser celle qui permet de confirmer la validité du brevet : voir la décision Letourneau c. Clearbrook Iron Works Ltd., 2005 CF 1229, aux paragraphes 37 et 38; la décision Pfizer Canada Inc. c. Canada (Ministre de la Santé), 2005 CF 1725, au paragraphe 52.

[78]           Il existerait une incompatibilité entre un principe selon lequel l’interprétation des revendications est antérieure à l’examen des questions portant sur la validité et un autre principe selon lequel on doit favoriser l’interprétation qui permet de confirmer la validité du brevet (ou aborder celui-ci avec le souci judiciaire de confirmer une invention vraiment utile). Il semblerait que l’on doive favoriser l’interprétation qui permet de confirmer un brevet seulement après avoir examiné ce qui est nécessaire à la confirmation de la validité du brevet. Il n’est donc pas tout à fait clair s’il faut examiner les questions concernant la validité au moment d’interpréter les revendications. À mon avis, les deux principes susmentionnés vont de pair. Pour clarifier les choses, on peut s’appuyer sur le fait que la Cour ne peut interpréter une revendication dans l’ignorance de l’objet du litige entre les parties; il est essentiel de voir où le bât blesse, de manière à pouvoir se concentrer sur les points importants : voir la décision Shire biochem inc. c. Canada (Santé), 2008 CF 538, au paragraphe 22; la décision Sanofi-Aventis Canada Inc. c. Apotex Inc., 2009 CF 676, au paragraphe 82.

[79]           Dans l’arrêt Free World Trust, la CSC a expressément rejeté le recours aux documents extrinsèques, notamment la correspondance entre le demandeur et l’examinateur, dans le but d’interpréter les revendications d’un brevet lors des poursuites portant sur ce brevet. La Cour s’est penchée sur un concept qui existe aux États-Unis, la préclusion fondée sur les notes apposées au dossier, qui prévoit que le breveté ne peut reprendre le terrain cédé au cours de poursuites portant sur une demande de brevet pour éviter que l’invention se heurte à une antériorité. De cette façon, la correspondance avec l’examinateur peut avoir de la pertinence lors de l’interprétation des revendications concernant des brevets américains. Cependant, dans l’arrêt Free World Trust, la Cour a plutôt opté pour la simplicité lorsqu’elle affirme au paragraphe 66 :

Autoriser la mise en preuve de tels éléments extrinsèques pour déterminer l’étendue d’un monopole compromettrait le rôle des revendications dans l’information du public et ajouterait à l’incertitude, tout en attisant le brasier déjà intense du contentieux en matière de brevets. La faveur dont jouit actuellement l’interprétation téléologique, qui assure la primauté de la teneur des revendications, paraît également incompatible avec l’ouverture de la boîte de Pandore que serait la préclusion fondée sur les notes apposées au dossier. Lorsque des observations importantes lui sont présentées concernant la portée des revendications, le Bureau des brevets devrait exiger, si besoin est, qu’une modification soit apportée en conséquence aux revendications.

[80]           La CSC ne s’est pas penchée sur la possibilité que le Bureau des brevets puisse ne pas exiger l’apport de modifications au brevet pour y faire inscrire les observations présentées par le demandeur. Elle n’a pas non plus expliqué par quel moyen les revendications jouent un rôle d’information du public, ce qui n’est pas non plus le cas de l’historique des poursuites, qui lui aussi est accessible au public. Je remarque également que les historiques des poursuites sont maintenant disponibles sur Internet dans bon nombre de pays (y compris au Canada), ce qui n’était pas le cas en 2000, au moment où l’arrêt Free World Trust a été rendu. Cette situation soulève la possibilité d’un réexamen de la règle qui interdit de recourir à la preuve extrinsèque lors de l’interprétation d’une revendication.

[81]           Quoi qu’il en soit, pour l’instant, il est assez constant en droit canadien que la preuve extrinsèque n’est pas pertinente pour l’interprétation des revendications.

B.                 Personne versée dans l’art

[82]           Les parties semblent s’entendre en grande partie sur les caractéristiques de la personne versée dans l’art. Après avoir entendu l’avis de tous les experts, j’en conclus que le brevet 551 s’adresse aux personnes ayant des connaissances sur le secteur de la loterie et plus précisément sur la conception de jeux de loterie instantanée, sur la conception, la production, la distribution et la validation des billets, ainsi que sur les caractéristiques de sécurité.

[83]           Aucun des experts entendus n’a indiqué que la personne versée dans l’art devait avoir fait des études postsecondaires. Celle-ci doit cependant avoir une expérience pratique des domaines pertinents.

C.                 Analyse

[84]           Les parties s’entendent sur la signification de la majeure partie du libellé des revendications du brevet 551, mais elles sont, assez naturellement, en désaccord sur certains points. Pollard tire de ces revendications un certain nombre de termes qui devraient être interprétés. Elle fait également valoir que tous les éléments des revendications sont essentiels.

[85]           Plutôt que d’interpréter un à un les termes relevés par Pollard, il faudrait, selon SG, fonder l’interprétation des revendications et la détermination du caractère essentiel de celles-ci sur l’idée originale du brevet 551, idée sur laquelle les parties s’entendent généralement. À mon avis, une telle démarche serait erronée. Le fait de ne cerner que l’idée originale pour interpréter une revendication risque de faire abstraction du libellé des revendications. S’il faut prendre soin de ne pas interpréter trop littéralement les revendications, il faut tout de même tenir compte de la primauté du libellé des revendications. Je traiterai ci-dessous de l’idée originale en gardant à l’esprit l’allégation de Pollard sur l’évidence.

[86]           Je traiterai dans les paragraphes qui suivent de divers éléments des revendications.

(1)               Revendication 1

[87]           Pour votre commodité, je reproduis ici la revendication no 1 du brevet 551 :

[traduction] 1. Un billet de loterie à gratter comprenant :

a) un support;

b) une aire de jeu présente sur ce support constituée d’indications imprimées, qui lorsqu’elles sont présentées au format souhaité peuvent donner lieu au gain d’un lot;

c) une aire extérieure au jeu présente sur le support distincte des indications imprimées dans l’aire de jeu et comprenant un moyen d’authentification composé d’un code barres bidimensionnel (2D), ledit code barres 2D contenant tous les renseignements nécessaires à l’authentification du billet de loterie, ledit code barres 2D pouvant être lu par un agent de loterie à l’aide d’un dispositif de lecture de telle sorte qu’à la lecture du code barres 2D par ce dispositif, l’authentification se fait sans que l’agent de loterie ait à entrer de renseignements supplémentaires ou se fait directement à partir du document imprimé;

d) une couche à gratter continue recouvrant à la fois les indications imprimées dans ladite aire de jeu et le code barres dans ladite aire extérieure au jeu dans laquelle l’absence ou l’altération de la couche à gratter recouvrant le code barres est un facteur vraisemblablement décisif de l’authenticité du billet de loterie.

[88]           Il n’y a aucun désaccord sur la signification de l’expression [traduction] « billet de loterie à gratter » ni du terme [traduction] « support ». Un billet de loterie à gratter est un billet de loterie couramment vendu au comptoir-caisse de détaillants sur lequel se trouve une couche à gratter. Les autres éléments du billet sont placés sur le support fait de papier ou de carton.

(a)                « Aire de jeu »

[89]           La signification d’une « aire de jeu » fait référence, selon Pollard, à la partie du billet que le joueur est censé gratter (soit toute l’aire sous la couche à gratter à l’exception des aires portant l’indication [traduction] « nul si découvert ») ou, selon SG, à la partie de la surface masquée par la couche à gratter qui indique au joueur si le billet est gagnant ou non. La définition de SG exclut les parties masquées par une couche à gratter qui ne servent qu’à des fins de validation du billet ou d’administration de la loterie. Vue sous un autre angle, la différence entre ces deux définitions correspond au moment où le regard se porte sur l’aire de jeu, c’est-à-dire soit avant le grattage, soit après le grattage.

[90]           Le terme [traduction] « aire de jeu » n’est pas utilisé dans la partie liée à la divulgation du brevet 551, sauf dans un paragraphe, qui reprend textuellement la revendication 1.

[91]           L’interprétation de l’expression [traduction] « aire de jeu » dans cette revendication doit se faire en gardant à l’esprit l’expression [traduction] « aire extérieure au jeu ». Il semble n’y avoir aucun désaccord sur le fait que cette revendication définit le support du billet de loterie à gratter de manière à inclure une aire de jeu et une aire extérieure au jeu et que les deux sont mutuellement exclusives, c’est-à-dire qu’une aire ne peut à la fois faire partie de l’aire de jeu et de l’aire extérieure au jeu.

[92]           Il s’agit d’une considération pertinente, car, selon sa définition, l’aire extérieure au jeu comprend [traduction] « un moyen d’authentification composé d’un code barres bidimensionnel (2D) ». Aucune portion de l’aire extérieure au jeu ne fait partie de l’aire de jeu; il s’ensuit que le code barres ne peut pas être à l’intérieur de l’aire de jeu. SG est d’avis que l’interprétation faite par Pollard de l’expression [traduction] « aire de jeu » est erronée parce qu’elle ne permet pas une interprétation logique de la revendication 2. Comme elle dépend de la revendication 1, la revendication 2 en incorpore tous les éléments. Cependant, la revendication 2 mentionne clairement que le code barres fait partie de l’aire de jeu. Il pourrait aussi y avoir une absurdité dans la revendication 1 même, selon l’interprétation du passage [traduction] « une couche à gratter continue recouvrant à la fois les indications imprimées dans ladite aire de jeu et le code barres dans ladite aire extérieure au jeu ». Cette question sera examinée plus loin. Selon SG, si j’applique le principe selon lequel la Cour doit favoriser l’interprétation qui permet de confirmer le brevet (voir le paragraphe [77], ci-dessus), je devrais conclure que l’interprétation du terme [traduction] « aire de jeu » proposée par Pollard ne doit pas être suivie.

[93]           L’argumentation de SG, comme le fait remarquer Pollard, a le défaut de ne pas être soutenue par la majorité des témoignages d’expert. L’interprétation qui permet de confirmer le brevet ne s’impose que lorsque plusieurs interprétations sont raisonnablement possibles. Étant donné le peu de témoignages appuyant l’interprétation de l’expression [traduction] « aire de jeu » proposée par SG, je refuse de suivre cette interprétation, même si cette décision pouvait éviter de rendre invalide une revendication, ou les deux.

[94]           Les experts de Pollard, M. Huang et M. Fazzano, étaient tous les deux d’avis que l’aire de jeu est déterminée en regardant le billet avant le grattage, c’est-à-dire qu’il n’est pas nécessaire de gratter un billet pour déterminer l’étendue de l’aire de jeu. M. Trask, l’un des experts de SG, l’a reconnu en contre-interrogatoire et a confirmé que l’aire de jeu comprend l’aire sur laquelle le code barres peut être placé sous la même couche à gratter recouvrant les données de jeu. Même si M. Trask semble avoir eu une opinion différente lors de son interrogatoire, c’est ce qu’il a dit en contre-interrogatoire qui me convainc le plus.

[95]           L’autre expert présenté par SG, M. Finnerty, n’a pas abordé directement la définition de l’expression [traduction] « aire de jeu » dans son rapport, mais la position qu’il défend dans son témoignage appuie l’interprétation de SG. Comme je l’ai déjà indiqué, j’accorde peu de poids au témoignage de M. Finnerty en raison d’un certain manque de rigueur dans l’interprétation des revendications et du fait que ce témoignage contredit celui de tous les autres experts, y compris celui de l’autre expert de SG.

[96]           J’appuie donc l’interprétation proposée par Pollard de l’expression « aire de jeu ». Le terme désigne la partie du billet qu’un joueur doit gratter lorsqu’il joue. Elle comprend toute surface recouverte d’une couche à gratter qui ne comprend pas la mention [traduction] « nul si découvert » ou par une indication semblable.

(b)               « Indications imprimées de l’aire de jeu »

[97]           Les parties s’entendent pour dire que les indications imprimées sont des symboles de jeu qui sont variables et indiquent au joueur, après avoir gratté la pellicule de latex, si le billet est gagnant ou non. Les parties s’entendent pour dire que l’expression [traduction] « indications imprimées » est synonyme du terme [traduction] « données de jeu », utilisé dans la revendication 2.

[98]           Même s’il n’existe pas de différence entre les interprétations de cette expression proposées par les parties, il est important de garder à l’esprit que ces indications imprimées, dont il est question à la revendication 1, se situent dans l’aire de jeu.

(c)                « Aire extérieure au jeu »

[99]           Comme l’indique l’analyse précédente de l’expression [traduction] « aire extérieure au jeu », les parties semblent s’entendre pour dire que l’aire extérieure au jeu représente la partie du billet de loterie réclamé qui n’est pas l’aire de jeu. Après avoir déterminé que l’aire de jeu correspond à l’ensemble de la surface qui doit être grattée au moment du jeu, il s’ensuit que l’aire extérieure au jeu représente tout le reste du billet, y compris les parties recouvertes d’une couche à gratter qui ne doivent pas être grattées par le joueur, mais plutôt par l’agent de loterie au moment de la validation du billet.

(d)               « Distinct »

[100]       Ce terme de la revendication 1 se trouve dans l’extrait suivant : [traduction] « une aire extérieure au jeu présente sur le support distinct des indications imprimées de l’aire de jeu ». Le désaccord des parties sur l’interprétation du terme [traduction] « distinct » est fortement lié au désaccord sur la signification des termes [traduction] « aire de jeu » et [traduction] « aire extérieure au jeu ». L’interprétation de ces termes étant à présent arrêtée, l’interprétation du terme [traduction] « distinct » s’en trouve simplifiée.

[101]       Pollard affirme que [traduction] « distinct » indique une séparation physique entre l’aire extérieure au jeu et les indications imprimées de l’aire de jeu. Pollard affirme que ce terme se rapporte à la configuration illustrée à la figure 3 du brevet 551, dans laquelle le code barres et les indications imprimées sont recouverts par des couches à gratter distinctes, contrairement à ce qu’illustre la figure 4 où le code barres et les indications imprimées sont recouverts par une même couche à gratter. Pollard remarque qu’il existe l’emploi du terme [traduction] « distinct » dans la divulgation du brevet 551 à la page 4, ligne 6, qui renvoie à la première configuration.

[102]       SG, qui se fonde sur une interprétation plus étroite de l’aire de jeu, prétend que l’aire extérieure au jeu (qui comprend le code barres) peut englober une surface recouverte par la même couche à gratter que celle qui recouvre les indications imprimées de la revendication 1, à condition que l’aire extérieure au jeu et les indications imprimées ne chevauchent pas. Pour appuyer son argumentation, SG indique que le brevet 551, à la page 7, ligne 4, entrevoit la possibilité que les indications imprimées (données de jeu 54) chevauchent le code barres. Pour SG, le recours au terme [traduction] « distinct » n’avait d’autre but que celui d’exclure la possibilité d’un chevauchement éventuel des indications imprimées sur le code barres.

[103]       Ayant tiré les conclusions susmentionnées sur l’interprétation des expressions [traduction] « aire de jeu » et « aire extérieure au jeu », je ne peux être de l’avis de SG qui considère que le code barres (lequel, selon une définition explicite, doit se trouver dans l’aire extérieure au jeu) pourrait se situer sous la couche à gratter qui doit être enlevée en jouant.

[104]       À mon avis, le code barres doit être situé à l’extérieur de l’aire de jeu. Il est possible que le code barres et les indications imprimées de la revendication 1 puissent être situés sous la même couche à gratter, mais seulement dans le cas où ladite couche recouvrant le code barres porte une mention indiquant qu’il ne s’agit pas de l’aire de jeu, par exemple à l’aide de l’indication [traduction] « nul si découvert ».

(e)                « Ledit code barres 2D contenant tous les renseignements nécessaires à l’authentification du billet de loterie, ledit code barres 2D pouvant être lu par un agent de loterie à l’aide d’un dispositif de lecture de telle sorte qu’à la lecture du code barres 2D par le dispositif, l’authentification se fait sans que l’agent de loterie ait à entrer de renseignements supplémentaires ou se fait directement à partir du document imprimé »

[105]       Les parties ne semblent pas être en désaccord sur la signification de cette phrase. Elle indique que le code barres 2D contient tous les renseignements nécessaires à la validation du billet par machine. De plus, les parties semblent s’entendre sur le fait qu’il n’existe pas de différence importante entre validation et authentification en ce qui concerne le brevet 551.

[106]       Il convient de souligner que selon le libellé de cet élément, le dispositif de lecture servant à valider le billet doit être manipulé par un agent de loterie.

(f)                « Une couche à gratter continue recouvrant à la fois les indications imprimées dans ladite aire de jeu et le code barres dans ladite aire extérieure au jeu »

[107]       Je fais précéder l’analyse de cet élément de la revendication par la reprise du principe mentionné au paragraphe [79] ci-dessus, selon lequel l’interprétation d’une revendication doit se faire sans égard à la preuve extrinsèque, y compris les observations déposées auprès du Bureau des brevets durant les poursuites portant sur la demande qui a menée au brevet en cause. C’est pourquoi je n’ai pas tenu compte de ces observations pour faire l’analyse qui suit.

[108]       Relativement à cet élément, c’est la signification du mot [traduction] « continue » qui constitue le principal désaccord entre les parties.

[109]       Selon Pollard, [traduction] « une couche à gratter continue recouvrant à la fois les indications imprimées dans ladite aire de jeu et le code barres dans ladite aire extérieure au jeu » indiquerait qu’une seule couche à gratter recouvre non seulement les indications imprimées, mais aussi le code barres.

[110]       Il convient de noter que cette interprétation implique un résultat singulier qui devient pertinent dans l’analyse des allégations d’invalidité présentées par Pollard. Si le code barres est situé sous la même couche à gratter que celle qui recouvre les indications imprimées, le code barres (qui est défini comme faisant partie de l’aire extérieure au jeu) serait vraisemblablement situé dans l’aire de jeu. Comme je l’ai déjà indiqué, l’aire de jeu et l’aire extérieure au jeu s’excluent mutuellement, aucune partie de l’une ne pouvant faire partie de l’autre. Pour ne pas arriver à cette conclusion singulière, il faut que la partie de la couche à gratter unique qui masque le code barres indique d’une certaine façon qu’elle ne fait pas partie de l’aire de jeu (par exemple, en indiquant [traduction] « nul si découvert »). Cela dit, rien dans le brevet 551 ne nous indique que ce résultat est bien ce que l’auteur voulait dire par le mot [traduction] « continue ».

[111]       Selon SG, le mot [traduction] « continue » ne fait pas valoir qu’il existe une couche unique à gratter, mais plutôt que la couche, qu’il y en ait une ou plusieurs, masque complètement (couche continue) chacune des indications imprimées et le code barres. Pour appuyer son argument, SG cite plusieurs extraits du brevet 551 qui indiquent que le code barres est entièrement recouvert : [traduction] « entièrement recouvert », [traduction] « le code barres pourrait être masqué complètement », [traduction] « complètement recouvert », [traduction] « le code barres tout entier est recouvert », [traduction] « recouvert dans son intégralité ».

[112]       À mon avis, l’interprétation est raisonnable, mais quelque peu contraire à l’intuition. Si l’inventeur avait eu l’intention de seulement indiquer que chacune des indications imprimées et le code barres doivent être recouverts dans leur intégralité, je me serais attendu à une phraséologie semblable à celle citée par SG qui provient de la partie divulgation du brevet 551. Si je devais interpréter le mot [traduction] « continue » dans le seul contexte de l’expression [traduction] « une couche continue à gratter recouvrant l’ensemble des indications imprimées de ladite aire de jeu et le code barres dans ladite aire extérieure au jeu », j’en conclurais que le mot commande une couche unique recouvrant à la fois le code barres et les indications imprimées.

[113]       Même le propre expert de SG, M. Finnerty, a semblé trouver cette interprétation intéressante. À au moins deux reprises au cours de son témoignage, soit une fois lors de l’interrogatoire principal et une fois lors du contre-interrogatoire, il a manifestement exprimé l’opinion portant à confusion selon laquelle le sous-paragraphe c) de la revendication 1 concernerait la configuration de la figure 3 et le sous-paragraphe d), la configuration de la figure 4. Mis à part la nature déconcertante de cette opinion, celle-ci fait valoir que le mot [traduction] « continue » s’appliquerait à une couche à gratter unique. Cependant, je ne considère pas que M. Finnerty a affirmé de manière explicite dans son rapport qu’il se montre en désaccord avec les experts de Pollard qui pensent que le terme [traduction] « continue » implique l’existence d’une couche à gratter unique.

[114]       J’ai de la difficulté à souscrire aux deux interprétations possibles du mot [traduction] « continue ». Cependant, je conclus que l’interprétation proposée par SG est plus conforme à l’intention de l’inventeur exprimée dans le brevet 551. Par conséquent, je conclus que l’expression [traduction] « une couche à gratter continue recouvrant à la fois les indications imprimées de ladite aire de jeu et le code barres dans ladite aire extérieure au jeu » indique que chacune des indications imprimées et le code barres doivent être complètement masqués. Ce faisant, il pourrait y avoir plus d’une couche à gratter.

[115]       Après avoir rendu ma conclusion sur l’interprétation de cet élément de la revendication sans avoir pris en considération aucune des observations déposées au Bureau des brevets au cours des poursuites liées à la demande ayant donné lieu au brevet 551, j’ai la liberté de souligner que l’examen de l’historique des poursuites concernant le brevet 551 (historique présenté en preuve pour des motifs autres que l’interprétation des revendications) indique que la thèse défendue par SG devant la Cour est diamétralement opposée à celle qu’elle a défendue devant l’examinateur en vue d’obtenir l’acceptation de la demande du brevet 551 dont les revendications étaient les mêmes qu’aujourd’hui. Ce revirement de la thèse défendue par SG fait l’objet d’une analyse détaillée qui suivra mon examen de l’allégation de Pollard concernant l’évidence.

(g)               « Dans laquelle l’absence ou l’altération de la couche à gratter recouvrant le code barres est un facteur vraisemblablement décisif de l’authenticité du billet »

[116]       Ici, les parties ne s’entendent pas sur l’auteur de la détermination de l’authenticité du billet de loterie. Selon Pollard, en tenant compte du contexte du brevet, cet extrait concerne une configuration dans laquelle les renseignements de validation doivent demeurer masqués jusqu’au moment du grattage par l’agent de loterie au moment de la validation, c’est-à-dire le concept du code NSD. Si la couche à gratter a été détachée ou est altérée, l’agent de loterie aurait alors un motif de croire que le billet a été falsifié et pourrait refuser de le valider.

[117]       Pour sa part, SG pense que la phrase n’indique pas que seul l’agent de loterie peut déterminer l’authenticité du billet, mais prévoit que le joueur puisse le faire lui aussi, vraisemblablement au moment d’acheter le billet, l’idée étant que le grattage ou une altération visible de la couche à gratter recouvrant le code barres permette au joueur de juger si le billet a subi un piquage à des fins d’écrémage de données. SG remarque que la personne versée dans l’art à l’époque pertinente savait que le problème de fraude potentielle en matière de billets de loterie instantanée concernait non seulement les consommateurs, mais aussi les détaillants. Selon SG, l’extrait ne précise pas l’auteur de la détermination de l’authenticité du billet et la personne versée dans l’art aurait compris que les deux types de fraude potentielle étaient envisagés.

[118]       À mon avis, il faut partir du principe de base selon lequel la teneur d’une revendication doit être interprétée par la personne versée dans l’art examinant le brevet comme un tout. Il n’est pas difficile de considérer le brevet comme un tout, car il est assez court. Ayant fait cet exercice en m’appuyant sur le témoignage d’experts, je conclus que les préoccupations en matière de fraude dont il est question dans le brevet 551 visent les consommateurs et non les détaillants. J’admets l’existence de problèmes dans le secteur de la loterie concernant la fraude perpétrée par des détaillants, mais ce ne sont pas ceux dont il est question dans le brevet 551. Je remarque également que le sous-paragraphe c) de la revendication 1 indique explicitement que le code barres 2D doit être [traduction] « lisible par l’agent de loterie à l’aide d’un dispositif de lecture » [non souligné dans l’original]. En outre, je constate qu’aucune des interprétations du sous-paragraphe d) de la revendication 1 livrées par les experts de SG ne fait état explicitement de l’authentification du billet par le consommateur.

[119]       Par conséquent, je me range du côté de Pollard et je conclus que l’extrait en question prévoit que la couche à gratter recouvrant le code barres doit rester en place jusqu’à la validation du billet par l’agent de la loterie.

(2)               Revendication 2

[120]       Voici la revendication 2 du brevet 551 :

[traduction]
2. Le document imprimé de la revendication 1, là où les données de jeu sont imprimées autour du code barres.

[121]       Même si les parties ne sont pas fortement en désaccord sur l’interprétation des éléments de la revendication 2, certains éclaircissements s’imposent avant la présentation de mon analyse.

[122]       Il a été remarqué que le préambule de la revendication 2 fait référence au [traduction] « document imprimé de la revendication 1 ». Il semble s’agir d’une erreur mineure étant donné que la revendication 1 définit en fait un [traduction] « billet de loterie à gratter » au lieu d’un document imprimé. Cette erreur ne porte toutefois pas à conséquence. Le billet de loterie à gratter étant un type de document imprimé, je conçois simplement la portée de la revendication 2 comme étant limitée au type de document imprimé qui est défini dans la revendication 1.

(a)                « Données de jeu »

[123]       Comme il a été mentionné, il semble que les parties s’entendent pour dire que les expressions [traduction] « données de jeu » et [traduction] « indications imprimées de l’aire de jeu » sont synonymes. Je ne vois aucune raison de ne pas être d’accord.

(b)               « Imprimées autour du code barres »

[124]       Cet élément semble associé à la configuration illustrée à la figure 4 du brevet 551, dans laquelle le code barres est situé à l’intérieur de l’aire de jeu du billet.

[125]       Il faut se demander pour la suite de cette analyse si cette interprétation est incompatible avec la teneur de la revendication 1 qui prévoit l’emplacement du code barres dans l’aire extérieure au jeu et non dans l’aire de jeu.

D.                Conclusion en matière d’interprétation des revendications

[126]       Après avoir interprété tous les éléments des revendications, je n’ai entendu aucune preuve de la part des experts de SG qui renverse la présomption selon laquelle tous les éléments des revendications sont essentiels et j’ai examiné l’opinion des deux experts de Pollard disant que tous les éléments de la revendication 1 sont essentiels; j’en conclus donc que tous les éléments des deux revendications du brevet 551, selon l’interprétation susmentionnée, sont effectivement essentiels.

VII.          Questions d’invalidité

[127]       Cette partie porte sur l’analyse des diverses questions d’invalidité qui sont restées en litige après le procès. Les questions concernant l’ambiguïté et la portée excessive ou l’inutilité (les allégations d’invalidité qui ne sont pas fondées sur l’art antérieur) sont traitées en premier parce que Pollard fonde son argumentation concernant d’autres questions sur son interprétation des revendications et qu’elle affirme que les allégations d’invalidité qui sont fondées sur l’art antérieur (antériorité et évidence) ne devraient s’appliquer que dans le cas où je serais en désaccord avec son interprétation des revendications. Il s’agit là d’une demande raisonnable, car il serait difficile de concevoir une revendication qui soit à la fois évidente et ambiguë : voir la décision Risi Stone Ltd. c. Groupe Permacon Inc., [1995] ACF no 1316, au paragraphe 49; la décision Airseal Controls Inc v M & I Heat Transfer Products Ltd (1993), 53 CPR (3d) 259, à la page 276; et la décision Standal’s Patents Ltd v Swecan International Ltd (1989), 28 CPR (3d) 261, à la page 271 (CF 1re inst.).

A.                Norme de contrôle

[128]       Avant d’entreprendre mon analyse des questions d’invalidité, il est nécessaire que j’aborde une question que SG appelle la question de la « norme de contrôle ». SG fait allusion à un ensemble de douze (12) contestations déposées au nom de Pollard portant sur la demande du brevet 551 et la demande initiale, soit la demande 775. Selon SG, compte tenu de la détermination de Pollard à contester l’invention brevetée au cours de la poursuite, Pollard a bénéficié de ce qui était bien un processus d’opposition à un brevet. Pour ce motif et en raison du délai extraordinairement long d’obtention de l’acceptation de sa demande de brevet, SG fait valoir qu’il faudrait exercer un certain degré de retenue judiciaire à l’égard de la décision de l’examinateur de délivrer le brevet 551. Ce point soulève la question de la norme de contrôle.

[129]       En l’absence de preuve contraire, le brevet reste valide en raison de la présomption de validité prévue au paragraphe 43(2) de la Loi sur les brevets. Il n’existe pas de norme de contrôle qui s’applique à la contestation de la validité du brevet 551, car il ne s’agit pas, en l’espèce, d’un contrôle judiciaire de la décision d’accorder le brevet 551 à délivrer. Ma tâche consiste à déterminer à l’aide des éléments de preuve et des critères légaux applicables si les allégations de Pollard en matière d’invalidité sont fondées. La norme qui s’applique alors est la prépondérance des probabilités. La juge Johanne Gauthier a examiné en détail un argument semblable à celui de SG avant de le rejeter dans la décision Eli Lilly and Company v. Apotex Inc, 2009 CF 991, aux paragraphes 348 à 370. Je souscris au raisonnement de la juge Gauthier.

[130]       SG admet qu’il n’existe aucune jurisprudence qui soutienne sa thèse. Elle fait valoir l’injustice de faire subir au demandeur un délai illimité et incontrôlable pour l’obtention de son brevet, délai pendant lequel la durée du brevet (vingt ans) s’écoule inexorablement, et le fait que Pollard a concrètement déjà eu l’occasion de s’opposer au brevet.

[131]       SG a raison de dire que la durée du brevet éventuel s’écoulait pendant les poursuites liées aux demandes sous-jacentes et que, de ce fait, le brevet 551 a été délivré alors qu’il ne restait que trois ans à sa durée. Cependant, je ne vois aucun élément inéquitable pour lequel Pollard devrait être tenu responsable. Les contestations ont contribué au retard dans la délivrance du brevet 551 seulement parce que l’examinateur a donné son aval aux arguments de contestation et les a inclus dans les lettres de refus qui ont été envoyées au demandeur. Le retard dans la délivrance du brevet 551 est plus directement lié au fait qu’il a fallu de nombreuses communications entre l’examinateur du brevet et le demandeur pour que le libellé des revendications soit finalement accepté. Il n’y a rien sur quoi fonder une critique de Pollard, selon moi, en ce qui a trait à ces contestations.

[132]       Sur ce point, je remarque également que les actions du demandeur ne démontrent pas que le retard le préoccupait. D’après l’historique des poursuites que j’ai examiné, le demandeur a répondu aux actions de l’examinateur à ou vers la fin du délai prescrit de six mois dans tous les cas sauf un.

[133]       Mon autre préoccupation relativement au fait d’imposer à Pollard le fardeau concernant la contestation de la validité est qu’elle serait confrontée à un obstacle plus grand que d’autres membres du public intéressés qui auraient pu préparer une contestation semblable. Il convient aussi de mentionner qu’une action en invalidation, lorsqu’elle est accueillie, constitue non seulement un avantage pour le demandeur, mais aussi pour le grand public, puisque le registre des brevets élimine ainsi un monopole injustifié.

[134]       SG considère que certaines des contestations de Pollard étaient abusives parce que Pollard n’a pas déposé de dossier d’antériorité, comme le prévoit l’article 34.1 de la Loi sur les brevets, et que certaines d’entre elles ne font que contester la réponse envoyée par le demandeur à l’examinateur à la suite d’un refus. Je ne ferai aucun commentaire sur la convenance de déposer une contestation de ce genre, sauf pour indiquer que cela n’influe en rien sur mon évaluation de la validité du brevet 551 et ne constitue pas une considération de la Cour en l’espèce.

B.                 Ambiguïté

(1)               Loi applicable

[135]       La question de l’ambiguïté est d’abord traitée par le paragraphe 27(4) de la Loi sur les brevets qui prévoit ce qui suit :

Revendications

Claims

(4) Le mémoire descriptif se termine par une ou plusieurs revendications définissant distinctement et en des termes explicites l’objet de l’invention dont le demandeur revendique la propriété ou le privilège exclusif.

(4) The specification must end with a claim or claims defining distinctly and in explicit terms the subject-matter of the invention for which an exclusive privilege or property is claimed.

[136]       Pour appuyer la thèse de l’ambiguïté, Pollard cite une décision de 1915 rendue par la Chambre des lords au Royaume-Uni, Natural Colour Kinematograph Co v Bioschemes Ltd (1915), 32 RPC 256, indiquant ce qui suit à la page 266 :

[traduction] [...] Il incombe au breveté d’exposer clairement, soit par des mots explicites soit par un renvoi clair et net, la nature et les limites de ce qu’il revendique. S’il emploie des mots qui, selon une interprétation raisonnable, sont inutilement obscurs ou ambigus, le brevet est invalide, que cette lacune soit volontaire ou qu’elle soit attribuable à la négligence ou à la maladresse. [...]

[137]       Le juge Roger Hughes affirme cependant dans la décision Pfizer Canada Inc. c. Canada (Ministre de la Santé), 2005 CF 1725, au paragraphe 52 [Pfizer], « [q]u’en pratique les tribunaux canadiens ont résisté à la tentation de conclure que des revendications ne se prêtent à aucune interprétation parce qu’elles sont dépourvues de sens ». Il cite également le juge Richard Mosley dans la décision Letourneau c. Clearbrook Iron Works Ltd, 2005 CF 1229, au paragraphe 37 :

[37]      Une revendication n’est pas invalide du simple fait qu’elle n’est pas un modèle de concision et de clarté. Bien peu de revendications de brevet possèdent ces qualités. Les revendications sont rédigées de manière à être comprises par des personnes qui ont des connaissances et une expérience pratiques dans le domaine précis de l’invention : Risi Stone Ltd., précité, au paragraphe 20. On ne saurait qualifier d’ambigu un terme que l’on peut interpréter en recourant aux règles de grammaire et à la logique : Mobil Oil Corp. c. Hercules Canada Inc. (1995), 63 C.P.R (3d) 473, à la page 484, 188 N.R. 382 (C.A.F.).

[138]       « En résumé », le juge Hughes a affirmé au paragraphe 53 de la décision Pfizer que « l’ambiguïté n’est véritablement invoquée qu’en dernier recours, sinon jamais ».

(2)               Analyse

[139]       Pollard affirme que la première partie du sous-paragraphe d) de la revendication 1 ([traduction] « Une couche à gratter continue recouvrant à la fois les indications imprimées de ladite aire de jeu et le code barres dans ladite aire extérieure au jeu ») est incompatible avec le sous-paragraphe c) et la deuxième partie du sous-paragraphe d). Cette argumentation doit être soutenue par l’interprétation du mot [traduction] « continue » que fait Pollard concernant la couche à gratter unique. Pollard soutient que la première partie du sous-paragraphe d) concerne la configuration illustrée à la figure 4 qui indique une couche à gratter unique et recouvrant à la fois les indications imprimées et le code barres, alors que le sous-paragraphe c) et la deuxième partie du sous-paragraphe d) concernent la configuration illustrée à la figure 3, qui montre ces mêmes éléments chacun recouvert par des couches à gratter distinctes.

[140]       Comme je n’ai pas suivi l’interprétation du mot « continue » proposé par Pollard et que je ne suis pas d’avis qu’il s’agisse nécessairement d’une couche à gratter unique, je ne souscris pas à l’argument de Pollard. Je conclus que la revendication 1 n’est pas invalide pour cause d’ambiguïté. Je suis aussi d’avis que le sous-paragraphe c) de la revendication 1 n’indique pas nécessairement que chaque indication imprimée et le code barres doivent être recouverts de couches à gratter distinctes. Comme il a été mentionné au paragraphe [104] ci-dessus, ces éléments peuvent être situés sous la même couche à gratter si la portion qui couvre le code barres porte une indication du type [traduction] « nul si découvert ».

[141]       Comme j’y ai fait allusion lors de l’interprétation de l’expression [traduction] « imprimées autour du code barres », ma conclusion en matière d’ambiguïté est différente pour ce qui est la revendication 2. Cette expression indique que le code barres se situe dans l’aire de jeu. Je ne vois aucune preuve du contraire. Cependant, la revendication 1, dont dépend la revendication 2, indique clairement que le code barres fait partie de l’aire extérieure au jeu. Étant donné que l’aire de jeu et l’aire extérieure au jeu s’excluent l’une l’autre, le code barres ne peut pas se situer à la fois dans l’aire de jeu et dans l’aire extérieure au jeu, comme l’indique la revendication 2.

[142]       Il ne s’agit pas là d’un simple problème d’appellation. La deuxième partie du sous-paragraphe d) de la revendication 1 prévoit que la couche à gratter masquant le code barres doit demeurer en place jusqu’à la validation du billet. Il s’agit là d’une caractéristique importante du brevet 551. Comme les données de jeu qui font partie de l’aire de jeu sont imprimées autour du code barres, il était manifestement voulu que la couche à gratter masquant le code barres soit effacée par le joueur au moment du jeu. Le brevet 551 expose clairement les configurations qui fonctionnent d’une façon ou d’une autre (soit le code barres est découvert lors du jeu, soit il demeure masqué), mais rien n’indique que les deux méthodes pourraient coexister sur le même billet. En outre, aucun témoignage n’en a soutenu cette possibilité.

[143]       À mon avis, il est impossible de prêter une interprétation raisonnable de la revendication 2, car la restriction supplémentaire de la revendication 2 est incompatible avec les éléments de la revendication 1 qui sont intégrés dans la revendication 2 en raison de sa dépendance.

(3)               Conclusion en matière d’ambiguïté

[144]       L’allégation d’invalidité de la revendication 1 pour cause d’ambiguïté est rejetée. Par contre, la revendication 2 est invalide pour cause d’ambiguïté.

C.                 Portée excessive et inutilité

[145]       Pollard a réuni ses deux arguments sur l’invalidité parce qu’ils se chevauchent quelque peu.

(1)               Loi applicable

[146]       Le paragraphe 27(3) de la Loi sur les brevets prévoit qu’un mémoire descriptif doit « décrire d’une façon exacte et complète l’invention et son application ou exploitation, telles que les a conçues son inventeur ». Si la portée d’une revendication excède i) l’invention réalisée ou ii) l’invention décrite dans le brevet, cette revendication est invalide pour cause de portée excessive. Sont invalides les revendications qui omettent un élément essentiel au fonctionnement de l’invention, telle que l’a conçue son inventeur : voir l’arrêt Amfac Foods Inc c. Irving Pulp & Paper, Ltd (1986), 12 CPR (3d) 193, aux pages 201 à 205 (CAF).

[147]       Selon sa définition à l’article 2 de la Loi sur les brevets, une « invention » doit présenter le caractère de l’utilité. Une revendication qui n’est pas utile est invalide pour absence d’utilité. Cela peut se produire lorsque l’invention revendiquée ne fonctionnera pas du tout ou lorsqu’elle ne fera pas ce que le brevet prédit qu’elle fera : voir l’arrêt Consolboard Inc. c. MacMillan Bloedel (Sask.) Ltd., [1981] 1 RCS 504, à la page 525.

(2)               Analyse

[148]       Les arguments de Pollard portant sur l’invalidité de la revendication 1 pour cause de portée excessive et d’inutilité présentent un raisonnement semblable à celui de l’argument présenté en matière d’ambiguïté, à savoir que si la revendication 1 repose en grande partie sur la configuration illustrée à la figure 3 du brevet 551, où chacune des indications imprimées et le code barres sont masqués par une couche à gratter, la première partie du sous-paragraphe d) de la revendication 1, elle, repose sur celle de la figure 4, où une seule couche à gratter recouvre les deux. En ce qui concerne l’allégation de portée excessive, Pollard soutient qu’il n’existe pas dans le brevet 551 de description de configuration qui contienne tous les éléments de la revendication 1 et que, par conséquent, la portée est excessive. En ce qui concerne l’allégation d’inutilité, Pollard soutient que l’une des promesses du brevet, soit la capacité à établir l’authenticité d’un billet en procédant au grattage de la couche masquant le code barres (ce qui est défini dans la deuxième partie du sous-paragraphe d) de la revendication 1), ne peut fonctionner lorsque la couche masquant le code barres est la même que celle masquant les indications imprimées.

[149]       À l’instar de son argument lié à l’ambiguïté, les arguments de Pollard liés à la portée excessive et l’inutilité portant sur la revendication 1 se fondent sur une interprétation du mot « continue » que j’ai n’ai pas décidé de suivre. Comme il en a été question au paragraphe [114] ci-dessus, je suis d’avis que le mot [traduction] « continue » indique que toutes les indications imprimées et le code barres doivent être masqués dans leur intégralité, mais il pourrait y avoir plus d’une couche à gratter.

[150]       À mon avis, la revendication 1 n’a pas une portée excessive parce que la première partie du sous-paragraphe d) ne porte pas sur la seule configuration illustrée à la figure 4 et que, par conséquent, un billet de loterie possédant toutes les caractéristiques définies dans la revendication 1 fait l’objet d’une divulgation suffisante dans le brevet 551.

[151]       De même, la revendication 1 n’est pas dépourvue d’utilité, car la première partie du sous-paragraphe d) exclut la capacité à établir l’authenticité d’un billet de loterie au moyen du grattage de la couche à gratter masquant le code barres (selon la deuxième partie du sous-paragraphe d)).

(3)               Conclusion sur la portée excessive et l’inutilité

[152]       La revendication 1 n’est pas invalide pour cause de portée excessive ni pour cause d’inutilité.

D.                Antériorité

[153]       Les deux prochains arguments sur l’invalidité, qui portent sur l’antériorité et l’évidence, se fondent sur l’antériorité, plus précisément sur la demande Camarato (demande de brevet canadien no 2 119 190) et sur les connaissances générales courantes de la personne versée dans l’art à la date de revendication (le 16 octobre 1995).

[154]       Étant donné que j’ai conclu que la revendication 2 était invalide pour cause d’ambiguïté, il ne me sera pas nécessaire d’examiner les arguments portant sur l’antériorité ni sur l’évidence.

(1)               Loi applicable

[155]       Le paragraphe 28.2 (1) de la Loi sur les brevets traite de la présence nécessaire de la nouveauté dans une invention brevetée. Pour les besoins de la présente décision, l’objet de la revendication ne doit pas avoir fait l’objet d’une communication avant la date de revendication qui l’aurait rendu accessible au public.

[156]       L’antériorité, qui n’est que l’absence de nouveauté, a fait l’objet d’un examen par la Cour suprême du Canada dans l’arrêt Apotex Inc. c. Sanofi-Synthelabo Canada Inc., 2008 CSC 61 [Sanofi-Synthelabo]. La CSC y explique que l’antériorité repose sur deux exigences distinctes, soit la divulgation et le caractère réalisable.

[157]       Sur la question de la divulgation, elle renvoie au critère examiné dans la décision Beloit Canada Ltd v Valmet OY, (1986), 8 CPR (3d) 289, à la page 297 (CAF) [Beloit] :

[traduction] Il faut en effet pouvoir s’en remettre à une seule publication antérieure et y trouver tous les renseignements nécessaires, en pratique, à la production de l’invention revendiquée sans l’exercice de quelque génie inventif. Les instructions contenues dans la publication antérieure doivent être d’une clarté telle qu’une personne au fait de l’art qui en prend connaissance et s’y conforme arrivera infailliblement à l’invention revendiquée.

[158]       La CSC a confirmé cette affirmation dans l’arrêt Sanofi-Synthelabo et la développe au paragraphe 25, pour déclarer d’abord que :

[...] suivant l’exigence de la divulgation antérieure, le brevet antérieur doit divulguer ce qui, une fois réalisé, contreferait nécessairement le brevet [...]

et ensuite :

[...] [qu’à] cette étape, les essais successifs sont exclus. La personne versée dans l’art se contente de lire le brevet antérieur pour en comprendre la teneur.

[159]       Un autre énoncé utile dans l’arrêt Sanofi-Synthelabo sur la question de l’antériorité a été tiré de la décision General Tire & Rubber Co v Firestone Tyre & Rubber Co, [1972] RPC 457, à la page 486 (Eng CA) :

[traduction] Aussi clair qu’il soit, un poteau indicateur placé sur la voie menant à l’invention du breveté ne suffit pas. Il faut prouver clairement que l’inventeur préalable a pris possession de la destination précise en y laissant sa marque avant le breveté.

[160]       En considérant brièvement la question du caractère réalisable, cet énoncé signifie que la personne versée dans l’art devrait être en mesure de réaliser l’invention. En l’espèce, la personne versée dans l’art est réputée être disposée à procéder par essais successifs pour arriver à l’invention (arrêt Sanofi-Synthelabo, au paragraphe 27), mais au point de créer trop de difficultés ou d’avoir besoin d’une étape inventive (arrêt Sanofi-Synthelabo, au paragraphe 33).

(2)               Demande Camarato

[161]       Étant donné que la publication de la demande Camarato, le 24 janvier 1995, précède la date de la revendication du brevet 551, elle peut être citée comme art antérieur aux fins d’examen de l’antériorité. Il devient alors nécessaire de se demander si la demande Camarato divulgue l’invention revendiquée dans le brevet 551 et, le cas échéant, si l’invention est réalisable grâce à cette divulgation.

[162]       La demande Camarato est intitulée « Jeux interactifs apparentés au bingo et méthode d’utilisation de ces jeux ». Les deux figures de la demande (reproduites ci-dessous) illustrent un billet de loterie instantané apparenté au bingo :

Figures 1 et 2 illustrant un billet de loterie apparenté au bingo.

[163]       La surface de jeu de ce billet comprend deux aires sur un support recouvert de languettes. Ces aires sont dévoilées lorsque les languettes sont retirées. La première, appelée aire du commanditaire, montre l’ensemble de tous les numéros de bingo possibles imprimés à l’extérieur de la surface réservée aux languettes. Retirer la languette recouvrant l’aire du commanditaire révèle les numéros de bingo qui ont été [traduction] « tirés » en ce qui concerne le jeu sur le billet en question. La disposition de ces numéros correspond à celui du tableau d’affichage habituel des salles de bingo qui indique tous les numéros qui ont été tirés au cours du jeu.

[164]       La deuxième aire de jeu du billet, appelée l’aire du joueur, montre plusieurs cartes de bingo avec des nombres présentés de manière conventionnelle. Lorsque les deux aires ont été dévoilées, le joueur peut tenter de faire correspondre les numéros tirés à ceux de ses cartes de bingo. Comme lors d’une partie de bingo habituelle, les billets gagnants et le montant des lots peuvent être déterminés selon les règles du jeu et le nombre de numéros qui concordent.

[165]       Le billet comprend également une aire de contrôle, elle aussi recouverte d’une languette. Cette aire porte l’indication [traduction] « nul si découvert ». La languette recouvrant l’aire de contrôle masque un code barres contenant des renseignements sur le billet, y compris si le billet est gagnant et le montant du lot, le cas échéant. Le code barres permet d’éviter toute contrefaçon. Même si les codes barres 2D n’étaient pas connus au moment de la publication de la demande Camarato, rien dans cette demande ne fait valoir l’utilisation d’un code barres autre que le code barres 1D illustré à la figure 2 de la demande.

[166]       Cette demande indique à plusieurs endroits que les languettes pourraient être remplacées par des couches à gratter. Des billets ayant à la fois des languettes et des couches à gratter y sont même envisagés.

[167]       Il est également remarquable que la demande Camarato ne considère pas qu’un code barres masqué par une couche à gratter représente une réelle avancée. Elle s’en tient plutôt à la façon de simuler un jeu.

(3)               Analyse

[168]       Selon Pollard, la demande Camarato se heurte à l’antériorité de la revendication 1 du brevet 551, car elle en décrit les éléments essentiels. En ce qui concerne l’absence de toute référence aux codes barres 2D dans la demande Camarato, Pollard soutient que ces codes barres étaient bien connus des personnes versées dans l’art à la date de la revendication et que, par conséquent, ces personnes auraient compris qu’un code barres 2D devenait une option possible dans la demande Camarato. Pollard note que le billet de loterie décrit dans la demande Camarato ressemble à celui de la figure 3 du brevet 551 et s’utilise de manière semblable.

[169]       SG soutient que la demande Camarato ne se heurte pas à l’antériorité du brevet 551, car celle-ci n’examine, ne traite, ni ne résout aucune des questions examinées par le brevet 551, notamment les problèmes de la validation sécuritaire des billets ou les restrictions relatives à la conception des billets que soulève l’utilisation d’un code barres 1D.

[170]       À mon avis, le fait que la demande Camarato ne semble pas prendre en compte le fait que le masquage du code barres sur un billet de loterie représente une invention n’indique pas nécessairement que le brevet 551 n’est pas devancé. En fait, ce fait pourrait soutenir l’argument selon lequel le brevet 551 n’apporte rien de nouveau.

[171]       À une exception près, je suis d’accord avec Pollard pour dire que la demande Camarato décrit tous les éléments essentiels de la revendication 1 du brevet 551. La demande Camarato ne présente pas le code barres comme étant bidimensionnel. Je ne suis pas persuadé que le fait que la connaissance générale du code barres 2D à l’époque de la date de revendication suffise à conclure que la revendication 1 est antériorisée. Premièrement, je ne suis pas convaincu que [traduction] « les instructions contenues dans [la demande Camarato] doivent être d’une clarté telle qu’une personne au fait de l’art qui en prend connaissance et s’y conforme arrivera infailliblement à l’invention revendiquée », selon la décision Beloit. Deuxièmement, et surtout, je n’ai pas entendu d’argument qui me permettrait de conclure que la demande Camarato « divulgue ce qui, une fois réalisé, emporterait nécessairement [la] contrefaçon [du brevet 551] », tiré de la décision Sanofi-Synthelabo. Même si l’on peut soutenir que la demande Camarato ouvrait la voie à l’invention du breveté, celle-ci n’a pas planté son drapeau avant le breveté.

[172]       Le raisonnement qui précède mène à la conclusion que l’invention de la revendication 1 du brevet 551 n’est pas divulguée par la demande Camarato. Avec une telle conclusion, il n’est plus nécessaire de se demander si la demande Camarato permet la réalisation de la revendication 1.

(4)               Conclusion relative à l’antériorité

[173]       La revendication 1 du brevet 551 n’est pas invalidée pour cause d’antériorité par la demande Camarato.

E.                 Évidence

(1)               Loi applicable

[174]       La question de l’évidence commence par l’examen de l’article 28.3 de la Loi sur les brevets :

Objet non évident

Invention must not be obvious

28.3 L’objet que définit la revendication d’une demande de brevet ne doit pas, à la date de la revendication, être évident pour une personne versée dans l’art ou la science dont relève l’objet, eu égard à toute communication :

28.3 The subject-matter defined by a claim in an application for a patent in Canada must be subject-matter that would not have been obvious on the claim date to a person skilled in the art or science to which it pertains, having regard to

a) qui a été faite, plus d’un an avant la date de dépôt de la demande, par le demandeur ou un tiers ayant obtenu de lui l’information à cet égard de façon directe ou autrement, de manière telle qu’elle est devenue accessible au public au Canada ou ailleurs;

(a) information disclosed more than one year before the filing date by the applicant, or by a person who obtained knowledge, directly or indirectly, from the applicant in such a manner that the information became available to the public in Canada or elsewhere; and

b) qui a été faite par toute autre personne avant la date de la revendication de manière telle qu’elle est devenue accessible au public au Canada ou ailleurs.

(b) information disclosed before the claim date by a person not mentioned in paragraph (a) in such a manner that the information became available to the public in Canada or elsewhere.

[175]       Conformément à l’alinéa 28.3b), une revendication sera invalide si, en fonction de toute communication devenue accessible au public avant la date de la revendication, son objet aurait été évident pour une personne versée dans l’art ou la science dont relève l’objet (la personne versée dans l’art).

[176]       Il a été établi depuis longtemps que le seuil de l’inventivité (absence d’évidence) est bas. Tel que cela est affirmé dans la décision Beloit, à la page 294 :

Pour établir si une invention est évidente, il ne s’agit pas de se demander ce que les inventeurs compétents ont ou auraient fait pour solutionner le problème. Un inventeur est par définition inventif. La pierre de touche classique de l’évidence de l’invention est le technicien versé dans son art mais qui ne possède aucune étincelle d’esprit inventif ou d’imagination; un parangon de déduction et de dextérité complètement dépourvu d’intuition; un triomphe de l’hémisphère gauche sur le droit. Il s’agit de se demander si, compte tenu de l’état de la technique et des connaissances générales courantes qui existaient au moment où l’invention aurait été faite, cette créature mythique (monsieur tout-le-monde du domaine des brevets) serait directement et facilement arrivée à la solution que préconise le brevet. C’est un critère auquel il est très difficile de satisfaire.

[…]

Une fois qu’elles ont été faites, toutes les inventions paraissent évidentes, et spécialement pour un expert du domaine. Lorsque cet expert a été engagé pour témoigner, l’infaillibilité de sa sagesse rétrospective est encore plus suspecte. Il est si facile de dire, une fois que la solution préconisée par le brevet est connue : « j’aurais pu faire cela »; avant d’accorder un poids quelconque à cette affirmation, il faut obtenir une réponse satisfaisante à la question : « Pourquoi ne l’avez-vous pas fait? ».

[177]       La Cour suprême a abordé la question de l’évidence dans l’arrêt Sanofi-Synthelabo. Au paragraphe 67, la Cour a emprunté la démarche suivante pour évaluer l’évidence dans l’arrêt Pozzoli SPA c. BDMO SA, [2007] FSR 37 (page 872), [2007] EWCA Civ 588, au paragraphe 23 :

(1)        a)         Identifier la « personne versée dans l’art »;

b)         Déterminer les connaissances générales courantes pertinentes de cette personne;

(2)        Définir l’idée originale de la revendication en cause, au besoin par voie d’interprétation;

(3)        Recenser les différences, s’il en est, entre ce qui ferait partie de « l’état de la technique » et l’idée originale qui sous‑tend la revendication ou son interprétation;

(4)        Abstraction faite de toute connaissance de l’invention revendiquée, ces différences constituent‑elles des étapes évidentes pour la personne versée dans l’art ou dénotent‑elles quelque inventivité?

[178]       La Cour suprême ne soutient pas dans l’arrêt Sanofi-Synthelabo que le critère d’évidence établi dans l’arrêt Beloit ne s’applique pas à l’examen de l’évidence à la quatrième étape de la démarche présentée. La CSC, qui examinait le concept de « l’essai allant de soi », fait plutôt remarquer au paragraphe 60 que le critère de l’arrêt Beloit ne doit pas être appliqué de manière restrictive. À mon avis, il n’est pas nécessaire d’examiner séparément le concept de l’essai allant de soi en l’espèce parce que le brevet 551 ne concerne pas un domaine d’activité dans lequel les progrès sont souvent le fruit de l’expérimentation (voir l’arrêt Sanofi-Synthelabo, au paragraphe 68). La personne versée dans l’art aurait su, même en l’absence d’expérimentation, que la démarche proposée fonctionnerait.

(2)               Personne versée dans l’art

[179]       La première des étapes de la démarche établie dans l’arrêt Sanofi-Synthelabo pour évaluer l’évidence consiste à identifier la personne versée dans l’art. Il est généralement admis que cette personne est suffisamment compétente pour comprendre la nature et la description de l’invention, qu’elle est raisonnablement diligente lorsqu’il s’agit de tenir à jour sa connaissance des progrès réalisés dans le domaine, mais qu’elle est dénuée d’imagination. Je reprends ici la partie de l’extrait de l’arrêt Beloit, reproduit ci-dessus, concernant la personne versée dans l’art :

La pierre de touche classique de l’évidence de l’invention est le technicien versé dans son art mais qui ne possède aucune étincelle d’esprit inventif ou d’imagination; un parangon de déduction et de dextérité complètement dépourvu d’intuition; un triomphe de l’hémisphère gauche sur le droit.

[180]       En général, les qualités et les capacités de la personne versée dans l’art s’appliquant pour l’évaluation de l’évidence sont les mêmes que celles qui s’appliquent à l’interprétation du brevet : voir D.H. MacOdrum, Fox on the Canadian Law of Patents, 5e éd. (Toronto : Carswell, 2013), 4:13(b) (MacOdrum), qui cite la décision Ratiopharm Inc. c. Pfizer Limited, 2009 CF 711, au paragraphe 30.

[181]       Par conséquent, comme il a été mentionné précédemment, la personne versée dans l’art, qui est celle qui doit lire et comprendre le brevet, est une personne ayant une compréhension du secteur de la loterie et, plus précisément, de la conception de jeux de loterie instantanée, de la conception, production, distribution et validation de billets, ainsi que des caractéristiques de sécurité.

(3)               Connaissances générales courantes

[182]       Toute communication accessible au public ne constitue pas nécessairement des connaissances générales courantes. Ces connaissances générales se limitent aux connaissances que possèdent généralement les personnes versées dans l’art en cause au moment considéré : voir l’arrêt Sanofi-Synthelabo, au paragraphe 37; la décision Mylan Pharmaceuticals ULC v. Eli Lilly Canada Inc., 2016 FCA 199, au paragraphe 24. Comme il est énoncé dans la décision Eli Lilly and Company v. Apotex Inc., 2009 CF 991, au paragraphe 97, qui cite l’arrêt General Tire & Rubber Co. c. Firestone Tyre & Rubber Co. Ltd, [1972] RPC 457, aux pages 482 et 483, lui-même citant une décision datant de 1935 de la Haute Cour de justice, Chambre de la Chancellerie, du Royaume-Uni, dans British Acoustic Films (53 RPC 221, à la page 250) :

[traduction] « À mon avis, pour les connaissances générales courantes, il ne suffit pas de prouver qu’une divulgation a été faite dans un article, une série d’articles, dans une revue scientifique, peu importe l’importance du tirage de cette revue, en l’absence de toute preuve selon laquelle la divulgation est généralement admise par ceux versés dans l’art auquel se rapporte la divulgation. Une connaissance précise divulguée dans un document scientifique ne devient pas une connaissance générale courante simplement parce que le document est lu par de nombreuses personnes et encore moins parce qu’il a un fort tirage. Une telle connaissance fait partie des connaissances générales courantes uniquement lorsqu’elle est connue de manière générale et admise sans hésitation par ceux versés dans l’art particulier; en d’autres mots, lorsqu’elle fait partie du lot courant des connaissances se rapportant à l’art. »

[…]

[traduction] « Il est assurément difficile d’évaluer comment l’utilisation d’une chose, qui dans la réalité n’a jamais été utilisée dans un art particulier, peut être reconnue comme appartenant aux connaissances générales courantes de l’art. »

[183]       Une partie des connaissances générales courantes ont fait l’objet d’un examen lorsqu’il a été question du contexte factuel du brevet 551. Elles comprennent ce qui suit :
[traduction]

  1. L’existence de billets de loterie instantanée dont les données de jeu sont imprimées sur du papier ou du carton, les données devant être recouvertes soit par une couche détachable par grattage, soit par une ou plusieurs languettes à tirer lorsque le jeu se déroule.
  2. L’insertion de nombres ou des codes (un code barres, par exemple) sur un billet pour valider celui-ci.
  3. Le masquage d’une partie ou de la totalité du numéro de validation par une couche à gratter.
  4. L’existence de deux agencements comprenant un numéro de validation masqué : l’un dans lequel les renseignements de validation se trouvent dans l’aire de jeu et sont révélé lors du jeu, et l’autre dans lequel les renseignements de validation se trouvent dans l’aire extérieure au jeu et sont révélés seulement au moment de la validation par un agent de loterie.

[184]       Il est constant que ce qui précède fait bien l’objet des connaissances générales courantes aux fins de la présente espèce.

[185]       Il semble également que nul ne conteste qu’un système de validation sans clé qui existait dans le Massachusetts avant la date de la revendication faisait partie des connaissances générales courantes. Ce système a fait l’objet d’un article de Richard Finocchio intitulé A Report on the Use of Bar Codes and Scanners in Massachusetts dans la revue Public Gaming Magazine, mai 1989, à la page 10. Même si l’article traite d’un système proposé qui n’avait pas encore été mis en œuvre, les témoignages non réfutés des experts de Pollard confirment que ce système a bel et bien été mis en œuvre avant la date de la revendication. Par conséquent, il était généralement connu que tous les renseignements nécessaires à l’authentification d’un billet de loterie contenus dans un code barres pouvant être lus à l’aide d’un numériseur, et ce, sans renseignements supplémentaires de la part de l’agent de loterie ou tirés du billet. Étant donné que le code barres n’était pas masqué, cette méthode de validation convenait seulement à des lots plus petits. Pour les lots plus importants, l’agent de la loterie devait saisir les chiffres masqués par une pellicule de latex.

[186]       Même s’il est constant que le masquage du numéro de validation par une couche à gratter fait partie des connaissances générales, il semble que ce ne soit pas le cas du masquage d’un code barres par une couche à gratter. Pollard mentionne le fait que l’insertion de numéros de validation lisibles par machine de reconnaissance optique de caractères (ROC) sous la couche à gratter faisait partie des connaissances générales. Cependant, il n’existe aucune preuve probante qui démontre qu’il était évident de remplacer un numéro lisible par ROC par un code barres sous une pellicule de latex.

[187]       Pollard fait également état d’un système appelé ScanLine avec lequel la validation locale de billets de loterie instantanée avec languettes se faisait à l’aide d’un code barres situé sous une des languettes. Cependant, aucun des deux témoins experts de Pollard n’a témoigné que le système ScanLine faisait partie des connaissances générales courantes. Leur témoignage indique seulement que le système a été proposé et a fait l’objet de promotions et de publicité. Par contre, aucun élément ne prouve que le système ScanLine a été utilisé.

[188]       La prochaine question à examiner portant sur les connaissances générales courantes concerne les codes barres 2D. Nul ne conteste que les codes barres 2D étaient de connaissance générale dans des secteurs autres que la loterie. Mais la question qui se pose ici est de savoir si l’utilisation des codes barres 2D aux fins de validation de billet était généralement connue.

[189]       À mon avis, il existe deux motifs sérieux permettant de conclure que les codes barres 2D étaient effectivement bien connus du secteur de la loterie à la date de la revendication du brevet 551. Le premier motif est issu de l’article de Lynn Koert intitulé Bar Code Implementation (mise en œuvre des codes barres) qui a été publié dans la revue Public Gaming Magazine en septembre 1990 (l’article de Mme Koert). Il semble que nul ne conteste le fait que la revue Public Gaming Magazine était très reconnue dans le secteur de la publication. Comme l’indique le titre, l’article de Mme Koert traite de la mise en œuvre d’une technologie de code barres s’appliquant aux billets de loterie instantanée. L’article a un encadré qui porte sur les [traduction] « langages de code barres » et qui fait référence à plusieurs codes barres, y compris au code barres 2D. Cela tend à indiquer qu’il n’y avait rien de particulièrement novateur dans le choix d’un code barres 2D à des fins de validation des billets de loterie. SG ne conteste pas que les renseignements contenus dans l’article de Mme Koert faisaient partie des connaissances générales courantes, et tous les témoins experts étaient de cet avis. Même si l’article de Mme Koert traite de problèmes liés à l’introduction de la technologie relative aux codes barres dans le processus de validation des billets de loterie instantanée, il semble qu’il n’y a pas eu de problèmes techniques insurmontables à l’époque. M. Huang a dit dans son témoignage que le balayage au laser existait pour les codes barres 2D et M. Fazzano a dit dans son témoignage que les deux parties avaient des imprimantes à jet d’encre de 240 points par pouce ou DPI qui pouvaient imprimer des codes barres 2D de manière lisible.

[190]       Un motif mieux fondé de conclure que les codes barres 2D faisaient partie des connaissances générales courantes dans le secteur de la loterie concerne un produit mis en marché par Veritec Inc. appelé « Vericode Identification System » (Vericode). Ce produit, décrit dans un article de Public Gaming Magazine publié en 1986, proposait un système exclusif de code barres 2D qui permettait de valider rapidement par machine un billet de loterie instantanée. SG soutient que la conception du système Vericode visait une utilisation dans le secteur de la loterie-même pour le contrôle de l’arrière-boutique ou des stocks, et non aux fins de validation par un agent lors de l’encaissement du billet. À mon avis, cette distinction ne suffit pas à éviter une conclusion d’évidence. Il existe au moins trois documents que les parties ont examinés en l’espèce, soit la demande Camarato, l’article de Mme Koert et un article de Terri La Fleur intitulé Technology propels instant-ticket business (la technologie propulse le commerce des billets instantanés) dans la revue Gaming & Wagering Magazine, publié en juillet 1991, qui portent sur les codes barres utilisés pour le contrôle de l’arrière-boutique ou des stocks. De ce fait, j’en conclus que la personne versée dans l’art aurait eu à l’esprit les connaissances liées au suivi des billets en arrière-boutique ainsi que celles portant sur la validation de billets chez un détaillant.

[191]       SG souligne que le système Vericode n’a pas eu de succès. En effet, rien ne prouve que le système n’ait jamais été mis sur le marché. Reprenant le passage cité au paragraphe [182] ci-dessus, qui traite de la difficulté de reconnaître un produit n’ayant jamais été utilisé comme faisant partie des connaissances générales courantes, SG soutient que le système Vericode ne devrait pas être considéré comme étant généralement connu. Même si je suis d’accord pour dire que ce principe est applicable en général, je pense qu’il ne s’applique pas en l’espèce parce que le brevet 551 lui-même, en ce qui a trait à l’examen des différents types connus de codes barres, fait précisément mention le système Vericode. Ce renvoi confirme essentiellement que le système Vericode faisait partie des connaissances générales d’une personne versée dans l’art avant la date de la revendication.

(4)               État de la technique

[192]       En plus des connaissances générales courantes que la personne versée dans l’art devrait posséder, l’article 28.3 de la Loi sur les brevets énonce qu’il est également pertinent d’examiner toute communication « qui a été faite [...] avant la date de la revendication de manière telle qu’elle est devenue accessible au public ». Cela dépasse les connaissances générales courantes.

[193]       La jurisprudence indique que l’art antérieur ayant une pertinence aux fins d’évaluation de l’évidence se limite à ce qu’une personne versée dans l’art aurait trouvé par suite d’une recherche diligente : voir la décision Eurocopter c. Bell Helicopter Textron Canada Limitée, 2012 CF 113, au paragraphe 80; la décision Pfizer, au paragraphe 108; la décision Illinois Tool Works Inc c. Cobra Fixations Cie Ltée, 2002 CFPI 829, au paragraphe 100, décision modifiée quant à l’attribution des dépens, 2003 CAF 358. Certains doutes ont été exprimés concernant la convenance de limiter la portée de l’art antérieur à une recherche diligente, car le texte de l’article 28.3 n’est pas si restrictif : voir MacOdrum, section 4:11(i); R.H. Barrigar, Canadian Patent Law Annotated, 2e éd. (Aurora : Canada Law Book, 1994), 28.3:640. Cependant, ce point a été rejeté dans la décision Novartis Pharmaceuticals Canada Inc. c. Teva Canada Limitée, 2015 CF 770, au paragraphe 53. De plus, la Cour d’appel fédérale a récemment refusé une occasion de réexaminer la question : voir l’arrêt E. Mishan & Sons, Inc. c. Supertek Canada Inc., 2015 CAF 163, au paragraphe 21.

[194]       Il s’ajoute ici d’autres considérations; dans l’esprit des gens, monopole rime avec hausse des prix et le monopole conféré par un brevet ne devrait s’acquérir qu’au prix de divulgations nouvelles, ingénieuses, utiles et non évidentes : voir l’arrêt Apotex Inc. c. Wellcome Foundation Ltd., 2002 CSC 77, au paragraphe 37. Par conséquent, il ne suffit pas à la personne versée dans l’art qui veut obtenir un brevet valide d’apporter un changement évident à ce qui est connu dans son domaine. Ce principe doit s’appliquer à toute communication rendue accessible au public, même à celles qui ne résulteraient pas d’une recherche diligente. Par exemple, pour acquérir un brevet valide, suffirait-il à la personne versée dans l’art de trouver un document dans un coin reculé d’une bibliothèque municipale pour y découvrir une invention oubliée et d’apporter à cette invention un changement évident? Le fait que la référence à l’art antérieur ne soit pas révélée par une recherche diligente peut avoir plus de pertinence lorsque l’allégation d’évidence s’appuie sur deux références dont aucune ne fait partie des connaissances générales courantes. Dans un tel cas, il serait nécessaire à la partie alléguant l’évidence d’expliquer de quelle façon la personne versée dans l’art qui a obtenu une de ces références pourrait trouver directement et sans difficulté l’autre référence pour en arriver à l’invention en question.

[195]       En l’espèce, le seul art antérieur ne faisant pas partie des connaissances générales courantes sur lequel Pollard s’appuie toujours pour soutenir son allégation d’évidence est la demande Camarato. Étant donné qu’il n’y a qu’une seule référence en cause qui ne fasse pas partie des connaissances générales courantes, la question de savoir si une recherche diligente aurait pu permettre de trouver cette référence ne doit pas constituer un obstacle à l’allégation d’évidence de Pollard.

[196]       Même si j’étais d’avis que la possibilité de trouver cette référence par une recherche diligente constituait une question pertinente, j’aurais néanmoins conclu à son admissibilité relativement à la question de l’évidence. Premièrement, la demande Camarato porte sur les billets de loterie instantanée et est répertoriée dans la classe A63F 3/06 selon la classification internationale des brevets. Or, c’est précisément la même classe sous laquelle se place le brevet 551. Cela indique que la demande Camarato aurait pu être trouvée par une recherche diligente.

[197]       De plus, le seul témoignage d’expert selon lequel une recherche diligente n’aurait pas permis de trouver la demande Camarato a été celui de M. Finnerty. Cependant, j’accorde moins d’importance à ses opinions parce qu’il a admis avoir mal compris la demande Camarato et aussi en raison d’un certain manque de rigueur dans son analyse.

[198]       SG souligne le fait que les experts de Pollard qui ont exprimé une opinion sur la demande Camarato et la pertinence en matière d’évidence n’ont pas trouvé la demande eux-mêmes. En fait, cette référence, comme celle de tous les autres arts antérieurs qu’ils devaient examiner, leur a été fournie par l’avocat de Pollard. SG cite la jurisprudence de notre Cour qui traite du risque qu’un expert offre une opinion formée a posteriori lorsque l’art antérieur est choisi par les avocats : voir la décision Uponor AB v. Heatlink Group Inc., 2016 FC 320, aux paragraphes 203 et 204; la décision Astrazeneca Canada Inc. c. Apotex Inc., 2015 CF 322, au paragraphe 231. Ces décisions soulignent également qu’un examen convenable de la question de l’évidence nécessite un art antérieur pouvant infirmer la solution brevetée. Il aurait, bien sûr, été préférable que l’opinion des experts de Pollard sur l’évidence ait été fondée sur un art antérieur qu’ils auraient trouvé eux-mêmes. À tout le moins, une telle démarche, si elle avait permis de découvrir la demande Camarato, aurait appuyé l’argument de Pollard selon lequel il était possible de trouver la demande par une recherche diligente. Cependant, j’ai déjà expliqué que la possibilité de trouver une référence ne devrait pas être une considération en l’espèce. J’ai également conclu que la demande Camarato aurait été repérée.

[199]       De plus, SG n’a relevé aucun autre art antérieur qui infirme la solution brevetée. Il est vrai que SG soutient que l’impression des codes barres 2D connaissait des difficultés avant la date de la revendication et que l’article de Mme Koert faisait valoir qu’un code barres plus simple (contenant moins de données) serait préférable, étant plus lisible pour un numériseur. L’article de Mme Koert reconnaît effectivement qu’un code barres simple connaît un meilleur taux de première lecture, sans soutenir qu’il s’agissait d’une raison de ne pas recourir au code barres 2D. Les avantages d’inscrire un plus grand nombre de données dans un code barres plus petit, comme dans le cas du code barres 2D, étaient évidents et bien connus à l’époque. En ce qui concerne les difficultés d’impression d’un code barres 2D, je remarque que le brevet 551 n’aborde pas la question comme étant un problème et ne mentionne aucune solution à ce problème.

[200]       À mon avis, l’art antérieur ne nous éloigne pas du recours au code barres 2D, et même si c’était le cas, il n’y a rien dans le brevet 551 qui indique comment remédier aux problèmes d’impression des codes barres 2D.

(5)               Idée originale

[201]       SG fait valoir que les quatre experts s’accordent sur la définition de l’idée originale de la revendication 1. Je suis d’accord jusqu’à un certain point. À mon avis, la définition de M. Fazzano est un bon exemple de caractérisation par un expert de l’idée originale, soit l’utilisation d’un code barres 2D masqué par une couche à gratter en vue de la validation d’un billet de loterie instantanée en une seule étape et sans saisie. Cependant, cette caractérisation présente deux lacunes importantes. Elle ne mentionne pas que la validation se fait par un agent de loterie ayant recours à un dispositif de lecture. Elle ne précise pas non plus que l’agent de loterie peut faire une telle validation en remarquant l’absence ou l’altération de la couche à gratter recouvrant le code barres 2D. Ces deux caractéristiques sont explicites dans la revendication 1, elles sont essentielles et elles doivent être considérées comme faisant partie de l’idée originale de la revendication 1.

(6)               Ce qui distingue l’idée originale de l’art antérieur et la question de savoir si ces distinctions constituent des étapes évidentes.

[202]       Pollard soutient en premier lieu l’évidence de la revendication 1 pour la personne versée dans l’art à la date de la revendication d’après les seules connaissances générales courantes. Pollard soutient également que, même si les connaissances générales courantes ne suffisent pas à déterminer que la revendication 1 est évidente, la personne versée dans l’art l’aurait jugé évidente à la date de revendication avec la connaissance de la demande Camarato.

[203]       Je peux rejeter l’argument concernant l’évidence de Pollard qui porte sur les seules connaissances générales en me fondant sur ma conclusion précédente, selon laquelle il n’était pas de connaissance courante à la date de la revendication d’insérer un code barres (1D ou 2D) sous une couche à gratter. Les arguments de Pollard fondés sur l’utilisation de numéros ROC sous une couche à gratter et le système ScanLine ne sont pas convaincants. C’est au moins pour ce motif que la revendication 1 n’est pas évidente pour la personne versée dans l’art à la date de la revendication sur la seule base des connaissances générales courantes.

[204]       Je me penche à présent sur la demande Camarato, présentée en détail ci-dessus au paragraphe [161] et aux paragraphes suivants. À mon avis, la demande Camarato présente tous les éléments de la revendication 1 du brevet 551 à l’exception du recours à un code barres 2D. Elle détaille le billet de loterie qui possède, facultativement, une couche à gratter. Le billet comporte une aire de jeu comprenant des indications imprimées qui indiquent si un lot a été gagné et sont complètement recouvertes, ainsi qu’une aire extérieure au jeu qui renferme un mode d’authentification (numéro de contrôle 142 sous la forme d’un code barres 1D) qui est également complètement recouvert.

[205]       Le recouvrement du code barres à des fins de validation offre la caractéristique principale qui ne faisait pas partie des connaissances générales courantes. Le numéro de contrôle 142 semble contenir tous les renseignements nécessaires à l’authentification du billet de loterie et l’authentification peut se faire sans renseignements supplémentaires de la part de l’agent de la loterie ou tirés du billet, car ce numéro de contrôle [traduction] « sert de numéro de série afin de minimiser les tentatives de contrefaçon » et aucun autre renseignement d’authentification n’est mentionné dans la demande Camarato. Le code barres doit être lu par un agent de loterie manipulant un dispositif de lecture après le grattage de la couche à gratter, et l’absence ou l’altération de cette couche est un facteur vraisemblablement décisif de l’authenticité du billet de loterie (tel que l’indique le message [traduction] « nul si découvert » sur la pellicule).

[206]       Comme il a été mentionné, la demande Camarato ne fait pas mention d’un code barres 2D. Cependant, j’ai conclu que l’utilisation d’un code barres 2D faisait partie des connaissances générales courantes dans le secteur de la loterie à la date de la revendication. Il s’ensuit qu’il n’y a rien d’original à modifier le billet de loterie présenté dans la demande Camarato en choisissant un code barres 2D plutôt qu’un code barres 1D. Les avantages que confère le code barres 2D, selon le brevet 551, étaient généralement connus à la date de la revendication.

[207]       À la page 2, ligne 15 du brevet 551, l’inventeur indique que le code barres 2D [traduction] « permet d’inscrire un grand nombre de symboles dans une petite surface ». Plus loin, sur la même page, l’inventeur affirme que [traduction] « l’apparence globale du billet de loterie serait nettement améliorée par une réduction de la superficie réservée au système d’authentification par code barres ». Il n’y a là rien d’original. À la page 7, l’inventeur affirme ceci :

[traduction] Le type de code barres pouvant être utilisé avec la présente invention est illimité. Les codes barres unidimensionnels ou bidimensionnels peuvent tous les deux servir à cette fin. Les codes barres bidimensionnels sont préférables, car ce sont eux qui peuvent contenir le plus grand nombre de symboles dans une petite surface.

[208]       Même si l’inventeur indique une préférence pour les codes barres 2D, il ne semble pas considérer que les codes barres 2D font partie de l’invention.

[209]       SG fait valoir que la demande Camarato ne peut pas appuyer une conclusion d’évidence en l’espèce parce que même si la demande indique plusieurs fois clairement que les languettes illustrées sur les figures peuvent être remplacées par une couche à gratter, elle affirme aussi que les couches à gratter sont problématiques pour plusieurs raisons. M. Finnerty a indiqué que cette incohérence le rendait perplexe. Encore une fois, je ne tiens pas compte de l’opinion de M. Finnerty à cet égard. Il a affirmé qu’il a éprouvé beaucoup de difficulté à comprendre la demande Camarato, mais je ne crois pas qu’une personne versée dans l’art en aurait eu autant.

[210]       La Cour a entendu les arguments présentés par les parties concernant le principe, cité de l’arrêt Beloit, selon lequel chaque invention est évidente après sa réalisation et la partie qui déclare « j’aurais pu faire cela » doit être disposée à répondre à la question « Pourquoi ne l’avez-vous pas fait? » Se fondant sur des activités de SG et les siennes, Pollard soutient que, avant la date de la revendication, les deux entreprises avaient commencé à étudier l’insertion d’un code barres 2D sous une couche à gratter à des fins de validation du billet de loterie. N’ayant pas été mises à la disposition du public, ces activités ne peuvent être citées à titre d’antériorité, mais elles offrent une réponse à la question « Pourquoi ne l’avez-vous pas fait? »

[211]       En ce qui a trait aux activités de Pollard, l’entreprise cite la mise à l’essai de la lisibilité des codes barres sous une couche à gratter sur des [traduction] « échantillons de billets de loterie ». Les éléments de preuve fournis indiquent que ces essais ont eu lieu avant la date de la revendication, en mars 1991.

[212]       SG soutient que les essais se faisaient non pas sur des échantillons, mais plutôt sur des petits morceaux de carton sur lesquels un code barres avait été imprimé et recouvert d’une couche. Cette distinction pourrait servir l’argument de SG selon lequel les déclarations faites sous serment et signées de M. Scrymgeour et de Teri Masson à ce sujet seraient trompeuses, mais il n’en reste pas moins que Pollard étudiait la possibilité de valider un billet à l’aide d’un code barres 2D sous une couche détachable avant la date de la revendication. Comme je n’ai pas ressenti le besoin d’examiner ces déclarations à d’autres fins, je n’ai pas besoin d’examiner la question de savoir si celles-ci sont trompeuses.

[213]       SG fait également valoir que les essais de Pollard ne sont pas pertinents, car ils n’ont pas abouti. SG note que le cahier de laboratoire sur lequel les résultats sont inscrits indique un taux de première lecture de 60 %. Cependant, aucun témoignage d’expert ne nous indique qu’un taux de première lecture de 60 % correspond à un échec. M. Scrymgeour a indiqué dans son témoignage que ce taux était adéquat et M. LaPlante a indiqué le contraire, mais je ne tiens pas compte du témoignage de ces deux hommes sur ce point parce qu’il s’agit d’une opinion et qu’ils ne témoignaient pas à titre d’experts.

[214]       Quoi qu’il en soit, le fait que ces essais aient pu aboutir ou non n’est pas pertinent en ce qui a trait à la question de savoir si Pollard a conçu l’idée de couvrir les codes barres 2D d’une pellicule de latex avant la date de la revendication. La personne versée dans l’art aurait compris que la faiblesse du taux de lecture est associée aux limites de l’équipement servant à l’impression, au recouvrement et au balayage des codes barres à cette époque et ne se demanderait pas si le recouvrement des codes barres constitue une idée valable.

[215]       SG fait également valoir que les éléments de preuve concernant les essais réalisés par Pollard devraient être considérés inadmissibles en raison du refus de Pollard de répondre à certaines questions à ce sujet au cours de l’interrogatoire préalable : voir l’article 248 des Règles des Cours fédérales, DORS/98-106. Malheureusement, SG ne cite aucun extrait de cet interrogatoire préalable pour appuyer son argument. Selon moi, aucune question légitime n’a essuyé de refus; les éléments de preuve ne peuvent donc pas être exclus en application de l’article 248. J’ai noté que la question sur l’admissibilité d’un taux de lecture de 60 % a essuyé un refus, mais je suis d’accord avec l’opposition de Pollard à cet égard, car la question exigeait l’avis d’un expert. J’ai également noté d’autres refus, mais je ne suis pas convaincu qu’ils étaient associés à une question légitime.

[216]       Pour ce qui est des activités de SG portant sur l’étude des codes barres 2D à des fins de validation de billets de loterie instantanée, elles se rapportent à des entretiens tenus avec Veritec Inc. (le créateur du système Vericode dont il a été question précédemment) en 1985 concernant [traduction] « l’utilisation d’un code de vérification recouvert d’une pellicule de latex servant à imprimer tous les renseignements de validation sur un billet de loterie à gratter » (voir la pièce P-21). Comme dans le cas des essais de Pollard, ces activités démontrent que SG envisageait d’insérer un code barres 2D sous une couche à gratter à des fins de validation des billets de loterie instantanée.

[217]       Je remarque que la preuve des entretiens de SG avec Veritec ne comporte aucun document à l’exception d’une note de service de 2002, soit quelque 17 années plus tard, à laquelle s’ajoutent quelques notes manuscrites rédigées lors de ces entretiens. La note de service a été rédigée par un avocat interne de SG à l’intention d’un avocat aux États-Unis qui rédigeait une opinion sur la validité du brevet américain 991 qui correspond au brevet 551. C’était à une époque précédant l’acquisition par SG des droits de l’invention brevetée, et SG tentait alors aux côtés de Pollard de contester la validité de ce brevet américain.

[218]       Normalement, je serais enclin à conclure à la non-fiabilité d’une note de service non assermentée et non signée accompagnée de notes manuscrites à l’appui et rédigée bien des années plus tard par une partie qui conteste la validité d’un brevet. Cependant, je consens à admettre la fiabilité de cet élément de preuve parce que i) la note de service a été rédigée par le propriétaire actuel du brevet 551, ii) SG reconnaît avoir eu des entretiens avec Veritec à cette époque, iii) SG aurait pu porter à l’attention de la Cour les renseignements supplémentaires dont elle aurait eu besoin pour expliquer ses entretiens avec Veritec, iv) ces renseignements supplémentaires n’ont pas été produits.

[219]       Je ne suis pas convaincu que les essais réalisés par les parties à ces deux occasions ont été abandonnés parce que les codes barres 2D n’étaient plus considérés comme étant la voie de l’avenir. Je conclus plutôt que la longueur du délai précédant la mise en marché de billets de loterie instantanée avec code barres 2D masqué par une couche à gratter s’explique par le temps d’adaptation des clients à cette nouvelle technologie (clientèle plutôt conservatrice en général) et le temps de mettre en place l’équipement nécessaire (p. ex., les numériseurs 2D chez les détaillants).

[220]       À mon avis, les différences entre l’art antérieur et l’idée originale de la revendication 1 constituent des étapes qui auraient été évidentes aux yeux d’une personne versée dans l’art.

(7)               Productivité et rentabilité

[221]       La productivité et la rentabilité d’un produit breveté peuvent être une considération secondaire d’une certaine importance, sans être concluantes, lors de l’évaluation du caractère évident, surtout dans les cas limites. Les parties ont débattu sur la productivité et la rentabilité du brevet 551, mais l’argumentation présentée par SG, qui porte le fardeau de la preuve sur cette question, manquait un peu de conviction, n’a cité aucune jurisprudence sur le sujet et se limitait à une seule feuille de papier (sans aucune source) sur laquelle il était possible de lire les chiffres de vente qui seraient associés à l’invention brevetée.

[222]       Pour commencer, j’affirme que je ne suis pas convaincu qu’il s’agit d’un cas limite où il était possible qu’une invention évidente conserve sa validité au moyen d’une démonstration de sa productivité et de sa rentabilité. Même en présumant que c’était le cas, je n’aurais pas été convaincu que SG a fait les démonstrations qui s’imposent.

[223]       D’abord, je peux rejeter la question de la productivité et de la rentabilité en raison d’une insuffisance de preuve en ce qui concerne les chiffres de vente. La pièce D-92 est une feuille portant l’indication [traduction] « revenu FAILSAFE » (FAILSAFE étant le nom donné par le prédécesseur de SG, OGT, au programme de commercialisation élaboré pour l’invention brevetée). La pièce D-92 présente un tableau en deux colonnes portant l’indication [traduction] « Revenu américain » pour les années 2008 à 2013 qui se termine par un total et un montant appelé [traduction] « valeur marchande supplémentaire » portant la mention « pure supposition ». Ce document a été déposé en preuve par Mme Schaefer, même si elle ne l’a pas rédigé elle-même et qu’elle n’en a pas une bonne connaissance. Elle n’était pas certaine de savoir qui était l’auteur du document. À mon avis, cet élément de preuve ne suffit pas à établir les revenus dérivant du produit FAILSAFE.

[224]       Évidemment, la présentation d’une simple preuve de revenus importants, sans plus, ne suffirait pas à établir la productivité et la rentabilité d’une invention pour que celle-ci ne soit pas jugée évidente. Il serait alors nécessaire d’établir un lien de causalité entre l’invention brevetée et ces revenus. Pour ce faire, il faudrait démontrer que l’idée originale a été intégrée dans le produit qui a généré des revenus et que cette intégration est en partie responsable des revenus importants qui ont été générés grâce à ce produit.

[225]       Étant donné que j’ai conclu à l’absence de preuve démontrant des revenus importants, il ne m’est pas absolument nécessaire d’en arriver à une conclusion sur le lien de causalité. Cela dit, même si j’avais été convaincu de l’importance des revenus du produit FAILSAFE, je n’aurais toujours pas été convaincu que SG a fait la démonstration de ce lien de causalité.

[226]       Une des raisons m’amenant à tirer cette conclusion est que même si je concluais à la crédibilité du rapport sur les revenus provenant de la pièce D-92, il se trouve que les ventes n’ont commencé qu’environ treize ans après la date de la revendication. Un délai d’une telle durée indique qu’il a fallu beaucoup de temps après la conception et la mise en marché pour que l’invention devienne productive et rentable. Cette idée, à son tour, nous indique que la productivité et la rentabilité de l’invention pourraient être dues à des facteurs autres que l’invention elle-même. Je reconnais le témoignage de Mme Schaefer selon lequel le délai de l’adoption du produit FAILSAFE (et donc des revenus qui en découlent) serait dû au fait que les clients du secteur de la loterie (des gouvernements principalement) adoptent généralement les nouveautés avec lenteur et sont peu enclins à courir des risques. S’il peut expliquer le délai, ce témoignage ne réussit toutefois pas à contrer la pénurie d’éléments de preuve pouvant lier le succès commercial du produit FAILSAFE à l’invention brevetée.

[227]       Parmi les raisons qui m’amènent à conclure que le produit FAILSAFE ne peut réussir à établir la productivité et la rentabilité de l’invention brevetée, il y a l’incohérence apparente entre une caractéristique importante du produit FAILSAFE et ce qui, d’après ma conclusion, serait l’idée originale du brevet 551. Comme il en a été question au paragraphe [66] ci-dessus, une caractéristique importante du produit FAILSAFE est la validation sans clé du billet par les consommateurs (vérification libre-service) qui améliore l’efficacité de la validation et permet de contrer la fraude chez les détaillants. Cependant, l’idée originale du brevet 551 concerne, du moins en partie, la détermination de l’authenticité du billet de loterie selon l’état de la couche à gratter (grattage, altération). Une telle détermination est impossible lorsque le produit autorise le consommateur à dévoiler les renseignements de validation pour valider lui ou elle-même son billet.

[228]       J’ai examiné les accords d’octroi de licence que SG a signés concernant l’invention brevetée au Canada. Il existe des accords liant SG à trois loteries canadiennes concernant l’invention brevetée, soit SLA, WCLC et BCLC. Il y avait également un accord liant SG à la Société de la loterie interprovinciale (ILC), mais il aurait expiré en 2013. Il n’y a pas de licence de l’invention brevetée entre SG et les autres loteries canadiennes, soit la Société des loteries et des jeux de l’Ontario (OLG) et Loto-Québec. Le contrat de licence octroyée à SLA ne prévoit aucune redevance, car il s’agissait d’inciter une première loterie canadienne à adopter le produit FAILSAFE. Il semble que l’accord signé avec ILC prévoyait des redevances seulement à l’égard de billets, lorsque les profits avaient lieu aux États-Unis; il n’y avait donc pas de redevance à l’égard des billets de loterie vendus au Canada. Les accords conclus avec WCLC et BCLC prévoient des redevances sur licence, mais indiquent qu’elles [traduction] « ne seront exigibles qu’au moment de la délivrance d’un brevet à Scientific Games au Canada pour lequel au moins une revendication valide relative au bien concédé englobe la technologie utilisée par la LOTERIE pour la production de billets de loterie instantanée à gratter ».

[229]       Par conséquent, le paiement des redevances dépend de la délivrance d’un brevet valide qui, s’il n’y avait pas de licence, aurait été contrefait par le titulaire de la licence. Étant donné que les revenus du produit FAILSAFE au Canada dépendent de la validité d’un brevet qui pourrait être délivré, le fait de citer les revenus contingents produits par ces licences pour soutenir la productivité et la rentabilité de l’invention afin d’éviter que le brevet 551 ne soit déclaré évident et donc invalide correspondrait à un raisonnement circulaire.

[230]       J’ai remarqué le grand nombre d’accords de licence qui ont été présentés en preuve et concernent des loteries aux États-Unis et l’équivalent américain du brevet 551, le brevet américain 991. Cependant, je ne suis pas convaincu que ces accords nous sont utiles en ce qui a trait à la question de la productivité et de la rentabilité en l’absence de témoignage d’experts qui feraient la comparaison de la portée du brevet 551 avec celle du brevet américain 991. Une telle preuve n’a pas été présentée. Sans cette comparaison, il est possible que le produit FAILSAFE génère plus de recettes aux États-Unis en raison d’une portée différente du brevet américain 991 ou de conditions de licence différentes.

(8)               Historique des poursuites relatives au brevet 551 et autres éléments de preuve extrinsèques

[231]       Ayant à présent terminé mon évaluation substantielle de l’évidence, j’aimerais émettre quelques commentaires concernant l’historique des poursuites relatives au brevet 551, y compris sur la série de contestations déposées au nom de Pollard. Je fais précéder ces commentaires par la remarque suivante : je n’ai tenu compte d’aucun aspect de l’historique des poursuites pour interpréter les revendications (comme il a été mentionné au paragraphe [115] ci-dessus) et pour examiner les allégations d’invalidité de Pollard.

[232]       SG a fait part à la Cour de chacune des contestations de Pollard. Elle n’a cependant pas attiré mon attention sur les échanges ayant eu lieu entre le demandeur et l’examinateur du brevet. Étant donné que l’historique complet des poursuites relatives a été déposé en preuve, j’ai été en mesure d’examiner ces communications.

[233]       De façon générale, je remarque que les contestations de Pollard ont eu un certain succès, au sens où l’examinateur du brevet a souvent opposé un refus en raison, en partie du moins, du contenu de ces contestations. Chaque contestation a mené à un refus de la part de l’examinateur ou à une décision qui maintenait le refus précédent. L’avis d’acceptation daté du 28 juin 2013, qui autorise la délivrance du brevet 551, a été rendu alors que Pollard a omis de contester la réponse que la demanderesse a présentée à l’examinateur (qui comprenait les revendications modifiées), datée du 6 mars 2013.

[234]       La dernière réponse de la demanderesse (la modification du 6 mars 2013) mérite un examen minutieux. Elle a modifié les revendications de la demande de brevet pour les formuler telles qu’elles ont été accueillies et telles qu’elles figurent actuellement dans le brevet. J’accorde une importance particulière au fait que le demandeur dit que la modification apportée à la revendication 1 permet [traduction] « de souligner les caractéristiques uniques de l’ancienne revendication 2 », c’est-à-dire de la revendication 2 telle qu’elle était avant la modification. Voici le texte de l’ancienne version de la revendication 2 :

[traduction] 2. Le document imprimé de la revendication 1 sur lequel les indications imprimées et le code barres sont recouverts d’une même couche à gratter.

[235]       Et voici l’extrait de la revendication 1 qui serait la même que l’ancienne version de la revendication 2 : « une couche à gratter continue recouvrant à la fois les indications imprimées de ladite aire de jeu et le code barres ». Par conséquent, pour que la demande concernant le brevet 551 soit accueillie, SG a explicitement indiqué que ce libellé fait référence à une couche à gratter unique. Il y a lieu de remarquer que SG adopte à l’heure actuelle une thèse sur ce libellé assez différente.

[236]       SG est pourtant allé plus loin, dans cette modification du 6 mars 2013. Elle y distingue la demande Camarato de l’invention présentée dans le brevet 551 en affirmant que la demande Camarato [traduction] « n’enseigne évidemment pas de quelle façon recouvrir le code barres et les indications de l’aire de jeu par une couche à gratter continue » [souligné dans l’original]. SG a alors soutenu que la phrase « une couche à gratter continue recouvrant à la fois les indications imprimées de ladite aire de jeu et le code barres » de la revendication 1 exclut le type de couche illustrée dans la demande Camarato. Il s’ensuit nécessairement que cette phrase avait pour but de limiter le nombre de couches à une seule. Il est évident que l’argument s’est avéré efficace, puisqu’il a été suivi d’un avis d’acceptation.

[237]       J’ai examiné la modification du 6 mars 2013 qui a donné lieu à la délivrance d’un brevet par suite d’une demande de brevet qui a été en instance, à l’instar de la demande initiale, auprès du Bureau des brevets pendant presque 17 ans, et qui avait essuyé six refus, mais il est époustouflant de voir que SG tente maintenant d’adopter une nouvelle thèse sur l’interprétation de la revendication 1 pour ensuite soutenir que, ce faisant, elle ne réintroduit pas le problème de l’évidence découlant de la demande Camarato, un problème qu’elle avait précédemment évité en adoptant son ancienne thèse.

[238]       Je pense que l’argument de SG n’aurait jamais résisté à un procès aux États-Unis, là où la préclusion fondée sur les notes apposées au dossier s’applique. Là-bas, SG n’aurait probablement pas eu la possibilité de soutenir une interprétation de revendication qui tente de reprendre le terrain qui a été cédé au cours de la poursuite de demande de brevet pour éviter l’antériorité.

[239]       Le cas en l’espèce met en lumière le risque potentiel d’adopter une approche plus simple de l’interprétation des revendications qui ne tient pas compte des éléments de preuve extrinsèques, notamment l’historique des poursuites relatives au brevet en cause. Comme l’indique l’analyse qui précède, l’interprétation de la phrase « une couche à gratter continue recouvrant à la fois les indications imprimées de ladite aire de jeu et le code barres » est très différente lorsque ces éléments de preuve entrent en jeu.

[240]       SG mentionne qu’une des contestations déposées au nom de Pollard contient un jugement dans lequel l’opposition à un brevet européen qui correspond au brevet 551 a eu gain de cause. À mon avis, il n’y a pas du tout lieu d’examiner le jugement européen en l’espèce. Premièrement, il s’agit d’un document extrinsèque qui ne doit pas être examiné aux fins d’interprétation des revendications. Deuxièmement, la décision européenne ne mentionne pas la demande Camarato (même si elle examine des antériorités différentes). Troisièmement, les revendications en cause dans la décision européenne ne semblent ni définir la validation sans saisie ni déterminer l’authenticité d’après l’absence ou l’altération de la couche à gratter recouvrant le code barres.

[241]       C’est d’ailleurs pourquoi je n’ai pas examiné le brevet américain 991. Je note que Pollard a bel et bien contesté la validité de ce dernier brevet, mais qu’elle n’a pas eu gain de cause. Cependant, d’après la preuve présentée, Pollard n’avait pas qualité pour intenter son action. L’attaque d’invalidité de Pollard n’a jamais fait l’objet d’une décision sur le fond.

(9)               Conclusion concernant l’évidence

[242]       La revendication 1 du brevet 551 est invalide pour cause d’évidence compte tenu de la demande Camarato et des connaissances générales courantes d’une personne versée dans l’art.

F.                  Conclusion concernant l’invalidité

[243]       Les deux revendications du brevet 551 sont invalides, la revendication 1, pour cause d’évidence, et la revendication 2, pour cause d’ambiguïté.

VIII.       Questions de contrefaçon

[244]       Compte tenu des conclusions rendues sur la validité des revendications du brevet 551, rien ne m’oblige à examiner les allégations de SG concernant la contrefaçon de ces mêmes revendications. Cependant, j’examinerai ici ces allégations dans l’éventualité où ma conclusion concernant la validité serait infirmée.

[245]       SG prétend que les billets de loterie instantanée que Pollard a imprimés pour le compte de diverses loteries au Canada constituent une contrefaçon du brevet 551 d’une façon directe et par incitation à la contrefaçon.

[246]       Pollard réplique en affirmant que ses billets échappent à la portée des revendications et qu’ils ne peuvent donc pas constituer une contrefaçon, que ce soit de façon directe ou par incitation. Pollard ajoute également que les licences autorisant l’impression de ses billets ont été octroyées par SG à certaines loteries canadiennes. L’existence de ces licences implique l’absence de contrefaçon même si ces billets étaient visés par les revendications. De plus, ces licences tiennent compte de l’allégation d’incitation à la contrefaçon.

A.                Loi applicable

[247]       La contrefaçon n’est pas définie dans la Loi sur les brevets, mais elle l’est dans la jurisprudence. Pour établir qu’il y a eu contrefaçon d’une revendication de brevet, la partie alléguant la contrefaçon doit démontrer que tous les éléments essentiels de la revendication (interprétée convenablement) font partie de la présumée contrefaçon. Il n’y a pas de contrefaçon lorsqu’un élément essentiel est différent ou omis. Il peut toutefois y avoir contrefaçon lorsque des éléments non essentiels sont substitués ou omis : Free World Trust, au paragraphe 31f).

B.                 Analyse

[248]       Les billets de loterie instantanée soupçonnés d’être une contrefaçon du brevet 551 ont été joints aux onglets 3 à 18 de l’annexe C du rapport de M. Trask. Pour ce qui est des éléments essentiels des revendications, aucune différence ne vient distinguer ces billets. Il semble également que les parties s’entendent en grande partie sur les caractéristiques de ces billets. Seule l’identification des éléments essentiels donne lieu à un désaccord.

[249]       Voici une reproduction d’un billet type prétendument contrefait :

Images d’un billet prétendument contrefait. D’un côté de l’image, le billet a été gratté; de l’autre, la couche à gratter est intacte.

[250]       Il semble que tous les billets en cause sont des billets de loterie instantanée qui comportent :

  1. un support, au sens du sous-paragraphe a) de la revendication 1;
  2. une aire de jeu présente sur ce support constituée d’indications imprimées qui, lorsqu’elles sont présentées au format souhaité, peuvent indiquer un billet gagnant, au sens du sous-paragraphe b) de la revendication 1;
  3. une aire extérieure au jeu présente sur le support, distincte des indications imprimées dans l’aire de jeu;
  4. un code barres bidimensionnel (2D) lisible par machine et contenant tous les renseignements nécessaires à l’authentification du billet de loterie ne nécessitant pas de renseignements supplémentaires de la part de l’agent de la loterie ou tirés directement du billet;
  5. une couche à gratter continue recouvrant à la fois les indications imprimées de l’aire de jeu et le code barres.

[251]       Cependant, d’après l’interprétation que je fais de la revendication 1, il manque au moins deux éléments essentiels à tous les billets prétendument contrefaits. D’abord, dans tous les cas, le code barres 2D est situé non pas dans l’aire extérieure au jeu, comme le définit le sous-paragraphe c) de la revendication 1, mais plutôt dans l’aire de jeu qui est recouverte d’une couche détachable qui est censée être grattée lors du jeu. L’autre élément essentiel qui manque est lié au fait que le code barres est divulgué lors du jeu et que, par conséquent, l’absence ou l’altération de la couche à gratter recouvrant le code barres ne peut être un facteur déterminant servant à authentifier le billet, comme le définit le sous-paragraphe d) de la revendication 1.

[252]       Ces deux éléments essentiels étant manquants, j’en conclus que les billets de loterie instantanée prétendument contrefaits ne sont pas visés par les revendications.

[253]       Ayant conclu que les billets de loterie instantanée ne sont pas visés par les revendications en question, il ne m’est pas nécessaire d’examiner le bien-fondé de la défense de Pollard en matière de licence. De même, il n’y a pas lieu d’examiner la question de l’incitation à la contrefaçon.

C.                 Conclusion concernant la contrefaçon

[254]       Il n’y a pas de contrefaçon des revendications du brevet 551 par les billets prétendument contrefaits.

IX.             Mesures de réparation

[255]       Compte tenu de mes conclusions sur l’invalidité des revendications du brevet 551 et sur l’absence de contrefaçon, il ne m’est pas nécessaire de déterminer si SG a droit aux diverses mesures de réparation énumérées dans la partie « Questions en litige ». Aucune de ces mesures ne s’applique en l’espèce.

X.                Conclusion

[256]       Pollard a droit à une déclaration en vertu du paragraphe 60(1) de la Loi sur les brevets voulant que les revendications 1 et 2 du brevet 551 sont invalides, nulles et inopérantes et l’ont toujours été.

[257]       La demande reconventionnelle de SG en contrefaçon est rejetée.

[258]       Pollard a droit à ses dépens relativement à l’action et à la demande reconventionnelle. Si les deux parties ne peuvent pas s’entendre sur le montant des dépens, je recevrai les observations des parties comme le prévoit le jugement qui suit.

[259]       Pour terminer, j’aimerais remercier les parties et leurs avocats d’avoir contribué à réduire le nombre de questions encore en litige au terme de ce procès. Cette contribution appréciée par la Cour amène une décision plus brève.


JUGEMENT

LA COUR REND LE JUGEMENT SUIVANT :

1.      Les revendications 1 et 2 du brevet canadien no 2 752 551 sont invalides, nulles et inopérantes et l’ont toujours été.

2.      La demande reconventionnelle déposée par la défenderesse/demanderesse reconventionnelle pour contrefaçon est rejetée.

3.      Les dépens suivront l’issue de la cause. Si les parties ne peuvent pas s’entendre sur le montant des dépens payables par Scientific Games Products (Canada) ULC à Pollard Banknote Limited, cette dernière doit signifier et déposer ses observations relatives aux dépens, ne comptant pas plus de 15 pages, au cours des 30 jours suivant la date de la présente décision. Scientific Games aura 15 jours après la réception des observations de Pollard pour signifier et déposer ses observations relatives aux dépens en réponse, qui seront également limitées à 15 pages. Par la suite, Pollard peut, dans les cinq (5) jours suivant la réception des observations présentées en réponse de Scientific Games, signifier et déposer des observations relatives aux dépens en réponse ne comptant pas plus de cinq (5) pages.

« George R. Locke »

Juge


COUR FÉDÉRALE

AVOCATS INSCRITS AU DOSSIER


DOSSIER :

T-407-14

 

INTITULÉ :

POLLARD BANKNOTE LIMITED c. BABN TECHNOLOGIES CORP. et SCIENTIFIC GAMES PRODUCTS (CANADA) ULC

 

LIEU DE L’AUDIENCE :

Toronto (Ontario)

 

DATE DE L’AUDIENCE :

Du 2 au 6 mai, du 9 au 12 mai et les 18 et 19 mai 2016

 

JUGEMENT ET MOTIFS :

LE JUGE LOCKE

 

DATE DES MOTIFS :

LE 28 JUILLET 2016

 

COMPARUTIONS :

Ronald E. Dimock

Angela Furlanetto

Alan Macek

Michal Kasprowicz

 

POUR LA DEMANDERESSE/DÉFENDERESSE RECONVENTIONNELLE

 

Susan D. Beaubien

Jaimie Bordman

 

POUR LES DÉFENDERESSES/DEMANDERESSES RECONVENTIONNELLES

 

AVOCATS INSCRITS AU DOSSIER :

DIMOCK STRATTON LLP

Avocats

Toronto (Ontario)

 

POUR LA DEMANDERESSE/DÉFENDERESSE RECONVENTIONNELLE

 

MACERA & JARZYNA, LLP

Avocats

Ottawa (Ontario)

 

POUR LES DÉFENDERESSES/DEMANDERESSES RECONVENTIONNELLES

 

 

 Vous allez être redirigé vers la version la plus récente de la loi, qui peut ne pas être la version considérée au moment où le jugement a été rendu.