Décisions de la Cour fédérale

Informations sur la décision

Contenu de la décision

Date : 20200515


Dossier : T-546-12

Référence : 2020 CF 624

Ottawa (Ontario), le 15 mai 2020

En présence de monsieur le juge Sébastien Grammond

ENTRE :

BAUER HOCKEY LTD.

demanderesse

défenderesse reconventionnelle

et

SPORT MASKA INC., FAISANT AFFAIRE SOUS LE NOM DE CCM HOCKEY

défenderesse

demanderesse reconventionnelle

JUGEMENT ET MOTIFS


Table des matières

I. Le contexte  3

A. Les parties  3

B. La fabrication de patins  5

C. Le brevet de Bauer  7

D. L’action et le procès  12

II. Les questions préliminaires  14

A. La définition de la personne versée dans l’art  15

B. La définition des connaissances générales courantes  16

C. L’interprétation des revendications  21

1) Principes généraux  21

2) Les expressions controversées  32

III. Les questions de validité  48

A. L’antériorité  49

1) Principes généraux  49

2) Application  50

B. L’évidence  57

1) Principes généraux  58

2) Application  62

3) Résumé concernant l’évidence  77

IV. Les questions liées à la contrefaçon et à l’indemnisation  78

V. L’affaire Easton  78

VI. Conclusion  82

[1]  La présente action implique deux fabricants de patins bien connus, Bauer et CCM. Bauer a obtenu un brevet concernant le patron d’une partie du patin que l’on appelle le quartier. Elle poursuit maintenant CCM pour contrefaçon de ce brevet.

[2]  Bien que de nombreuses questions aient été abordées par les parties au procès, deux d’entre elles sont déterminantes.

[3]  Premièrement, l’interprétation large que donne Bauer aux revendications de son brevet, qui couvrirait une vaste gamme de patins de CCM, ne saurait être acceptée. L’interprétation proposée par Bauer ne repose pas sur le libellé des revendications ni sur celui de la divulgation. Elle attribue un objet différent de celui qui est expressément indiqué dans la divulgation. Elle est aussi incompatible avec l’historique de l’examen de la demande de brevet.

[4]  Deuxièmement, les revendications du brevet que Bauer invoque sont évidentes. Fabriquer le quartier en une seule pièce, alors qu’il était auparavant composé de deux pièces cousues ensemble, n’est pas une démarche inventive digne de la protection d’un brevet. Même en tenant compte du contexte, une personne versée dans l’art à l’époque pertinente aurait facilement songé à cette solution.

[5]  Par conséquent, l’action de Bauer est rejetée, et la demande reconventionnelle de CCM, qui vise l’obtention d’une déclaration d’invalidité, est accueillie.

I.  Le contexte

[6]  L’action de Bauer est fondée sur le brevet canadien no 2 214 748 [brevet 748 ou brevet de Bauer]. Pour bien comprendre les questions en litige, il convient de commencer l’exposé des présents motifs par une présentation des parties, une brève description du processus de fabrication de patins, une chronique des événements ayant mené à l’invention divulguée dans le brevet de Bauer et un aperçu du procès.

A.  Les parties

[7]  Initialement fondée en tant que fabricant de chaussures en 1927, Bauer s’est rapidement lancée dans la fabrication de patins. Au cours des années 1980, Bauer a peu à peu délaissé la fabrication de bottes et d’autres types de chaussures pour se concentrer sur la fabrication d’équipement de hockey, notamment les patins. Bien qu’il soit difficile de quantifier avec exactitude les parts de marché, il est juste d’affirmer que, durant la période pertinente à la présente action, Bauer détenait la plus grande part du marché mondial dans le domaine des patins.

[8]  Depuis ses débuts, l’entreprise Bauer a, à maintes reprises, changé de structure, de dénomination sociale et de propriétaire, tout en conservant son identité et sa marque caractéristiques. Entre autres, de 1996 à 2008, Bauer appartenait à Nike, un fabricant mondial de chaussures de sport. Pendant une certaine partie de cette période, Bauer a fabriqué des patins non seulement sous la marque Bauer, mais aussi sous la marque Nike. En 2017, Bauer a fait l’objet d’une réorganisation aux termes de la Loi sur les arrangements avec les créanciers des compagnies, LRC (1985), c C-36. Étant donné que je rejette l’action pour d’autres motifs, il n’est pas nécessaire que je me penche sur les conséquences de cette réorganisation sur le droit de Bauer de réclamer des dommages-intérêts. J’utiliserai donc le nom Bauer pour désigner l’entreprise Bauer telle qu’elle existait au fil du temps.

[9]  La défenderesse, Sport Maska Inc., fait affaire sous le nom de CCM Hockey. Dans les présents motifs, je l’appellerai tout simplement CCM. Elle fabrique de l’équipement de hockey, dont des patins. En 2004, elle a été achetée par Reebok, un fabricant mondial de chaussures de sport, et a commencé à vendre des patins sous les marques CCM et Reebok. En 2017, elle a été vendue à un fonds d’investissement privé. Il est juste d’affirmer que, durant la période en litige, CCM détenait une part importante du marché mondial des patins, quoique moins importante que celle de Bauer.

B.  La fabrication de patins

[10]  Les patins existent sous différentes formes depuis des siècles. Il n’est pas nécessaire, pour les besoins des présents motifs, de brosser un tableau complet de l’évolution des patins. Je m’en tiendrai à une description de la méthode traditionnelle employée pour fabriquer des bottes de patin et de l’évolution de cette méthode au cours des années ayant précédé l’invention en cause.

[11]  Les patins à glace se composent d’une botte à laquelle sont fixés une lame et un porte-lame. Dans le cas des patins à roues alignées, la lame et le porte-lame sont remplacés par un bloc-essieu et des roues. Les principaux composants de la botte s’appellent les « quartiers ». Il y a habituellement deux quartiers (un de chaque côté du pied), qui sont cousus ensemble à l’arrière de la botte et qui se prolongent vers l’avant, de chaque côté de la botte. Conjointement avec l’embout du patin, la languette et d’autres composants, ils forment ce que l’on appelle l’empeigne de la botte. L’une des figures incluses dans le brevet de Bauer, annotée par l’un des experts de Bauer et indiquant le quartier d’un trait en gras, permet de visualiser ces composants :

Empeigne

 

Empeigne

Semelle extérieure

 

Semelle extérieure

Lame

 

Lame

Embout

 

Embout

Porte-lame

 

Porte-lame

Œillet

 

Œillet

Languette

 

Languette

Protège-tendon

 

Protège-tendon

[12]  Les composants de la botte de patin sont assemblés au moyen d’un processus qui a initialement été élaboré au sein de l’industrie de la chaussure et qui est connu sous le nom de montage. Bien que ce processus puisse naturellement varier, ses grandes lignes sont les suivantes. Les différentes parties de l’empeigne, traditionnellement faites de cuir, sont découpées selon le patron qui convient pour ensuite être cousues ensemble. Une fois ces parties assemblées, l’empeigne est placée à l’envers sur une « forme », c’est-à-dire une pièce qui correspond approximativement à la forme du pied, puis la semelle intérieure est placée entre la forme et l’empeigne. Une machine de montage tire alors les rebords de l’empeigne, que l’on désigne également sous le nom de marge de montage, pour les replier sur la semelle intérieure. Ils sont ensuite cloués ou collés sur la semelle intérieure. Le matériau excédentaire peut ensuite être sablé ou poncé. La semelle extérieure peut alors être fixée sur l’empeigne. Des renforts et des appliqués peuvent être ajoutés à différentes étapes du processus. Une fois la botte assemblée, un porte-lame est fixé à la semelle à l’aide de rivets.

[13]  Au cours de la période s’échelonnant de 1970 à 1995 environ, de nombreuses innovations ont été introduites au sein de l’industrie de la fabrication de patins. L’une d’entre elles est le recours au moulage par injection pour la fabrication de bottes de patin tout entières ou des composants de celles-ci. Lorsque la botte de patin tout entière est moulée en une seule pièce, aucun processus de montage n’est nécessaire. Je reviendrai sur cette question plus loin dans les présents motifs. Au cours de cette même période, le cuir a progressivement été remplacé par des matériaux synthétiques tels que le nylon balistique, qui offrait une plus grande rigidité.

C.  Le brevet de Bauer

[14]  Au milieu des années 1990, Bauer a cherché à réduire considérablement le poids de ses patins. Elle a lancé un projet qui était initialement connu sous le nom de « Super Light ». Bauer est effectivement parvenue à réduire considérablement le poids de ses patins. Les joueurs professionnels qui avaient fait l’essai de patins Super Light avaient réagi positivement à cette caractéristique. Cependant, ces patins n’étaient pas suffisamment rigides et durables. Ils avaient également tendance à absorber des quantités appréciables d’eau. Ils n’ont donc jamais été mis sur le marché.

[15]  Un deuxième projet a permis à l’entreprise de réduire le poids de ses patins tout en conservant ou en améliorant d’autres caractéristiques souhaitables. Ce projet a mené à la mise en marché de la gamme de patins Vapor. L’invention revendiquée dans le brevet 748 a été mise au point dans le cadre de ce projet. M. François Chênevert, qui est l’inventeur nommé dans ce brevet, a témoigné au sujet des différentes phases du projet. Tous les aspects de la conception des patins ont été réexaminés. Des objectifs ambitieux avaient été fixés en ce qui concerne le poids, la rigidité, la durabilité et d’autres facteurs. M. Chênevert a étudié un grand éventail de matériaux potentiels. À la suite de recherches exhaustives, il a découvert un nouveau matériau composite, composé de Surlyn laminé et de monofilaments, qui était 30 % à 50 % plus mince que le nylon balistique, qui n’absorbait pas l’eau et qui offrait le degré de rigidité désiré.

[16]  Dans le cadre de la conception du patin Vapor, M. Chênevert et ses collègues cherchaient également à faciliter la flexion vers l’avant. Parmi plusieurs options, ils ont envisagé de séparer le protège-tendon du reste du quartier – ce que l’on a fini par appeler le « revers articulé ». À l’audience, M. Chênevert a témoigné que cela l’a amené, de façon presque fortuite, à créer un prototype dans lequel les deux quartiers étaient joints de façon à ne former qu’un seul composant (le 5 février 2020, aux pages 100 et 101). On a constaté que cette façon de procéder conférait une rigidité supplémentaire au patin et facilitait quelque peu sa fabrication, étant donné que le nouveau matériau plus rigide était difficile à coudre. En outre, la fabrication en une seule pièce conférait des avantages sur le plan esthétique, qui, selon M. Chênevert, permettraient de mettre en évidence les éléments caractéristiques du patin Vapor. Le revers articulé n’a pas été retenu dans la conception finale. Toutefois, à la suite de discussions internes chez Bauer, on a décidé que le nouveau patin Vapor serait doté du quartier une-pièce.

[17]  Bauer a présenté une demande de brevet le 5 septembre 1997. Deux brevets ont été délivrés à la suite de la demande de Bauer. Le premier est le brevet 748, qui est en cause dans la présente action. Le deuxième est le brevet canadien no 2 302 953 [brevet 953], qui a été délivré après que la demande eut fait l’objet d’un examen international aux termes du Traité de coopération en matière de brevets et soit entrée en phase nationale. Les revendications du brevet 748 concernent un quartier pour une chaussure de patin montée avec des parties de recouvrement (foxing portions), tandis que les revendications du brevet 953 concernent une chaussure de patin comprenant un quartier et un protège-tendon dotés de certaines caractéristiques.

[18]  Le brevet 953 a été délivré le 20 novembre 2001. Par la suite, la demande qui a mené à la délivrance du brevet 748 a été considérée comme abandonnée, mais a été rétablie en 2003. Après un examen, le Bureau des brevets s’est opposé à certaines revendications pour cause d’évidence. Bauer a répondu à cette opposition en regroupant trois revendications et en apportant d’autres modifications à la demande. Le brevet 748 a été délivré le 7 août 2007.

[19]  Le brevet 748, qui constitue le fondement de l’action de Bauer, s’intitule « Quartier pour chaussure de patin ». La rubrique [traduction] « historique de l’invention » présente l’art antérieur, qui est composé de deux quartiers distincts cousus ensemble. L’historique expose les enjeux de fabrication et de durabilité associés à la présence de la ligne de couture. Il est également indiqué que le protège-tendon chevaucherait les quartiers. La figure ci-dessous illustre l’art antérieur :

L’art antérieur

 

L’art antérieur

[20]  Le brevet contient ensuite une [traduction] « description de l’invention », qui constitue pour l’essentiel une paraphrase des revendications. Après, on trouve une [traduction] « brève description des dessins » et une [traduction] « description détaillée des réalisations ». Voici un des dessins, censé fournir une [traduction] « vue d’un quartier selon l’invention » :

[21]  Dans la présente action, Bauer fait valoir les revendications 1 et 5 (liée à la revendication 1) du brevet 748. Les voici :

[traduction]
1. Quartier pour chaussure de patin montée. Le quartier est adapté afin d’entourer le talon et la cheville du porteur. Le quartier comprend une partie médiane, une partie latérale et une ligne de jonction entre ces parties médiane et latérale, qui sont intégralement liées à la ligne de jonction. Les parties médiane et latérale se prolongent vers le haut le long de la ligne de jonction, ainsi que de chaque côté de la ligne de jonction, le long d’un contour qui va en rétrécissant et est adapté à la forme arrière de la chaussure de patin lorsqu’il est plié en U, et chacune des parties médiane et latérale comprend une partie de recouvrement qui se prolonge vers le bas à partir de là.

5. Quartier tel qu’il est défini dans les revendications 1 à 4, les parties de recouvrement médiane et latérale étant adaptées afin d’être reliées avec une ligne de couture.

[22]  Malgré quelques problèmes au début, la gamme de patins Vapor a remporté un succès commercial. Je me pencherai plus loin dans les présents motifs sur le rôle que l’invention présentée dans le brevet 748 pourrait avoir joué dans ce succès. Néanmoins, il n’est pas contesté que les concurrents de Bauer ont commencé peu après à fabriquer des patins dotés d’un quartier une-pièce, même si les parties ne s’entendent pas sur la question de savoir si ces patins contrefont le brevet de Bauer.

[23]  Bauer a poursuivi un de ses concurrents pour contrefaçon du brevet 953 et a obtenu gain de cause en première instance et en appel : Bauer Hockey Corp c Easton Sports Canada Inc, 2010 CF 361; confirmée par 2011 CAF 83 [Easton]. L’affaire Easton concernait d’autres parties et portait sur un brevet différent. Les jugements rendus dans cette affaire n’ont pas force de chose jugée à l’égard de la présente instance. Malgré cela, Bauer a plusieurs fois attiré mon attention sur certaines conclusions de la juge de première instance dans l’affaire Easton. Il serait dangereux de transposer les conclusions de cette affaire en l’espèce puisque les questions en litige, les éléments de preuve et les thèses avancées par les parties ne sont pas les mêmes. Il sera plus facile d’expliquer ces différences à la fin des présents motifs.

D.  L’action et le procès

[24]  Bauer a intenté la présente action contre CCM le 21 décembre 2012. Sa déclaration affirme que de nombreux patins de CCM contrefont les revendications 1 et 5 du brevet 748.

[25]  Il a fallu plus de sept ans pour mener cette action jusqu’au procès. Cela pourrait en partie – mais certainement pas entièrement – être imputable à la réorganisation de Bauer en 2016-2017.

[26]  Au procès, Bauer a présenté plusieurs témoins de fait. La plupart étaient des employés (actuels ou anciens) et étaient naturellement enthousiastes au sujet de leur marque et de l’apport de l’invention à l’avancement de la conception des patins. Compte tenu des motifs pour lesquels je rejette l’action de Bauer, plusieurs aspects de ces témoignages ne sont pas directement pertinents aux questions sur lesquelles je dois me prononcer. Je ne décrirai donc pas de façon exhaustive la preuve présentée au procès.

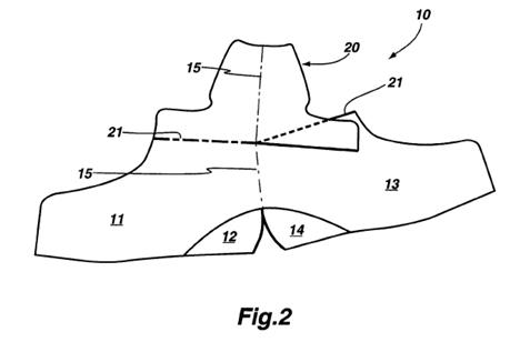
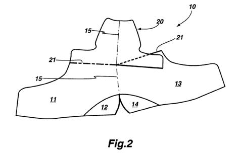
[27]  Les deux parties ont présenté cinq témoins experts, soit le maximum permis par l’article 7 de la Loi sur la preuve au Canada, LRC (1985), c C-5. Certains témoins ont traité des questions financières, tandis que d’autres se sont concentrés sur les questions de validité et de contrefaçon, notamment les connaissances générales courantes, l’interprétation des revendications, l’antériorité et l’évidence. J’ai constaté que, lorsqu’ils abordent les questions de validité et de contrefaçon, en particulier celle de l’interprétation des revendications, il devient difficile de différencier les experts des avocats. Leurs avis quant à la signification des revendications reposent davantage sur des principes juridiques que sur les connaissances générales courantes, comme si la personne versée dans l’art était plus habile en matière d’interprétation des revendications que dans sa propre discipline. (Pour une observation semblable, voir la décision Shire Biochem inc c Canada (Santé), 2008 CF 538, aux paragraphes 22 et 23 [Shire].)

[28]  En outre, les témoins experts suivent habituellement de très près la thèse avancée par la partie qui a retenu leurs services. Ils sont très bien préparés. Ils connaissent la thèse de l’autre partie et mettent au point des techniques pour écarter les objections et réitérer leur propre thèse. Je n’écris pas cela pour lancer un débat philosophique quant à la possibilité de différencier l’expertise et la plaidoirie. Je dirai seulement que l’un des experts appelés par Bauer, M. Beaudoin, est allé nettement plus loin que les autres en plaidant pour la partie qui avait retenu ses services. Je donnerai plusieurs exemples des failles de son raisonnement tout au long des présents motifs. Le fil conducteur est qu’il profite de l’emploi peu rigoureux de la terminologie dans l’industrie du patin pour décréter des définitions ou des significations qui ne reposent sur aucune preuve objective. À partir de ces définitions, il bâtit ensuite un échafaudage conceptuel et affirme, encore une fois sans aucun fondement objectif, que la personne versée dans l’art verrait les choses de la même manière. À mon avis, il serait plus approprié de considérer ses rapports et son témoignage comme une annexe aux observations des avocats de Bauer, et de les examiner comme tels.

[29]  Le procès a duré 21 jours. Néanmoins, comme le montreront les présents motifs, la question de l’interprétation des revendications est largement déterminante. On dit souvent que l’interprétation des revendications est une question de droit, bien que certaines formes de preuve soient admissibles pour faciliter le processus. Lorsque plus de 90 % de la valeur de la réclamation repose sur une question de droit, les parties devraient envisager de présenter une requête en jugement sommaire ou en procès sommaire. Une économie considérable de ressources judiciaires aurait été possible si les parties avaient procédé ainsi en l’espèce, et les frais judiciaires de chaque partie auraient été considérablement réduits. Puisque je soupçonne que les deux parties répercuteront leurs frais de justice sur leurs clients, ce sont au final les patineurs et les joueurs de hockey partout au Canada qui supporteront le fardeau des choix stratégiques des parties.

II.  Les questions préliminaires

[30]  Certaines questions sont habituellement abordées dès le départ dans les jugements rendus dans les affaires de contrefaçon : identification de la personne versée dans l’art, définition des connaissances générales courantes et interprétation des revendications de brevets en cause. J’aborde ces questions avant d’examiner les allégations de contrefaçon de Bauer et les allégations d’invalidité de CCM.

[31]  En traitant ces questions dès le départ, on assure la cohérence de l’analyse. Il ne faut pas, par exemple, interpréter une revendication d’une manière lorsqu’il est question de validité, et d’une autre manière lorsqu’il est question de contrefaçon : Whirlpool Corp c Camco Inc, 2000 CSC 67, [2000] 2 RCS 1067, au paragraphe 49(b) [Whirlpool]. En identifiant la personne versée dans l’art et en définissant les connaissances générales courantes au début de l’analyse, on établit également la base permettant de déterminer ce qui est considéré comme inventif dans le domaine d’activité pertinent. De plus, en abordant les questions d’interprétation des revendications avant d’analyser les questions de validité ou de contrefaçon, on évite que l’interprétation des revendications devienne un exercice « ax[é] sur des résultats » : Whirlpool, à l’alinéa 49a).

A.  La définition de la personne versée dans l’art

[32]  Il est généralement accepté que les brevets ne sont pas faits pour être lus par des personnes ordinaires, mais plutôt par une « personne versée dans l’art ou la science dont relève l’invention » (voir l’alinéa 27(3)b) et l’article 28.3 de la Loi sur les brevets, LRC (1985), c P-4) ou, en bref, la personne versée dans l’art : Burton Parsons Chemicals, Inc. v Hewlett-Packard (Canada) Ltd., [1976] 1 RCS 555, à la page 563 [Burton Parsons].

[33]  Voici comment M. Beaudoin, l’expert de Bauer, a présenté la personne versée dans l’art au paragraphe 40 de son premier rapport :

[traduction]
Je conclus que le brevet 748 s’adresse à une personne ayant de l’expérience dans la création et l’utilisation de patrons de bottes de patin pour la conception d’une botte de patin montée, et qui a de l’expérience quant aux processus de production et de fabrication de ce type de botte de patin. Il s’agit de personnes ayant vraisemblablement acquis leur expérience en travaillant dans l’industrie avec d’autres personnes versées dans l’art. Elles peuvent disposer d’une combinaison d’expérience de travail et d’études; elles peuvent, par exemple, avoir suivi des cours en lien avec la confection de patrons ou les processus de fabrication industrielle, lorsque de tels cours existent.

[34]  Je suis généralement d’accord avec ces énoncés. Même si les experts de CCM ont laissé entendre que la personne versée dans l’art pourrait en fait être une équipe, cette distinction n’a rien de déterminant. À cet égard, M. Meibock, un des experts de CCM, a écrit ce qui suit au paragraphe 136 de son premier rapport :

[traduction]
Il n’est pas question, dans le brevet 748, d’une technique particulièrement poussée ni de matériaux de pointe; la [personne versée dans l’art] n’aurait donc pas besoin de détenir un diplôme d’études supérieures ou d’avoir fait des études considérables pour comprendre ce qui est exposé dans ce brevet.

[35]  L’ampleur des connaissances de la personne versée dans l’art soulève davantage la controverse. J’examine cette question dans la section suivante.

B.  La définition des connaissances générales courantes

[36]  La question préliminaire suivante est la délimitation des connaissances générales courantes, qui sont définies comme étant les « connaissances que possède généralement une personne versée dans l’art en cause au moment considéré » : Apotex Inc. c Sanofi-Synthelabo Canada Inc., 2008 CSC 61, au paragraphe 37, [2008] 3 RCS 265 [Sanofi]; voir également Bell Helicopter Textron Canada Limitée c Eurocopter, société par actions simplifiée, 2013 CAF 219, au paragraphe 65 [Eurocopter]; Mylan Pharmaceuticals ULC c Eli Lilly Canada Inc., 2016 CAF 119, au paragraphe 25, [2017] 2 RCF 280 [Mylan]. Il s’agit de ce que la personne versée dans l’art saurait sans effectuer de recherches. Il faut distinguer ces connaissances des connaissances accessibles au public, car ce qui est du domaine public n’est pas nécessairement connu de beaucoup de personnes. En l’espèce, le moment considéré est la date à laquelle le brevet de Bauer a été mis à la disponibilité du public, c’est-à-dire le 5 mars 1999.

[37]  Les parties adoptent des points de vue nettement opposés en ce qui concerne les sources des connaissances générales courantes. Bauer prétend que l’industrie du patin est tout à fait distincte de celle de la chaussure. Dans cette perspective, les connaissances liées à la chaussure en général ne seraient pas pertinentes et ne feraient pas partie des connaissances de la personne versée dans l’art. CCM, en revanche, nie l’existence d’une telle distinction et affirme que la définition des connaissances générales courantes doit être bien plus large.

[38]  Il est possible de concilier ces points de vue en dépit du fossé apparemment infranchissable qui les sépare. Comme l’a indiqué un représentant de CCM dans une vidéo diffusée lors du procès (pièce X95), les patins sont une [traduction] « sorte de chaussure très spécialisée ». M. Pearson, un employé de longue date de Bauer, a expliqué que l’industrie du patin était un [traduction] « créneau ». Ces qualifications indiquent que les patins ont plusieurs points communs avec d’autres types de chaussures, mais présentent aussi certaines particularités.

[39]  Les connaissances générales courantes comprennent donc, sans toutefois s’y limiter, les connaissances liées à la confection de patrons dans l’industrie de la chaussure en général. Elles portent également sur les problèmes touchant particulièrement les patins ainsi que les techniques employées dans l’industrie du patin pour régler ces problèmes.

[40]  La preuve dément l’affirmation de Bauer voulant que les connaissances générales de l’industrie de la chaussure ne soient pas pertinentes pour le brevet en cause. Plusieurs témoins (MM. Beaudoin, Roy et Nadeau) avaient déjà travaillé dans l’industrie de la chaussure en général avant de commencer à travailler pour Bauer ou CCM. Lorsqu’il a commencé à travailler pour Bauer, M. Chênevert a été initié à la confection de patrons par un certain M. Renaud, qui possédait une vaste expérience dans l’industrie de la chaussure (le 5 février 2020, à la page 139), et a appliqué les connaissances acquises à d’autres équipements cousus, comme les doublures pour l’équipement de protection (le 5 février 2020, à la page 43). M. Chênevert a effectivement reconnu que les principes fondamentaux de la confection de patrons sont les mêmes pour tous les produits (le 5 février 2020, à la page 141). Lorsque M. Beaudoin a indiqué qu’il était possible que la personne versée dans l’art ait suivi des cours de confection de patrons, il n’a pas laissé entendre qu’il s’agissait de cours portant uniquement sur les patins. Compte tenu du faible nombre de joueurs dans cette industrie, cela serait invraisemblable.

[41]  En outre, l’équipement utilisé pour fabriquer des patins est en grande partie le même que celui utilisé pour d’autres types de chaussures, bien que certaines adaptations soient nécessaires (témoignage de M. Roy, le 24 février 2020, à la page 65). Les machines Orisol achetées par CCM en 1997 pour automatiser certaines étapes du processus ont été conçues et commercialisées pour coudre des chaussures. D’ailleurs, certains fabricants asiatiques qui ont fabriqué des patins pour CCM fabriquaient aussi des chaussures (témoignage de M. Roy, le 24 février 2020, aux pages 64 et 65). Bauer elle-même fabriquait des chaussures jusqu’à une époque relativement récente (témoignage de M. Nadeau, le 11 février 2020, aux pages 7 à 9, et 38 à 40).

[42]  À cet égard, il est possible de tracer une analogie avec les rapports qu’entretiennent le droit de la propriété intellectuelle et le droit en général. La propriété intellectuelle est un domaine du droit hautement spécialisé avec une législation, des concepts et un vocabulaire qui lui sont propres. Les avocats dans ce domaine invoquent principalement la jurisprudence issue de ce domaine. Néanmoins, dans de nombreux aspects de leur pratique, ils s’appuient sur des concepts juridiques communs à tous les domaines du droit. Par exemple, il n’existe pas de droit de la preuve distinct pour les affaires de propriété intellectuelle.

[43]  Ainsi, je conclus que les connaissances générales courantes comprennent les principes de base qui sont communs aux divers types de chaussures, ainsi que les connaissances plus spécialisées propres aux patins.

[44]  Aux fins des présents motifs, il n’est pas nécessaire de donner une définition exhaustive des connaissances de la personne versée dans l’art. Ce qui importe, c’est que ces connaissances comprennent au moins les techniques de base de la création de patrons, communes à différents types de chaussures, les éléments de base du processus de fabrication de bottes de patin, ainsi que les problèmes ou les exigences propres aux patins.

[45]  Concernant la création de patrons, plusieurs aveux faits par M. Beaudoin sont particulièrement pertinents quant à l’interprétation des revendications et à la question de l’évidence (le 17 février 2020, aux pages 168 à 171). En contre-interrogatoire, il a reconnu que le concept d’un quartier une-pièce était connu dans l’industrie de la chaussure à l’époque pertinente. Une personne versée dans l’art aurait aussi su, à cette époque, qu’une encoche courbe ou une fente au talon permet au quartier de prendre la forme arrondie du talon. Cette personne comprendrait comment on peut enlever du matériau dans la marge de montage pour éviter le bourrage de matériau sous le talon. M. Beaudoin a aussi admis qu’à l’époque pertinente, une personne versée dans l’art aurait été au courant des diverses façons de faire des encoches ou d’enlever du matériau, qu’il décrit comme les catégories A, B, C, D et E dans son analyse de la contrefaçon. Plus précisément, la fente de catégorie C était décrite dans le manuel de cordonnerie de 1976 et dans des brevets antérieurs.

[46]  L’emploi peu rigoureux de la terminologie est un aspect particulier des connaissances générales courantes en l’espèce. L’industrie de la chaussure possède un lexique commun de termes pour décrire les principaux composants des chaussures et des bottes (voir, par exemple, le premier rapport de M. Meibock, aux paragraphes 65 à 100). Toutefois, appliquer ce lexique aux patins en cause et à leur processus de fabrication n’est pas aussi simple qu’on pourrait le croire. Les progrès réalisés au chapitre de la conception et de la fabrication de patins ne donnent pas lieu à un consensus immédiat quant aux termes utilisés pour les décrire. En outre, comme il y a très peu d’acteurs dans l’industrie du patin, un usage différent tend à se développer dans chaque entreprise (voir, par exemple, le témoignage de M. Harvey-Néron, le 24 février 2020, aux pages 82 et 83). Ainsi, une grande prudence s’impose avant d’adopter des définitions figées qui ne font pas place à l’évolution de la technologie sous-jacente.

C.  L’interprétation des revendications

[47]  Comme je l’ai mentionné plus tôt, la question de l’interprétation adéquate des revendications du brevet de Bauer est déterminante pour une grande partie de la revendication. Compte tenu de l’importance de la question en l’espèce, il peut être utile de commencer par examiner les principes directeurs de l’interprétation des brevets, ce que l’on désigne communément comme l’« interprétation des revendications ».

1)  Principes généraux

[48]  Les revendications qui figurent dans les brevets, comme les autres types de textes juridiques, sont interprétées selon la méthode moderne d’interprétation juridique. Néanmoins, les brevets sont rédigés selon des conventions particulières. Ils possèdent des caractéristiques distinctives qui doivent être prises en compte dans l’exercice d’interprétation. J’aborderai brièvement ces similitudes et ces différences avant de me pencher sur quatre lignes directrices particulièrement pertinentes en l’espèce.

[49]  L’interprétation juridique n’est pas une pratique obscure régie par des règles ésotériques. Comme le disait si bien Lord Hoffmann, ce n’est pas très différent [traduction] « des principes de bon sens qui régissent l’interprétation de déclarations sérieuses dans la vie quotidienne » : Investors Compensation Scheme v West Bromwich Building Society, [1997] UKHL 28, [1998] 1 All ER 98. Ces principes de bon sens sont souvent regroupés sous les chapitres des méthodes littérale, contextuelle et téléologique : Pierre-André Côté, en collaboration avec Stéphane Beaulac et Mathieu Devinat, Interprétation des lois, 4e éd. (Montréal : Thémis, 2009), bien que d’autres regroupements soient tout aussi valables : Ruth Sullivan, Statutory Interpretation, 3e éd. (Toronto : Irwin Law, 2016) [Sullivan, Statutory Interpretation].

[50]  Les débats sur l’application de certaines règles techniques occultent parfois l’utilité des outils de base d’interprétation juridique aux fins de l’interprétation des revendications : voir, par exemple, Donald H. MacOdrum, Fox on the Canadian Law of Patents, 5e éd. (Toronto : Thomson Reuters, feuilles mobiles), section 8.3 [MacOdrum, Fox on Patents]. Néanmoins, lorsque la Cour suprême du Canada a examiné les principes d’interprétation des revendications il y a vingt ans, elle a exigé la prise en considération de facteurs – textuels, contextuels et téléologiques – caractéristiques de la méthode moderne, bien qu’elle ait qualifié de méthode « téléologique » le processus qui en découle : Whirlpool, en particulier à l’alinéa 49e); Free World Trust c Électro Santé Inc., 2000 CSC 66, [2000] 2 RCS 1024 [Free World Trust].

[51]  Au-delà des caractéristiques propres à tous les textes juridiques, certaines caractéristiques distinctives des brevets sont pertinentes pour l’exercice d’interprétation. D’abord, les brevets ont été définis comme un « marché » aux termes duquel l’inventeur rend une invention publique en contrepartie d’un monopole pour une période restreinte : Free World Trust, au paragraphe 13; Apotex Inc. c Wellcome Foundation Ltd., 2002 CSC 77, au paragraphe 37, [2002] 4 RCS 153 [Wellcome Foundation]; AstraZeneca Canada Inc. c Apotex Inc., 2017 CSC 36, au paragraphe 39, [2017] 1 RCS 943 [AstraZeneca]. Le processus d’interprétation ne doit pas déséquilibrer ce marché ou cette entente; l’interprétation devrait être « équitable à la fois pour le titulaire du brevet et pour le public » : Consolboard Inc. c MacMillan Bloedel (Sask.) Ltd., [1981] 1 RCS 504, à la page 520 [Consolboard]. Ensuite, l’article 27 de la Loi sur les brevets ainsi que les Règles sur les brevets, DORS/2019-251, établissent plusieurs exigences que les inventeurs doivent respecter lorsqu’ils rédigent leurs demandes de brevet. Des conventions sont aussi apparues à cet égard : MacOdrum, Fox on Patents, aux sections 8.8 et 8.9. L’interprète doit prendre en compte ces règles et conventions.

[52]  Ces caractéristiques des brevets se combinent pour donner à l’exercice d’interprétation un aspect particulier : la recherche des éléments essentiels d’une revendication. Dans Free World Trust, au paragraphe 55, la Cour suprême du Canada a confirmé que les tribunaux doivent s’efforcer de déterminer les éléments d’une revendication qui ne peuvent pas être substitués sans cela ne modifie le fonctionnement de l’invention.

[53]  Quatre questions particulières d’interprétation doivent être examinées en l’espèce : le recours à la divulgation et aux dessins, le recours à la preuve extrinsèque, le principe de différenciation des revendications et le principe selon lequel les revendications ne sont pas limitées par les réalisations divulguées. J’examinerai chacun de ces principes avant de les appliquer aux faits de l’espèce.

a)  Le recours à la divulgation et aux dessins

[54]  Bauer affirme que pour interpréter une revendication, il ne faut pas avoir recours à la divulgation et aux dessins si le libellé de la revendication est clair. Elle cite plusieurs précédents qui appuient cette affirmation, y compris l’arrêt Dableh c Ontario Hydro, [1996] 3 CF 751 (CA), au paragraphe 30, et l’arrêt Monsanto Canada Inc. c Schmeiser, 2002 CAF 309, au paragraphe 37, [2003] 2 CF 165, auxquels on pourrait ajouter l’arrêt Mylan, au paragraphe 39. Lors du procès, l’avocat de Bauer a aussi contre-interrogé les témoins experts de CCM au sujet de l’ordre dans lequel ils ont examiné les différentes parties du brevet pour tirer leurs conclusions concernant l’interprétation des revendications. Bauer affirme que leurs témoignages devraient être rejetés, parce qu’ils n’ont pas tenu compte des différentes parties du brevet dans le bon ordre. J’écarte ces arguments, car ils sont incompatibles avec la méthode moderne d’interprétation.

[55]  La méthode moderne vise à aider l’interprète à trouver des indices concernant le sens d’un texte juridique. Il n’existe pas de hiérarchie de ces indices ni d’ordre prédéterminé dans lequel ils doivent être examinés. Plus précisément, la méthode moderne rejette ce qui est connu comme la « règle du texte clair » ou l’idée que si une catégorie d’indices – le texte – apporte une réponse « claire », les autres catégories doivent être écartées. La Cour suprême du Canada a rejeté la règle du texte clair dans des affaires d’interprétation des lois (Chieu c Canada (Ministre de la Citoyenneté et de l’Immigration), 2002 CSC 3, au paragraphe 34, [2002] 1 RCS 84; Montréal (Ville) c 2952-1366 Québec Inc., 2005 CSC 62, aux paragraphes 9 et 10, [2005] 3 RCS 141; Sullivan, Statutory Interpretation, aux pages 70 à 72) et d’interprétation des contrats (Sattva Capital Corp. c Creston Moly Corp., 2014 CSC 53, au paragraphe 47, [2014] 2 RCS 633 [Sattva]; Canada (Procureur général) c Fontaine 2017 CSC 47, au paragraphe 37, [2017] 2 RCS 205).

[56]  D’ailleurs, la « règle du texte clair » ne figure pas dans les décisions de la Cour suprême du Canada portant sur l’interprétation de brevets. Comme l’a plutôt dit le juge Dickson, « [i]l faut considérer l’ensemble de la divulgation et des revendications pour déterminer la nature de l’invention » : Consolboard, à la page 520. Dans Whirlpool, aux paragraphes 49e) et f), le juge Binnie explique que les mots doivent être interprétés dans leur contexte et selon leur objet. Il compare l’interprétation des revendications à l’interprétation des lois et conclut que le « libellé des revendications » doit être « interprété dans le contexte de l’ensemble du mémoire descriptif ».

[57]  La plupart des décisions récentes de la Cour d’appel fédérale adoptent cette méthode. Dans l’arrêt Tetra Tech EBA Inc. c Georgetown Rail Equipment Company, 2019 CAF 203, au paragraphe 86 [Tetra Tech], elle décrit le processus d’interprétation des revendications sans aucune référence à la « règle du texte clair ».

Une Cour peut examiner l’ensemble du mémoire descriptif pour comprendre ce que signifie un mot ou un terme utilisé dans une revendication ou confirmer une interprétation établie en tenant compte du libellé des revendications. Toutefois, on ne peut utiliser des parties du mémoire descriptif pour élargir ou restreindre la portée de la revendication telle qu’elle est écrite [...].

[58]  De même, dans l’arrêt Tearlab Corporation c I-MED Pharma Inc., 2019 CAF 179, au paragraphe 33 [Tearlab], la Cour a noté que « [l]’interprétation des revendications appelle l’examen de l’ensemble de la divulgation et des revendications ».

[59]  Néanmoins, dans l’arrêt Tetra Tech, la Cour d’appel fédérale a mis en garde contre une interprétation qui viserait à élargir ou restreindre la portée de la revendication. Cette mise en garde est fréquemment réitérée dans la jurisprudence. Prise dans un sens trop littéral, elle n’est pas logique. Comment peut-on déterminer si le processus d’interprétation a pour effet d’élargir ou de réduire la portée des revendications, si cette portée doit être établie par interprétation en premier lieu? De manière plus réaliste, l’interdiction relative à l’élargissement ou à la réduction nous rappelle que le processus d’interprétation doit demeurer fidèle au libellé des revendications. En d’autres mots, l’interprétation choisie doit être une interprétation « que permet raisonnablement le libellé » : McLean c Colombie-Britannique (Securities Commission), 2013 CSC 67, au paragraphe 40, [2013] 3 RCS 895.

b)  L’utilisation de la preuve extrinsèque

[60]  En théorie, selon la méthode d’interprétation moderne, tout renseignement pertinent à l’exercice d’interprétation devrait être pris en compte. Néanmoins, il serait injuste d’interpréter un texte juridique en fonction de renseignements dont ses destinataires ne disposent pas. Pour cette raison, des règles d’exclusion restreignent la portée de la preuve pouvant être utilisée pour faciliter l’interprétation. Dans l’interprétation d’un contrat, par exemple, seuls les renseignements qui étaient connus des parties au moment de la signature du contrat peuvent être invoqués : Sattva, au paragraphe 58.

[61]  Les brevets sont des documents publics. Leur signification ne devrait pas être tributaire de renseignements qui ne sont pas accessibles au public. Cela explique, du moins en partie, l’interdiction générale quant à l’utilisation d’éléments de preuve extrinsèques pour interpréter les revendications d’un brevet : Free World Trust, au paragraphe 61; Whirlpool, au paragraphe 49(f). La preuve extrinsèque interdite peut comprendre d’autres brevets, les demandes de brevets et le témoignage des inventeurs : Bombardier Produits Récréatifs Inc. c Arctic Cat, Inc., 2018 CAF 172, au paragraphe 51 [Bombardier].

[62]  Or, ce ne sont pas toutes les formes de preuve extrinsèque qui sont interdites. Le destinataire fictif d’un brevet est la personne versée dans l’art. La preuve relative aux connaissances dont dispose une personne versée dans l’art ou à l’interprétation qu’une personne versée dans l’art aurait faite des revendications est admissible. Malgré les difficultés mentionnées au paragraphe  [27] ci-dessus, les experts sont régulièrement appelés à témoigner à ce sujet, bien que leur témoignage ne lie pas la Cour : Whirlpool, aux paragraphes 61 et 62; Eurocopter, au paragraphe 74; Tetra Tech, au paragraphe 89. Notre Cour peut également s’appuyer sur le témoignage d’autres témoins susceptibles de tenir lieu de personne versée dans l’art au moment pertinent : Bombardier, au paragraphe 35.

[63]  Un type de preuve extrinsèque ayant suscité un débat passionné est l’historique de l’examen de la demande de brevet, également connu aux États-Unis sous le nom de « file wrapper ». Lorsque le Bureau des brevets examine une demande de brevet, il est possible qu’il détermine que certaines revendications sont invalides. Pour écarter ces objections, le demandeur peut reformuler les revendications ou présenter des observations au sujet de leur portée véritable. Les tribunaux américains ont admis de telles communications en preuve afin d’empêcher les titulaires de brevets de prendre des positions contradictoires devant le bureau des brevets et dans le cadre d’instances ultérieures. Au Canada, la Cour suprême a conclu que l’historique de l’examen était irrecevable : Free World Trust, au paragraphe 66. Cependant, en 2018, le législateur a modifié la règle en adoptant l’article 53.1 de la Loi sur les brevets. En effet, l’historique de l’examen est accessible au public et son utilisation n’est pas injuste envers ce dernier. Aux termes de la nouvelle disposition législative, une communication entre un titulaire du brevet et le Bureau des brevets « peut être admise en preuve pour réfuter une déclaration faite, dans le cadre de l’action ou de la procédure, par le titulaire du brevet relativement à l’interprétation des revendications se rapportant au brevet ».

[64]  La jurisprudence concernant l’article 53.1 est encore mince. Comme toute autre disposition législative, cet article « s’interprète de la manière la plus équitable et la plus large qui soit compatible avec la réalisation de son objet » : Loi d’interprétation, LRC (1985), c I-21. Le problème que l’article 53.1 visait à résoudre est qu’auparavant, l’on permettait au titulaire du brevet de « soutenir une interprétation de revendication qui tente de reprendre le terrain qui a été cédé au cours de la poursuite de demande de brevet pour éviter l’antériorité » : Pollard Banknote Limited c BABN Technologies Corp., 2016 CF 883, au paragraphe 238; voir également l’ouvrage de David Vaver intitulé Intellectual Property Law: Copyright, Patents, Trade-Marks, 2e éd. (Toronto : Irwin Law, 2011), aux pages 348 à 350. Ainsi, « [d]epuis l’adoption de l’article 53.1, l’interprétation téléologique oblige à examiner non seulement les revendications et la divulgation, mais aussi le fond qui sous-tend les modifications intentionnelles qui ont été apportées aux revendications incluses dans les brevets canadiens » : Canmar Foods Ltd. c TA Foods Ltd., 2019 CF 1233, au paragraphe 71.

[65]  Bien que le recours à l’historique de l’examen soit décrit en termes de préclusion aux États-Unis, l’article 53.1 en fait clairement une question d’interprétation des revendications. Lorsqu’une question d’interprétation des revendications est soulevée, le titulaire de brevet fait toujours des déclarations à notre Cour quant à l’interprétation pertinente des revendications, et le défendeur tente toujours de réfuter ces déclarations. Par conséquent, je suis d’avis que l’article 53.1 s’applique dès lors qu’il s’agit d’une question d’interprétation des revendications, rendant ainsi l’historique de l’examen recevable. En d’autres mots, il n’est pas nécessaire d’isoler une déclaration et une réfutation en particulier chaque fois que l’on renvoie à l’historique de l’examen. Cela fait simplement partie intégrante du processus d’interprétation.

c)  La distinction des revendications

[66]  Un principe d’interprétation particulièrement pertinent en l’espèce est le principe de distinction des revendications, que la Cour d’appel fédérale a décrit de la façon suivante dans l’arrêt Tetra Tech, au paragraphe 113 :

[...] [L]e principe de la distinction des revendications suppose que les revendications des brevets sont rédigées de façon à ne pas être redondantes. Ainsi, les différentes revendications ont différentes portées. Les revendications indépendantes ont une portée plus large que les revendications dépendantes; il n’y a pas lieu de réduire la portée d’une revendication indépendante en raison d’une revendication dépendante.

[67]  Ce principe est simplement une application de la méthode d’interprétation contextuelle. Lorsqu’il est question du contexte, plus particulièrement du contexte immédiat ou interne, nous supposons que chaque élément d’un document juridique joue un rôle précis et qu’aucun élément n’est redondant : Sullivan, Statutory Interpretation, aux pages 136 à 138. Ce principe est illustré par l’article 1428 du Code civil du Québec, qui prévoit qu’« [u]ne clause s’entend dans le sens qui lui confère quelque effet plutôt que dans celui qui n’en produit aucun ».

[68]  Les articles 60 à 63 des Règles sur les brevets permettent aux demandeurs de décrire les inventions au moyen de revendications multiples. Une revendication est « dépendante » si elle comprend, par renvoi, toutes les caractéristiques ou « restrictions » d’une autre revendication, de même que des caractéristiques additionnelles. Le principe de distinction des revendications veut tout simplement dire que la caractéristique additionnelle qui distingue une revendication dépendante ne devrait pas être implicite dans la revendication indépendante, puisque la revendication dépendante deviendrait alors redondante.

[69]  Bien sûr, l’application de ce principe suppose un degré élevé d’uniformité dans la rédaction du document juridique à l’étude. Même en ce qui concerne les textes de loi, qui sont généralement rédigés très soigneusement, la présomption à l’égard de la redondance peut être réfutée si d’autres indices pointent dans la direction opposée : Schreiber c Canada (Procureur général), 2002 CSC 62, aux paragraphes 74 et 75, [2002] 3 RCS 269. En matière contractuelle, la présomption a peu de poids lorsque le contrat a été rédigé à la hâte, sans l’aide de professionnels du droit : Bélisle c Marcotte, [1957] BR 46, à la page 49. Dans sa plaidoirie finale, l’avocat de Bauer a laissé entendre que les agents de brevets disposent généralement d’un budget très limité pour la préparation d’une demande de brevet. Ils ne posséderaient donc pas le niveau de compréhension de l’art antérieur que l’on acquiert dans le cadre d’un litige. C’est ce qui expliquerait que les brevets comportent souvent une série de revendications dépendantes, le but étant de garantir la plus grande protection possible tout en évitant l’invalidité. Par conséquent, on ne doit pas se surprendre que le principe de distinction des revendications soit, lui aussi, considéré comme une « présomption réfutable » : Halford c Seed Hawk Inc., 2004 CF 88, au paragraphe 94. Il « ne suffit pas [...] à écarter une interprétation téléologique » : Bridgeview Manufacturing Inc. c 931409 Alberta Ltd. (Central Alberta Hay Centre), 2010 CAF 188, au paragraphe 33.

[70]  En réalité, si la distinction des revendications était une règle absolue plutôt qu’une présomption réfutable, des titulaires de brevets peu scrupuleux pourraient être tentés d’inclure dans leurs demandes une revendication dépendante qui couvrirait, en tant que caractéristique additionnelle, quelque chose qui ne serait rien d’autre qu’un synonyme d’une caractéristique de la revendication indépendante. Si ce stratagème devait passer inaperçu et que le brevet devait être accordé, le titulaire de brevet pourrait alors se fonder sur le principe de distinction des revendications pour alléguer que la revendication indépendante doit couvrir plus que ce qui avait été envisagé au moment de la demande de brevet, généralement pour englober ex post facto les produits de ses concurrents. Les tribunaux ne se laissent pas coincer ainsi. Voilà l’une des raisons pour lesquelles les principes d’interprétation demeurent flexibles.

d)  Les réalisations privilégiées et les éléments essentiels

[71]  Aux termes de l’alinéa 27(3)c) de la Loi sur les brevets et de l’alinéa 56(1)f) des Règles sur les brevets, l’inventeur doit présenter « une explication d’au moins une manière envisagée par l’inventeur de réaliser l’invention ». C’est ce que l’on appelle une « réalisation privilégiée » ou une « variante préférée ». Pourtant, l’un des principes de base de l’interprétation des revendications est que « la description des variantes préférées n’a pas à inclure toutes les variantes possibles de l’invention revendiquée » : Bombardier, au paragraphe 54; ABB Technology AG c Hyundai Heavy Industries Co., Ltd., 2015 CAF 181, au paragraphe 57. Il en va de même pour les figures qui peuvent accompagner la description de l’invention.

[72]  Cela se rapporte au fait que certains éléments seront considérés comme étant essentiels et d’autres, non : Free World Trust. Ainsi, lorsque l’inventeur décrit la réalisation privilégiée ou illustre l’invention dans une figure, il ne faut pas pour autant supposer que tous les éléments qui y sont décrits ou illustrés sont essentiels. Il peut y avoir d’autres façons de réaliser l’invention. Cependant, le mot clé ici est « peut ». Le principe voulant que l’invention ne se résume pas à la réalisation privilégiée ne permet pas d’élargir, ex post facto, la portée des revendications.

2)  Les expressions controversées

[73]  Les parties ne s’entendent pas sur l’interprétation à donner à plusieurs mots ou expressions dans les revendications 1 et 5. Compte tenu de la position que j’adopte à l’égard de l’affaire, je me contenterai de discuter de la signification de deux d’entre eux : « botte de patin montée », et, surtout, « partie de recouvrement ». C’est là « où le soulier fait mal », si je puis traduire ainsi l’expression consacrée : Shire, au paragraphe 22. Les parties reconnaissent que ces deux expressions décrivent des éléments essentiels de la revendication 1, et je suis d’accord avec elles à cet égard. Je me pencherai sur chacune de ces expressions à tour de rôle.

a)  « botte de patin montée »

[74]  Le brevet de Bauer se rapporte à une botte de patin montée, et non à d’autres types de botte de patin. Par conséquent, une botte de patin non montée ne peut pas antérioriser le brevet de Bauer, ni le contrefaire. À cet égard, Bauer affirme que, pour qu’une botte de patin puisse être décrite comme étant « montée », sa forme doit être obtenue au moyen du processus de montage, et uniquement par le biais de ce processus. Bauer ajoute que, si le quartier d’une botte de patin est fabriqué à partir de matières plastiques injectées, sa forme est obtenue au moyen du processus de moulage, et non du processus de montage. Il s’ensuivrait qu’une botte de patin avec un quartier moulé par injection ne pourrait jamais être montée.

[75]  Je rejette l’interprétation que Bauer donne au terme « montée ». Elle ne cadre pas avec le sens usuel de ce terme dans l’industrie. L’exclusion des quartiers moulés par injection est incompatible avec le brevet, qui ne comporte aucune restriction de cette nature. L’exigence selon laquelle la forme de la botte doit être obtenue exclusivement, ou même principalement, par le biais du processus de montage est arbitraire et difficile à appliquer. La meilleure interprétation est simplement qu’une botte de patin montée est une botte fabriquée à l’aide du processus de montage.

[76]  À une certaine époque, toutes les bottes de patin étaient montées. Il n’était pas nécessaire de définir le terme. L’introduction des bottes de patin moulées par injection au cours des années 1970 a marqué un tournant important dans le domaine. Le principal composant de ces bottes de patin, notamment les bottes Lange ou Micron Medallic, était une coquille qui constituait la majeure partie de la structure de la botte et qui était fabriquée en injectant de la matière plastique dans une cavité créée par la juxtaposition des deux parties d’un moule. Par conséquent, des composants traditionnellement distincts – semelle extérieure, semelle intérieure, embout et quartiers – ont été remplacés par un seul composant. Le processus de montage, qui servait à assembler ces composants distincts et à leur donner une forme tridimensionnelle, n’était plus nécessaire.

[77]  Les deux parties conviennent que la référence aux « bottes de patin montées » visait à exclure les bottes moulées. Il s’agit donc de tracer la frontière entre ces deux catégories, selon la compréhension qu’une personne versée dans l’art aurait eue de celles-ci en 1999, lorsque la demande de brevet a été rendue publique.

[78]  Le problème réside dans le fait qu’il peut y avoir une gamme infinie de variations au chapitre des processus de fabrication. Ces processus sont conçus en vue d’optimiser le rendement et la rentabilité, et non pas de respecter une quelconque définition établie à l’avance. Une personne versée dans l’art au moment pertinent comprendrait ce fait. De plus, cette personne saurait que des composants moulés par injection tels que des renforts ou des embouts étaient utilisés, à cette époque, dans les bottes de patin montées. Par conséquent, la présence de composants moulés par injection n’empêche pas une botte de patin d’être montée.

[79]  Une personne versée dans l’art qui tente de comprendre le brevet de Bauer remarquerait également un certain nombre d’éléments qui influent sur la signification du terme « montée ». Premièrement, le brevet ne précise pas les matériaux qui doivent être utilisés pour fabriquer le quartier. Bien au contraire, la description indique que [traduction] « [l]e quartier peut être fabriqué à l’aide de différents matériaux ». Une personne versée dans l’art rejetterait donc toute tentative arbitraire d’exclure certains matériaux, tels que les matières plastiques injectées. Deuxièmement, le brevet ne restreint pas le processus de fabrication du quartier. La référence au [traduction] « découpage à l’emporte-pièce » dans la divulgation est seulement une option privilégiée. Les revendications ne comprennent aucune restriction à cet égard. Troisièmement, puisque le terme « montée » est utilisé en tant qu’adjectif qui se rapporte à la botte, une personne versée dans l’art aurait compris que « montée » décrit une botte qui a été fabriquée dans le cadre d’un processus de fabrication donné; le terme ne désigne pas simplement un résultat final.

[80]  Dans ce contexte, une personne versée dans l’art aurait compris que le terme « montée » comprend tout procédé permettant de fixer l’empeigne de la botte à la semelle intérieure à l’aide d’une forme. Compte tenu de l’emploi peu rigoureux de la terminologie au sein de l’industrie, une personne versée dans l’art ayant un « esprit désireux de comprendre » (Free World Trust, au paragraphe 44) ne chercherait pas à exclure une botte de cette définition en raison d’une modeste variation au chapitre du processus de fabrication. En effet, la divulgation du brevet de Bauer décrit sommairement le processus de montage : [traduction] « Pour compléter le patin, le quartier est formé pour ensuite être cousu sur l’empeigne de la botte. La semelle est ensuite collée sur l’empeigne. » Cela laisse entendre les étapes précises ne constituent pas des éléments essentiels, à condition que la séquence générale soit respectée.

[81]  Étant donné que le concept d’une botte montée est essentiellement considéré comme étant l’opposé d’une botte moulée, une botte ne correspondrait pas à cette définition uniquement si sa semelle et son empeigne étaient fabriquées en tant que composant unique, éliminant la nécessité de les fixer ensemble. En effet, M. Beaudoin a admis que les bottes considérées comme étant moulées, telles que les bottes Lange ou Micron Medallic, ont leur forme définitive au démoulage, et leur semelle n’est pas une pièce distincte (le 13 février 2020, aux pages 140 à 142). M. Nadeau a également décrit le concept d’une botte moulée dans ces termes (le 11 février 2020, aux pages 71 et 72). Une personne versée dans l’art n’exclurait pas une botte de la définition de « botte de patin montée » en raison du processus ou des matériaux utilisés pour fabriquer le quartier.

[82]  Pour parvenir à cette conclusion, je rejette la tentative de Bauer de limiter la signification de « botte de patin montée » en se fondant sur certaines caractéristiques précises du processus de fabrication ou de certaines caractéristiques du produit final.

[83]  Ainsi, M. Beaudoin, au paragraphe 107 de son premier rapport, a cherché à imposer une condition supplémentaire selon laquelle [traduction] « la forme de la botte de patin doit être obtenue par le biais du montage ». Sa thèse, si je la comprends bien, est qu’une botte de patin ne peut pas être considérée comme étant montée à moins que toute sa forme tridimensionnelle ou, du moins, la majeure partie de celle-ci, soit obtenue lors de l’étape du processus où l’empeigne est tirée sur la forme pour ensuite être fixée sur la semelle intérieure. Je ne suis pas de cet avis. Cette thèse est fondée sur une décomposition irréaliste du processus de fabrication. Même en 1997 ou en 1999, plusieurs étapes du processus de fabrication contribuaient à l’obtention de la forme tridimensionnelle de la botte (témoignage de M. Beaudoin, le 13 février 2020, à la page 278). Plus précisément, l’usage d’une machine appelée « back-part moulder » afin de former au préalable certains composants était déjà connu (rapport principal de M. Beaudoin, au paragraphe 58). Lorsque des quartiers deux-pièces étaient utilisés, au moins une partie de la forme tridimensionnelle était obtenue en cousant les deux pièces le long d’une ligne courbée. Il en serait également ainsi dans le cas d’un quartier une-pièce avec des parties de recouvrement cousues ensemble. La thèse de M. Beaudoin établit une distinction basée sur la contribution des diverses étapes du processus de fabrication à la forme définitive de la botte de patin. Si nous suivions le raisonnement de M. Beaudoin, une évaluation subjective de cette contribution serait nécessaire pour conclure qu’une botte est effectivement montée. Il serait totalement irréaliste de procéder de cette façon, et je ne vois absolument aucune raison qui me permettrait de conclure qu’une personne versée dans l’art aurait adopté une définition aussi ambiguë.

[84]  De la même manière, le fait que les quartiers moulés par injection ne conféreraient pas certains des avantages généralement associés aux bottes de patin montées, telles qu’une plus grande capacité de s’adapter à la forme du pied, n’a aucune pertinence. Encore une fois, le terme « montée » renvoie au processus de fabrication de la botte de patin, et non aux matériaux employés ou aux avantages qu’ils pourraient procurer.

[85]  D’ailleurs, M. Beaudoin a donné des explications contradictoires à cet égard dans son premier et son deuxième rapport. Dans son premier rapport, au paragraphe 63, il a mentionné que [traduction] « les quartiers de certaines bottes de patin montées ont été fabriqués à partir de matériaux thermoformables ». Il explique que ces quartiers sont préchauffés et pressés dans une forme prédéfinie, pour ensuite [traduction] « être assujettis à un processus de montage en vue d’être formés et peaufinés davantage ». Or, aux paragraphes 145 et 147 de son deuxième rapport, il semble affirmer qu’une botte de patin n’est pas considérée comme étant montée si la forme du quartier a été obtenue avant le processus de montage, par exemple si le quartier a été moulé par injection. Ces propos sont difficiles à concilier.

[86]  En fin de compte, rien ne semble justifier la position de M. Beaudoin, outre le désir d’écarter certains éléments de l’art antérieur de l’analyse de l’antériorité. Sa thèse n’est appuyée par aucune preuve du fait qu’une personne versée dans l’art aurait été du même avis à l’époque pertinente. C’est exactement le type de raisonnement « axé sur des résultats » interdit par l’arrêt Whirlpool, à l’alinéa 49a).

b)  « partie de recouvrement »

[87]  Il n’est pas contesté que la revendication 1 porte sur un quartier une-pièce, comme le montrent clairement la description et les figures. La principale question litigieuse concerne le sens de l’expression « partie de recouvrement » (« foxing portion »). Bauer prétend qu’elle décrit tout type d’incision, d’encoche ou de suppression de matériau empêchant la formation de bosses lorsque la marge de montage est pliée et fixée sous la semelle intérieure. CCM, en revanche, invoque un sens plus précis : la partie de recouvrement est intégrée au quartier et sa géométrie permet la formation d’une « poche de talon ». Je souscris à l’interprétation de CCM, puisque c’est la seule qui a trait à un objet établi dans la description : la création d’une forme arrondie au talon.

[88]  Comme je l’ai mentionné ci-dessus, l’interprétation d’un écrit juridique comprend l’examen de son texte, de son contexte et de son objet. Je vais essayer de déterminer le sens de l’expression « partie de recouvrement » utilisée dans le brevet de Bauer, en puisant à ces trois catégories d’indices.

[89]  Comme c’est souvent le cas, les mots employés par l’auteur donnent des indications utiles, mais ne règlent pas entièrement la question. Dans le dictionnaire anglais Shorter Oxford English Dictionary (5e éd., 2002) plusieurs sens sont donnés au terme anglais « foxing » (que l’on peut traduire par « recouvrement »), y compris [traduction] « une bande de cuir ou d’un autre matériau, utilisé pour orner l’empeigne d’une botte ou d’une chaussure ». Plus précisément, « recouvrement » semble faire référence à un appliqué couvrant le talon de la chaussure ou de la botte. À cet égard, l’affirmation de M. Beaudoin, selon laquelle [traduction] « [d]ans le vocabulaire général de la chaussure, recouvrement (foxing) peut, dans certains cas, correspondre à un appliqué dans la zone du talon » (au paragraphe 124 de son rapport principal), est corroborée par des témoins qui ont travaillé chez Bauer à l’époque pertinente (M. Chênevert, le 5 février 2020, aux pages 136, 163 et 205; M. Covo, le 10 février 2020, à la page 65). M. Harvey-Néron, qui a successivement travaillé chez Bauer, puis chez CCM, a mentionné que le terme « talonnette » était utilisé chez CCM pour décrire ce qui est connu comme étant le recouvrement chez Bauer (le 24 février 2020, partie confidentielle, à la page 83).

[90]  Bien que l’expression recouvrement (foxing) possède un sens généralement accepté, aucun témoin ordinaire ni aucun témoin expert n’a indiqué qu’il existait une définition ou un sens admis dans l’industrie concernant l’expression « partie de recouvrement » à l’époque pertinente. Il s’avère que l’inventeur a utilisé l’expression pour décrire une partie du quartier plutôt qu’un appliqué. Le choix de l’expression « recouvrement » pour décrire cette partie indique, tout au plus, qu’elle est située dans la partie inférieure arrière du quartier, où elle couvre le talon de l’utilisateur. En effet, selon la revendication 1, la partie de recouvrement [traduction« se prolonge vers le bas » depuis le quartier. Toutefois, savoir où se trouve la partie de recouvrement ne nous renseigne pas sur sa nature ou sa fonction. Il faut se tourner vers d’autres sources.

[91]  Le contexte est une autre source d’indices interprétatifs. Entre autres choses, le lecteur cherche à discerner la logique interne des textes juridiques à interpréter. Dans un brevet, le contexte comprend la description de l’invention et les figures. La prise en considération du contexte peut aider à comprendre l’objet recherché par l’inventeur.

[92]  La figure 2 du brevet de Bauer, que j’ai une fois de plus reproduite par souci de commodité, montre que les deux parties de recouvrement portent les numéros 12 et 14.

[93]  En regardant cette figure, n’importe qui comprendrait immédiatement que la « fente » entre les parties de recouvrement permet la formation d’une forme arrondie au talon lorsque le quartier est plié. C’est ce que confirme l’extrait suivant de la description :

[traduction]
Les deux parties médiane et latérale de recouvrement 12 et 14 sont avantageusement jointes avec une ligne de couture. Cette ligne d’assemblage offre une forme arrondie avantageuse dans la zone du talon.

[94]  C’est l’objet des parties de recouvrement : offrir une forme arrondie dans la zone du talon du quartier. Aucun autre objet n’est mentionné ailleurs dans le brevet.

[95]  Bien sûr, ces parties de la description concernent une réalisation de l’invention. Elles ne limitent pas nécessairement l’invention. Néanmoins, il s’agit des seules indications concernant la nature et l’objet des parties de recouvrement, au-delà du libellé même des revendications. À cet égard, Bauer insiste sur la présence du mot [traduction] « avantageusement », qui est généralement utilisé dans les brevets pour décrire les réalisations ou des revendications dépendantes. Cependant, l’extrait précité figurait dans la demande initiale et n’a pas été mis à jour lorsque les revendications 1, 2 et 3 initiales ont été jointes pour former ce qui est maintenant la revendication 1 du brevet. Dans la demande initiale, les parties de recouvrement n’étaient pas mentionnées dans la revendication 1, mais uniquement dans la revendication 3, qui était une revendication dépendante. Cela explique pourquoi la forme arrondie de la zone du talon était décrite comme un simple avantage. Compte tenu de la jonction des revendications initiales, il s’agit maintenant d’une caractéristique essentielle de l’invention décrite dans la revendication 1.

[96]  Bauer soutient aussi qu’une personne versée dans l’art aurait compris que le talon est maintenu en place par un renfort et non par la forme des quartiers. La divulgation indique toutefois le contraire. Bien que le renfort puisse contribuer à maintenir le talon en place, l’inventeur voulait clairement que le quartier revendiqué épouse la forme du talon, grâce à l’utilisation de parties de recouvrement. Bauer ne peut pas maintenant prétendre que cette caractéristique n’est pas essentielle en soutenant qu’un autre composant pourrait remplir cette fonction.

[97]  Par conséquent, les mots utilisés, le contexte dans lequel ils sont utilisés et leur objet apparent indiquent tous que les parties de recouvrement sont les parties du quartier qui se trouvent dans la partie arrière inférieure et qui ont une forme permettant la formation d’une poche de talon arrondie, lorsque le quartier est plié pour prendre sa forme tridimensionnelle.

[98]  Cependant, M. Beaudoin propose une autre interprétation. Il définit la « partie de recouvrement » en fonction d’un problème particulier pouvant survenir, au paragraphe 127 de son rapport principal :

[traduction]
[...] [E]n l’absence d’une partie de recouvrement, le matériau dans la zone du talon du quartier s’entasserait probablement au moment de plier et de monter le quartier une-pièce. Des problèmes seraient ainsi créés dans la zone du talon, qui pourraient comprendre des bosses, des pliures, le plissage ou l’entortillement du matériau du quartier. La partie de recouvrement est conçue pour éliminer ces problèmes.

[99]  Ainsi, d’après M. Beaudoin, toute forme d’incision, d’encoche ou de suppression de matériau qui réduirait les problèmes qu’il a relevés constituerait une partie de recouvrement.

[100]  Les difficultés que présente cette autre interprétation sont multiples.

[101]  Premièrement, elle ne s’appuie pas sur le libellé des revendications ni sur la divulgation. « Des bosses, des pliures, le plissage ou l’entortillement » ne sont mentionnés nulle part comme étant le problème que l’inventeur cherche à résoudre. M. Beaudoin essaie d’imputer à l’invention un objet qui n’est mentionné nulle part dans le brevet, plutôt qu’un objet qui y est explicitement mentionné. Bien qu’un expert puisse fournir une opinion quant à ce qu’une personne versée dans l’art aurait compris, une telle opinion doit avoir un fondement objectif. Un expert ne peut pas choisir un problème, supposer que le brevet cherche à le résoudre et interpréter le brevet comme englobant toute solution au problème. En l’espèce, les problèmes allégués se produisent à chaque fois que le matériau du quartier est plié sous la semelle intérieure. De l’aveu de M. Beaudoin, la personne versée dans l’art connaissait bien les solutions. En l’absence de motifs convaincants en sens contraire, un brevet ne devrait pas être interprété comme englobant des solutions connues à des problèmes connus. En l’espèce, il n’existe tout simplement aucune preuve que le brevet de Bauer vise à résoudre le problème de « bosses, de pliures, de plissage ou d’entortillement », que la personne versée dans l’art aurait interprété le brevet de cette manière, ni que le problème engendrait des difficultés dans l’industrie. En vérité, M. Beaudoin ne justifie aucunement sa simple affirmation concernant les « problèmes » que l’inventeur cherchait à résoudre.

[102]  Deuxièmement, l’interprétation mise de l’avant par M. Beaudoin confond la partie de recouvrement avec la réserve ou la marge de montage, qui correspond à la partie de l’empeigne qui est pliée sous la semelle intérieure et fixée à celle-ci lors du processus de montage (voir le deuxième rapport de M. Beaudoin, au paragraphe 66). Ces deux concepts sont distincts. En réalité, comme tous les quartiers des bottes de patin montées ont une marge de montage, assimiler la marge de montage à la partie de recouvrement minerait le rôle de cette dernière comme limitation dans la revendication. En outre, les problèmes visés par la marge de montage et les parties de recouvrement sont distincts et nécessitent des solutions distinctes (M. Beaudoin, le 13 février 2020, à la page 176). Les incisions, les encoches et d’autres formes de suppression de matériau mentionnées par M. Beaudoin permettraient certainement d’empêcher la formation de bosses, de pliures, de plissage et d’entortillement, mais ne contribueraient pas à la création d’une poche de talon. À cet égard, M. Chênevert a reconnu, lors du contre-interrogatoire, qu’une incision qui ne dépasse pas la marge de montage et qui ne s’étend pas vers le haut ne créerait pas de poche de talon (le 5 février 2020, aux pages 205 à 207).

[103]  Troisièmement, selon l’interprétation de M. Beaudoin, la partie de recouvrement n’est pas une partie du quartier, contrairement au libellé de la revendication 1. Au paragraphe 129 de son rapport, il mentionne que la partie de recouvrement pourrait être créée grâce à la [traduction] « suppression d’une quantité suffisante du matériau du quartier » ou à des [traduction] « incisions, encoches ou d’autres types d’ouvertures ». (Voir aussi les paragraphes 187, 190 et 194, où il décrit les divers types de parties de recouvrement comme découlant de la suppression de matériau.) La partie de recouvrement serait, pour ainsi dire, à l’extérieur du quartier. Au procès, M. Beaudoin a cherché à se dissocier de cette idée en affirmant que les parties de recouvrement n’étaient pas engendrées par la suppression de matériau, mais plutôt par la [traduction] « géométrie » du quartier. Cependant, cette affirmation était loin d’être convaincante, puisqu’il n’a pas pu se retenir de parler de la suppression de matériau avant d’affirmer qu’il s’agissait simplement d’une question de géométrie, parfois dans la même réponse (le 12 février 2020, aux pages 203 à 206; le 13 février 2020, aux pages 23, 171 à 173 et 175; le 17 février 2020, à la page 56).

[104]  J’en viens donc au quatrième problème associé à l’interprétation de M. Beaudoin. Il faut se rappeler que la demande de brevet de Bauer comprenait initialement deux revendications qui ne contenaient pas de partie de recouvrement. Le Bureau des brevets s’est opposé à ces revendications pour cause d’évidence, citant un brevet de quartier une-pièce pour une chaussure. En réponse, Bauer a joint les revendications 1 et 2 de sa demande à la revendication 3, qui était une revendication dépendante à propos des parties de recouvrement, donnant lieu à la revendication 1 du brevet 748. Cette série d’événements montre que le Bureau des brevets n’était pas prêt à délivrer un brevet pour un quartier une-pièce sans parties de recouvrement.

[105]  Rien dans la demande n’aurait pu permettre au Bureau des brevets d’anticiper l’interprétation maintenant invoquée par M. Beaudoin. Bauer n’a pas non plus donné de précisions au Bureau des brevets quant à ce qu’elle entendait par « partie de recouvrement ». L’interprétation de M. Beaudoin n’est rien d’autre qu’une tentative de reprendre le terrain cédé lorsque les revendications 1, 2 et 3 ont été jointes et que la partie de recouvrement est devenue un élément essentiel. Elle renverserait en effet la décision du Bureau des brevets en remplaçant les parties de recouvrement, qui ont été jugées essentielles à la brevetabilité de l’invention, par une série d’incisions, d’encoches et de suppression de matériau, qui de l’aveu de M. Beaudoin font partie des connaissances générales courantes.

[106]  De manière générale, il s’avère que M. Beaudoin cherche à élargir rétroactivement la portée des revendications au-delà de que l’inventeur a voulu, de ce qu’une personne versée dans l’art aurait compris à la lecture contextuelle des revendications ou de ce que le Bureau des brevets était prêt à accorder. Ce n’est équitable ni pour l’inventeur ni pour le public : Consolboard, à la page 520. La volonté d’étendre n’est pas synonyme d’un esprit désireux de comprendre : Free World Trust, au paragraphe 44.

[107]  Bauer affirme aussi que l’interprétation invoquée par les experts de CCM n’est qu’une simple réalisation de l’invention. Plus précisément, Bauer affirme que la figure 2, reproduite ci-dessus, est une illustration de la revendication 5. Puisqu’il ne s’agit que d’une réalisation de l’invention, elle ne devrait pas être invoquée pour limiter la portée de la revendication 1. L’interprétation de M. Beaudoin, plus large, ne souffrirait pas du même vice : ses incisions, encoches et autres formes de suppression de matériau constitueraient d’autres moyens de réaliser l’invention.

[108]  Cependant, il existe plus d’une façon de créer les parties de recouvrement, au sens que j’ai donné à cette expression. Un exemple consisterait à créer des fentes dans chaque partie de recouvrement plutôt qu’une seule fente entre les parties de recouvrement. L’objectif de former une poche de talon arrondie serait ainsi réalisé, mais à l’aide d’une forme de patron différente de celle illustrée dans la figure 2 du brevet. En effet, le patin 2k de Reebok, que MM. Beaudoin et Meibock considèrent comme une contrefaçon de la revendication 1 comme je l’interprète, comprend une fente dans chaque partie de recouvrement plutôt qu’une seule fente entre elles (voir le deuxième rapport de M. Meibock, aux paragraphes 226 à 230) :

[109]  Ainsi, l’interprétation que j’ai adoptée ne limite pas l’invention à la réalisation privilégiée décrite ou illustrée dans le brevet.

[110]  Bauer invoque également le principe de différenciation des revendications. Elle affirme que selon l’interprétation invoquée par les experts de CCM, il n’y aurait aucune différence notable entre les revendications 1 et 5. Les deux revendications décriraient les parties de recouvrement, telles qu’elles sont illustrées à la figure 2 du brevet.

[111]  Encore une fois, cependant, l’argument de Bauer présume qu’il n’y a qu’une seule façon de réaliser la revendication 1. C’est inexact. Comme je l’ai démontré ci-dessus, la revendication 1 pourrait aussi être réalisée en créant une fente dans chaque partie de recouvrement. Dans un tel cas, les [traduction] « parties médiane et latérale de recouvrement [ne] sont [pas] adaptées à une jonction mutuelle avec une ligne de couture », contrairement à ce qui est requis dans la revendication 5. Elles sont plutôt intégralement fixées ensemble et la forme de patron qui permet aux parties de recouvrement de créer une poche de talon arrondie se trouve dans chaque partie et non entre elles.

[112]  Quoi qu’il en soit, comme je l’ai mentionné ci-dessus, le principe de différenciation des revendications est une présomption réfutable. Plus précisément, la présomption est affaiblie lorsque le brevet ne semble pas avoir été rédigé avec beaucoup de soin. En l’espèce, l’avocat de Bauer a laissé entendre que l’agent de brevets pourrait n’avoir eu qu’un budget restreint pour rédiger et poursuivre une demande de brevet. En effet, le libellé des revendications n’est pas particulièrement bien choisi. Par exemple, dans la revendication 1, la référence à une [traduction] « ligne de jonction » entre les parties médiane et latérale du quartier pourrait faire croire au lecteur qu’il s’agit de deux éléments distincts. Les parties reconnaissent néanmoins que l’inventeur avait l’intention de décrire ce qu’on a appelé un « quartier une-pièce ». De même, si l’on examine les revendications d’origine, on constate que la revendication 7, qui est devenue la revendication 5, portait sur les parties de recouvrement [traduction] « dans toutes les revendications précédentes », bien que les parties de recouvrement ne fussent mentionnées que dans la revendication 3. Il est bien possible que l’agent de brevets n’ait pas consacré beaucoup de temps à examiner les diverses possibilités d’interaction entre les revendications, que ce soit lors de la rédaction initiale ou lorsque les revendications 1, 2 et 3 ont été regroupées en réponse aux objections du Bureau des brevets. Bauer ne peut donc pas invoquer la mauvaise rédaction de son brevet à son propre profit.

[113]  En résumé, toutes les méthodes mènent à la même interprétation : la partie de recouvrement se trouve au niveau de la partie arrière inférieure du quartier et sa forme permet de créer une poche de talon arrondie. Cette interprétation permet de différencier les revendications et ne les limite pas à la réalisation divulguée. L’interprétation différente avancée par M. Beaudoin va à l’encontre du libellé des revendications, tente d’imputer un objet qui n’est mentionné nulle part dans le brevet et ne peut pas être conciliée avec l’historique de l’examen de la demande de brevet.

III.  Les questions de validité

[114]  CCM soulève plusieurs motifs d’invalidité quant au brevet de Bauer. Je n’en examinerai que deux : l’antériorité et l’évidence.

A.  L’antériorité

[115]  Si l’interprétation que Bauer fait du brevet devait l’emporter, CCM soutient que la revendication 1 est antériorisée. Cependant, si c’est l’interprétation de CCM qui l’emporte, cette dernière reconnait que les revendications ne sont pas antériorisées puisque les quartiers une-pièce existants ne comprenaient pas de parties de recouvrement. Étant donné que je suis d’accord avec l’interprétation de CCM, il n’est pas absolument nécessaire d’aborder cette question. Néanmoins, il est utile que je donne mon avis sur la question puisque je conclus que si l’interprétation du brevet que fait Bauer était adoptée, elle serait antériorisée.

1)  Principes généraux

[116]  Pour être brevetable, une invention doit être nouvelle ou inédite. Un monopole législatif ne peut être justifié si une invention est déjà à la disposition du public : Wellcome Foundation, au paragraphe 37. Une invention, si elle n’est pas nouvelle, est antériorisée. Le fondement législatif de l’exigence relative à la nouveauté se trouve au paragraphe 28.2(1) de la Loi sur les brevets. Dans l’arrêt Sanofi, au paragraphe 24, la Cour suprême du Canada a imposé une analyse en deux étapes axée sur la divulgation et le caractère réalisable.

[117]  Premièrement, « suivant l’exigence de la divulgation antérieure, le brevet antérieur doit divulguer ce qui, une fois réalisé, contreferait nécessairement le brevet » : Sanofi, au paragraphe 25. Autrement dit, il faut que le brevet antérieur ou une autre forme d’art antérieur contienne tous les éléments essentiels de la revendication de brevet antériorisée.

[118]  Si l’invention a été divulguée préalablement, l’étape suivante de l’analyse vise à déterminer si l’art antérieur permettrait de recréer l’invention. À cette deuxième étape, la Cour doit déterminer si le brevet ou la publication antérieurs permettraient à la personne versée dans l’art de réaliser l’invention revendiquée par le brevet « sans trop de difficultés » : Sanofi, au paragraphe 33.

[119]  L’existence de « difficultés » est examinée en tenant compte de la nature de l’invention et en se demandant si les essais sont courants dans le domaine en cause. La personne versée dans l’art peut faire appel aux connaissances générales courantes à l’époque pertinente pour compléter les données du brevet antérieur : Sanofi, au paragraphe 37.

2)  Application

[120]  CCM a cité trois éléments d’art antérieur à l’appui de son argument d’antériorité. Il me suffit d’en examiner deux : le patin Champion 90 de CCM, qui a été commercialisé plusieurs années avant que Bauer dépose sa demande de brevet, ainsi que la demande de brevet canadien 2 112 272 [la demande 272]. Bien qu’aucune preuve précise n’ait été faite sur ce point, les parties ont laissé entendre que la demande 272 présente un composant du patin Champion 90.

[121]  Il ne fait aucun doute que l’analyse de l’antériorité peut reposer sur la demande 272 puisque celle-ci a été rendue publique le 24 juin 1995, avant la date de dépôt du brevet de Bauer. De même, le patin Champion 90 se trouve dans le catalogue 1995 de CCM, ce qui prouve qu’il a été vendu au public avant la date pertinente.

[122]  On peut citer l’art antérieur même si l’inventeur n’en avait pas connaissance : Wenzel Downhole Tools Ltd. c National-Oilwell Canada Ltd., 2012 CAF 333, aux paragraphes 66 à 70, [2014] 2 RCF 459 [Wenzel Downhole]. Par conséquent, le fait que M. Chênevert ou d’autres témoins de Bauer ont déclaré, dans leurs témoignages, qu’ils n’étaient pas au courant de l’existence du patin Champion 90 n’a aucune incidence sur l’analyse. L’incapacité de CCM de fournir une preuve précise quant à ses volumes de ventes n’est pas pertinente non plus.

a)  La divulgation

[123]  Selon l’interprétation du brevet 748 que fait Bauer, le patin Champion 90 et la demande 272 présentent tous deux les trois éléments qui sont essentiels à la revendication 1 d’après M. Beaudoin, l’expert de Bauer : une botte de patin montée, un quartier ainsi que des encoches ou des découpes dans la marge de montage. J’examinerai chacun de ces éléments à tour de rôle.

[124]  En ce qui concerne le premier élément essentiel, Bauer conteste le fait que le modèle Champion 90 est un patin monté et que le quartier décrit dans la demande 272 est destiné à un patin monté.

[125]  L’argument de Bauer, cependant, repose sur une interprétation du mot « monté » que j’ai rejetée. Essentiellement, M. Beaudoin affirme qu’un patin avec un quartier moulé par injection ne peut jamais être considéré comme un patin monté, quel que soit le processus de fabrication suivi. Cette affirmation ne saurait tenir. À mon avis, un patin est monté lorsque, pour l’essentiel, le processus que j’ai décrit plus haut dans les présents motifs est suivi pour le fabriquer. Une personne versée dans l’art ne s’arrêterait pas à une légère différence dans ce processus pour en conclure autrement.

[126]  Les éléments de preuve dont je dispose montrent que le patin Champion 90 était fabriqué en suivant un processus de montage. Les experts des deux parties ont démonté des patins Champion 90. J’ai également eu la possibilité, lors de leur témoignage, d’examiner moi-même les patins Champion 90 démontés. La façon dont les composants sont assemblés montre clairement qu’un processus de montage a été utilisé. Même M. Beaudoin a dû admettre que [traduction] « la partie inférieure du composant était vraisemblablement chauffée, puis recourbée vers l’intérieur après le moulage, afin de fixer le composant à une semelle intérieure » (rapport, au paragraphe 147). Il s’agit bel et bien d’une partie essentielle du processus de montage. Si la botte du patin Champion 90 avait été moulée, cette étape de fabrication n’aurait pas été nécessaire.

[127]  En outre, M. Stewart, un des témoins de CCM, s’est rendu à l’usine de Sakurai, à Taïwan, où était fabriqué le patin Champion 90. Il a indiqué, dans son témoignage, avoir observé la chaîne de fabrication et avoir pu constater clairement que toutes les étapes du processus de montage étaient suivies. Bien que sa visite ait eu lieu au début des années 2000, rien ne porte à croire qu’un processus différent était utilisé avant 1997. Le témoignage de M. Stewart à cet égard n’a pas été sérieusement remis en question au cours de son contre-interrogatoire.

[128]  En fait, absolument rien ne prouve que le patin Champion 90 a été fabriqué au moyen d’un autre processus que le montage. Il est évident que ce patin ne sort pas du moule en un seul morceau, contrairement aux patins moulés comme les modèles Lange ou Micron Medallic. M. Beaudoin affirme qu’il serait possible de prendre un patin Lange et de couper la semelle et l’embout du patin pour obtenir le quartier du Champion 90, mais cela n’est pas pertinent puisque cet exercice hypothétique ne nous renseigne pas sur le procédé de fabrication du patin Champion 90. M. Beaudoin a plutôt convenu, lors de son contre-interrogatoire, que les étapes de fabrication du patin Champion 90 seraient essentiellement celles du processus de montage, même s’il se refusait à l’appeler ainsi (le 17 février 2020, aux pages 97 à 101).

[129]  Bauer insiste beaucoup sur la remarque de la juge Gauthier qui, dans ses motifs dans l’affaire Easton, déclarait qu’elle n’était pas convaincue que le patin Champion 90 était un patin monté. J’explique, dans la dernière section du présent jugement, pourquoi cette remarque ne me semble pas déterminante dans l’affaire dont je suis saisi.

[130]  En ce qui concerne la demande 272, MM. Meibock et Holden ont conclu qu’une personne versée dans l’art aurait compris que le quartier décrit dans cette demande devrait être monté. L’objection de M. Beaudoin repose uniquement sur son point de vue selon lequel une botte de patin montée ne peut pas être dotée d’un quartier moulé par injection. Je suis d’accord avec MM. Meibock et Holden.

[131]  Le quartier est le deuxième élément essentiel que l’on doit retrouver dans l’art antérieur. La pièce moulée par injection qui est le principal composant structurel du patin Champion 90 serait facilement reconnaissable comme un quartier ou, plus précisément, comme un quartier une-pièce. En voici une illustration :

[132]  De même, l’objet de la demande 272 serait reconnu comme un quartier ou un quartier une-pièce, même si l’expression [traduction] « structure arrière de chaussure » est utilisée pour le décrire dans la demande. Encore une fois, on comprend mieux en regardant une des figures fournies dans la demande :

[133]  M. Beaudoin prétend que la personne versée dans l’art appellerait ce composant une coquille et non un quartier. Cependant, avec cette affirmation, il ne fait que répéter son opinion quant au fait qu’un patin n’est pas un patin monté s’il est doté d’un quartier moulé par injection. M. Beaudoin joue ici sur le fait que la terminologie n’est pas toujours employée de façon rigoureuse dans l’industrie du patin. Le mot « coquille » décrit adéquatement le composant principal d’une botte de patin moulée par injection, qui comprend la semelle, l’embout et les quartiers en un seul morceau. Une coquille, en ce sens, est bien différente du quartier du patin Champion 90 ou de celui qui est présenté dans la demande 272. Mis à part la simple affirmation de M. Beaudoin, rien ne prouve qu’une personne versée dans l’art ne considérerait pas ces composants comme des quartiers. Compte tenu de la ressemblance frappante de forme et de fonction entre le quartier du brevet de Bauer, celui du patin Champion 90 et celui de la demande 272, une personne versée dans l’art qui appelle le premier un quartier utiliserait le même mot pour décrire les deux autres.

[134]  M. Beaudoin manque lui-même de rigueur lorsqu’il utilise ces termes. Aux paragraphes 208 à 215 de son premier rapport, il évoque ce que les parties ont appelé les composants « C-7 » et « C-8 » et qui sont des quartiers moulés par injection utilisés dans certains patins de CCM. Il utilise à maintes reprises le mot « quartier », mais n’emploie jamais le mot « coquille » lorsqu’il parle de ces composants. En contre-interrogatoire, lorsqu’il a été questionné sur cette incohérence, il a répondu qu’il avait simplement utilisé la terminologie employée par CCM pour éviter toute confusion (le 17 février 2020, aux pages 103 et 104, 111 et 112). Cette explication est difficile à accepter. L’explication la plus vraisemblable est que M. Beaudoin a spontanément utilisé le mot qui viendrait naturellement à l’esprit d’une personne versée dans l’art pour décrire le composant. M. Beaudoin a également reconnu que les revendications 1 et 5 du brevet de Bauer n’excluent pas les quartiers moulés par injection, ce qui contredit sa propre thèse (le 17 février 2020, à la page 97). Au bout du compte, avec sa prétendue distinction entre une coquille et un quartier, M. Beaudoin ne fait que jouer avec les mots pour définir des concepts d’une manière qui l’arrange; c’est un autre exemple de raisonnement « axé sur des résultats ».

[135]  Les parties de recouvrement, selon l’interprétation que Bauer fait de cette expression, sont le troisième élément essentiel qui doit se trouver dans l’art antérieur. Personne ne conteste vraiment la présence d’encoches ou de découpes dans la marge de montage du patin Champion 90 et de la demande 272 (deuxième rapport de M. Beaudoin, aux paragraphes 155 et 173). En effet, M. Beaudoin a reconnu que la seule distinction pertinente entre le Champion 90 et le brevet de Bauer était le fait que le Champion 90 est doté d’un quartier moulé par injection (le 17 février 2020, à la page 104).

[136]  Je conclus donc que, selon l’interprétation de Bauer, le Champion 90 et la demande 272 contiennent tous les éléments essentiels de la revendication 1 du brevet de Bauer.

b)  Le caractère réalisable

[137]  Le caractère réalisable est la deuxième étape de l’analyse de l’antériorité. Les experts de CCM ont affirmé que la personne versée dans l’art pourrait facilement mettre en application l’invention de Bauer en se fondant sur le patin Champion 90 ou la demande 272 (premier rapport de M. Meibock, aux paragraphes 184 et 185 et 196; premier rapport de M. Holden, aux paragraphes 204 à 206, 211 et 212). Bauer n’a pas remis cette preuve en question. En outre, M. Beaudoin a convenu, en contre-interrogatoire, que la personne versée dans l’art serait capable de dessiner le patron d’un quartier d’après le patin Champion 90 ou la demande 272 (le 17 février 2020, aux pages 179 à 182).

[138]  À cet égard, Bauer a laissé entendre que le brevet 748 ou « l’atmosphère » au sein de l’industrie en 1997 dissuaderaient d’utiliser un quartier moulé par injection. Cela n’est toutefois pas pertinent puisque les raisons qui incitent à s’appuyer sur un élément précis d’art antérieur ne sont pas pertinentes à l’analyse : Wenzel Downhole, au paragraphe 73. L’art antérieur doit seulement être « accessible au public » : alinéa 28.2(1)a) de la Loi sur les brevets. Bauer a également insisté à maintes reprises sur le fait que le patin Champion 90 était un patin bas de gamme ou de [traduction] « hockey d’étang » dont le concepteur d’un patin haut de gamme ne tiendrait normalement pas compte. Cette affirmation n’est pas pertinente non plus, pour les mêmes raisons que la précédente. En effet, lors de son contre-interrogatoire, M. Beaudoin a convenu que la faible valeur du patin Champion 90 n’avait aucune incidence sur les questions de validité (le 17 février 2020, aux pages 102 et 103).

[139]  Par conséquent, je conclus que si l’interprétation que Bauer fait du brevet devait l’emporter, la revendication 1 serait tout de même antériorisée par le patin Champion 90 et la demande 272.

B.  L’évidence

[140]  CCM affirme également que les revendications invoquées du brevet de Bauer sont invalides pour cause d’évidence. Pour les motifs qui suivent, je suis d’accord avec CCM.

1)  Principes généraux

[141]  L’évidence est le contraire de l’inventivité. Il a toujours été reconnu que quelque chose d’évident ne peut pas constituer une invention brevetable. Cette exigence est maintenant codifiée à l’article 28.3 de la Loi sur les brevets, qui, dans la partie pertinente, est rédigé comme suit :

28.3 L’objet que définit la revendication d’une demande de brevet ne doit pas, à la date de la revendication, être évident pour une personne versée dans l’art ou la science dont relève l’objet, eu égard à toute communication :

28.3 The subject-matter defined by a claim in an application for a patent in Canada must be subject-matter that would not have been obvious on the claim date to a person skilled in the art or science to which it pertains, having regard to

[…]

[…]

b) qui a été faite par toute autre personne avant la date de la revendication de manière telle qu’elle est devenue accessible au public au Canada ou ailleurs.

(b) information disclosed before the claim date by a person not mentioned in paragraph (a) in such a manner that the information became available to the public in Canada or elsewhere.

[142]  Comme le caractère raisonnable ou la bonne foi, l’évidence est l’un de ces concepts juridiques qui échappent à une définition stricte. Le mieux que l’on puisse faire est de fournir un cadre analytique pour guider l’analyse. En se fondant sur les décisions des tribunaux britanniques, la Cour suprême du Canada a formulé la démarche suivante dans Sanofi, au paragraphe 67 :

1)   a) Identifier la « personne versée dans l’art ».

b) Déterminer les connaissances générales courantes pertinentes de cette personne;

2)   Définir l’idée originale de la revendication en cause, au besoin par voie d’interprétation;

3)   Recenser les différences, s’il en est, entre ce qui ferait partie de « l’état de la technique » et l’idée originale qui sous-tend la revendication ou son interprétation;

4)   Abstraction faite de toute connaissance de l’invention revendiquée, ces différences constituent-elles des étapes évidentes pour la personne versée dans l’art ou dénotent‑elles quelque inventivité?

[143]  Toutefois, dans des décisions subséquentes, la Cour d’appel fédérale a souligné que le critère de l’arrêt Sanofi ne devrait pas être appliqué de manière rigide : Wenzel Downhole, au paragraphe 105, Société Bristol‑Myers Squibb Canada c Teva Canada Limitée, 2017 CAF 76, au paragraphe 62, [2018] 3 RCF 380 [Bristol-Myers Squibb]. Dans Bristol-Myers Squibb, le juge Pelletier a résumé la méthode ainsi, au paragraphe 65 :

Il pourrait être utile de garder à l’esprit que l’analyse de l’évidence vise à vérifier si la personne versée dans l’art peut rapprocher deux points dans le perfectionnement de la technique en se fondant uniquement sur ses connaissances générales courantes. Si tel est le cas, il y a évidence. Le premier de ces points concerne l’état de la technique à la date pertinente. Dans la jurisprudence, les mentions de l’« idée originale », du « concept inventif », de la « solution enseignée par le brevet », de « ce qui est revendiqué » ou simplement de « l’invention » tentent de définir le second point.

[144]  Une analyse flexible de la question de l’évidence prend en compte tous les facteurs pertinents pour évaluer si la personne versée dans l’art aurait pu combler le fossé entre l’art antérieur et l’invention revendiquée à l’époque pertinente. Voici des exemples de ces facteurs, tirés de la jurisprudence. Un résumé utile et plus détaillé se trouve dans l’arrêt Novopharm ltd c Janssen‑Ortho inc., 2007 CAF 217, au paragraphe 25 [Novopharm].

[145]  Premièrement, la démarche de l’inventeur peut être pertinente : Sanofi, aux paragraphes 70 et 71. Si l’inventeur avait les connaissances d’une personne versée dans l’art et qu’il a rapidement été amené à l’invention, cela peut indiquer qu’elle était évidente. En revanche, si l’invention est le résultat d’un projet de recherche long et complexe, cela va à l’encontre d’une conclusion d’évidence.

[146]  Deuxièmement, la démarche d’autres acteurs de l’industrie, y compris la défenderesse, est aussi une indication pertinente. Si, en fait, personne d’autre n’a réalisé l’invention revendiquée, il est peu probable qu’elle ait été évidente. Cette idée est souvent appelée la « question de l’arrêt Beloit » : Beloit Canada Ltd c Valmet OY (1986), 8 CPR (3d) 289 (CAF) [Beloit]. En analysant la preuve d’expert concernant l’évidence, le juge Hugessen a formulé les remarques suivantes, à la page 295, qui ont été souvent citées depuis :

Une fois qu’elles ont été faites, toutes les inventions paraissent évidentes, et spécialement pour un expert du domaine. Lorsque cet expert a été engagé pour témoigner, l’infaillibilité de sa sagesse rétrospective est encore plus suspecte. Il est si facile de dire, une fois que la solution préconisée par le brevet est connue : « j’aurais pu faire cela »; avant d’accorder un poids quelconque à cette affirmation, il faut obtenir une réponse satisfaisante à la question : « Pourquoi ne l’avez-vous pas fait? ».

[147]  Bien que ce soit certainement un facteur pertinent, l’absence de réponse à la question de l’arrêt Beloit n’est pas un obstacle dirimant à une conclusion d’évidence : Sanofi, aux paragraphes 61 et 62. Si c’était le cas, un défendeur alléguant l’évidence dans une action pour contrefaçon devrait démontrer que la même invention avait déjà été réalisée. L’examen portant sur l’évidence serait alors réduit à un examen de l’antériorité. Néanmoins, la question de l’arrêt Beloit nous rappelle que nous ne devrions pas évaluer l’évidence rétrospectivement, mais plutôt comme nous enjoint le libellé de l’article 28.3, à la date de priorité du brevet.

[148]  Troisièmement, les tribunaux examinent la motivation de la personne versée dans l’art pour en venir à l’invention : Actavis Group PTC EHF v ICOS Corp, [2019] UKSC 15, au paragraphe 70. Selon le contexte, cela peut donner lieu à des conclusions différentes : Astrazeneca Canada Inc. c Mylan Pharmaceuticals ULC, 2017 CF 142, aux paragraphes 148 à 162. Ainsi, si tous les acteurs de l’industrie sont motivés à trouver une solution à un problème particulier et que seul l’inventeur l’a trouvée, cela peut démontrer que la solution n’était pas évidente : Beloit, aux paragraphes 295 et 296. De même, si seul l’inventeur a eu l’idée d’analyser la cause d’un problème particulier et de trouver une solution, cela peut aussi montrer la non-évidence : Novopharm, au paragraphe 25. En revanche, l’état de la technique peut avoir motivé la personne versée dans l’art à améliorer l’art antérieur dans le sens du brevet, ce qui milite en faveur d’une conclusion d’évidence.

[149]  Quatrièmement, les idées reçues dans l’industrie à l’époque pertinente ou l’art antérieur peuvent avoir découragé la personne versée dans l’art d’examiner une solution précise. Le verbe « dissuader » (« teach away ») est souvent utilisé pour exprimer cette idée. Dans ces situations, une conclusion d’évidence est moins probable : Hoffmann-La Roche Limitée c Apotex Inc., 2011 CF 875, au paragraphe 65. Néanmoins, il ne faut pas perdre de vue le fait que l’évidence est évaluée d’un point de vue technique et non commercial. Comme l’a affirmé la Cour d’appel d’Angleterre dans l’affaire Windsurfing International Inc v Tabur Marine (Great Britain) Ltd, [1985] RPC 59, au paragraphe 72, [traduction] « il faut déterminer si ce qui est à présent revendiqué comme une invention aurait été évident et non si son exploitation commerciale aurait semblé en valoir la peine sur le plan commercial ». Ce principe a été adopté dans des décisions subséquentes de notre Cour : Shire, au paragraphe 82; Janssen Inc. c Teva Canada Limited, 2015 CF 184, au paragraphe 113; Eli Lilly Canada Inc. c Apotex Inc., 2018 CF 736, au paragraphe 120.

[150]  Cinquièmement, le succès commercial d’un produit a souvent été considéré comme une marque d’inventivité. Néanmoins, il faut se montrer prudent, puisque le succès commercial peut être le résultat de divers facteurs autres que l’inventivité : Tearlab, aux paragraphes 68 et 69.

[151]  Plusieurs des facteurs ci-dessus, notamment le dernier, sont souvent décrits comme « secondaires ». Autrement dit, on leur accorde peu de poids. Comme l’a affirmé la Cour d’appel fédérale dans Tearlab, au paragraphe 68, un facteur secondaire « n’est jamais concluant en soi et n’est clairement pas suffisant pour valider une revendication évidente ». Ces facteurs ne devraient pas faire oublier la question ultime : déterminer si l’invention revendiquée était évidente.

2)  Application

[152]  J’applique maintenant ce cadre d’analyse à l’évidence alléguée des revendications pertinentes du brevet de Bauer. J’ai déjà défini la personne versée dans l’art et déterminé les connaissances générales courantes. La deuxième et la troisième étapes du cadre énoncé dans Sanofi ont pour but de mesurer l’écart ou le fossé entre l’art antérieur et l’invention revendiquée. Je les aborderai ensemble. J’évaluerai ensuite la question de savoir si une personne versée dans l’art aurait pu combler ce fossé, c’est-à-dire la quatrième question de l’arrêt Sanofi. J’examinerai ensuite les arguments de Bauer concernant les facteurs secondaires, notamment, la conduite de CCM, le climat dans l’industrie et le succès commercial.

a)  Mesurer le fossé

[153]  La deuxième étape consiste à définir l’idée originale qui, comme l’a souligné le juge Pelletier dans Bristol-Myers Squibb, correspond simplement à une synthèse du contenu des revendications; voir aussi Tearlab, aux paragraphes 76 à 78. Selon mon interprétation des revendications, l’idée originale de la revendication 1 est un quartier une-pièce avec parties de recouvrement visant à former une poche de talon. L’idée originale de la revendication 5 est le fait que les parties de recouvrement peuvent être cousues.

[154]  La troisième étape consiste à cerner l’écart entre l’art antérieur et l’idée originale. CCM invoque trois types d’art antérieur pour étayer son allégation d’évidence : des bottes de patin fabriquées à l’aide de quartiers deux-pièces, des bottes de patin fabriquées à l’aide d’un quartier une-pièce, et des chaussures et des bottes fabriquées à l’aide d’un quartier une-pièce. Puisque j’estime que l’allégation d’évidence est établie à l’égard du premier type, il n’est pas nécessaire d’aborder les deux autres. Plus précisément, il ne m’est pas nécessaire de décider si la personne versée dans l’art aurait examiné les brevets liés aux quartiers une-pièce pour les chaussures ou les bottes. À cet égard, je souligne que dans l’arrêt Healthcare Corporation c Kennedy Trust for Rheumatology Research, 2020 CAF 30, la Cour d’appel fédérale a conclu que, pour les besoins de l’analyse de l’évidence, l’art antérieur peut inclure des références qui n’aurait pas été repérées par une personne versée dans l’art à la suite d’une recherche raisonnablement diligente. En d’autres mots, elle a conclu que l’art antérieur est plus vaste que les connaissances générales courantes.

[155]  Le fossé entre l’art antérieur et l’idée originale ressort du brevet lui-même. L’inventeur a décrit l’art antérieur comme étant des quartiers deux-pièces et a illustré ces derniers à la figure 1. Une comparaison côte-à-côte de la figure 1 et de la figure 2, qui illustre le patron de l’invention, met l’accent sur cet écart :

L’art antérieur

 

L’art antérieur

 

[156]  Le fossé se résume au fait que le quartier, qui était auparavant composé de deux pièces distinctes, est maintenant fabriqué à l’aide d’une seule pièce. Les deux pièces distinctes sont jointes en une seule ou, pour utiliser le libellé ambigu de la description, sont [traduction« intégralement liées à la ligne de jonction ». (Je fais abstraction du protège-tendon, qui n’est pas pertinent en l’espèce.)

b)  Combler le fossé

[157]  Je suis d’avis que le fossé entre ces deux points aurait pu être facilement comblé par une personne versée dans l’art en 1997.

[158]  Il suffit d’utiliser des techniques simples de confection de patrons pour combler ce fossé. Il aurait semblé évident à tout patronniste, quelle que soit l’industrie, que deux pièces découpées séparément pour ensuite être cousues ensemble pourraient être découpées en une seule pièce (premier rapport de M. Meibock, aux paragraphes 285 à 289; premier rapport de M. Holden, aux paragraphes 175 à 181; rapport de Mme Lockwood, aux paragraphes 182 à194). Le seul défi consiste à reproduire la forme tridimensionnelle obtenue au moyen d’une couture le long d’une ligne courbée. Les connaissances générales courantes permettaient cependant de résoudre ce problème. De l’aveu de M. Beaudoin, une personne versée dans l’art aurait su comment donner une forme tridimensionnelle à un matériau plat, et aurait su comment se servir d’une encoche au talon ou d’une fente pour y parvenir (le 17 février 2020, aux pages 167 et 168). En effet, l’encoche qui sépare les parties de recouvrement apparaît d’elle-même lorsque l’on tente de joindre les deux quartiers de l’art antérieur illustré à la figure 1, reproduite ci-dessus. De la même manière, une personne versée dans l’art aurait pu faire deux encoches de ce genre, créant par le fait même une réalisation différente de l’invention. Par conséquent, les revendications 1 et 5 du brevet de Bauer sont évidentes.

[159]  La description du problème que le brevet de Bauer tente de régler suggère la même chose. La rubrique [traduction] « historique de l’invention » de la description se concentre exclusivement sur les [traduction] « inconvénients » associés à la présence d’une ligne de couture à l’arrière du patin. Ces inconvénients incluent la difficulté que pose la couture de matériaux rigides en suivant une ligne courbée, le risque de rupture et le risque d’assembler les mauvaises sections de quartier. Si la présence d’une ligne de couture entre les deux quartiers était considérée comme un problème, une solution évidente aurait été d’éliminer cette ligne de couture en découpant les deux quartiers en une seule pièce.

[160]  Cette conclusion est étayée par les démarches entreprises par M. Chênevert. Dans son témoignage, il a décrit le projet Vapor 8, dans le cadre duquel tous les aspects de la conception de patin ont été étudiés dans le but de produire un patin qui serait plus léger et plus rigide, qui absorberait moins l’eau et qui serait mieux adapté aux styles de patinage de certains joueurs qui nécessitent une meilleure flexion vers l’avant. Il a expliqué que le revers articulé était une option qui avait été envisagée en vue de permettre une telle flexion. Le recours au revers articulé a éliminé une contrainte structurelle et lui a permis de voir les composants du patin sous un angle nouveau (le 5 février 2020, aux pages 100 et 101). Comme l’a indiqué M. Chênevert, cela l’a amené, « un peu par hasard », à créer un prototype de quartier une-pièce, lequel est illustré dans un dessin datant du 2 avril 1997 (pièce X-15, à la page 223).

[161]  Nous sommes loin d’une situation où un inventeur a consacré beaucoup de temps à tenter de résoudre un problème donné. Il ne s’agit pas non plus d’un cas où l’inventeur a trouvé par hasard une solution à un problème que l’industrie cherchait depuis longtemps à résoudre. M. Chênevert a simplement tenté quelque chose qui est devenu évident une fois que certaines contraintes de conception ont été éliminées.

c)  La question de l’arrêt Beloit

[162]  Bauer fait valoir que son brevet n’est pas évident parce que personne n’avait mis au point cette invention avant la date de dépôt du brevet. C’est la question de l’arrêt Beloit : si l’emploi d’un quartier une-pièce était si évident, pourquoi personne n’avait songé à le faire avant? En l’espèce, cependant, il y a une réponse à cette question. La raison probable pour laquelle le quartier une-pièce n’avait jamais été utilisé auparavant est de nature économique et se rapporte à la façon de découper les matériaux utilisés pour fabriquer les patins.

[163]  Les matériaux servant à fabriquer les quartiers et d’autres composants arrivent généralement sous forme de rouleaux ou de feuilles aux dimensions limitées. En vue de réduire au minimum le gaspillage, les fabricants tentent d’emboîter les pièces le plus près possible les unes des autres. Ce processus est évidemment plus facile si les pièces sont plus petites. En outre, certains matériaux sont « directionnels » : les pièces doivent être découpées dans un sens particulier et il n’est pas possible de les pivoter. Le processus d’emboîtage devient alors encore plus complexe. Le nylon balistique, qui était utilisé dans la fabrication des quartiers avant 1997, était un matériau directionnel (témoignage de M. Nadeau, le 11 février 2020, à la page 65; témoignage de M. Beaudoin, le 17 février 2020, aux pages 153 et 154).

[164]  Par conséquent, tenter de découper des quartiers une-pièce dans du nylon balistique aurait occasionné un important gaspillage de matériaux; cette option aurait donc été peu viable sur le plan économique (témoignage de M. Beaudoin, le 17 février 2020, à la page 152). À l’opposé, le matériau composé de Surlyn laminé et de monofilaments utilisé pour le patin Vapor 8 n’était pas directionnel (témoignage de M. Beaudoin, le 17 février 2020, à la page 155); il était donc plus facile d’emboîter des quartiers une-pièce fabriqués à partir de ce matériau. En outre, ce matériau était plus rigide que le nylon balistique utilisé précédemment et plus difficile à coudre (témoignage de M. Chênevert, le 5 février 2020, aux pages 90 et 91). Ainsi, les avantages d’éliminer une couture du processus de fabrication sont peut-être devenus plus importants, et ont possiblement compensé les inconvénients de tenter d’emboîter une pièce plus grande dans la matière première.

[165]  Comme je l’ai mentionné plus haut, l’évidence se rapporte à la faisabilité technique, et non à des facteurs d’ordre économique ou commercial. Le fait qu’une conception n’a jamais été retenue parce qu’elle n’était pas rentable ne fait pas obstacle à une conclusion d’évidence. En l’espèce, le défaut de CCM d’avoir recours à des quartiers une-pièce avant 1997 s’explique par des facteurs commerciaux et n’empêche pas de tirer une conclusion d’évidence.

d)  L’atmosphère au sein de l’industrie

[166]  Au procès, Bauer a consacré beaucoup de temps à faire la preuve de facteurs qu’elle décrit comme étant « l’atmosphère au sein de l’industrie » à l’époque pertinente. Par exemple, on a décrit l’industrie des patins comme une industrie peu encline au changement. Cela découle en partie du fait que les joueurs professionnels sont conservateurs et qu’il est difficile de les persuader d’utiliser un nouveau modèle de patins. Les attitudes des joueurs professionnels sont importantes, puisqu’il est reconnu qu’elles influencent les joueurs juniors, qui ont tendance à se procurer la même marque d’équipement que leurs modèles ou héros professionnels. Pour cette raison, on a généralement recours à une conception descendante pour les gammes de patins : le processus de conception est axé sur le modèle haut de gamme destiné aux joueurs professionnels. Les modèles moins dispendieux sont ensuite conçus en omettant certaines caractéristiques du modèle haut de gamme ou en utilisant des matériaux moins coûteux, tout en conservant la même apparence dans la mesure du possible.

[167]  Cette preuve n’est pas vraiment contestée. Sa pertinence à la question de l’évidence, toutefois, n’est pas claire. Le processus de conception descendante, par exemple, ne rend pas l’invention moins évidente. La nature conservatrice de l’industrie serait un facteur commercial qui n’aurait aucune incidence sur l’évidence technique du quartier une-pièce avec parties de recouvrement. Par contre, la question de savoir si le brevet de Bauer a permis de résoudre un problème récurrent auquel tous les participants de l’industrie étaient confrontés pourrait être davantage pertinente.

[168]  Selon la preuve, l’industrie des patins a connu bon nombre d’innovations dans les années 1980 et 1990. De nouveaux matériaux et de nouveaux concepts étaient mis à l’essai dans le but d’accroître la performance et de réduire les coûts. Rien n’indique cependant que les problèmes mentionnés dans la description du brevet de Bauer constituaient une préoccupation majeure au sein de l’industrie. C’est M. Chênevert qui a relevé ces problèmes – la difficulté que posait la couture de matériaux rigides en suivant une ligne courbée, le risque que le patin se brise et le risque d’assembler les mauvaises sections de quartier – après avoir désassemblé plusieurs patins neufs et usagés pendant l’automne de l’année 1996. Bien que je ne doute pas de l’exactitude de ses observations, elles ne démontrent pas que ces problèmes constituaient une préoccupation importante au sein de l’industrie et que des ressources étaient consacrées à leur résolution. À cet égard, M. Roy, de CCM, a reconnu qu’il y aura toujours un certain décalage lorsque deux quartiers sont cousus manuellement ensemble (témoignage de M. Roy, le 24 février 2020, partie confidentielle, aux pages 31 à 38). Cependant, la preuve n’indique pas la fréquence à laquelle ce décalage excédait la tolérance de fabrication ou si ce problème avait engendré un taux de rejet inacceptable. Il n’existe tout simplement pas de preuve que CCM percevait ce décalage comme un problème important ni qu’elle tentait de le résoudre. En effet, le sens général de l’argumentaire de Bauer est que, à l’époque, CCM accusait un certain retard sur le plan de la conception des patins et qu’elle ne cherchait pas à innover.

[169]  Ainsi, bien que cette preuve puisse avoir tendance à prouver l’utilité du brevet, elle ne prouve pas que le brevet de Bauer a pour but de résoudre un problème particulièrement épineux ou que d’autres avaient auparavant tenté en vain de résoudre un tel problème. Elle ne fait pas obstacle à une conclusion d’évidence.

e)  Le succès commercial

[170]  Bauer a également présenté une preuve abondante visant à démontrer le succès commercial de son invention. En résumé, la thèse de Bauer est que le quartier une-pièce a pavé la voie à une série d’innovations qui ont révolutionné la conception des patins et qu’il a aidé Bauer à conserver un avantage concurrentiel au sein de l’industrie. Bauer affirme également que cette invention a été copiée par d’autres fabricants de patins une fois qu’elle a été rendue publique. Je ne puis accorder une grande importance à ce facteur. L’argument de Bauer n’établit pas de distinction entre le concept général d’un quartier une-pièce et les revendications de son brevet, qui requiert la présence de parties de recouvrement. De nombreux facteurs autres que le patron du quartier ont contribué au succès commercial des patins de Bauer. Même en laissant de côté la question des parties de recouvrement, la contribution du quartier une-pièce aux innovations qui ont suivi est difficile à évaluer. J’examinerai successivement chacune de ces questions.

(i)  L’absence de lien avec les revendications

[171]  Le succès commercial d’un produit n’est pas pertinent à moins qu’il puisse être attribué à l’invention : Tearlab, au paragraphe 69. Lorsqu’une partie souhaite invoquer le succès commercial d’un produit pour faire échec à une contestation relative à l’évidence, elle doit démontrer que le produit est couvert par les revendications pertinentes du brevet contesté. Lorsque le produit englobe plusieurs caractéristiques novatrices, la contribution relative de chacune de ces caractéristiques au succès commercial présumé doit être évaluée.

[172]  La faille principale de l’argument de succès commercial de Bauer est qu’il se fonde sur une interprétation trop large des revendications. Au procès, les témoins de Bauer ont parlé des avantages conférés par les quartiers une-pièce de façon générale, et non de l’invention comme je l’ai interprétée. Le succès commercial, cependant, doit être évalué sur la base de l’interprétation que j’ai donnée aux revendications 1 et 5 du brevet. Ainsi, Bauer ne peut pas simplement invoquer le fait que ses concurrents utilisaient un quartier une-pièce. Elle doit démontrer qu’ils utilisaient un quartier une-pièce avec des parties de recouvrement dans le but de créer une poche de talon ou, en d’autres mots, qu’ils ont fabriqué des patins qui ont contrefait le brevet de Bauer. Dans la même veine, si Bauer souhaite invoquer le succès commercial de ses propres patins, elle doit démontrer qu’ils constituent une réalisation de son brevet.

[173]  Or, Bauer elle-même a rapidement cessé d’utiliser les quartiers avec parties de recouvrement tels qu’ils sont définis dans le brevet. Même si Bauer n’a pas cherché à prouver que ses divers modèles de patins étaient visés par les revendications du brevet 748, la preuve comprend des patrons, des dessins éclatés ou des exemplaires de quartiers démontrant que les modèles Vapor 8, Vapor 10, Supreme 7000 et Vapor XX étaient fabriqués avec un quartier qui comprenait des parties de recouvrement selon la définition que je leur ai donnée. Par la suite, toutefois, la même preuve démontre que Bauer a commencé à utiliser des patrons non contrefaisants, apparemment en raison d’autres progrès réalisés sur le plan des matériaux. Par exemple, le Vapor XXX, introduit en 2005, comportait un quartier (pièce X-35) dépourvu de parties de recouvrement, mais qui comportait un espace vide devant être recouvert par un appliqué ou un renfort en vue de créer la poche de talon. Pareillement, le Supreme One90, introduit en 2006, comportait un quartier (pièce X-39) avec une série d’encoches qui n’excédaient pas la marge de montage. Ces encoches ne constituent pas des parties de recouvrement, selon mon interprétation de ce terme. Par conséquent, toutes les innovations qui ont été réalisées pour ces modèles ou les modèles ultérieurs n’ont aucun lien avec le brevet 748.

[174]  En ce qui concerne CCM, Bauer allègue qu’une grande proportion, voire la majorité, des patins vendus par CCM après 1997 ont contrefait son brevet. Cette allégation, toutefois, est fondée sur une interprétation du brevet que j’ai rejetée. Si la partie de recouvrement vise à créer une poche de talon, les parties conviennent que seuls les modèles de patins que les experts ont désignés comme étant de « catégorie C » contrefont le brevet. Pour la période suivant 2006, qui fait l’objet de la présente action, ces patins constituent une faible portion des patins qui, selon Bauer, contrefont le brevet, et une plus petite portion encore de tous les patins fabriqués par CCM. En outre, on retrouve principalement la partie de recouvrement de « catégorie C » dans les patins bas de gamme de CCM. En ce qui concerne la période qui précède 2006, Bauer n’a pas tenté de prouver que CCM a fabriqué des patins contrefaisants; le rapport de M. Beaudoin ne couvre pas cette période. Dans ces circonstances, on ne peut affirmer que CCM s’est adonnée à une forme de plagiat à grande échelle qui tendrait à prouver que le brevet de Bauer n’était pas évident.

[175]  En ce qui a trait aux autres concurrents, il y a peu de preuve que leurs patins contrefaisaient le brevet de Bauer et qu’ils peuvent être considérés comme une forme de plagiat. La décision Easton comprend certains dessins qui laissent supposer que Easton a utilisé une partie de recouvrement qui aurait contrefait le brevet 748. L’objet principal de cette action, cependant, n’était pas les parties de recouvrement, étant donné qu’un brevet différent était en cause. Ainsi, il est très difficile de conclure à du plagiat à grande échelle.

[176]  Bauer a également laissé entendre que CCM avait adopté le quartier une-pièce lorsque M. Murphy avait quitté Bauer pour travailler avec CCM, en 2002. Même si les parties n’ont pas toujours été en mesure de récupérer de l’information au sujet des modèles de patins datant de cette période, la preuve indique que CCM a fabriqué au moins un modèle de patins munis de quartiers une-pièce avant l’arrivée de M. Murphy, soit le Super Tacks 852 (pièce Y-35; témoignage de M. Murphy, le 11 février 2020, aux pages 150 à 152; témoignage de M. Roy, le 24 février 2020, aux pages 66 à 69).

(ii)  Le lien de causalité

[177]   Même si je devais accepter que l’invention est le quartier une-pièce, sans égard aux parties de recouvrement, l’argument de succès commercial se heurte à de nombreux obstacles. Le succès du patin Vapor 8 s’expliquait probablement par de nombreux facteurs autres que la conception du quartier. En contre-interrogatoire, M. Beaudoin n’a pas été en mesure de se prononcer sur la proportion du succès commercial du Vapor 8 qui était attribuable au patron du quartier par opposition aux matériaux, à la capacité de flexion vers l’avant ou aux efforts de mise en marché (le 17 février 2020, à la page 176). De même, lorsque M. Langevin a décrit le projet Vapor 8, il a mis l’accent sur le profil facilitant la flexion vers l’avant et sur le nouveau matériau hydrofuge plus léger (le 6 février 2020, aux pages 24 et 25).

[178]   En effet, lors d’une réunion qui a eu lieu le 24 mars 1997, les membres de l’équipe du projet Vapor ont convenu que la plupart des objectifs du projet avaient été réalisés alors que les prototypes étaient toujours munis de quartiers deux-pièces (témoignage de M. Chênevert, le 5 février 2020, aux pages 182 à 185). Lorsque la division de fabrication de Bauer a cherché à revenir à la conception antérieure au cours de l’été 1997, M. Chênevert a insisté pour que soit conservé le quartier une-pièce en mettant l’accent sur des facteurs d’ordre esthétique et non sur des facteurs liés à la performance ou à la réalisation des objectifs du projet Vapor, dont la réduction du poids du patin (témoignage de M. Chênevert, le 5 février 2020, aux pages 222 et 223). Tout ce qui précède tend à démontrer que le quartier une-pièce a joué un rôle relativement mineur dans l’obtention des caractéristiques sur lesquelles repose le succès commercial du Vapor 8.

[179]  Dans la même veine, les activités publicitaires mettaient rarement l’accent sur le quartier une-pièce. Au cours du procès, on a souvent fait référence aux catalogues de Bauer et de CCM, qui illustraient les modèles de patins que chacune des entreprises avaient fabriqués de 1997 à aujourd’hui. Le quartier une-pièce est rarement présenté comme une caractéristique importante. Par exemple, dans le catalogue de Bauer pour l’année 1997, où le Vapor 8 est illustré pour la toute première fois, sept caractéristiques sont mises en évidence, dont deux qui se rapportent au quartier (pièce D-7; témoignage de M. Covo, le 10 février 2020, aux pages 96 à 104). L’accent était mis sur le nouveau matériau et sur la façon dont le quartier était découpé autour des œillets. Le nouveau patron de quartier n’était mentionné nulle part. Il est vrai que le quartier une-pièce permet à un fabriquant d’éliminer les appliqués à l’arrière du patin, conférant à celui-ci une allure plus épurée. Pourtant, il y avait des appliqués sur la partie arrière de nombreux modèles de patins tout au long de la période en cause. C’est pourquoi les témoins ordinaires et les témoins experts étaient souvent incapables de distinguer les patins possédant un quartier une-pièce et un quartier deux-pièces (M. Langevin, le 6 février 2020, aux pages 175 à 182; M. Covo, le 10 février 2020, à la page 62; M. Beaudoin, le 13 février 2020, à la page 232, et le 17 février 2020, à la page 87; M. Corbett, le 18 février 2020, aux pages 160 et 161). Par conséquent, on peut supposer que le quartier une-pièce aurait peu d’incidence sur les décisions d’achat des consommateurs et, ultimement, sur le succès commercial des patins de Bauer.

(iii)  La suite d’avantages

[180]  Un autre aspect de l’argument de succès commercial de Bauer est que l’adoption du quartier une-pièce aurait donné lieu à une suite d’avantages. De ce point de vue, le quartier une-pièce a permis de réaliser un potentiel novateur qui a donné lieu à une chaîne continue d’améliorations sur le plan de la conception des patins.

[181]  Le problème que pose cet argument est que la preuve de causalité est insuffisante. Même en faisant abstraction des parties de recouvrement, le quartier une-pièce n’a pas joué un rôle dominant dans la soi-disant chaîne d’innovations. On ne saurait contester que Bauer a progressivement éliminé certains composants ou a remplacé ceux-ci par des équivalents plus légers dans les modèles de patins qui ont été conçus dans la foulée du Vapor 8. Des nervures ont également été moulées sur les quartiers des patins Vapor XX et Vapor XXX, pour leur conférer une rigidité accrue. Le poids des patins diminuait d’un modèle à l’autre.

[182]  Ce qui est difficile à évaluer, cependant, est la mesure dans laquelle ces progrès sont attribuables à d’autres facteurs, et s’ils auraient été possibles sans le quartier une-pièce. Par exemple, l’un des progrès majeurs soulignés par Bauer est le retrait du renfort intégré au niveau du talon et de la cheville (pièce X-7) du patin Supreme One90 introduit en 2006. À ce moment-là, toutefois, les quartiers étaient fabriqués à l’aide d’un tout nouveau matériau nettement plus léger que ceux du Vapor 8. Bauer a également élaboré un nouveau processus de thermoformage qui permettait de mieux façonner la partie arrière du quartier. Dans leur témoignage, MM. Langevin et Covo ont indiqué que le retrait du renfort intégré au niveau du talon et de la cheville a été rendu possible grâce aux nouveaux matériaux et au processus de thermoformage, et non grâce à l’adoption du quartier une-pièce (le 6 février 2020, aux pages 95 et 96; le 10 février 2020, aux pages 67 et 68). Cela ne signifie pas que le quartier une-pièce n’a joué aucun rôle dans la réalisation de ces innovations. En effet, M. Roy, de CCM, a admis qu’il aurait été difficile, voire impossible, de retirer un composant semblable des patins de CCM n’eût été du quartier une-pièce (le 24 février 2020, partie confidentielle, aux pages 34 à 38). Néanmoins, Bauer n’a pas tenté de quantifier ce rôle ni de mesurer les réductions de poids attribuables au quartier une-pièce. Le seul témoignage d’expert présenté à ce sujet était celui de M. Corbett, qui a formulé des commentaires généraux quant à l’importance des changements qui ont été engendrés par le quartier une-pièce. M. Corbett a toutefois admis, lors du contre-interrogatoire, que les nouveaux matériaux pouvaient occasionner une réduction du poids, même avec les quartiers deux-pièces (le 18 février 2020, à la page 142). De plus, il parlait davantage d’un point de vue de mise en marché que d’un point de vue technique. Son témoignage n’a qu’une faible valeur probante. Les témoins de fait de Bauer ne prétendaient pas se prononcer sur la faisabilité des innovations subséquentes dans l’hypothèse où le quartier deux-pièces aurait été conservé. Ainsi, l’ensemble de la preuve m’amène à conclure que le quartier une-pièce a joué tout au plus un rôle limité dans la réalisation des innovations subséquentes et que d’autres facteurs ont eu une plus grande importance.

[183]  Quoi qu’il en soit, l’évidence doit être appréciée à la date de la revendication, c’est-à-dire le 5 septembre 1997. Les innovations qui ont eu lieu cinq ou dix années plus tard n’apportent pas un grand éclairage quant au caractère évident du brevet de Bauer.

3)  Résumé concernant l’évidence

[184]  Pour résumer, la solution enseignée par le brevet de Bauer aurait été évidente pour une personne versée dans l’art en 1997. Le fait que personne n’ait emprunté cette voie avant Bauer s’explique probablement par les propriétés des matériaux utilisés à cette époque; ce choix aurait été peu viable d’un point de vue commercial, mais non pas moins évident d’un point de vue technique. L’atmosphère au sein de l’industrie n’a pas eu d’effet dissuasif. Il est difficile d’établir un lien entre les revendications du brevet de Bauer et le succès commercial des patins de Bauer ou le fait que d’autres fabricants ait adopté le patron d’un quartier une-pièce; cela n’empêche pas de tirer une conclusion d’évidence.

IV.  Les questions liées à la contrefaçon et à l’indemnisation

[185]  En ce qui a trait à la contrefaçon, les deux parties conviennent que, selon l’interprétation que CCM donne au brevet de Bauer, interprétation à laquelle je souscris, seuls les patins que les experts ont rangés dans la « catégorie C » contrefont les revendications 1 et 5 du brevet. Je n’ai pas à me pencher davantage sur cette question, puisque j’ai conclu que ces revendications étaient invalides pour cause d’évidence.

[186]  Il n’est pas non plus nécessaire de me pencher sur les questions d’indemnisation. Compte tenu des manières complexes par lesquelles ces questions sont étroitement liées aux questions relatives à l’interprétation des revendications, à la validité et à la contrefaçon, il serait inutile de tenter de formuler une opinion à cet égard.

V.  L’affaire Easton

[187]  En terminant, je tiens à commenter brièvement la décision rendue par la juge Gauthier dans l’affaire Easton, qui a été confirmée par la Cour d’appel fédérale. Bauer a souvent fait référence à cette décision, laissant entendre que je devrais tirer des conclusions similaires, sans toutefois aller jusqu’à affirmer que j’étais tenu de la suivre, que je devrais m’y conformer sur la base de la courtoisie judiciaire ou qu’elle avait force de chose jugée.

[188]  Les conditions d’existence de la chose jugée sont énoncées à l’article 2848 du Code civil du Québec. (Il s’agit d’une question de preuve, qui, selon l’article 40 de la Loi sur la preuve au Canada, LRC (1985), c C-5, est régie par la loi en vigueur dans la province où ces procédures sont exercées, en l’espèce au Québec.) Il n’y a chose jugée que si, entre autres conditions, « la demande est fondée sur la même cause et mue entre les mêmes parties ». CCM n’était pas partie au litige dans l’affaire Easton. Il serait donc injuste qu’elle soit liée par un jugement alors qu’elle n’a pas eu la possibilité de présenter des éléments de preuve et des arguments. En outre, la cause de la demande en l’espèce et celle dans l’affaire Easton n’est pas la même : chaque cause était fondée sur un brevet différent. On ne saurait tout bonnement conclure qu’un patin qui contrefait le brevet 953 contrefait aussi le brevet 748. L’affaire Easton portait principalement sur le protège-tendon, qui est un élément essentiel du brevet 953, mais qui ne figure pas dans les revendications du brevet 748 qui sont invoquées en l’espèce.

[189]  En outre, « chaque affaire est tranchée en fonction du dossier de preuve précis dont le juge est saisi » : Teva Canada Limitée c Pfizer Canada Inc., 2019 CAF 15, au paragraphe 39; voir également Apotex Inc. c Pfizer Canada Inc., 2009 CAF 8, au paragraphe 41, [2009] 4 RCF 223. Voilà pourquoi la doctrine de la courtoisie judiciaire ne s’applique pas en matière de conclusions de fait : Apotex Inc. c Allergan Inc., 2012 CAF 308, au paragraphe 50. Je ne connais pas la preuve présentée à la juge Gauthier. La lecture de son jugement montre que plusieurs témoins étaient différents. Lorsque les mêmes témoins ont été entendus dans les deux dossiers, leur témoignage peut avoir été différent et ils n’ont pas nécessairement résisté de la même manière à l’épreuve du contre-interrogatoire. Néanmoins, il y a lieu de porter une [traduction] « attention respectueuse » à son jugement : Amgen Inc c Pfizer Canada ULC, 2020 CF 522, au paragraphe 169.

[190]  La juge Gauthier a rendu son jugement avant que le législateur ait modifié la Loi sur les brevets en vue de rendre admissible l’historique de l’examen de la demande de brevet. Ainsi, on ne lui a pas présenté la preuve du refus du Bureau des brevets de délivrer un brevet pour un simple quartier une-pièce. Cela peut expliquer le fait que son jugement n’établit pas de distinction entre les quartiers avec parties de recouvrement et ceux qui en sont dépourvus. Quoiqu’il en soit, les parties de recouvrement ne constituent pas un élément des revendications qui étaient invoquées dans l’affaire dont elle était saisie.

[191]  D’autres différences au chapitre de la façon dont les deux affaires ont été présentées peuvent être mises en relief. Dans l’affaire Easton, l’argument d’antériorité reposait sur la divulgation du Vapor 8 au public dans le contexte de la ligue d’essai (aux paragraphes 211 à 221), alors que dans le cas en l’espèce, il repose sur une demande de brevet antérieure et un modèle de patins. L’analyse de l’évidence n’est pas ne vise pas le même écart ou le même fossé. Dans l’affaire Easton, l’accent était mis sur la présence d’un protège-tendon cousu côte-à-côte avec le quartier, créant un profil angulaire (au paragraphe 252). En outre, dans la mesure où cela transparaît du jugement, les arguments invoqués par Easton concernant l’évidence étaient fondés sur une thèse différente de celle avancée par CCM en l’espèce. Il semblerait même que les avocats d’Easton, dans leur plaidoirie finale, aient concédé que le brevet 953 n’était pas évident (au paragraphe 262). Aucune concession de cet ordre n’a été faite ne l’espèce.

[192]  En dépit des différences relevées entre les deux affaires, il y a certains aspects pour lesquels je tire des conclusions semblables à celles de la juge Gauthier. Par exemple, nous avons tous deux conclu que les connaissances générales courantes n’excluent pas les connaissances relatives à l’industrie de la chaussure (aux paragraphes 122 et 225), et qu’une personne versée dans l’art connaîtrait les principes de base de la confection de patrons (au paragraphe 230). Nous avons tous deux souligné que la terminologie n’est pas utilisée de façon uniforme au sein de l’industrie de la chaussure et de la fabrication de patins (aux paragraphes 160 à 162). Nous avons tous deux conclu qu’il faudrait accorder peu d’importance à la preuve du succès commercial, étant donné qu’il est difficile d’attribuer ce succès à l’un ou l’autre des brevets (au paragraphe 275).

[193]  Je suis conscient que la juge Gauthier a déclaré qu’elle n’était « pas convaincue qu’il a été établi selon la prépondérance des probabilités qu’une [personne versée dans l’art] à l’époque des faits aurait généralement considéré [...] le Champion 90 ou des versions personnalisées similaires comme des patins montés » (au paragraphe 229). Elle a toutefois formulé cette remarque dans le cadre d’une analyse de l’évidence, et non dans le cadre d’une analyse de l’antériorité. En dépit de cette remarque, elle a néanmoins conclu que le Champion 90 faisait partie des connaissances générales courantes (au paragraphe 228) et qu’il s’agissait d’un élément d’art antérieur qui pouvait soutenir un argument relatif à l’évidence. On doit souligner que les revendications du brevet 953 ne font pas expressément référence aux patins montés. Par conséquent, la juge Gauthier n’a pas été appelée à interpréter ce terme et n’en a pas fourni de définition exhaustive.

[194]  En outre, la juge Gauthier a fondé ses remarques concernant le Champion 90 sur les « différences marquées dans les avis exprimés par les experts et les dépositions des témoins des faits » à cet égard. Dans le cas en l’espèce, le seul témoignage tendant à démontrer que le Champion 90 n’était pas un patin monté était celui de M. Beaudoin. J’ai expliqué pourquoi je ne puis accorder d’importance à son opinion sur le sujet.

[195]  Je souligne également que la réticence de la juge Gauthier à qualifier le Champion 90 de patin monté ne semble pas s’appliquer à la demande de brevet 272, qui, selon elle, décrit un composant d’une botte montée (aux paragraphes 243 et 244).

[196]  Ainsi, Bauer a obtenu gain de cause dans l’affaire Easton grâce à une preuve différente présentée à l’appui d’une cause d’action différente.

VI.  Conclusion

[197]  Pour ces motifs, l’action de Bauer est rejetée. La demande reconventionnelle de CCM est accueillie, et les revendications 1 et 5 (liée à la revendication 1) du brevet de Bauer sont déclarées invalides.

[198]  Conformément à la pratique habituelle dans ce type de cause, la question des dépens est différée et les parties sont invitées à présenter des observations à cet égard.


JUGEMENT DANS LE DOSSIER T-546-12

LA COUR REND LE JUGEMENT SUIVANT :

1.  L’action de la demanderesse est rejetée.

2.  La demande reconventionnelle de la défenderesse est accueillie.

3.  Les revendications 1 et 5 (liée à la revendication 1) du brevet canadien no 2 214 748 sont invalides.

4.  La question des dépens est différée.

5.  Dans les 30 jours suivant la délivrance du présent jugement, la défenderesse doit signifier et déposer ses observations concernant les dépens, d’une longueur maximale de 30 pages.

6.  Dans les 15 jours suivant la réception des observations de la défenderesse, la demanderesse doit signifier et déposer ses observations en réponse concernant les dépens, d’une longueur maximale de 30 pages.

« Sébastien Grammond »

Juge


COUR FÉDÉRALE

AVOCATS INSCRITS AU DOSSIER


 

Dossier :

T-546-12

INTITULÉ :

BAUER HOCKEY LTD. c SPORT MASKA INC. FAISANT AFFAIRE SOUS LE NOM DE CCM HOCKEY

LIEU DE L’AUDIENCE :

Montréal (Québec)

DATE DE L’AUDIENCE :

Le 3 février – 12 MARS 2020

JUGEMENT ET MOTIFS :

LE JUGE GRAMMOND

DATE DES MOTIFS :

le 15 mai 2020

COMPARUTIONS :

François Guay

Jeremy Want

Jean-Sébastien Dupont

Matthew Burt

Élodie Dion

 

Pour la demanderesse

 

Jay Zakaïb

Frédéric Lussier

Erin Creber

Alexander Camenzind

Cole Meagher

Pour la défenderesse

 

AVOCATS INSCRITS AU DOSSIER :

Smart & Biggar

Avocats

Montréal (Québec)

Pour la demanderesse

 

Gowling WLG (Canada) S.E.N.C.R.L., s.r.l.

Avocats

Ottawa (Ontario)

Pour la défenderesse

 

 

 Vous allez être redirigé vers la version la plus récente de la loi, qui peut ne pas être la version considérée au moment où le jugement a été rendu.