Décisions de la Cour fédérale

Informations sur la décision

Contenu de la décision

 

Cour fédérale

 

Federal Court

 

 

 


Date : 20101126

Dossier : T-1108-07

Référence : 2010 CF 1191

[TRADUCTION FRANÇAISE CERTIFIÉE, NON RÉVISÉE]

Ottawa (Ontario), le 26 novembre 2010

En présence de Monsieur le juge Mandamin

 

 

ENTRE :

 

GLASTON SERVICES LTD.  OY

 

 

 

demanderesse

 

et

 

 

 

HORIZON GLASS & MIRRORS LTD. ET SHANGHAI NORTHGLASS TECHNOLOGY & INDUSTRY CO., LTD.

 

 

 

 

défenderesses

 

 

 

 

           MOTIFS DU JUGEMENT ET JUGEMENT

 

Introduction

[1]               La demanderesse, Glaston Services Ltd. Oy (Glaston), introduit la présente action en justice contre les défenderesses, Horizon Glass & Mirror Ltd. (Horizon Glass) et Shanghai Northglass Technology & Industry Co., Ltd. (Shanghai Northglass), pour contrefaçon de deux brevets portant sur le traitement du verre, les brevets canadiens numéros 1,308,257 (le brevet 257) et 2,146,628 (le brevet 628).

 

[2]               Glaston est une société finlandaise qui est propriétaire des brevets 257 et 628 portant sur un appareil et une méthode de cintrage et de trempe des feuilles de verre.

 

[3]               Horizon Glass est une société de l’Ontario ayant comme objet la fabrication de produits en verre et de produits de miroir. Shanghai Northglass est une société chinoise, fournisseur de machines de traitement du verre.

 

[4]               Glaston soutient que Shanghai Northglass a contrefait et a incité Horizon Glass à contrefaire le brevet 257 et de brevet 628 de Glaston en vendant, en installant et en mettant en service une chaîne  de production de cintrage et de trempe du verre dans les locaux de Horizon Glass, à Toronto.

 

[5]               Horizon Glass a fait cession de ses biens et n’a pas présenté de défense dans la présente instance. Shanghai Northglass n’était pas représentée par avocat et a demandé à la Cour l’autorisation d’être représentée par un représentant d’affaires, ce qui lui a été refusée. Aucune des défenderesses n’a déposé de défense à la Cour.

 

[6]               Glaston cherche à obtenir un jugement dans le cadre de la présente action non contestée.

 

Contexte

Les parties

[7]               La demanderesse Glaston est une société constituée selon les lois de la Finlande. Son bureau principal est situé au 5, rue Vehmaistenkatu, 33730, à Tampere, en Finlande. Il s’agit d’un fournisseur de machines utilisées dans la production de verre architectural, de verre destiné aux appareils électroménagers et à l’industrie automobile.

 

[8]               Glaston est la propriétaire des brevets 257 et 628. Voici le cheminement du droit de propriété des deux brevets :

 

§         Le 1er septembre 1987, les inventeurs nommés du brevet 257, Pauli Tapani Reunamaki et Jouko Kalevi Jarvinen, ont cédé leurs droits dans l’invention visée par le brevet 257 à O/Y Kyro A/B Tamglass;

§         Le 2 septembre 1987, O/Y Kyro A/B Tamglass a déposé une demande pour le brevet 257;

§         Le 9 novembre 1988, O/Y Kyro A/B Tamglass a changé son nom pour O/Y Kyro A/B;

§         Le 28 décembre 1988 O/Y Kyro A/B a transféré ses actifs à Tamglass Oy, y compris ses droits relatifs à la demande pour le brevet 257;

§         Le 19 mai 1989, O/Y Kyro A/B a signé une confirmation de cession à Tamglass Oy de ses droits relatifs à la demande pour le brevet 257;

§         Le 16 octobre 1992, Tamglass Oy a cédé ses droits relatifs à la demande pour le brevet 257 à Tamglass Engineering Oy;

§         Le 27 mars 1995, l’inventeur nommé du brevet 628, Esko Lehto, a cédé ses droits dans l’invention visée par le brevet 628 à Tamglass Engineering Oy;

§         Le 7 avril 1995, Tamglass Engineering Oy a déposé une demande pour le brevet 628;

§         Le 5 mars 1998, Tamglass Engineering Oy a changé son nom pour Tamglass Ltd Oy;

§         Le 12 mars 1998, Tamglass Ltd Oy a changé son nom pour Tamglass Ltd. Oy;

§         Le 2 juillet 2007, Tamglass Ltd. Oy a changé son nom pour Glaston Services Ltd. Oy.

 

[9]               Le bureau principal de la défenderesse Shanghai Northglass est situé au 14, A-district, Songjiang Science & Technology Zone, à Shanghai, en Chine. Shanghai Northglass est une coentreprise du groupe North Glass, dont Luoyang North Glass Technology Co. Ltd. est membre. Shanghai Northglass est un fournisseur de machines utilisées dans le traitement du verre, et elle est aussi connue sous le nom de Shanghai North Glass Technology Industrial Co., Ltd.

 

[10]           La défenderesse Horizon Glass est une société de l’Ontario ayant le siège social au 91, boul. Crockford, Unit 9, à Toronto (Ontario), M1R 3B7. Horizon Glass est enregistrée et exerce ses activités sous le nom commercial de Adel Glass & Mirror Products.  Horizon Glass est un fabricant de produits en verre et de produits de miroir pour les revendeurs, pour l’architecture, le secteur des appareils électroménagers et celui de l’automobile ainsi que d’autres  marchés spécialisés.

 

Les procédures

[11]           Le 14 juin 2007, la demanderesse Tamglass Ltd. Oy, maintenant Glaston, a déposé à la Cour fédérale une déclaration faisant valoir que la défenderesse Shanghai Northglass a contrefait son brevet canadien, le brevet 257, et qu’elle a également incité Horizon Glass à contrefaire ledit brevet en vendant, en installant et en mettant en service une chaîne  de production de cintrage et de trempe du verre dans les locaux de Horizon Glass, à Toronto, en Ontario. 

 

[12]           Le 15 juin 2007, la déclaration a été signifiée à Horizon Glass. Le 7 août 2007, Horizon Glass a fait cession de ses biens. Elle n’a jamais déposé de défense.

 

[13]           Le 16 octobre 2007, suivant la Convention de La Haye, l’autorité centrale de la Chine a signifié à Shanghai Northglass la traduction en mandarin de la déclaration. De plus, le 28 mai 2008, le protonotaire Aalto a ordonné que l’ordonnance, la déclaration modifiée en date du 23 juin 2008 ainsi que la traduction exacte en mandarin de ces documents soient signifiées à Shanghai Northglass, ce qui a été fait le 26 juin 2008. La déclaration modifiée ajoute une allégation de contrefaçon du brevet 628. La déclaration modifiée n’a pas été signifiée à Horizon Glass.

 

[14]           Le 10 décembre 2008, la Cour a rejeté une requête présentée par Shanghai Northglass sollicitant d’être représentée par « le directeur de Shanghai North Glass Technology & Industry Co., Ltd. ». La Cour avait déjà refusé le dépôt d’une autre requête de ce genre. Shanghai Northglass a envoyé aux avocats de Glaston quatre prétendues défenses et demandes reconventionnelles. La Cour a refusé leur dépôt. Shanghai Northglass n’a pas désigné d’avocat canadien pour la représenter ni n’a déposé de défense à la Cour fédérale.

 

[15]           En septembre 2009, Glaston a présenté une requête en jugement par défaut contre Shanghai Northglass et a déposé trois affidavits à l’appui. Le premier affidavit est établi par Mme Jaclyn Edgerton et comprend comme pièces jointes la correspondance et les ordonnances visant la signification de la déclaration, de la déclaration modifiée et le défaut de Shanghai Northglass. Le deuxième affidavit est établi par M. Brian Rockefeller, un enquêteur qui a filmé et photographié l’équipement contrefait allégué, et qui a également obtenu des documents concernant l’équipement en cause du syndic de faillite de Horizon Glass. Le troisième affidavit est établi par M. Harri Perämaa, un expert qui a expliqué la technologie et les brevets, et a estimé que l’équipement de Shanghai Northglass et son mode de fonctionnement sont visés par les revendications de chacun des deux brevets de Glaston. Lors de la présentation de la requête en jugement par défaut, le juge Kelen a accordé une injonction interlocutoire et a ordonné un procès d’un jour avec autorisation de verser les affidavits en preuve au procès, dans la mesure où M. Rockefeller et M. Perämaa étaient disponibles pour répondre à des questions.

 

L’art antérieur

[16]           L’industrie automobile est à l’origine de l’évolution du traitement du verre qui a mené aux brevets faisant l’objet de la présente action.

 

[17]           Verre trempé. Avant les années 1960, la plupart des voitures étaient munies de vitres latérales en verre trempé plat. Le trempage est un procédé au cours duquel le verre est chauffé à une température d’environ 650 degrés centigrades, puis refroidi rapidement par soufflage d’air.    Cette technique permet de refroidir le centre du verre de manière plus graduelle qu’en surface. À mesure que la couche centrale du verre refroidit, elle se contracte de manière à « tirer » sur les couches externes et à créer une tension résiduelle de compression le long du plan milieu du verre.  Le procédé de trempe produit ainsi un verre dont la résistance est plusieurs fois supérieure à celle du verre recuit (où le verre est refroidi plus lentement) de même épaisseur. En cas de choc, le verre trempé se fragmente en une multitude de petits éclats. Grâce à ses propriétés, le verre trempé est extrêmement utile dans le domaine de l’automobile. La production de verre trempé cintré offrant des grandes qualités optiques a toujours posé un défi. 

 

[18]           Moulage vertical. Dans les années 1970, les constructeurs automobiles ont commencé à concevoir des véhicules aux formes plus aérodynamiques nécessitant des vitres latérales courbées faites de verre plus mince et offrant un meilleure qualité optique. Dans les années 1960 et 1970, les machines de traitement du verre transportaient les feuilles de verre dans le plan vertical à l’aide de pinces et d’un convoyeur à corde (type corde à linge). Après avoir été chauffées, les feuilles de verre étaient placées entre deux moules complémentaires façonnant le verre sous pression. Après le façonnage du verre, les moules étaient retirés et le verre était refroidi à l’aide d’air soufflé sur la feuille de verre formée. Ces machines de cintrage vertical ne pouvaient produire que de 50 à 100 feuilles de verre par période de huit heures.

 

[19]           Moulage horizontal. Le cintrage du verre dans le plan horizontal était réalisé à l’aide de rouleaux en céramique plutôt que de pinces pour transporter la feuille de verre. Le verre chauffé était comprimé entre les parties supérieure et inférieure d’un moule. Une fois le verre façonné ou cintré, la partie inférieure du moule était abaissée, le verre reposant sur les rouleaux de céramique.  Cette méthode comportait des inconvénients, notamment le coût élevé des rouleaux de céramique, la nécessité de moules pour chaque différente courbure du verre, ainsi qu’une période importante de préparation et d’essai nécessaire à chaque passe de production. 

 

[20]           Rouleaux de moulage horizontal sous pression. On a aussi réalisé la trempe et le cintrage horizontal en faisant passer le feuille de verre chauffée dans des rouleaux supérieurs et inférieurs de formage sous pression. Les rouleaux de formage sous pression, des tiges courbées, étaient fabriqués selon la forme cintrée ou courbée voulue. Le verre était cintré autour d’un axe parallèle au sens de déplacement à mesure de son passage entre les rouleaux supérieurs et inférieurs de formage sous pression. Les rouleaux devaient être ajustés individuellement, voire remplacés, selon chaque type de verre et chaque rayon de courbure désiré. Les rouleaux courbés sont chers à produire et demandent une période importante de préparation et d’essai à chaque passe de production.

 

[21]           Fours de cintrage par gravité. Enfin, dans les fours de cintrage par gravité, le cintrage du verre était réalisé à l’aide de moules annulaires utilisant la gravité et sans presse. Le four contenait un moule et des dispositifs de chauffage sur le dessus. On réglait le chauffage pour cintrer le verre. Plus on chauffait une surface du verre, plus le verre était cintré à cet endroit. Le verre était placé sur le moule annulaire de cintrage à l’intérieur d’un chariot qui se déplaçait dans les chambres de préchauffage, de cintrage et de refroidissement. Le verre n’était pas trempé après le cintrage. Ces fours étaient surtout employés pour produire des pare-brises feuilletés d’automobiles, les feuilles de verre cintrées étant feuilletées pour l’obtention de la résistance et des propriétés de sécurité voulues. Les fours de cintrage par gravité de pare-brises ne conviennent cependant pas à la production de vitres latérales trempées d’automobiles. 

 

Les brevets de Glaston

[22]           Le brevet 257 de Glaston porte sur un appareil et une méthode de cintrage et de trempe des feuilles de verre. Le brevet 257 et l’amélioration apportée par le brevet 628 concernaient une nouvelle méthode de cintrage et de trempe des feuilles de verre. La feuille de verre à cintrer et à tremper, disposée à plat et à l’horizontale, est transportée par un convoyeur (à rouleaux), du four de chauffage à une section de cintrage et de trempe. Une fois que la feuille de verre chauffée est passée dans la section de cintrage et de trempe, le poste s’arque de manière à cintrer le verre chauffé autour d’un axe horizontal dans le sens transversal par rapport au sens de déplacement. De l’air chaud est soufflé sur le verre cintré pour en maintenir la température et augmenter la force de cintrage par gravité. Une fois qu’on a obtenu la courbure voulue, on amorce la trempe en soufflant de l’air frais sur le verre. Tout au long du procédé de cintrage et de trempe, la feuille de verre oscille sur les rouleaux de la section de cintrage et de trempe. À la fin du procédé, la partie supérieure du poste se soulève et sa partie inférieure est replacée à l’horizontale (à plat) de sorte que la feuille de verre cintrée et trempée puisse être transportée à l’écart.    

 

[23]           Avant le brevet 257, aucune machine de traitement du verre n’utilisait de rouleaux oscillants dans une section de cintrage et de trempe. L’oscillation n’avait été employée que dans des machines de trempe à plat. Les machines de cintrage et de trempe du verre antérieures à celle décrite dans le brevet 257 employaient deux moules complémentaires à presse, sans rouleaux, ou des rouleaux de formage sous pression montés sur un appareil en continu dans lequel la feuille de verre se déplaçait continuellement dans la direction avant de manière à former la courbure. En raison de la forme et de l’emplacement des rouleaux de formage sous pression, le cintrage commençait au bord d’attaque de la section de cintrage et le degré de courbure augmentait progressivement autour de l’axe de déplacement au fur et à mesure de l’avance de la feuille de verre. L’oscillation était donc impossible.

 

[24]           Le brevet 257 portait surtout sur la réalisation du cintrage du verre par gravité. Le brevet 628 a permis d’améliorer ce procédé a ajoutant un cintrage mécanique sous pression, ce qui a permis de réduire le temps de cintrage et de réaliser le traitement à des températures plus basses et plus constantes. Cela devait permettre d’améliorer la qualité optique du verre.

 

[25]           La méthode de cintrage et de trempe du verre décrite dans les brevets 257 et 628 dépasse les limites existant dans d’autres procédés antérieurs. La méthode et l’appareil ne nécessitent pas des moules ou des jeux de rouleaux différents pour chaque forme du verre. Le fabricant de vitres peut donc passer d’une production de vitres donnée à celles d’autres vitres en effectuant seulement des réglages assez simples. L’appareil de Glaston est attrayant pour les petits fabricants, mais il est aussi employé par les grands fabricants en raison de sa facilité d’utilisation et de la qualité du verre qu’il permet de produire.

 

Les faits

[26]           La demande au Canada pour le brevet 257 a été déposée le 2 septembre 1987, soit avant le 1er octobre 1989, et le brevet a été délivré le 6 octobre 1992. Le brevet 628 a été déposé le 7 avril 1995, soit après le 1er octobre 1989, date servant à distinguer la durée d’un brevet suivant les articles 44 et 45 de la Loi sur les brevets, L.R.C. 1985, ch. P-4 (la Loi).

 

[27]           Au moyen d’une preuve non contestée produite par voie d’avis demandant l’admission des faits, Glaston a établi les faits saillants énoncés dans les paragraphes qui suivents.

 

[28]           Horizon Glass a convenu d’acheter et Shanghai Northglass a convenu de fabriquer et de vendre l’équipement de traitement du verre appelé « Horizontal Roller Hearth Reversible-Direction Flat/Bent Glass Tempering Furnace Model No. SNG-12B3617 (4-19mm) » (la machine de North Glass) conformément à un accord écrit d’achat et de vente en date du 6 octobre 2005 conclu entre Horizon Glass et Shanghai Northglass (le contrat). Le prix contractuel de la machine de North Glass était de 405 000 $US.

 

[29]           Shanghai Northglass a fabriqué la machine de North Glass en Chine. Après la livraison de la machine aux locaux de Horizon Glass à Toronto, Shanghai Northglass l’a installée et a effectué des essais d’acceptation pour s’assurer qu’elle fonctionnait correctement. Shanghai Northglass a également donné une formation au personnel de Horizon Glass sur le fonctionnement de la machine.

 

[30]           Des techniciens de Shanghai Northglass ont installé et mis en service la machine de North Glass aux locaux de Horizon Glass, ont effectué des essais d’acceptation et ont formé les employés sur le fonctionnement de l’équipement.

 

[31]           La structure et la fonction de la machine de North Glass sont décrites dans les documents suivants :

 

a)  La partie deux du contrat du 6 octobre 2005 intitulée « Technical Contract » (Contrat technique);

b)  Le manuel intitulé « Glass Tempering System Technical Manual CA51047-12B3617 » (Manuel technique pour le système de trempe du verre).

 

[32]           Shanghai Northglass met toujours en vente des équipements semblables à la machine de North Glass.

 

Questions en litige

[33]           Le paragraphe 210(4) des Règles des Cours fédérales, DORS/98-106, prévoit que sur réception d’une requête en jugement par défaut, la Cour peut ordonner « que l’action soit instruite et que le demandeur présente sa preuve comme elle l’indique ».

 

[34]           Vu la requête de Glaston en jugement par défaut, le juge Kelen a ordonné que l’action soit instruite en vertu du paragraphe 210(4) des Règles des Cours fédérales et a défini ainsi les questions litigieuses :

§         Le défaut de Shanghai Northglass et de Horizon Glass;

§         La validité du brevet 257 et du brevet 628;

§         L’interprétation des revendications 1 à 3, 7, 12, 14 et 15 du brevet 257 et des revendications 1 à 3, 5 et 6 du brevet 628;

§         La contrefaçon par Shanghai Northglass des revendications du brevet 257 et du brevet 628;

§         L’incitation de la défenderessse Horizon Glass à contrefaire les revendications du brevet 257 et du brevet 628;

§         Les dépens.

 

[35]           Le juge Kelen a ordonné en outre que la question des dommages‑intérêts soit tranchée par renvoi à un protonotaire advenant une conclusion de responsabilité au procès.

 

Analyse

Défaut

[36]           La juge Snider a décrit dans Louis Vuitton Malletier S.A. c. Lin, 2007 CF 1179, au par. 4, l’approche qu’il convient d’adopter et le critère applicable dans le cas d’une requête en jugement par défaut :

Lorsqu’il s’agit d’une requête en jugement par défaut et qu’aucune défense n’a été déposée, toutes les allégations formulées dans la déclaration doivent être tenues pour niées. Le demandeur doit d’abord établir que la déclaration a été signifiée au défendeur et que ce dernier n’a pas déposé de défense dans le délai prévu à l’article 204 des Règles des Cours fédérales, DORS/98‑106 (les Règles). Les preuves présentées doivent permettre à la Cour de décider, par prépondérance de la preuve, s’il y a eu contrefaçon au sens de la loi qui s’applique [...].

 

[37]           Glaston a établi au regard des faits énoncés ci‑dessus, qui ne sont pas contestés, que la déclaration a été signifiée aux défenderesses Shanghai Northglass et Horizon Glass, et que la déclaration modifiée a été signifiée à Shanghai Northglass. Ni Shanghai Northglass ni Horizon Northglass n’ont déposé de défense à la Cour fédérale.

 

Témoin expert

[38]           Pour décrire les brevets 257 et 628, j’ai recouru à la preuve d’expert de M. Harri Ensio Perämaa présentée dans son affidavit et son témoignage. Lors de l’instruction, j’ai de manière générale accepté M. Perämaa à titre d’expert en génie mécanique et plus précisément à titre d’expert en technologie de cintrage et de trempe du verre.

 

[39]           Dans l’arrêt R. c. Mohan, [1994] 2 R.C.S. 9, 29 C.R. (4th) 243, la Cour suprême a conclu que l’admission de la preuve d’expert repose sur la pertinence, la nécessité d’aider le juge des faits, l’absence de toute règle d’exclusion et la qualification suffisante de l’expert.

 

[40]           M. Perämaa possède une vaste expérience dans le domaine d’expertise pertinent. De 1984 à 1989, M. Perämaa a travaillé au service de recherche et développement de Tamglass Engineering Oy en qualité d’ingénieur en recherche et développement dans le domaine du cintrage et de la trempe du verre. Il a participé au perfectionnement d’un four de trempe horizontal, d’une machine pour système horizontal de trempe, puis, plus tard, d’un système horizontal de cintrage et de trempe. Pour ce qui touche le système horizontal de cintrage et de trempe, son travail consistait à élaborer et à concevoir des pièces mécaniques de la section de cintrage.

 

[41]           M. Perämaa a aussi travaillé à la conception et au perfectionnement d’une machine de trempe et de renforcement à la chaleur et est un des inventeurs mentionnés dans des brevets concernant cette machine.

 

[42]           De 1989 à 1992, M. Perämaa a travaillé en qualité de consultant en installation en usine, de superviseur d’installation et de directeur de projet dans le cadre de projets outremer pour le compte de Tamglass Engineering Oy. Son travail consistait principalement à installer et à régler des machines de cintrage et de trempe du verre. En 1992, il a quitté Tamglass pour entrer au service de National Glass and Mirrors en Arabie saoudite en qualité de directeur d’usine jusqu’en 1994. Depuis ce temps, M. Perämaa a œuvré au sein de différentes sociétés spécialisées dans le verre en Afrique du Nord et dans la péninsule arabique, en tant que consultant, directeur de projet et investisseur.

 

[43]           Si je comprends bien, M. Perämaa a participé de près, en tant qu’ingénieur, à la conception de la machine de trempe et de cintrage du verre dont il est ici question. Jusqu’à maintenant, il a continué à mettre à profit son expertise d’ingénieur dans le domaine de la fabrication du verre. Je considère que son expertise est pertinente et sera utile pour m’aider à comprendre l’objet, l’interprétation et l’historique des brevets 257 et 628 et à interpréter les revendications en litige dans la présente cause.

 

Les brevets

[44]           S’agissant des caractéristiques pertinentes des brevets de Glaston, celles-ci ont été présentées dans la preuve déposée par M. Perämaa et attestées comme suit par ce dernier :

1.                  Le brevet 257 : Le brevet 257 est intitulé « Method of and Apparatus for Bending and Tempering Glass Sheets » (Méthode et appareil de pliage et de trempage des feuilles de verre). La demande pour le brevet 257 a été déposée au Canada le 12 septembre 1987. Le brevet 257 a été délivré et publié le 6 octobre 1992.

 

2.                  Le brevet 257 présente une nouvelle méthode et un nouvel appareil pour produire du verre trempé cintré de haute qualité optique. Le brevet 257 contient une brève description de la conception et du fonctionnement de toute la chaîne de cintrage et de trempe, dont fait partie la section de cintrage et de trempe proprement dite (3).

 

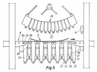
L’appareil comprend une section de chargement 1, un four de chauffage 2, une section de cintrage et de trempe 3, une section de postrefroidissement ou de recuit 4 et une section de déchargement 5. Chacune des sections et le four de chauffage sont munis de convoyeurs qui se composent de rouleaux horizontaux se prolongeant transversalement par rapport au sens de déplacement, nommément un convoyeur de section de chargement 6, un convoyeur de four 7, un convoyeur intermédiaire 8 à l’extrémité aval du four, un convoyeur de section de cintrage et de trempe 9, un convoyeur de section de recuit 10 et un convoyeur de section de déchargement 11.

 

3.                  Selon la méthode, une feuille de verre à cintrer et à tremper est déplacée de gauche à droite sur la chaîne. Dans le four de chauffage, la feuille de verre se déplace sur le convoyeur en oscillant de façon que le mouvement d’oscillation vers l’avant est plus long que le mouvement de retour, de sorte que la feuille avance. Lorsque la feuille entre dans la section de cintrage et de trempe de la chaîne, la section de cintrage et de trempe (et la feuille de verre) est à plat et à l’horizontale comme le montre la figure 3 ci-dessous.  

 

 

 

 

 

 

 

4.                  Ensuite, la section se plie en arc (voir la figure 4 ci-dessous). Une fois la courbure voulue obtenue, on amorce la trempe en soufflant de l’air frais sur le verre. Pendant le procédé de cintrage et de trempe, la feuille de verre oscille de gauche à droite sur les rouleaux de la section de cintrage et de trempe, autour de l’axe de courbure dans le sens transversal par rapport au sens de déplacement (dans la figure 4, l’axe sort tout droit de la page).    

 

 

 

 

 

 

 

 

 

 

 

 

 


5.                  À la fin du procédé de cintrage et de trempe, la partie supérieure de la section se soulève et sa partie inférieure est replacée à l’horizontale de sorte que la feuille de verre cintrée et trempée puisse être transportée à l’écart (vers la droite comme le montre la flèche à la figure 5 ci-dessous).

 

 

6.                  Le brevet 628 : Le brevet 628 est intitulé « Bending and Tempering Station for Glass Sheets » (Poste de cintrage et de revenu (sic) du verre en feuille). La demande du brevet 628 a été déposée au Canada le 7 avril 1995 et a été mis à la disposition du public le 27 octobre 1995. Le brevet 628 a été délivré le 20 décembre 2005. Le brevet 628 concerne une amélioration au brevet 257.

 

7.                  Comme indiqué dans la divulgation du brevet 628, le brevet 257 porte sur un appareil de cintrage (pliage) et de trempe (trempage) d’une feuille de verre dans lequel le cintrage du verre s’effectue par gravité. Même si l’appareil décrit dans le brevet 257 permet de réduire la nécessité de surchauffer le verre, il est parfois nécessaire de chauffer le verre à une température supérieure à la température de trempe afin de compenser les déperditions calorifiques se produisant pendant le cintrage. Cette augmentation de la température peut créer des erreurs optiques dans le produit final.

 

8.                  Le brevet 628 permet de réduire davantage la nécessité de surchauffe du verre en remplaçant l’appareil de cintrage par gravité par le cintrage par presse mécanique où les rouleaux-presseurs supérieurs agissent sur le verre pendant son cintrage.  L’utilisation de rouleaux-presseurs permet de cintrer la feuille de verre plus rapidement, ce qui réduit la déperdition calorifique avant la trempe; le verre peut initialement être chauffé à une température inférieure, ce qui permet d’obtenir une qualité optique supérieure. Par exemple, cette technique est avantageuse pour le cintrage de verre mince sur lequel la gravité a moins d’effet sur le cintrage comparativement à celui qu’elle a sur du verre plus épais. La technique a aussi des avantages pour le cintrage de verre formé, comme celui utilisé pour les vitres de voitures sport, sur lequel la gravité a des effets de cintrage irréguliers.

 

9.                  Selon les figures 2A, 2B et 3 ci-dessous, le fonctionnement de l’appareil est décrit comme suit. 

 

Comme le montre la FIG. 2A, lorsque la feuille de verre arrive à la section de cintrage et de trempe, les rouleaux-presseurs 11 sont à leur position relevée, juste un peu au-dessus de la surface du verre, ou ils peuvent être légèrement en contact avec celle-ci. Lorsque la feuille de verre se trouve complètement à l’intérieur de la section de cintrage (FIG. 2B), le cintrage commence. Une force voulue et réglable vers le bas est appliquée simultanément sur les rouleaux-presseurs 11 de sorte que la feuille de verre s’adapte aux rouleaux 4 du convoyeur de flexion. Cependant, la feuille de verre oscille en va-et-vient pendant le cintrage. Dans le cas montré, les rouleaux-presseurs 11 et les rouleaux 4 du convoyeur se trouvent les uns au-dessus des autres; dans la position abaissée  des rouleaux 11, la distance est légèrement inférieure à l’épaisseur de la feuille de verre à cintrer. Lorsque le bord d’attaque de la feuille de verre arrive entre les rouleaux 4 et les rouleaux 11, les rouleaux se soulèvent légèrement contre la force exercée par le ressort pneumatique 17.

La FIG. 3 montre une situation dans laquelle la feuille de verre a subi un certain cintrage. Lorsque la feuille de verre a été cintrée à la valeur voulue, la trempe par jet d’air commence alors que la feuille de verre continue d’osciller entre les rouleaux 4 et les rouleaux 11. Lorsque l’opération de trempe se termine, les rouleaux-presseurs supérieurs 11 se soulèvent et reviennent à leur position relevée. Ainsi, la position abaissée des rouleaux 11 est une position de travail, tandis que la position relevée est une position de repos.

 

Interprétation des brevets

[45]           Dans Bristol-Myers Squibb Canada Co. c. Apotex, 2009 CF 137, [2009] 243 F.T.R. 161, le juge Hugues a résumé comme suit la jurisprudence applicable concernant l’interprétation des revendications :

37     La Cour suprême du Canada a donné pour directive au tribunal d’interpréter en premier lieu les revendications en cause avant de se pencher sur l’examen des questions relatives à la validité ou à la contrefaçon de ces revendications, l’objectif étant de déterminer les éléments qui, selon l’inventeur, sont essentiels dans les revendications. Selon le juge Binnie s’exprimant au nom de la Cour dans l’arrêt Whirlpool Inc. c. Camco Inc., [2000] 2 R.C.S. 1067, aux par. 42 à 50, les principes d’interprétation téléologique doivent s’appliquer par souci d’équité envers le titulaire du brevet et le public. Je reproduis en partie les par. 43 et 45 de l’arrêt :

 

43  Dans des poursuites en matière de brevet, la première étape consiste donc à interpréter les revendications. L’interprétation des revendications précède l’examen des questions de validité et de contrefaçon. Les appelantes font valoir que ces deux examens – celui de la validité et celui de la contrefaçon – sont distincts, et que si les principes d’« interprétation téléologique » découlant de l’arrêt Catnic doivent être adoptés, leur application doit être limitée aux questions de contrefaçon. Les appelantes affirment que les principes d’« interprétation téléologique » n’ont aucun rôle à jouer dans la détermination de la validité et que leur application erronée est fatale au jugement qui fait l’objet du présent pourvoi.

[…]

 

45  L’interprétation téléologique repose donc sur l’identification par la cour, avec l’aide du lecteur versé dans l’art, des mots ou expressions particuliers qui sont utilisés dans les revendications pour décrire ce qui, selon l’inventeur, constituait les éléments « essentiels » de son invention.

 

38     Le brevet 288 est régi par les dispositions de l’ancienne Loi sur les brevets, et doit donc être interprété par la Cour en date de sa délivrance, soit le 31 mars 1992, du point de vue d’une personne versée dans l’art, assistée en cela, le cas échéant, par le témoignage des experts quant à la signification de certains termes et aux connaissances que la personne versée dans l’art est censée posséder à la date du procès. Comme l’a dit la juge Sharlow, au nom de la Cour d’appel fédérale, au par. 4 de Novopharm Limited c. Janssen-Ortho Inc., (2007), 59 C.P.R. (4th) 116, 2007 CAF 217, relativement à l’ancienne Loi sur les brevets :

4   Chaque fois que la validité ou la contrefaçon d’un brevet est en question, il y a nécessité d’interpréter la revendication : Whirlpool Corp. c. Camco Inc., [2000] 2 R.C.S. 1067, au paragraphe 43. La date pertinente pour l’interprétation du brevet 080 est la date de sa délivrance, soit le 23 juin 1992. Il faut comprendre le brevet comme destiné à une personne versée dans l’art dont il relève et en tenant compte des connaissances qu’une telle personne est censée posséder à la date pertinente. L’interprétation du brevet appartient à la Cour; elle doit se fonder sur l’ensemble de l’exposé de l’invention et de la revendication, lus à la lumière de témoignages d’experts concernant la signification de certains termes et les connaissances que la personne versée dans l’art est censée posséder à la date pertinente.

 

[46]           La juge Laydon-Stevenson, maintenant juge à la Cour d’appel fédérale, avait déjà expliqué le raisonnement quant à l’interprétation téléologique dans Canamould Extrusions Ltd. c. Driangle Inc., 2003 FCT 244, confirmée dans  2004 CAF 63 (Canamould), aux par. 31 à 33 :

31     Avant d’examiner les questions de validité et de contrefaçon, il faut interpréter le brevet. Pour ce faire, il convient de se reporter au jour de sa publication. La Loi sur les brevets, L.R.C. 1985, ch. P-4 (la Loi), et une interprétation en fonction de l’objet (ou interprétation téléologique) favorisent le respect de la teneur des revendications, ce qui favorise à son tour tant l’équité que la prévisibilité. En énonçant la portée du monopole, les revendications servent d’avis au public pour qu’il sache jusqu’où il peut aller en toute impunité. La teneur d’une revendication doit être interprétée de façon éclairée et en fonction de l’objet. On ne doit interpréter les revendications ni littéralement ni sur la base de notions imprécises telles que l’« esprit de l’invention ». Plus on recherche l’« esprit » et l’« essentiel » de l’invention, moins les revendications remplissent leur fonction à l’égard du public. Les brevets sont, au sens de la Loi d’interprétation, L.R.C. 1985, ch. I -21, des « règlements » et, à ce titre, ils méritent d’être interprétés de la façon qui est le plus susceptible d’assurer l’atteinte de leurs objectifs. L’interprétation de l’intention de l’inventeur manifestée dans la revendication du brevet doit être celle d’une personne versée dans l’art dont relève l’invention. La personne ordinaire versée dans l’art particulier dont relève le brevet n’est ni un grammairien ni un étymologiste et elle ne se livre pas à une analyse minutieuse et verbale du document.

 

32     L’article 27 de la Loi régit le contenu des mémoires descriptifs. En contrepartie du monopole, l’inventeur a l’obligation de divulguer son invention. Il n’est pas obligé de revendiquer un monopole sur tous les éléments nouveaux, ingénieux et utiles divulgués dans le mémoire descriptif. La règle habituelle est que l’inventeur renonce à tout ce qui n’est pas revendiqué. On peut tenir compte du mémoire descriptif pour comprendre la signification d’un mot utilisé dans une revendication, mais pas pour augmenter ou diminuer la portée de la revendication telle qu’elle est libellée et donc comprise. Les revendications et la divulgation doivent être interprétées avec un esprit désireux de comprendre. On doit interpréter les mots choisis par l’inventeur conformément au sens que celui‑ci voulait leur donner et de façon à favoriser l’atteinte de son objectif, que le libellé des revendications l’ait exprimé expressément ou tacitement. Cela étant, si l’inventeur s'est mal exprimé ou a autrement créé une limitation non nécessaire causant des difficultés, il ne peut s’en prendre qu’à lui‑même. Le public est en droit de se fonder sur les termes utilisés pour autant qu’il les interprète de façon juste et informée.

 

33     Pour interpréter une revendication de façon éclairée et en fonction de l’objet, il faut distinguer les éléments essentiels de la revendication de ceux qui ne sont pas essentiels. Il n’y a pas contrefaçon si un élément essentiel est différent ou omis. Il peut cependant y avoir contrefaçon s’il y a remplacement ou omission d’éléments non essentiels. Un élément est réputé non essentiel et remplaçable soit (i) si, suivant une interprétation téléologique des termes employés dans la revendication, l’inventeur n’a manifestement pas voulu qu’il soit essentiel, soit (ii) si, à la date de la publication du brevet, le destinataire versé dans l’art aurait constaté qu’un élément donné pouvait être substitué sans que cela ne modifie le fonctionnement de l’invention, c’est‑à‑dire que, si le travailleur versé dans l’art avait alors été informé de l’élément décrit dans la revendication et de la variante et [traduction] « qu’on lui avait demandé de déterminer si la variante pouvait manifestement fonctionner de la même manière », sa réponse aurait été affirmative.

 

[47]           Le brevet 257 comporte 15 revendications et Glaston en fait valoir 7 : les revendications relatives à la méthode 1 à 3 et 15, et les revendications relatives à l’appareil 7, 12 et 14. Il s’agit des revendications en litige suivant l’ordonnance du juge Kelen. Voici ces revendications énoncées dans le brevet 257 :

[traduction]

Revendications relatives à la méthode :

1.         Une méthode de cintrage d’une feuille de verre à tremper comprenant les étapes suivantes :

-  le transport de la feuille de verre sur des rouleaux horizontaux

-  le chauffage de la feuille de verre pour le cintrage et la trempe

-  le cintrage de la feuille de verre chauffée autour d’un axe de courbure transversal au sens de déplacement

-  l’exécution de la trempe de la feuille de verre cintrée alors que la feuille de verre se déplace en va-et-vient ou oscille sur les rouleaux qui la transportent.

Ledit cintrage autour d’un axe de courbure transversal au sens de déplacement s’effectue simultanément et à une vitesse à peu près identique sur toute la surface de la feuille de verre, alors que ladite feuille de verre se déplace sur les rouleaux qui la transportent.

 

2.         Une méthode de cintrage d’une feuille de verre à tremper comprenant les étapes suivantes :

-  le transport de la feuille de verre sur des rouleaux horizontaux

-  le chauffage de la feuille de verre pour le cintrage et la trempe

-  le cintrage de la feuille de verre chauffée autour d’un axe de courbure transversal au sens de déplacement

-  l’exécution de la trempe de la feuille de verre cintrée alors que la feuille de verre se déplace en va-et-vient ou oscille sur les rouleaux qui la transportent.

Ledit cintrage autour d’un axe de courbure transversal au sens de déplacement s’effectue par flexion en arc d’une chaîne de rouleaux de convoyeur sur au moins la distance correspondant à la longueur accrue de son déplacement oscillant, de façon qu’au début du plan horizontal le plan des rouleaux s’incurve selon un rayon de courbure qui diminue continuellement jusqu’à l’obtention du rayon de courbure final souhaité; pendant le procédé de courbure, la tangente de la portion médiane de la section incurvée du convoyeur est maintenue en gros dans un plan horizontal. 

 

3.         Une méthode telle que décrite dans la revendication 2,

Dans laquelle le plan incurvé de la chaîne de rouleaux du convoyeur reprend sa position à plat après la trempe, mais avant la sortie de la feuille de verre cintrée et trempée de la section de cintrage et de trempe.

 

15.       Une méthode de cintrage d’une feuille de verre à tremper comprenant les étapes suivantes :

-  le transport de la feuille de verre sur des rouleaux horizontaux

-  le chauffage de la feuille de verre pour le cintrage et la trempe

-  le cintrage de la feuille de verre chauffée autour d’un axe de courbure transversal au sens de déplacement

-  l’exécution de la trempe de la feuille de verre cintrée alors que la feuille de verre se déplace en va-et-vient ou oscille sur les rouleaux qui la transportent.

Et suivant laquelle la feuille de verre est transportée sur un convoyeur à rouleaux de la section de cintrage et de trempe, cette section étant à plat, et dans laquelle le convoyeur à rouleaux à plat est incurvé ou fléchi en arc de cercle autour de l’axe de courbure transversal au sens de déplacement alors que se déplace la feuille de verre, l’opération de courbure dudit transporteur étant arrêtée et le soufflage d’air de refroidissement commençant sur les deux surfaces de la feuille de verre alors qu’un mouvement d’oscillation de ladite feuille de verre continue au moyen des rouleaux dudit convoyeur à rouleaux incurvés.

 

Revendications relatives à l’appareil :

7.         Un appareil de cintrage et de trempe de feuilles de verre se composant d’une section de chargement (1), d’un four de chauffage (2), d’une section de cintrage et de trempe (3) et d’une section de déchargement (5), de dispositifs de chauffage (12) dans le four pour chauffer les feuilles de verre, de dispositifs de refroidissement (13) dans la section de cintrage et de trempe pour la trempe d’une feuille de verre cintrée, de convoyeurs à rouleaux (6 à 11) constitués de rouleaux horizontaux pour le transport des feuilles de verre de la section de chargement (1) à la section de déchargement (15), en passant par le four (2) et la section de cintrage et de trempe (3), de dispositifs d’entraînement (M1, M2) des convoyeurs à rouleaux, adaptés pour imprimer un mouvement d’oscillation au moins au convoyeur à rouleaux (9) de la section de cintrage et de trempe, les rouleaux (9a) dudit convoyeur à rouleaux (9) de la section de cintrage et de trempe étant portés par des supports (21, 22) reliés aux maillons (9b) et des leviers (31) étant raccordés pour former une poutre de soutien qui s’allonge dans le sens du déplacement par variation de l’angle entre les supports individuels (21, 22) de ladite poutre de soutien au moyen des leviers (31) et des vérins de manoeuvre (28).

 

12.              Un appareil tel que décrit dans la revendication 7,

Dans lequel ledit convoyeur à rouleaux (9) susmentionné à incurver est muni d’un ensemble incurvé de dispositifs de soufflage d’air (13), lequel ensemble de dispositifs de soufflage d’air pouvant être relevé et abaissé en un tout, et, dans la position abaissée, la courbure dudit ensemble incurvé étant adaptée à la courbure de ladite chaîne du convoyeur et, dans la position relevée, ledit ensemble incurvé étant adapté pour prendre une courbure correspondant en gros à la courbure maximale du convoyeur (9).

 

14.              Un appareil tel que décrit dans la revendication 7,

Dans lequel lesdits dispositifs de soufflage d’air (13a) en dessous du convoyeur sont montés de manière à pivoter avec les supports (21, 22) du convoyeur (9).

 

[48]           Le brevet 628 comporte 7 revendications et Glaston en fait valoir 5 : les revendications 1 à 3, 5 et 6. Ces revendications telles qu’énoncées dans le brevet 628 sont les suivantes :

               [traduction]

1.         Un poste de cintrage et de trempe de verre en feuilles se composant d’un convoyeur à rouleaux (3) dans lequel la position relativement verticale des rouleaux (4) est réglable pour incurver le convoyeur selon un rayon de courbure correspondant à la valeur de cintrage voulue, les boîtiers de trempe inférieurs (5) ayant des surfaces supérieures (9) percées d’orifices de trempe (6), et les boîtiers de trempe supérieurs (7) ayant des surfaces inférieures (10) percées d’orifices de trempe (8), et les boîtiers de trempe (5, 7) étant mobiles pour faire en sorte que les surfaces inférieures et supérieures puissent correspondre à la courbure du convoyeur (3); des rouleaux-presseurs (11) sont montés sur les boîtiers de trempe supérieurs (7), ces rouleaux (11) pouvant se déplacer entre une position supérieure de repos et une position inférieure de travail et étant retenus fermement dans cette position abaissée par la force d’un ressort.

2.         Un poste de cintrage et de trempe tel que décrit dans la revendication 1, et dans lequel ledit ressort pneumatique est un vérin pneumatique (17).

3.         Un poste de cintrage et de trempe tel que décrit dans la revendication 2, dans lequel ledit ressort pneumatique est un vérin pneumatique (17) servant à amener le rouleau (11) de la position de repos à la position de travail.

5.         Un poste de cintrage et de trempe tel que décrit dans l’une des revendications 1 à 4, et dans lequel  les rouleaux (11) sont déplacés à la position de travail après que la feuille de verre à cintrer provenant d’un four (1) sur le convoyeur (3) se trouve sous les rouleaux (11).

6.                  Un poste de cintrage et de trempe tel que décrit dans l’une des revendications 3 à 5, lequel comporte une pluralité de rouleaux-presseurs (11) montés sur un essieu horizontal commun (13) et se déplaçant en va-et-vient sous l’effet d’un vérin pneumatique (17).

 

Une personne versée dans l’art

[49]           Un brevet doit être considéré du point de vue d’une personne versée dans l’art. Dans ce cas-ci, le domaine d’expertise est celui du cintrage et de la trempe du verre. M. Perämaa a témoigné qu’une personne versée dans l’art dans le domaine du cintrage et de la trempe du verre serait une personne participant à la conception et au perfectionnement de machines de cintrage et de trempe du verre. Cette personne devrait connaître les propriétés mécaniques du verre et posséder des antécédents en génie mécanique et de l’expérience dans la production automatisée de verre. Sans contredit, M. Perämaa est une telle personne.

 

[50]           M. Perämaa a témoigné que les termes employés dans les revendications du brevet 257 seraient compris par une « personne ayant des compétences moyennes dans le domaine » (ce que je comprends comme étant une personne versée dans l’art) et correspondraient aux définitions des termes en génie mécanique. Il a dit que certains termes devaient être précisés davantage, comme suit :

[traduction]

Revendications du brevet 257 relatives à la méthode 

 

Les revendications 1, 2, 3 et 15 concernent une méthode de cintrage de feuilles de verre. Les revendications 1, 2 et 15 sont des revendications indépendantes. La revendication 3 dépend de la revendication 2. Les quatre revendications comprennent les étapes suivantes :

 

-       le transport de la feuille de verre sur des rouleaux

-       le chauffage de la feuille de verre pour le cintrage et la trempe

-       le cintrage de la feuille de verre chauffée autour d’un axe de courbure transversal au sens de déplacement

-       l’exécution de la trempe de la feuille de verre cintrée alors que la feuille de verre se déplace en va-et-vient ou oscille sur les rouleaux qui la transportent

La revendication 1 comprend aussi la limite additionnelle suivante :

 

Ledit cintrage autour d’un axe de courbure transversal au sens de déplacement s’effectue simultanément et à une vitesse à peu près identique sur toute la surface de la feuille de verre, alors que ladite feuille de verre se déplace sur les rouleaux qui la transportent.

À la page 13 de la description est présenté un mode de réalisation permettant le cintrage simultané et uniforme d’une feuille de verre :

 

Dès que le bord d’attaque de la feuille de verre atteint le convoyeur (9), ou un peu avant, le convoyeur (9) commence à courber. En même temps, les buses (35) commencent à souffler de l’air chaud sur la surface supérieure de la feuille de verre. Cela augmente la pression exercée sur ladite surface supérieure et retarde le refroidissement de la feuille de verre. À l’aide de la gravité et de ladite pression de soufflage d’air exercée sur la surface supérieure, le cintrage de la feuille de verre suit la courbure de la chaîne du convoyeur (9) et, simultanément, la feuille de verre avance en direction de l’extrémité en aval de la chaîne du convoyeur (9). On obtient généralement la courbure finale même avant que le convoyeur (9) arrête pour une course de retour. Au besoin, la courbure du convoyeur et le cintrage de la feuille de verre peuvent se poursuivre même pendant une course de retour. Dès qu’on a obtenu la courbure finale, les buses (35) de soufflage d’air chaud cessent de fonctionner et les buses 13 et 13a se mettent en marche pour souffler de l’air froid sur les deux surfaces de la feuille de verre.

Le brevet ne contient pas d’information numérique concernant la signification de « simultanément et à une vitesse à peu près identique sur toute la surface de la feuille de verre ». Toutefois, une personne ayant des compétences moyennes dans le domaine comprendrait que cela signifie qu’une feuille de verre serait cintrée de sorte qu’il n’y aurait pas de déformation dans le verre à la suite du cintrage qui pourrait, selon l’usage prévu du verre, avoir un effet inacceptable sur la qualité optique du verre cintré. À la page 3 du brevet 257, on explique l’avantage du cintrage du verre de cette façon : 

 

À la place, si chaque point d’une feuille de verre peut être cintré simultanément à la même vitesse, le cintrage peut s’effectuer à une température beaucoup plus basse et il est alors possible d’éviter  une augmentation additionnelle de la température du verre, cette hausse de la température étant nécessaire lorsque la vitesse de cintrage est excessivement élevée, ce qui augmente les ondulations et, par le fait même, diminue la qualité optique du verre. Avant la présente invention, ce mode de réalisation était impossible lors du cintrage d’une feuille de verre autour d’un axe de courbure transversal au sens de déplacement.

La revendication 2 ajoute la limite suivante aux étapes de la méthode générale qui porte sur la façon dont la chaîne de rouleaux (chaîne du convoyeur) s’incurve autour de la feuille de verre qu’elle transporte :

 

Ledit cintrage autour d’un axe de courbure transversal au sens de déplacement s’effectue par flexion en arc d’une chaîne de rouleaux de convoyeur sur au moins la distance correspondant à la longueur accrue de la feuille de verre et à la longueur de son déplacement oscillant, de façon qu’au début du plan horizontal, le plan des rouleaux s’incurve selon un rayon de courbure qui diminue continuellement jusqu’à l’obtention du rayon de courbure final souhaité; pendant le procédé de courbure, la tangente de la portion médiane de la section incurvée du convoyeur est maintenue en gros dans un plan horizontal.

L’aspect de la méthode du brevet 257 est représenté ci-dessous :

 

 La tangente de la portion médiane de la chaîne est pratiquement à l’horizontale et l’extrémité en aval de la chaîne est relevée. Par conséquent, la chaîne du convoyeur peut être incurvée même sous un faible rayon de courbure sans que l’angle à l’extrémité en aval de la chaîne soit trop prononcé par rapport au plan horizontal.  

 

 

 

 

 

 

 


La revendication 3 (qui dépend de la revendication 2) exige aussi :

 

que le plan incurvé de la chaîne de rouleaux du convoyeur soit ramené à plat après la trempe, mais avant la sortie de la feuille de verre cintrée et trempée de la section de cintrage et de trempe.

La revendication 15 ajoute les exigences suivantes aux étapes de la méthode générale :

 

La feuille de verre est transportée sur un convoyeur à rouleaux de la section de cintrage et de trempe, cette section étant à plat, puis le convoyeur à rouleaux à plat est incurvé ou fléchi en arc de cercle autour de l’axe de courbure transversal au sens de déplacement alors que se déplace la feuille de verre, l’opération de courbure dudit transporteur étant arrêtée et le soufflage d’air de refroidissement commençant sur les deux surfaces de la feuille de verre alors qu’un mouvement d’oscillation de ladite feuille de verre continue au moyen des rouleaux dudit convoyeur à rouleaux incurvés.

Ainsi, la revendication 15 exige aussi que la section de cintrage et de trempe soit à plat lorsque la feuille de verre y est transportée, ainsi que lorsque de l’air de refroidissement est soufflé sur les deux surfaces de la feuille de verre cintrée alors que la feuille de verre se déplace en va-et-vient sur les rouleaux du convoyeur.

 

Revendications du brevet 257 relatives à l’appareil

 

Les revendications 7, 12 et 14 concernent un appareil de cintrage et de trempe. La revendication 7 est une revendication indépendante. Les revendications 12 et 14 dépendent de la revendication 7.  

 

La revendication 7 précise les éléments d’un appareil de cintrage et de trempe de feuilles de verre (voir les pages 16 à 17 du brevet 257), et renvoie aux pièces décrites dans la description et les dessins.  

 

L’expression « dispositifs de refroidissement » (ou « chilling means » dans la version officielle en anglais) est une des expressions de la revendication 7 qui doit être précisée quant à sa signification pour une personne ayant des compétences moyennes dans le domaine. Pour une telle personne, « dispositifs de refroidissement » s’entend d’un moyen utilisé pour refroidir une feuille de verre, par exemple de l’air froid, pour en effectuer la trempe. Par exemple, comme mentionné à la page 7 du brevet,  « la section de cintrage et de trempe est munie de dispositifs de soufflage d’air de refroidissement (13) ».    

 

La revendication 7 précise aussi ce qui suit :

 

les rouleaux (9a) dudit convoyeur à rouleaux (9) de la section de cintrage et de trempe sont portés par des supports (21, 22) reliés aux maillons (9b) et des leviers (31) étant raccordés pour former une poutre de soutien qui s’allonge dans le sens du déplacement et peut être incurvée autour d’un axe de courbure transversal au sens de déplacement par variation de l’angle entre les supports individuels (21, 22) de ladite poutre de soutien au moyen des leviers (31) et des vérins de manoeuvre (28).  

 

Cela décrit une construction permettant au convoyeur à rouleaux de s’incurver uniformément afin de cintrer une pièce de verre. Les figures 3 et 4, montrées ci-dessus, illustrent ce point. La figure 3 montre un convoyeur à rouleaux à plat. Dans la figure 4, on constate que les tiges de pistons (repère 29 dans la figure 3) sont sorties des vérins (repère 28 dans la figure 3) et ont écarté les supports (repères 21 et 22 dans la figure 3) en exerçant une pression sur les leviers (repère 31 dans la figure 3). Par conséquent, le convoyeur à rouleaux se trouve en position incurvée. 

 

Une personne ayant des compétences moyennes dans le domaine comprendrait le terme « vérins (28) » mentionné dans la revendication comme étant des dispositifs fournissant l’énergie nécessaire pour faire varier l’angle entre les supports individuels pour incurver le convoyeur à rouleaux. À la page 11, sont décrits les « tiges de pistons 29 des vérins 28 » comme étant des dispositifs qui fournissent l’énergie. Cela laisse à penser que les pistons peuvent être actionnés par un vérin pneumatique ou hydraulique, mais selon moi, une personne ayant des compétences moyennes dans le domaine comprendrait que le terme « vérins » pourraient inclure toute forme de dispositif fournissant l’énergie nécessaire pour incurver le convoyeur à rouleaux.  

 

La revendication 12 fait valoir l’appareil de la revendication 7, en plus de la limite suivante :

 

le convoyeur à rouleaux (9) à incurver est muni d’un ensemble incurvé de dispositifs de soufflage d’air (13), lequel ensemble de dispositifs de soufflage d’air pouvant être relevé et abaissé en un tout, et, dans la position abaissée, la courbure dudit ensemble incurvé est adaptée à la courbure de ladite chaîne du convoyeur et, dans la position relevée, ledit ensemble incurvé est adapté pour prendre une courbure correspondant en gros à la courbure maximale du convoyeur (9).

 

Un mode de réalisation de ce montage est montré aux figures 3 à 5 ci-dessus. La figure 3 montre les dispositifs de soufflage d’air au repère 13 (ou buses), lorsque le convoyeur à rouleaux est à plat. La figure 4 montre le convoyeur à rouleaux en position incurvée, les dispositifs de soufflage d’air étant dans la même position incurvée que la chaîne du convoyeur. La figure 5 montre une position relevée.  

 

La revendication 14 ajoute l’exigence suivante à la revendication 7 : « les dispositifs de soufflage d’air (13a) en dessous du convoyeur sont montés de manière à pivoter avec les supports (21, 22) du convoyeur (9) ». Pour une personne ayant des compétences moyennes dans le domaine, cela voudrait dire que les dispositifs de soufflage d’air (ou buses) se déplacent avec le convoyeur à rouleaux alors que ce dernier passe de la position à plat à la position incurvée, comme le montrent par exemple les figures 3 et 4, ci-dessus.      

 

[51]           Comme dans le cas du brevet 257, M. Perämaa a témoigné qu’une personne versée dans l’art comprendrait la plupart des termes utilisés dans les revendications du brevet 628 comme correspondant aux termes de génie mécanique. En ce qui concerne les termes qui exigeraient des explications supplémentaires, il a affirmé ce qui suit :

 

[traduction]

Revendications relatives au brevet 628

 

Les revendications relatives au brevet 628 portent sur un appareil de cintrage et de trempe de feuilles de verre. La revendication 1 est la seule revendication indépendante. Les revendications 2, 3, 5 et 6 sont dépendantes.

 

La revendication 1 concerne un poste de trempe de feuilles de verre défini comme suit :

 

Un poste de cintrage et de trempe de verre en feuilles se composant d’un convoyeur à rouleaux (3) dans lequel la position relativement verticale des rouleaux (4) est réglable pour incurver le convoyeur selon un rayon de courbure correspondant à la valeur de cintrage voulue, les boîtiers de trempe inférieurs (5) ayant des surfaces supérieures (9) percées d’orifices de trempe (6), et les boîtiers de trempe supérieurs (7) ayant des surfaces inférieures (10) percées d’orifices de trempe (8), et les boîtiers de trempe (5, 7) étant mobiles pour faire en sorte que les surfaces inférieures et supérieures puissent correspondre à la courbure du convoyeur (3); des rouleaux-presseurs (11) sont montés sur les boîtiers de trempe supérieurs (7), ces rouleaux (11) pouvant se déplacer entre une position supérieure de repos et une position inférieure de travail et étant retenus fermement dans cette position abaissée par la force d’un ressort

 

Les figures 1 et 3 (ci-dessous) du brevet illustrent le fonctionnement de l’appareil :

 

 

Le boîtier de trempe supérieur (repère 7) – par l’entremise des orifices montrés au repère 8 – sert à injecter de l’air de refroidissement de trempe sur une feuille de verre qui a été cintrée selon une courbure désirée. Pendant le cintrage, les rouleaux-presseurs (repère 11) servent à exercer une force sur la feuille de verre de sorte que la feuille de verre s’adapte à la courbure définie par les rouleaux (repère 4), comme le montre la figure 3 ci-dessus.  Pendant le cintrage, les rouleaux-presseurs sont abaissés à la position de travail. Les rouleaux-presseurs sont relevés à la position de repos avant que la feuille arrive à la section (ou poste) de cintrage et de trempe. Une fois l’opération de trempe terminée, les rouleaux-presseurs se relèvent et reviennent à leur position de repos.

 

La revendication 2 concerne le poste de cintrage et de trempe tel que décrit dans la revendication 1, et dans lequel « la force dudit ressort est produite par un ressort pneumatique ». La revendication 3 précise que « le ressort pneumatique est un vérin pneumatique ».   Une personne ayant des compétences moyennes dans le domaine comprendrait qu’un « ressort pneumatique » est un dispositif produisant une force de rappel à l’aide d’une pression d’air comme celle provenant d’une source d’air comprimé. Un vérin pneumatique serait compris comme étant un vérin muni d’un piston sur lequel la pression d’air agit pour produire la force.

 

Selon la revendication 5, les rouleaux sont déplacés de la position de repos à la position de travail après que la feuille de verre à cintrer provenant d’un four arrive sur le convoyeur et se trouve sous les rouleaux.

 

Selon la revendication 6, « une pluralité de rouleaux-presseurs (11) montés sur un essieu horizontal commun (13) se déplacent verticalement en va-et-vient sous l’effet d’un vérin pneumatique (17) ». La figure 1 ci-dessus montre le mouvement vertical des rouleaux-presseurs assujettis à un vérin pneumatique.         

 

[52]           Les revendications invoquées du brevet 257 décrivent une méthode de cintrage et de trempe d’une feuille de verre dans un appareil de chaîne de production qui, simultanément, cintre une feuille de verre chauffée sur toute sa surface et trempe le verre par refroidissement subséquent de toute la surface de la feuille de verre alors que celle-ci oscille en va-et-vient sur les rouleaux du convoyeur. Selon les revendications invoquées du brevet 628, le cintrage du verre est accru par gravité, une pression mécanique étant exercée sur les rouleaux supérieurs.

 

[53]           Les revendications indépendantes 1, 2 et 5 portent sur la méthode décrite dans le brevet 257. J’en ferais l’interprétation selon les revendications et avec l’aide de la description dans le brevet et le témoignage de M. Perämaa, de la façon suivante :

Revendication 1 (interprétée) – Une méthode de cintrage et de trempe d’une feuille de verre à l’aide d’une chaîne de convoyeur à rouleaux munie de rouleaux horizontaux qui se prolongent transversalement par rapport au sens de déplacement et qui transportent la feuille de verre. Après son chauffage dans le four, la feuille de verre est cintrée autour d’un axe de courbure qui est parallèle aux rouleaux. Tous les points de la feuille de verre sont cintrés simultanément et, en gros, à la même vitesse, alors que la feuille de verre se déplace en va-et-vient. La feuille de verre est ensuite trempée pendant qu’elle continue de se déplacer en va-et-vient sur les rouleaux.

 

Revendication 2 (interprétée) - Une méthode de cintrage et de trempe d’une feuille de verre à l’aide d’une chaîne de convoyeur à rouleaux munie de rouleaux horizontaux qui se prolongent transversalement par rapport au sens de déplacement et qui transportent la feuille de verre. Après son chauffage dans le four, la feuille de verre est cintrée autour d’un axe de courbure qui est parallèle aux rouleaux. La feuille de verre se déplace en va-et-vient sur les rouleaux pendant le cintrage. La feuille de verre est cintrée par flexion en arc de la chaîne du convoyeur à rouleaux sur une distance correspondant à la longueur accrue de la feuille de verre et à la longueur de son déplacement oscillant. Pendant le cintrage, le plan de la chaîne du convoyeur à rouleaux s’incurve selon un rayon de courbure qui diminue continuellement, ce qui signifie que l’arc augmente continuellement de la position à plat à l’angle de courbure voulu, jusqu’à l’obtention du rayon de courbure final souhaité. Pendant le procédé de courbure, la portion médiane de la section incurvée est maintenue en gros dans un plan horizontal. Après le cintrage, la feuille de verre est trempée pendant qu’elle continue de se déplacer en va-et-vient sur les rouleaux incurvés.

 

Revendication 15 (interprétée) - Une méthode de cintrage et de trempe d’une feuille de verre à l’aide d’une chaîne de convoyeur à rouleaux munie de rouleaux horizontaux qui se prolongent transversalement par rapport au sens de déplacement et qui transportent la feuille de verre. Après son chauffage dans le four, la feuille de verre est cintrée autour d’un axe de courbure qui est parallèle aux rouleaux. La feuille de verre se déplace en va-et-vient sur les rouleaux pendant le cintrage. La feuille de verre est cintrée par flexion en arc de la chaîne du convoyeur à rouleaux.  Après le cintrage, de l’air froid est soufflé sur les deux surfaces de la feuille de verre  pendant que la feuille de verre se déplace en va-et-vient sur les rouleaux. 

 

[54]           La revendication 3 est dépendante de la revendication 2, et je l’interprèterais comme suit :

Revendication 3 (interprétée) – Une méthode, selon la revendication 2, par laquelle le plan incurvé de la chaîne de rouleaux du convoyeur reprend sa positon à plat après la trempe. La chaîne transporte ensuite la feuille de verre cintrée et trempée hors de la section de cintrage et de trempe.

 

[55]            La revendication indépendante 7 du brevet 257 porte sur l’appareil. Encore une fois, l’interprétation de la revendication indépendante se fera avec l’aide de la divulgation dans le brevet et du témoignage de M. Perämaa, de la façon suivante :

Revendication 7 (interprétée) – Un appareil de cintrage et de trempe de feuilles de verre se composant d’une section de chargement, d’un four de chauffage, d’une section de cintrage et de trempe et d’une section de déchargement. L’appareil est doté de dispositifs de chauffage montés dans le four afin de chauffer les feuilles de verre et de dispositifs de refroidissement pour souffler de l’air froid dans la section de cintrage et de trempe pour permettre la trempe des feuilles de verre. L’appareil se compose aussi de rouleaux, de convoyeurs constitués de rouleaux horizontaux qui transportent les feuilles de verre de la section de chargement à la section de déchargement, en passant par le four et la section de cintrage et de trempe. L’appareil fait appel à des dispositifs d’entraînement pour faire fonctionner les convoyeurs à rouleaux. Les dispositifs d’entraînement sont adaptés pour faire osciller au moins le convoyeur à rouleaux de la section de cintrage et de trempe. Les rouleaux de la section de cintrage et de trempe sont portés par des supports reliés à des maillons et des leviers raccordés pour former une poutre de soutien. La poutre de soutien se prolonge dans le sens de déplacement des feuilles de verre. La poutre de soutien peut être incurvée autour d’un axe de courbure parallèle aux rouleaux à l’aide de vérins servant à faire varier l’angle entre les supports individuels à l’aide des leviers.

 

[56]           Les revendications 12 et 14 sont dépendantes de la revendication 7 et sont interprétées comme suit :

Revendication 12 (interprétée) – Selon la revendication 7, un appareil dans lequel un ensemble de dispositifs de soufflage d’air pouvant être relevé et abaissé en un tout. Dans la position abaissée, la courbure de l’ensemble est adaptée à la courbure de la chaîne du convoyeur. Dans la position relevée, l’ensemble est adapté pour prendre une courbure correspondant en gros à la courbure maximale du convoyeur.

 

Revendication 14 (interprétée) – Selon la revendication 7, un appareil dans lequel les dispositifs de soufflage d’air se déplacent avec le convoyeur à rouleaux lorsque ce dernier passe de la position à plat à la position incurvée. 

 

[57]           La revendication indépendante 1 du brevet 628 porte sur l’appareil. Encore une fois, l’interprétation de la revendication indépendante se fera avec l’aide de la divulgation dans le brevet et le témoignage de M. Perämaa, de la façon suivante :

Revendication 1 (interprétée) - Un poste de cintrage et de trempe de verre en feuilles se composant d’un convoyeur à rouleaux dans lequel la position des rouleaux est réglable pour incurver le convoyeur selon un rayon de courbure correspondant à la valeur de cintrage voulue. Le poste comprend des boîtiers de trempe inférieurs et supérieurs qui soufflent de l’air de refroidissement à partir d’orifices percés respectivement dans leurs surfaces supérieures et inférieures. Les boîtiers de trempe sont mobiles pour faire en sorte que leurs surfaces puissent correspondre à la courbure du convoyeur. Les boîtiers de trempe supérieurs sont munis de plusieurs rouleaux-presseurs pouvant se déplacer de leur position supérieure de repos et leur position inférieure de travail contre la force d’un ressort.

 

[58]           Les revendications 2, 5 et 6 sont dépendantes de la revendication 1 et sont interprétées comme suit :

Revendication 2 (interprétée) – Un poste de cintrage et de trempe, selon la revendication 1, dans lequel la force du ressort est produite à l’aide d’un ressort pneumatique.

 

Revendication 5 (interprétée) – Un poste de cintrage et de trempe, selon la revendication 1, dans lequel les rouleaux sont déplacés de la position de repos à la position de travail après que la feuille de verre à cintrer provenant d’un four arrive sur le convoyeur et se trouve sous les rouleaux.

 

Revendication 6 (interprétée) – Un poste de cintrage et de trempe dans lequel une pluralité de rouleaux-presseurs sont montés sur un essieu horizontal commun lequel se déplace verticalement en va-et-vient sous l’effet d’un vérin pneumatique.

 

[59]           La revendication 3 est aussi dépendante de la revendication 2 et est interprétée comme suit :

Revendication 3 (interprétée) – Un poste de cintrage et de trempe, selon la revendication 2, dans lequel le ressort pneumatique est un vérin pneumatique qui sert à déplacer les rouleaux de la position de repos à la position de travail.

 

[60]           Dans Canamould, la juge Layden-Stevenson a ensuite examiné le droit en matière d’éléments essentiels et non essentiels de la revendication. Elle a dit ce qui suit, au par. 33 :

Pour interpréter une revendication de façon éclairée et en fonction de l’objet, il faut distinguer les éléments essentiels de la revendication de ceux qui ne sont pas essentiels. Il n’y a pas contrefaçon si un élément essentiel est différent ou omis. Il peut cependant y avoir contrefaçon s’il y a remplacement ou omission d’éléments non essentiels. Un élément est réputé non essentiel et remplaçable soit (i) si, suivant une interprétation téléologique des termes employés dans la revendication, l’inventeur n’a manifestement pas voulu qu’il soit essentiel, soit (ii) si, à la date de la publication du brevet, le destinataire versé dans l’art aurait constaté qu’un élément donné pouvait être substitué sans que cela ne modifie le fonctionnement de l’invention, c’est‑à‑dire que, si le travailleur versé dans l’art avait alors été informé de l’élément décrit dans la revendication et de la variante et [traduction] « qu’on lui avait demandé de déterminer si la variante pouvait manifestement fonctionner de la même manière », sa réponse aurait été affirmative.

 

[61]           La revendication 2 est la principale revendication du brevet 257 et elle concerne les éléments essentiels suivants :

a.       Transport de la feuille de verre chauffée sur des rouleaux horizontaux alignés sur un axe transversal au sens de déplacement.

b.      Cintrage de la feuille de verre dans une position horizontale sur un axe parallèle aux rouleaux horizontaux.

c.       Flexion en arc et mise à plat des rouleaux du convoyeur.

d.      Oscillation de la feuille de verre pendant le cintrage et la trempe.

 

[62]           Les revendications du brevet 257 sont quelque peu répétitives. La revendication 1 ajoute un élément essentiel en ce sens que le cintrage s’effectue simultanément sur toute la surface de la feuille de verre. La revendication 15 ajoute que les rouleaux incurvés du convoyeur se remettent à plat une fois la trempe terminée. La revendication 7 prévoit des éléments essentiels d’une section de cintrage et de trempe, y compris un dispositif de chauffage de la feuille de verre avant son entrée dans la section de cintrage, des dispositifs de refroidissement pour la trempe du verre cintré, des convoyeurs munis de dispositifs d’entraînement et constitués de rouleaux ainsi que d’un dispositif d’oscillation des rouleaux dans la section de cintrage et de trempe, une poutre de soutien parallèle au sens de déplacement et portant les rouleaux qui peuvent s’incurver et se redresser à l’aide d’une source d’énergie permettant de faire varier l’angle entre les supports individuels afin d’incurver et de redresser les poutres de soutien.  

 

[63]           Un exemple d’élément non essentiel est la nature de la source d’énergie (dans la revendication 7) pour incurver les poutres de soutien et qu’on dit pneumatique dans le brevet 257 et qui, comme l’a expliqué M. Perämaa, pourrait être mécanique (par exemple un dispositif de commande à vis). Il est essentiel de disposer d’une source d’énergie mais l’utilisation spécifique d’une source d’énergie pneumatique n’est pas précisée comme telle dans la revendication 7 du brevet.

 

[64]            Les éléments essentiels de la revendication principale 1 du brevet 628 sont les suivants :

a.       Pression qu’exercent les rouleaux supérieurs sur la feuille de verre pendant le cintrage.

b.      Rouleaux supérieurs réglables par la force d’un ressort pneumatique.

c.       Des boîtiers de trempe (refroidissement) au-dessus et en dessous adaptés pour suivre le contour incurvé du convoyeur de cintrage.

 

[65]           Contrairement à la revendication 7 du brevet 257, un élément essentiel de la revendication 3 du brevet 628 concerne la nécessité que le ressort pneumatique sur les rouleaux supérieurs soit un vérin pneumatique puisque cela est spécifiquement revendiqué dans le brevet 628. 

 

[66]           Des éléments complémentaires tels qu’une section de chargement, un four de chauffage,  des rouleaux de convoyeur à l’extérieur de la section de cintrage et de trempe et un poste de déchargement, même s’ils font partie intégrante du fonctionnement de l’appareil, ne sont pas essentiels à l’invention même pour le cintrage et la trempe, puisque tous ces éléments découlent d’une technologie antérieure connue et ne sont pas revendiqués.

 

Validité du brevet

[67]           Glaston a produit une preuve indiquant qu’elle est la titulaire des brevets 257 et 628. Puisque les défenderesses gardent le silence sur la validité des brevets de Glaston, celle‑ci jouit d’une présomption de validité quant à ses brevets, aux termes du paragraphe 43(2) de la Loi sur les brevets, L.R.C. 1985, ch. P-4, qui prévoit ce qui suit :

(2) Une fois délivré, le brevet est, sauf preuve contraire, valide et acquis au breveté ou à ses représentants légaux pour la période mentionnée aux articles 44 ou 45.

(2) After the patent is issued, it shall, in the absence of any evidence to the contrary, be valid and avail the patentee and the legal representatives of the patentee for the term mentioned in section 44 or 45, whichever is applicable.

 

[68]           Par conséquent, le brevet 257 et le brevet 628 sont tous deux valides.

 

Contrefaçon

[69]           La date pertinente pour le brevet 257 est la date de délivrance, soit le 6 octobre 1992. La date d’expiration du brevet 257 est le 6 octobre 2009. La date pertinente pour le brevet 628 est la date de son dépôt, soit le 7 avril 1995, et sa date d’expiration est le 7 avril 2015. Les brevets 257 et 628 étaient tous deux en vigueur à la date pertinente, soit le 6 octobre 2005, date à laquelle a été conclu l’accord écrit d’achat‑vente entre Horizon Glass et Shanghai Northglass concernant la machine de cintrage du verre.

 

[70]           L’article 42 de la Loi sur les brevets prévoit ce qui suit : 

42. Tout brevet accordé en vertu de la présente loi contient le titre ou le nom de l’invention avec renvoi au mémoire descriptif et accorde, sous réserve des autres dispositions de la présente loi, au breveté et à ses représentants légaux, pour la durée du brevet à compter de la date où il a été accordé, le droit, la faculté et le privilège exclusif de fabriquer, construire, exploiter et vendre à d’autres, pour qu’ils l’exploitent, l’objet de l’invention, sauf jugement en l’espèce par un tribunal compétent.

42. Every patent granted under this Act shall contain the title or name of the invention, with a reference to the specification, and shall, subject to this Act, grant to the patentee and the patentee's legal representatives for the term of the patent, from the granting of the patent, the exclusive right, privilege and liberty of making, constructing and using the invention and selling it to others to be used, subject to adjudication in respect thereof before any court of competent jurisdiction.

 

[71]            Comme l’a affirmé la juge Layden-Stevenson dans Canamould, au par. 51 : « Il s’agit d’un monopole que le législateur accorde à l’inventeur qui divulgue l’invention au public : Monsanto Canada Inc. c. Schmeiser, (2002), 21 C.P.R. (4th) 1 (C.A.F.). » La juge Layden‑Stevenson a ajouté ce qui suit, au par. 52 :

Une fois que les revendications sont interprétées, on peut décider s’il y a contrefaçon en comparant l’article argué de contrefaçon avec les termes employés dans les revendications. Il y a contrefaçon si l’article comprend tous les éléments essentiels d’au moins une des revendications du brevet : Free World Trust. Une simple constatation de similarité ne suffit pas pour étayer une conclusion de contrefaçon. De manière générale, le fait qu’une machine soit semblable, quant à son usage et à sa nature, à l’appareil décrit dans le brevet ne permet pas de conclure à la contrefaçon : Visx Inc. c. Nidek Co. (1999), 3 C.P.R. (4th) 417 (C.F. 1re inst.), décision confirmée à (2001), 16 C.P.R. (4th) 251 (C.A.F.). La tâche de déterminer s’il y a eu contrefaçon d’une revendication est « essentiellement une question de fait » : TRW Inc. c. Walbar of Canada Inc. (1991), 39 C.P.R. (3d) 176 (C.A.F.).

 

[72]           Le témoin expert de Glaston, M. Perämaa, a visité les installations de Horizon et inspecté la section de cintrage et de trempe de la machine de North Glass. À partir de son inspection de la section de cintrage et de trempe de la machine de North Glass et de l’examen de documents et de photographies prises par M. Rockefeller, M. Perämaa a comparé la machine de North Glass et les revendications des brevets 257 et 628. Il a témoigné que la machine de North Glass a la même structure et la même fonction que les appareils décrits dans les revendications 7, 12 et 14 du brevet 257 et les revendications 1, 2, 3, 5 et 6 du brevet 628. Selon lui également, la machine de North Glass fonctionne selon les méthodes décrites dans les revendications 1, 2, 3 et 15 du brevet 257 et l’équipement a servi à fabriquer du verre cintré trempé. J’accepte ce témoignage. 

 

[73]           Selon le guide d’utilisation North Glass User Guide, les photographies déposées et les observations que M.  Perämaa a faites à la suite de son inspection de la machine de North Glass, je fais les constats suivants au sujet de la méthode de cintrage du verre de la machine de North Glass :

§         Le verre est chauffé avant d’être amené par des rouleaux horizontaux dans la section de la machine de cintrage et de trempe du verre.

§         La section de la machine de cintrage et de trempe du verre cintre le verre autour d’un axe de courbure qui est transversal au sens de déplacement, mais parallèle aux rouleaux.

§         Les rouleaux se déplacent dans la position incurvée avec le verre, puis reprennent leur position à plat.

§         La trempe s’effectue pendant que la feuille de verre se déplace en oscillant.

 

[74]           J’ai aussi constaté que la machine de North Glass contient les composants suivants :

§         Un dispositif de chauffage de la feuille de verre.

§         Des dispositifs de refroidissement pour la trempe de la feuille de verre cintrée.

§         Un dispositif d’entraînement motorisé permettant aux rouleaux du convoyeur d’osciller dans la section de cintrage.

§         Des poutres de soutien portant des rouleaux qui peuvent être incurvés autour de l’axe de courbure transversal par rapport au sens de déplacement par variation de l’angle entre les supports individuels à l’aide d’une source d’énergie. 

 

[75]           Lorsqu’on la compare aux revendications principales 2 et 7 du brevet 257, il est clair que la machine de North Glass contient tous les éléments essentiels décrits dans ces revendications. Je conclus donc que la machine de North Glass enfreint les revendications 2 et 7.

 

[76]           Compte tenu de la présence de rouleaux-presseurs, de rouleaux réglables entraînés par vérin pneumatique, de boîtiers supérieur et inférieur de trempe qui peuvent être déplacés en suivant la courbure du convoyeur, je constate aussi que la machine de North Glass contient les éléments essentiels décrits dans la revendication 1 du brevet 628. À cet égard, je conclus également que la machine de North Glass enfreint la revendication 1 du brevet 628.

 

[77]           Je voudrais souligner que la preuve revèle que la machine de North Glass emploie un dispositif d’entraînement à vis, plutôt qu’un dispositif d’entraînement pneumatique, pour régler les rouleaux inférieurs du convoyeur dans la section de cintrage et de trempe. Comme le dispositif d’entraînement pneumatique n’est pas un élément essentiel, il n’a aucune portée sur la question de la contrefaçon de la revendication 7 du brevet 257. Par contre, la machine de North Glass emploie la force d’un ressort pneumatique provenant de vérins pneumatiques pour les rouleaux-presseurs supérieurs, ce qui est un élément essentiel de la revendication 3 du brevet 628.

 

[78]           Enfin, en ce qui a trait à la question de savoir si la machine de North Glass contrefait également les revendications restantes, je conclus, compte tenu des documents soumis et du témoignage de M. Perämaa, que la machine de North Glass contrefait également les revendications restantes des brevets 257 et 628.

 

[79]           Étant donné que la machine de North Glass est un appareil contrefait fabriqué en Chine, y a‑t‑il eu contrefaçon au Canada?

 

[80]           Le contrat d’achat‑vente déposé en preuve donne un aperçu de la machine de North Glass :

[traduction] Le four est le nouveau produit fabriqué par la coentreprise et comprend une table de chargement, une section de chauffage, une section de trempe par refroidissement à plat, une section de cintrage cylindrique et de refroidissement, des têtes de soufflage, une table de déchargement, un système de soufflage et de refroidissement et un système de commande. Il est utilisé pour fabriquer du verre trempé plat et cintré pour de l’ameublement, des appareils ménagers, du verre d’architecture, etc.

 

[81]           En vertu des conditions du contrat, Shanghai Northglass a installé et mis en service la machine de North Glass aux installations de Horizon et a formé les techniciens de Horizon sur le fonctionnement de l’équipement. L’alinéa 3.1.1 de la partie deux du contrat décrit comme suit les responsabilités de Shanghai Northglass :

[traduction]

1) Fabrication et livraison de l’équipement conformément aux dispositions du contrat.

 

2) Emballage, chargement, livraison au port d’expédition et transport par mer conformément aux dispositions du contrat.

 

3) Assurer gratuitement l’orientation, la mise en service et la formation relatives à l’installation pendant l’équivalent de 60 jours-personnes (2-3 techniciens). Si la période excède 60 jours-personnes pour une raison attribuable à l’acheteur, l’acheteur doit verser au vendeur un montant de 100 dollars US par personne-jour additionnelle; si la raison est attribuable au vendeur, les techniciens resteront sur place jusqu’à ce que l’installation, la mise en service et la formation soient terminées.

 

4) Fournir la disposition d’ensemble de l’installation de l’équipement et les services de consultation requis par l’acheteur.

 

5) Fournir des jeux complets de manuels d’exploitation, y compris les schémas électriques, les conseils sur l’exploitation et la maintenance, le réglage des principaux paramètres de traitement.

 

6) Fournir une garantie d’un an sur l’équipement, un approvisionnement gratuit en pièces de rechange pendant une période d’un an, ainsi qu’une garantie sur les pièces de compensation.

 

7) Soutien technique à long terme et approvisionnement en pièces de rechange, ainsi que résolution d’un nouveau problème éventuel pendant la production.

 

8) Formation technique du personnel de l’acheteur :

 

*15 jours avant la livraison de l’équipement, l’acheteur peut envoyer 2 techniciens aux installations du vendeur pour une formation théorique et pratique d’une durée d’environ 10 jours.

 

*Après la mise en service de l’équipement, un technicien du vendeur demeurera sur place une autre semaine pour donner de la formation et des instructions sur le fonctionnement de l’équipement. 

 

[82]            Glaston fait valoir que Shanghai Northglass s’est rendue coupable de contrefaçon en installant et en mettant en service la machine de North Glass dans les installations de Horizon au Canada. En vertu du contrat, Shanghai Northglass devait avoir deux ou trois techniciens pendant une période de 60 jours ouvrables aux installations de Horizon en vue de l’installation et de la mise en service de l’équipement. En installant et en mettant en service la machine de North Glass au Canada, Shanghai Northglass a fabriqué et construit un appareil visé par les revendications des brevets 257 et 628 de Glaston.

 

[83]           Glaston soutient également que Shanghai Northglass est responsable de contrefaçon pour avoir utilisé la machine de North Glass dans les locaux de Horizon. Les « essais d’acceptation » prévus par le contrat exigeaient que les techniciens de Shanghai Northglass fabriquent régulièrement trois (3) produits en verre différents pendant une période de deux à huit heures pour chacun des produits. Il est admis que Shanghai Northglass a effectué des essais d’acceptation pour la machine de North Glass dans les locaux de Horizon au Canada. La conclusion logique à tirer de ce fait reconnu est que Shanghai Northglass a utilisé elle‑même le poste de cintrage et de trempe de la machine de North Glass pour produire du verre cintré et trempé au Canada et ainsi exploité un appareil visé par les revendications des deux brevets, et a employé les méthodes visées par les revendications du brevet 257. En ce qui concerne l’exploitation d’une invention à des fins commerciales, la Cour suprême du Canada a dit ce qui suit, dans l’arrêt Monsanto Canada Inc. c. Schmeiser, 2004 CSC 34, [2004] 1 R.C.S. 902 (Monsanto Canada Inc.), au par. 37 :

En pratique, l’inventeur est normalement privé des fruits de son invention et de la pleine jouissance de son monopole lorsqu’une autre personne exploite l’invention en question à des fins commerciales, sans avoir préalablement obtenu une licence ou une autorisation en ce sens.  Par conséquent, lorsque les activités contestées du défendeur ont servi ses propres intérêts commerciaux, nous devons être particulièrement conscients de la possibilité qu’il se soit livré à une exploitation contrefaisante.

 

[84]            L’« exploitation » par Shanghai Northglass de la machine de North Glass lors des essais d’acceptation a eu lieu dans un contexte commercial. Shanghai Northglass a effectué les essais d’acceptation en vue de la conclusion de la vente de la machine de North Glass à Horizon. Shanghai Northglass s’est donc livrée à une exploitation contrefaisante de la machine de North Glass au Canada et a ainsi contrefait les brevets canadiens 257 et 628 de Glaston.

 

[85]           Horizon Glass a aussi contrefait directement le brevet 257 en étant en possession de la machine de North Glass. Le témoignage de M. Perämaa portant que la machine de North Glass aux installations de Horizon servait à fabriquer du verre trempé cintré étaye cette conclusion. M. Perämaa a constaté que la corde de Kevlar enroulée autour des rouleaux était usée et qu’il y avait des morceaux de verre dans la machine qui semblaient provenir de feuilles de verre trempé brisées. Une feuille de verre trempé cintrée se trouvait aussi dans les installations de Horizon. La preuve étaye la conclusion que Horizon Glass a exploité la machine de North Glass.

 

[86]           De plus, comme il a déjà été mentionné, « [l]a possession, du moins dans le cadre d’un commerce, donne naissance à une présomption d’"exploitation" réfutable » : Monsanto Canada Inc., au par. 58. Cette présomption n’a pas été réfutée.

 

[87]           Toutefois, la déclaration initiale signifiée à Horizon Glass ne porte que sur la contrefaçon du brevet 257. Rien n’indique que la déclaration modifiée, qui ajoute le brevet 628, ait été signifiée à Horizon Glass. Vu que la prétention relative au brevet 628 est distincte et que Horizon Glass n’en a pas été avisée, cette défenderesse ne peut être déclarée responsable que de la contrefaçon du brevet 257.

 

Incitation

[88]           Glaston soutient que Shanghai Northglass a incité Horizon à contrefaire les brevets 257 et 628. Pour qu’il y ait contrefaçon par incitation, trois facteurs doivent être établis :

Dans un premier temps, il doit y avoir acte de contrefaçon par le contrefacteur direct.

 

Deuxièmement, cet acte doit être influencé par le vendeur, à un point tel que sans cette influence, la contrefaçon n’aurait pas été commise par le contrefacteur direct.

 

Finalement, l’influence doit être sciemment exercée par le vendeur, c’est‑à‑dire que le vendeur savait que son influence entraînerait l’exécution de l’acte de contrefaçon.

 

MacLennan c. Produits Gilbert Inc., 2008 CAF 35, au par. 13.

 

 

[89]            On a conclu à l’incitation dans des affaires où un article qui contrefait un brevet est vendu à un client avec des instructions d’utilisation emportant contrefaçon. On a conclu également à l’incitation lorsqu’un vendeur fournit à l’acheteur des instructions concernant l’utilisation d’une méthode entraînant la contrefaçon : Windsurfing International Inc. c. Triatlantic Corporation (maintenant Bic Sports Inc.), [1984] 63 N.R. 218, 8 C.P.R. (3d) 241, aux pages 264 à 266 (C.A.F.), Baker Petrolite Corp. et al. c. Canwell Enviro-Industries Ltd. et al., 2001 FCT 889, [2002] 2 C.F. 3, aux par. 135 à 139 (C.F. 1re inst.), décision infirmée pour d’autre motifs, 2002 CAF 148, [2002] 17 C.P.R. (4th) 478.

 

[90]           Pour ce qui est de « l’influence » exercée par Shanghai Northglass sur Horizon, la preuve montre ce qui suit :

a)                  Shanghai Northglass a vendu à Horizon la machine de North Glass pour la fabrication du verre trempé cintré;

 

b)                  Shanghai Northglass a installé la machine de North Glass dans les locaux de Horizon;

 

c)                  Shanghai Northglass a donné une formation au personnel de Horizon sur le fonctionnement de la machine de North Glass;

 

d)                  Shanghai Northglass a fourni à Horizon un manuel technique sur le fonctionnement de la machine de North Glass.

 

[91]           En ce qui concerne l’influence intentionnelle de Shanghai Northglass, l’acte de contrefaçon commis par Horizon Glass consistait en l’exploitation de la machine de North Glass. Par l’avis non contesté d’admission des faits, il est admis que Shanghai Northglass avait connaissance des brevets 257 et 628 avant la vente de la machine de North Glass à Horizon et de sa mise en service dans les installations de Horizon. Shanghai Northglass devait savoir et prévoir que son influence – exercée par les actes énumérés ci‑dessus – entraînerait la contrefaçon par Horizon des brevets de Glaston.

 

Connaissance antérieure

[92]           Sur la question de savoir si Shanghai Northglass avait connaissance des brevets de Glaston, on me demande de prendre en compte une instance au Royaume‑Uni où Luoyang North Glass Technology Company Limited, une société membre de la coentreprise Shanghai Northglass, a antérieurement été poursuivie au Royaume-Uni par la demanderesse pour contrefaçon du brevet européen (du Royaume‑Uni) concernant la même invention que le brevet 257. La Division de la Chancellerie a confirmé la validité du brevet et a conclu que Luoyang North Glass Technology Company Limited et sa cliente au Royaume‑Uni avaient contrefait le brevet en cause. L’instance au Royaume‑Uni était déjà engagée en octobre 2005 et un jugement a été rendu en décembre 2005.

 

[93]           Cet argument me pose problème. La partie défenderesse dans cette cause n’était pas Shanghai Northglass, mais une société participant à cette coentreprise. La décision britannique a un caractère persuasif, mais elle n’est pas déterminante. Toutefois, je suis convaincu que Shanghai Northglass connaissait très bien la technologie de Glaston compte tenu des nombreux points communs entre la machine de North Glass et l’appareil de Glaston, en particulier pour ce qui touche la très grande similitude des méthodes et des appareils de cintrage et de trempe du verre. Je me refuse à admettre qu’une partie engagée dans des activités commerciales sur la scène internationale puisse ignorer les brevets importants de Glaston dans le secteur concurrentiel et spécialisé de la fabrication de machines complexes de cintrage et de trempe du verre.

 

[94]           Par conséquent, je conclus que Shanghai Northglass a la connaissance requise des brevets de Glaston et qu’elle est donc responsable d’avoir incité Horizon Glass à contrefaire les bevets 257 et 628.

 

Conclusion

[95]           Je conclus que Shanghai Northglass a vendu, installé et utilisé la machine de North Glass dans les locaux de Horizon Glass et qu’elle est responsable d’avoir contrefait les revendications 1 à 3, 7, 12, 14 et 15 du brevet 257 ainsi que les revendications 1 à 3, 5 et 6 du brevet 628.

 

[96]           Je conclus également que Shanghai Northglass a, par la vente, l’installation et la mise en service de la machine de North Glass, incité Horizon Glass à contrefaire le brevet 257.

 

[97]           Je conclus qu’Horizon Glass était en possession et a utilisé la machine de North Glass et qu’elle est responsable d’avoir contrefait les revendications 1 à 3, 7, 12, 14 et 15 du brevet 257.

 

Mesures réparatrices

[98]           Glaston demande un jugement déclaratoire pour contrefaçon, une injonction, une ordonnance l’autorisant à demander une compensation financière par renvoi, et les dépens.

 

[99]           Comme j’ai conclu que Shanghai Northglass a contrefait les brevets 257 et 628 de Glaston, je rendrai un jugement déclaratoire pour contrefaçon contre Shanghai Northglass.

 

[100]       J’ai noté que la déclaration modifiée qui ajoute les revendications du brevet 628 aux questions en litige dans l’instance n’a jamais été signifiée à Horizon Glass. Je rendrai donc également un jugement déclaratoire de contrefaçon contre Horizon Glass pour la contrefaçon des revendications du brevet 257, mais non pour la contrefaçon des revendications du brevet 628.

 

[101]        L’alinéa 57(1)a) de la Loi sur les brevets prévoit ce qui suit en matière d’injonction :

57. (1) Dans toute action en contrefaçon de brevet, le tribunal, ou l’un de ses juges, peut, sur requête du plaignant ou du défendeur, rendre l’ordonnance qu’il juge à propos de rendre :

a) pour interdire ou défendre à la partie adverse de continuer à exploiter, fabriquer ou vendre l’article qui fait l’objet du brevet, et pour prescrire la peine à subir dans le cas de désobéissance à cette ordonnance;

57. (1) In any action for infringement of a patent, the court, or any judge thereof, may, on the application of the plaintiff or defendant, make such order as the court or judge sees fit,

(a) restraining or enjoining the opposite party from further use, manufacture or sale of the subject-matter of the patent, and for his punishment in the event of disobedience of that order,

 

[102]       Il est admis que Shanghai Northglass met toujours en vente des équipements semblables à la machine de North Glass. Une injonction est nécessaire pour protéger les droits de Glaston dans l’éventualité où Shanghai Northglass vendrait de nouveau au Canada des équipements contrefaits et je rendrai une ordonnance en ce sens.

 

[103]       Les dommages‑intérêts seront déterminés conformément à l’ordonnance du juge Kelen, à savoir :

[traduction] La question des dommages‑intérêts sera tranchée par renvoi à un protonotaire si le juge du procès conclut à la responsabilité.

 

Les dommages‑intérêts seront accordés en tenant compte de mes conclusions selon lesquelles Shanghai Northglass est responsable de contrefaçon et d’incitation de Horizon Glass à la contrefaçon.

 

[104]       Bien que Shanghai Northglass ait choisi de ne pas contester l’action, Glaston a dû engager des dépenses pour prouver sa cause. Il s’agit d’une affaire de brevet d’une certaine complexité qui a exigé la préparation d’une preuve d’expert. Glaston a engagé des frais en poursuivant l’action, et je conclus qu’elle a droit à ses dépens au maximum de la colonne IV, ainsi qu’une indemnité pour les honoraires du premier et du second avocats au procès.


JUGEMENT

LA COUR STATUE que :

1.                  Un jugement déclaratoire est rendu contre Shanghai Northglass pour contrefaçon du brevet 257 et du brevet 628 de Glaston.

2.                  Un jugement déclaratoire est également rendu contre Horizon Glass pour contrefaçon des revendications du brevet 257.

3.                  Une injonction est accordée, interdisant à Shanghai Northglass de vendre de quelque façon au Canada un équipement de contrefaçon.

4.                  Les dommages‑intérêts doivent être déterminés par un protonotaire, en tenant compte de la conclusion selon laquelle Shanghai Northglass est responsable de contrefaçon et d’incitation de Horizon Glass à la contrefaçon.

5.                  Les dépens sont adjugés à Glaston au maximum de la colonne IV, avec indemnité pour les honoraires du premier et du second avocats au procès.

 

 

« Leonard S. Mandamin »

Juge

 

 

 

 

Traduction certifiée conforme

Semra Denise Omer


COUR FÉDÉRALE

 

AVOCATS INSCRITS AU DOSSIER

 

 

DOSSIER :                                        T-1108-07

 

 

INTITULÉ :                                       GLASTON SERVICES LTD. OY c. HORIZON GLASS & MIRROR LTD. et SHANGHAI NORTHGLASS TECHNOLOGY & INDUSTRY CO., LTD.

 

 

LIEU DE L’AUDIENCE :                 TORONTO (ONTARIO)

 

 

DATE DE L’AUDIENCE :               LE 23 MARS 2010

 

 

MOTIFS DU JUGEMENT

ET JUGEMENT :                              LE JUGE MANDAMIN

 

 

DATE DES MOTIFS

ET DU JUGEMENT :                       LE 26 NOVEMBRE 2010

 

 

 

COMPARUTIONS :

 

Adam Bobker

Joshua W. Spicer

 

POUR LA DEMANDERESSE

S/O

POUR LES DÉFENDERESSES

 

AVOCATS INSCRITS AU DOSSIER :

 

Bereskin & Parr

Avocats

Toronto (Ontario)

 

POUR LA DEMANDERESSE

S/O

POUR LES DÉFENDERESSES

 

 

 

 

 Vous allez être redirigé vers la version la plus récente de la loi, qui peut ne pas être la version considérée au moment où le jugement a été rendu.