Décisions de la Cour fédérale

Informations sur la décision

Contenu de la décision

Date : 20111129


Dossier : T-1327-05

Référence : 2011 CF 1323

[traduction française certifiée, non révisée]

ENTRE :

 

WENZEL DOWNHOLE TOOLS LTD.

et WILLIAM WENZEL

 

 

 

demandeurs

et

 

 

NATIONAL-OILWELL CANADA LTD.,

NATIONAL OILWELL NOVA SCOTIA COMPANY, NATIONAL OILWELL

VARCO INC., DRECO ENERGY

SERVICES LTD., VECTOR OIL TOOL LTD. et FREDERICK W. PHEASEY

 

 

 

défendeurs

 

ET ENTRE :

 

 

 

 

NATIONAL-OILWELL CANADA LTD.,

NATIONAL OILWELL NOVA SCOTIA COMPANY, NATIONAL OILWELL

VARCO INC., DRECO ENERGY

SERVICES LTD., VECTOR OIL TOOL LTD. et FREDERICK W. PHEASEY

 

 

 

demandeurs reconventionnels

et

 

 

WENZEL DOWNHOLE TOOLS LTD

et WILLIAM WENZEL

 

 

défendeurs reconventionnels

 

MOTIFS PUBLICS DU JUGEMENT

(motifs confidentiels du jugement rendus le 18 novembre 2011)

 


LA JUGE SNIDER

 

 

I.          INTRODUCTION

 

[1]               Monsieur William (Bill) Wenzel est l’inventeur désigné et Wenzel Downhole Tools Ltd. (Wenzel Tools) est le titulaire du brevet canadien enregistré sous le no 2 026 630 (ci-après le brevet 630). Selon le texte du brevet 630, ce dernier traite d’une « méthode pour accroître la capacité de charge d’un palier de butée ». Le palier conçu par Bill Wenzel est une pièce d’équipement destinée à être utilisée pour le forage de puits de pétrole et de gaz.

 

[2]               Dans la déclaration déposée le 29 juillet 2005 (dossier de la Cour fédérale no T-1327-05), Bill Wenzel et Wenzel Tools (collectivement, les demandeurs) allèguent que les défendeurs ont contrefait le brevet 630 en raison de la fabrication et de la vente ou de la location, par ces derniers, de paliers identiques sous tous les rapports importants à ceux protégés par le brevet 630. Dans leur défense et demande reconventionnelle, les défendeurs allèguent que le brevet 630 est invalide.

 

II.        QUESTIONS EN LITIGE ET RÉSUMÉ DE LA DÉCISION

 

[3]               Bien que la déclaration et la défense et demande reconventionnelle soulèvent nombre de questions, il ne restait à l’issue de l’instruction, que quelques questions à trancher.

 

[4]               Les défendeurs admettent que, si la validité du brevet 630 est confirmée, les outils qu’ils louent ou vendent, ou certains d’entre eux, contrefont le brevet 630. Par conséquent, voici les principales questions en litige qu’il reste à trancher :

 

1.                  Les revendications 1 et 2 du brevet 630 sont‑elles invalides pour les raisons suivantes :

 

a.                   les revendications ont été antériorisées par un moteur de forage désigné « palier 3103 », qui a été fabriqué et loué à une tierce partie pour le forage d’un puits de pétrole au Texas avant la date pertinente du brevet 630;

 

b.                  les revendications ont été rendues évidentes étant donné l’art antérieur à la date pertinente;

 

c.                   le brevet 630 n’a pas l’utilité promise.

 

2.                  En cas de contrefaçon du brevet 630, si celui‑ci est déclaré valide, quelles mesures de réparation devraient être accordées aux demandeurs?

 

[5]               Pour les motifs qui suivent, je conclus que les revendications 1 et 2 du brevet 630 sont invalides pour cause d’antériorité ou d’évidence. Compte tenu de ces conclusions déterminantes, il n’y a pas lieu d’examiner les questions relatives à l’utilité et aux mesures de réparation.


III.       TABLE DES MATIÈRES

 

[6]               Par souci de commodité pour le lecteur, la table des matières ci‑dessous renvoie aux paragraphes pertinents portant sur les sujets abordés dans les présents motifs de jugement.

I.          INTRODUCTION     ...........................................................................  1 - 2

II.        QUESTIONS EN LITIGE ET RÉSUMÉ DE LA DÉCISION .......... 3 - 5

III.       TABLE DES MATIÈRES......................................................................... 6

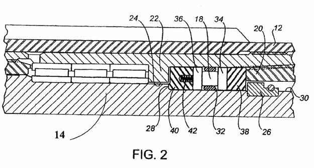
IV.       CONTEXTE               .......................................................................... 7 - 32

            A.        Le brevet et les parties ............................................................ 7 - 16

            B.         L’utilisation de paliers dans les moteurs de forage de fond... 17 - 22

            C.        Témoins           ....................................................................... 23 - 32

(1)        Témoins des demandeurs............................................. 24 - 25

                        (2)        Témoins des défendeurs............................................... 26 - 32

V.        INTERPRÉTATION DES REVENDICATIONS.......................... 33 - 78

            A.        Principes applicables en matière d’interprétation des
                        revendications ........................................................................
33 - 41

            B.         La personne moyennement versée dans l’art......................... 42 - 46

            C.        Le brevet 630  ........................................................................ 47 - 48

            D.        Les revendications.................................................................. 49 - 73

                        (1)        Application des revendications à un moteur de

                                    forage de fond.............................................................. 56 - 66

                        (2)        « téléscopique logée » ......................................................... 67

                        (3)        « relativement alignés » par opposition à ..................................                                                 « relativement parallèles »..................................................................... 68 - 71

                        (4)        « Section tubulaire interne ».......................................... 72 - 73

            E.         Éléments essentiels................................................................. 74 - 76

            F.         Conclusion concernant l’interprétation des revendications.. 77 - 78

VI.       ANTÉRIORITÉ        ...................................................................... 79 - 146

            A.        Principes généraux................................................................. 80 - 90

            B.         Application à la preuve........................................................ 91 - 144

                        (1)        Le palier 3103 renferme‑t‑il l’objet

                                    du brevet 630?........................................................... 96 - 104

                        (2)        Le palier 3103 est‑il antérieur au brevet 630? ........... 105- 113

                        (3)        Le palier 3103 était‑il accessible au public? .............. 114 - 144

                                    a)         Caractère suffisant de la divulgation......... 116 - 124

                                    b)         Confidentialité............................................ 125 - 138

                                    c)         Expérimentation ........................................ 139 - 144

            C.        Conclusion concernant l’antériorité ................................. 145 - 146

VII. ÉVIDENCE                    .................................................................... 147 - 207

            A.        Principes juridiques ........................................................... 148 - 150

            B.         La personne versée dans l’art...................................................... 151           

            C.        Les connaissances générales courantes ............................ 152 - 173           

            D.        L’idée originale.................................................................. 174 - 175           

            E.         Les différences entre ce qui ferait partie de l’« état de

                        la technique » et l’idée originale ....................................... 176 - 191

            F.         L’évidence des différences ................................................ 192 - 204

            G.        Conclusion concernant l’évidence..................................... 205 - 207

VIII.    UTILITÉ                    .................................................................... 208 - 213

IX.       CONCLUSION          ...................................................................  214 - 220

 

 

IV.       CONTEXTE

 

A.        Le brevet et les parties

 

[7]               Dans l’exposé conjoint des faits et les pièces produites (collectivement, la pièce 1), les parties se sont entendues sur nombre de faits concernant l’historique du brevet 630 et les parties au litige. La présente section expose les faits importants pour les questions en litige dans la présente action.

 

[8]               Monsieur Bill Wenzel a présenté sa demande pour le brevet 630 le 1er octobre 1990. La demande de brevet a été publiée (ou rendue publique) le 2 avril 1992 et le brevet 630 a été accordé à Bill Wenzel le 17 mai 1994. Bill Wenzel y est désigné comme l’inventeur.

 

[9]               Dans un acte daté du 8 décembre 1997, Bill Wenzel a fait cession de [Traduction] « tous ses droits » afférents au brevet 630 à Wenzel Downhole Tools Inc. Dans un acte daté du 17 décembre 1997, Wenzel Downhole Tools Inc. a fait cession de [Traduction] « tous ses droits » afférents au brevet 630 à Master Downhole Canada Inc. Le 25 février 1998, Master Downhole Canada Inc. a remplacé son nom par Wenzel Downhole Tools Ltd. (Wenzel Downhole), le deuxième demandeur à la présente action.

 

[10]           Les sociétés défenderesses sont toutes des sociétés apparentées. Monsieur Frederick W. Pheasey, qui est directeur de Dreco Energy Services ULC, ayant droit de Dreco Energy Services Ltd. (Dreco), est également désigné comme défendeur.

 

[11]           La société mère de toutes les autres sociétés défenderesses est la défenderesse National Oilwell Varco Inc. (Varco), personne morale constituée en vertu des lois de l’État du Delaware ayant son siège social à Houston, au Texas.

 

[12]           Les autres sociétés défenderesses sont les suivantes :

 

·                    National-Oilwell Canada Ltd., personne morale constituée en vertu des lois de l’Alberta et faisant affaire en Alberta et ailleurs au Canada;

 

·                    National Oilwell Nova Scotia Company, personne morale constituée en vertu des lois de la Nouvelle‑Écosse;

 

·                    Vector Oil Tool Ltd., maintenant connue sous la dénomination sociale Vector Oil Tool ULC (Vector), personne morale constituée en vertu des lois de l’Alberta.

 

[13]           Même s’ils n'ont pas été constitués parties à l'instance, Griffith Oil Tool Ltd. (Griffith) et M. Kenneth (Ken) Wenzel ont joué des rôles importants dans les faits qui ont mené au présent litige.

 

[14]           Ken Wenzel est le frère aîné de Bill Wenzel. Griffith, une société créée en 1974, était la propriété de Ken Wenzel qui détenait 10 p. 100 des actions et de Dreco (ou son prédécesseur) qui détenait 90 p. 100 des actions. Vers 1980, Ken Wenzel a cessé d’être actionnaire de Griffith. « Griffith Oil Tool » et « Griffith » sont des noms commerciaux souvent employés par Dreco et d’autres sociétés affiliées de Varco pour désigner leurs produits d’outillage de forage de fond, y compris les moteurs de forage à déplacement positif, les coulisses de forage et les outils de service, que Dreco et d'autres sociétés affiliées de Varco vendent, louent et entretiennent grâce à leurs diverses installations partout dans le monde.

 

[15]           Ken Wenzel est propriétaire de Kenneth H. Wenzel Oilfield Consulting Inc. (Ken Wenzel Consulting). En octobre 1986, Ken Wenzel Consulting a conclu un contrat avec Dreco pour la prestation des services de Ken Wenzel dans la conception et la mise au point d'outils de forage. L’obligation de Ken Wenzel Consulting de fournir les services de Ken Wenzel à Dreco a pris fin le 1er janvier 1991.

 

[16]           Comme conséquence du règlement du litige devant la Cour du Banc de la Reine de l'Alberta (dossiers nos 0203 12910 et 0603-14265), Ken Wenzel a consenti à payer une partie des dommages‑intérêts que Dreco ou Vector a été condamnée à payer dans cette poursuite.

 

B.         L’utilisation de paliers dans les moteurs de forage de fond

 

[17]           L’objet du différend entre les parties au litige est une pièce d’équipement pétrolier qui facilite le forage de puits de pétrole et de gaz. Tous les témoins experts m’ont aidée à comprendre les aspects techniques des opérations de forage et, en particulier, la fonction des moteurs de forage de fond et des paliers qu’ils contiennent.

 

[18]           Les puits de pétrole et de gaz sont forés à travers la terre et le roc en faisant tourner un trépan à l'extrémité inférieure d'une tige de forage. Pour forer des puits plus profonds et des puits qui dévient de la verticale – généralement connus sous le nom de puits déviés ou horizontaux – la rotation du trépan est souvent commandée au moyen d’un moteur de forage de fond ou moteur à boue, situé près du trépan. Le moteur à boue utilise l’énergie transmise par l'écoulement des boues de forage dans le puits de forage pour faire tourner un arbre raccordé au trépan, permettant ainsi de forer un puits sans qu'il soit nécessaire de faire tourner la tige sur toute sa longueur pendant l’opération de forage.

 

[19]           L’utilisation de paliers n’est pas restreinte au domaine pétrolier; ceux-ci sont utilisés partout où il y a un mouvement relatif entre deux pièces d’une machine ou d’un appareil. Les roulements des paliers (comme les roulements à billes ou les roulements à rouleaux) se trouvent habituellement entre deux bagues ou couronnes appelées « chemins de roulement ». Puisque les roulements des paliers peuvent se déplacer plus librement dans les limites de leurs chemins que les composants avoisinants, leur coefficient de frottement est bien inférieur à celui de deux surfaces plates qui tourneraient l’une contre l’autre. Par conséquent, les paliers permettent de réduire la friction due à la rotation et de supporter des charges radiales et axiales.

 

[20]           Le terme « palier » est utilisé pour désigner l’ensemble du contexte de conception dans lequel les roulements sont utilisés. Un palier peut comprendre un certain nombre de composants différents, comme des chemins de roulement, des ressorts et des rondelles, pour aider à supporter des charges spécifiques à une application donnée ou pour accroître la durabilité du palier en question. Les paliers peuvent être conçus de manière à soutenir des charges dites radiales (perpendiculaires à l’axe) ou axiales (parallèles à l’axe). Les paliers conçus pour soutenir des charges axiales sont communément appelés « paliers de butée ». Les paliers destinés à soutenir à la fois des charges de compression et de traction sont connus sous le nom de « paliers de butée bidirectionnels ».

 

[21]           Dans le contexte des moteurs de fond utilisés pour le forage de puits de pétrole et de gaz, les charges axiales (agissant parallèlement à la tige) constituent les forces principales auxquelles l’équipement de forage est soumis. Les charges axiales peuvent être exercées dans deux directions :

 

i)                    Les charges de compression – aussi appelées charges de fond – sont créées lorsque le trépan et la tige s’enfoncent dans la terre et le roc;

 

ii)                   Les charges de traction – aussi appelées charges au-dessus du fond – sont créées lorsque le trépan et la tige sont levés.

 

Bien que les charges principales subies par l'équipement lors du forage d’un puits soient de type axial, des charges radiales sont également exercées, particulièrement lors du forage de puits déviés.

 

[22]           Le palier de butée bidirectionnel conçu et breveté par Bill Wenzel constitue un exemple d’un palier de butée bidirectionnel pour moteurs de forage de fond.

 

C.        Témoins

 

[23]           Pendant les neuf jours consacrés à la preuve, un certain nombre de témoins des faits et de témoins experts ont comparu. Un bref résumé des témoins et des sujets abordés dans leurs témoignages figure dans la présente section des motifs.

 

            1)         Témoins des demandeurs

 

[24]           Monsieur Bill Wenzel était le seul témoin des faits pour les demandeurs. Il est machiniste et concepteur d’outils de forage de fond. Il est l’inventeur ou un co-inventeur désigné d’environ 30 brevets canadiens et américains pour des outils de forage de fond, y compris le brevet 630. Le témoignage de Bill Wenzel a porté sur plusieurs sujets, notamment :

 

·                    ses relations d’affaires avec ses frères, Ken, Doug et Bob Wenzel;

 

·                    la mécanique du forage de fond et les outils de forage de fond;

 

·                    le développement de l’équipement protégé par le brevet 630 et son fonctionnement;

 

·                    l’art antérieur;

 

·                    une action antérieure en contrefaçon de brevet;

 

·                    les dommages-intérêts.

 

[25]           Monsieur Brian Thicke est un ingénieur actuellement à l'emploi d'une firme de génie-conseil d’Edmonton. Pour ce qui concerne la présente affaire, M. Thicke possède de l’expérience dans l'industrie pétrolière et gazière, de même qu’avec les outils de fond de puits. Il a également travaillé avec des roulements et des paliers utilisés dans diverses applications. La Cour a reconnu les compétences de M. Thicke comme expert en conception et utilisation de matériel mécanique, y compris des roulements, des paliers et des outils de forage de fond de terrain. Monsieur Thicke a fourni une opinion d'expert sur les questions concernant l'interprétation des revendications, la contrefaçon, l’antériorité, l’évidence, l’utilité et la promesse du brevet, la personne moyennement versée dans l’art et les connaissances générales à l’époque pertinente.

 

(2)        Témoins des défendeurs

 

[26]           Monsieur Ken Wenzel était un témoin des faits importants pour les défendeurs. Ken Wenzel détient plusieurs brevets dans le domaine de l’industrie pétrolière et gazière. Il a parlé de bien des sujets dont ceux-ci : 

 

·                    ses relations d’affaires avec ses frères;

 

·                    son emploi au sein de différentes entreprises dans l’industrie des outils de forage de fond;

 

·                    la mise au point et l’utilisation du palier 3103 (qui sera décrit plus loin dans les présents motifs);

 

·                    ses connaissances relatives au brevet 630.

 

[27]           Monsieur David Kutinsky était un témoin des faits pour les défendeurs. Il est dessinateur pour l'industrie pétrolière et a travaillé avec un certain nombre d’outils de forage de fond, notamment des coulisses de forage, des outils à impact, des moteurs à boue et leurs composants. Il est particulièrement pertinent de souligner que M. Kutinsky a travaillé avec M. Ken Wenzel chez Griffith. Les sujets suivants ont été abordés lors de son témoignage :

 

·                    le fonctionnement d’un palier;

 

·                    ses relations de travail avec Ken Wenzel;

 

·                    le développement des paliers 3124, 238, 3103 et 3104;

 

·                    le processus de conception, y compris les procédures de datation des documents.

 

[28]           Maître Wayne Kanak, témoin des faits pour les défendeurs, est un avocat spécialisé en droit de la propriété intellectuelle au service de Schlumberger Canada Limited (Schlumberger). Il a aussi déjà agi comme conseiller en droit des brevets pour cette société. Maître Kanak a témoigné concernant les activités d’Anadrill, une ancienne division de Schlumberger, et l’enquête qu’il a réalisée sur l’allégation de contrefaçon du brevet américain de Bill Wenzel pour le palier décrit dans le brevet 630.

 

[29]           Monsieur Michael Finnie est un spécialiste de la criminalistique numérique. Son travail, qu’il effectue souvent dans le cadre de litiges, comprend l'identification, la collecte, la préservation et l'analyse de preuves stockées numériquement. Il est également instructeur à l’Université de Washington, dans le programme de certificat en informatique judiciaire. La Cour a reconnu les compétences de M. Finnie comme expert en criminalistique numérique, afin qu’il puisse témoigner au sujet de la collecte, la préservation et l'analyse de fichiers, de logiciels et de médias stockés numériquement, y compris l’analyse judiciaire de la preuve électronique ainsi que l’évaluation et l’analyse de métadonnées et de renseignements chiffrés sur des fichiers, des logiciels et des médias stockés numériquement, ce qui inclus notamment des dates. Le témoignage de M. Finnie portait sur la nature des métadonnées et son analyse de la date de création de divers fichiers AutoCAD des défendeurs.

 

[30]           Monsieur Allan Nelson est un ingénieur qui travaille pour une société d'experts-conseils. Depuis qu’il a obtenu un diplôme en génie mécanique dans le domaine de la conception, M. Nelson se consacre à la conception, à l'utilisation et à la réparation d’appareils de forage et de plates-formes de maintenance. En tant qu'expert-conseil, le travail de M. Nelson comprend l’analyse des défaillances des outils de fond et des tiges de forage, de même que la conception d’équipement de fond et de machinerie générale. Monsieur Nelson a effectué l’analyse de brevets et a également travaillé avec des roulements, des paliers, des sections tubulaires, des forces radiales et axiales, ainsi qu’avec la dynamique de la rotation relative. La Cour a reconnu les compétences de M. Nelson comme expert en génie mécanique en ce qui concerne la construction et la portée du brevet 630, les caractéristiques de la personne moyennement versée dans l’art et l’art antérieur se rapportant au brevet 630, plus particulièrement en ce qui a trait à l’antériorité et à l’évidence. Monsieur Nelson a fourni des opinions sur les personnes moyennement versées dans l’art, l’interprétation des revendications, l’art antérieur, l’évidence, le caractère inventif et l’utilité.

 

[31]           Monsieur Gary Wooley, Ph.D., est ingénieur‑conseil mécanicien et pétrolier et ingénieur agréé au Texas. Il est détient un doctorat en génie. La Cour a reconnu les compétences de M. Wooley comme expert en génie pétrolier et mécanique pour donner une opinion sur l’interprétation et la portée du brevet 630, l’art antérieur ayant trait aux antériorités et à l’évidence et les caractéristiques de la personne moyennement versée dans l’art. Monsieur Wooley a témoigné sur toutes ces questions, particulièrement sur l’art antérieur et les connaissances générales courantes de la personne moyennement versée dans l’art. Monsieur Wooley a également fourni de l’aide à la Cour sur la question de l’utilité.

 

[32]           Monsieur Jack Miller est ingénieur en mécanique. Il possède de l’expérience dans le domaine de la conception mécanique, y compris dans la conception d'un tube carottier entraîné par moteur à boue. Il compte plusieurs brevets à son nom. La Cour a reconnu les compétences de M. Miller comme expert en génie mécanique pour donner une opinion sur l’interprétation et la portée du brevet 630, l’art antérieur, l’évidence, l’utilité et les caractéristiques de la personne moyennement versée dans l’art. Monsieur Miller s’est prononcé sur toutes ces questions, particulièrement sur l’art antérieur et la terminologie employée dans les revendications du brevet 630. Monsieur Miller a également examiné les dossiers des demandes de brevet faites au Canada et aux États‑Unis et il a témoigné sur la disponibilité de l’art antérieur.

 

V.        INTERPRÉTATION DES REVENDICATIONS

 

A.        Principes applicables en matière d’interprétation des revendications

 

[33]           Avant de me pencher sur les questions relatives à la validité et à la contrefaçon, comme nous l’a enseigné la Cour suprême du Canada, je dois interpréter les revendications pertinentes du brevet 630 (Whirlpool Corp c Camco Inc, 2000 CSC 67, [2000] 2 RCS 1067, au paragraphe 43 [Whirlpool]; Free World Trust c Électro Santé Inc, 2000 CSC 66, [2000] 2 RCS 1024, au paragraphe 15 [Free World Trust]).

 

[34]           Dans l’interprétation du présent brevet, je me laisse guider par les arrêts de la Cour suprême du Canada (Whirlpool, précité; Free World Trust, précité). Ces arrêts nous enseignent que les revendications d’un brevet doivent être interprétées de manière éclairée et en fonction de l’objet et qu’il faut éviter une interprétation trop textuelle. Comme l’a expliqué le juge Binnie dans l’arrêt Whirlpool, précité, au paragraphe 45 :

L’interprétation téléologique repose donc sur l’identification par la cour, avec l’aide du lecteur versé dans l’art, des mots ou expressions particuliers qui sont utilisés dans les revendications pour décrire ce qui, selon l’inventeur, constituait les éléments « essentiels » de son invention.

 

[35]           L’interprétation du brevet doit être faite du point de vue de la personne moyennement versée dans l’art. Ma première tâche consiste à déterminer les attributs de cette personne. La Cour suprême a fourni les indications suivantes pour définir la personne moyennement versée dans l’art dans Whirlpool, précité, au paragraphe 53 :

[L]e mémoire descriptif du brevet s’adresse non pas aux grammairiens, aux étymologistes ou au public en général, mais plutôt aux personnes suffisamment versées dans l’art dont relève le brevet pour être en mesure, techniquement parlant, de comprendre la nature et la description de l’invention : H. G. Fox, The Canadian Law and Practice Relating to Letters Patent for Inventions (4e éd. 1969), à la p. 185.

 

[36]           Dans Free World Trust, précité, au paragraphe 44, le juge Binnie a déclaré ce qui suit :

Le brevet ne s’adresse pas au citoyen ordinaire, mais au travailleur versé dans l’art, que le Dr Fox a décrit [dans Harold G. Fox, The Canadian Law and Practice Relating to Letters Patent for Inventions, 4e éd. Toronto : Carswell, 1969, à la p. 184] comme

 

[Traduction] un être fictif ayant des compétences et des connaissances usuelles dans l’art dont relève l’invention et un esprit désireux de comprendre la description qui lui est destinée. Cette notion de la personne fictive a parfois été assimilée à celle de l’« homme raisonnable » retenue en matière de négligence. On suppose que cette personne va tenter de réussir, et non rechercher les difficultés ou viser l’échec.

 

(Fox, op. cit., à la p. 184)

 

[37]           Pour les besoins de l’interprétation du brevet, la date pertinente est la date de publication ou la date à laquelle le brevet a été rendu public (Free World Trust, précité, aux paragraphes 53 et 54). Dans la présente affaire, cette date est le 2 avril 1992.

 

[38]           Qu’est‑ce qui rend un élément essentiel de façon générale? Lord Diplock, dans l’arrêt Catnic Components Ltd c Hill & Smith Ltd, [1982] RPC 183, de la Chambre des lords, (arrêt cité dans l’arrêt Whirlpool, précité, au paragraphe 44) a donné aux pages 242 et 243 les indications utiles suivantes :

[Traduction] Vos Seigneuries, le mémoire descriptif d’un brevet est une déclaration unilatérale du breveté, faite dans ses propres mots et s’adressant à ceux qui sont susceptibles d’avoir un intérêt concret dans l’objet de son invention (c’est‑à‑dire qui sont « versés dans l’art »), par laquelle il les informe de ce qu’il prétend être les caractéristiques essentielles du nouveau produit ou du nouveau procédé pour lequel les lettres patentes lui confèrent un monopole. Ce sont seulement les nouvelles caractéristiques qu’il prétend essentielles qui constituent ce qu’on appelle l’« essence » de la revendication. Le mémoire descriptif d’un brevet doit recevoir une interprétation téléologique plutôt que l’interprétation purement littérale découlant du genre d’analyse terminologique méticuleuse que les avocats sont trop souvent tentés de faire en raison de leur formation. La question qui se pose dans chaque cas est la suivante : les personnes ayant une connaissance et une expérience pratiques du genre de travail auquel l’invention est destinée à servir comprendraient‑elles que le breveté voulait que l’interprétation stricte d’une expression ou d’un mot descriptifs particuliers figurant dans une revendication constitue une condition essentielle de l’invention, de manière à ce que toute variante soit exclue du monopole revendiqué même s’il se peut qu’elle n’ait aucun effet important sur la façon dont l’invention fonctionne.

 

[Caractères italiques dans l’original. Non souligné dans l’original.]

 

[39]           En termes très simples, un élément essentiel est un élément qui, s’il était modifié, aurait une incidence sur le fonctionnement de l’invention.

 

[40]           Dans la présente affaire, les opinions divergeaient sur la mesure dans laquelle le mémoire descriptif peut jouer un rôle dans l’interprétation des revendications. Il faut toujours se demander ce que la personne versée dans l’art aurait saisi de la teneur du libellé des revendications. Pour cette raison, les mots choisis par le breveté revêtent généralement une grande importance. Toutefois, la jurisprudence nous enseigne que, s’il y a lieu, l’ensemble du brevet ‑ et non simplement les revendications ‑ devrait être pris en considération (Eli Lilly Canada Inc c Apotex Inc, 2008 CF 142, 323 FTR 56, au paragraphe 25; Eli Lilly Canada Inc c Novopharm Ltd, 2007 CF 596, [2008] 2 RCF 749, au paragraphe 103). La Cour doit interpréter les revendications en tenant compte de la description donnée dans le mémoire descriptif, avec l’aide des experts pour connaître la signification des termes techniques si, à la lecture du mémoire descriptif, la Cour ne réussit pas à les comprendre (Shire Biochem Inc. c Canada (Santé), 2008 CF 538 328 FTR 123, au paragraphe 22,; Whirlpool, précité, au paragraphe 45). Mais, comme la jurisprudence s’est appliquée à nous prévenir, le mémoire descriptif ne peut servir à élargir ou à restreindre l’essence de qui est revendiqué (Whirlpool, précité, au paragraphe 52; Janssen-Ortho Inc c Canada (Santé), 2010 CF 42, 361 FTR 268, aux paragraphes 115 à 119).

 

[41]           Gardant ces principes à l’esprit, j’examinerai le brevet 630. Je commencerai par définir notre personne moyennement versée dans l'art. J'examinerai ensuite la description du brevet et les revendications, en mettant l'accent sur les points sur lesquels les parties ne s’entendent pas. Enfin, selon l’analyse, j’établirai quels seraient, à mon avis, les éléments essentiels du brevet 630. 

 

B.         La personne moyennement versée dans l’art

 

[42]           Tel qu’il a été mentionné précédemment, les revendications pertinentes du brevet 630 doivent être interprétées du point de vue de la personne moyennement versée dans l’art. Les demandeurs insistent à juste titre sur le mot « moyennement » dans le contexte de la description de notre personne fictive moyennement versée dans l’art. Je conviens que les experts qui ont présenté leur opinion au cours du procès, ainsi que l’inventeur, Bill Wenzel, et son frère, Ken Wenzel, ne devraient pas être considérés comme étant la personne moyennement versée dans l’art à qui le brevet s’adresse. Toutefois, à raison, les défendeurs soulignent que cette personne doit être « versée dans l’art ».

 

[43]           Chacun des experts a fait état de ses critères pour qualifier la personne versée dans l’art. Dans son rapport, M. Wooley a décrit la personne moyennement versée dans l’art comme suit (pièce 1, onglet 59, article 1.2.1.).

[traduction]

Selon l’expérience que j’ai acquise dans les domaines du forage dévié et de la mécanique des outils de fond de puits, comme les moteurs à boue, une personne versée dans l’art qui chercherait à comprendre le brevet 630 de Wenzel et d’autres dispositifs semblables devrait posséder des aptitudes et de l’expérience en mécanique, une certaine compréhension des opérations et des conditions de fond, ainsi qu’une formation raisonnable, sans nécessairement détenir de diplôme d'ingénieur.

 

Dans le rapport présenté en contre‑preuve, M. Thicke, l’expert dont les demandeurs ont retenu les services, s’est dit d'accord sur cette description (pièce 1, onglet 54, annexe 12).

 

[44]           Lorsque la question lui a été posée pendant l’interrogatoire principal, M. Miller a donné une excellente description des attributs de la personne versée dans l’art :

[traduction]

Ce serait évidemment quelqu’un qui est – qui travaille au développement d'outils de fond de puits et qui aurait eu de la difficulté à emballer des paliers, ou peut-être quelqu’un qui a – qui a réellement pu constater des problèmes de service, qui possède de l'expérience avec les problèmes de service des paliers et qui serait à l’affût d’un palier qui pourrait lui convenir.

 

[traduction]

Quant aux compétences techniques, je crois que cette personne serait très douée sur le plan technique et, à mon avis, l’éducation n’est pas un gage de cette compétence. Il pourrait donc s’agir d’une personne ayant travaillé dans un atelier, bien que ce ne soit pas probable. Ce serait probablement quelqu’un qui aurait réellement eu à dessiner la manière dont toutes ces choses s'emboîtent sur papier, vous savez. Alors, il est peu probable que ce ne soit que quelqu’un qui est simplement – qui est un ouvrier de service, pour ainsi dire. Il s’agirait plutôt d’une personne disposée à comprendre le fonctionnement de ces outils et à en reconnaître les mérites.

 

[45]           Bien que les autres experts qui ont décrit la personne versée dans l'art aient employé des mots un peu différents, leur opinion ne divergeait pas substantiellement de celle donnée par M. Wooley et davantage approfondie par M. Miller.

 

[46]           Compte tenu de toutes ces observations, j’estime que notre personne versée dans l’art n’a peut-être pas fait de longues études, mais elle est capable de comprendre les dessins et les revendications d'un brevet dans le domaine. Son expérience ferait en sorte qu’elle possède des connaissances sur de nombreux de dispositifs mécaniques – comment ils sont fabriqués et utilisés et comment ils fonctionnement. Ces connaissances pourraient s’étendre à une compréhension de la façon dont sont forés les puits de pétrole et de gaz, y compris les différents environnements de forage. Cette personne posséderait également une compréhension de base (quoique pas très technique) des forces qui sont en jeu dans différentes conditions. Elle pourrait avoir un peu d’expérience d'adaptation ou de modification d’outils existants dans le but de répondre à un besoin; dans cette mesure, elle aurait une certaine capacité limitée à concevoir du matériel. Les qualités de la personne que j’ai décrite constituent, à mon avis, un juste équilibre entre la personne simplement « moyenne » et celle qui fait preuve d’inventivité pour la tâche en vue.

 

C.        Le brevet 630

 

[47]           Pour évaluer les revendications du brevet, il est utile de commencer par un aperçu de la façon dont le palier du brevet 630 est censé fonctionner. Les experts s’entendent à cet égard. Le schéma ci-dessous est une reproduction de la figure 2 du brevet, à laquelle le chiffre « 14 » a été ajouté pour désigner la section tubulaire interne. La figure 2 est un gros plan du palier illustré à la figure 1 du brevet 630.

 



[48]           Le fonctionnement de l’ensemble représenté aux figures 1 et 2 est énoncé à la page 7 du brevet et a été décrit en termes clairs par M. Miller (pièce 1, onglet 58B à la p. 3), comme suit :

[traduction]

 

La figure 1 montre un schéma de la chambre de palier décrite dans le brevet 630 et définie par l’épaulement externe (20) et l’épaulement interne (26) qui font face vers le bas, ainsi que par l’épaulement externe (22) et l’épaulement interne (28) qui font face vers le haut. Ce qui est décrit et représenté dans la figure est tout simplement une chambre de confinement (32) à quatre épaulements pour palier de butée, formée entre la section tubulaire externe (12) et la section tubulaire interne (14). La chambre de confinement est également décrite (ou définie) aux revendications 1a, 1b, 2a et 2b du brevet 630.

 

Le palier de butée, avec chemins de roulement et rouleaux, est illustré à la figure 1 (articles 34, 36 et 18).

 

[Diagramme omis]

 

Lorsque le tube interne (14), ou mandrin, se déplace vers le haut par rapport au tube externe (12), ou carter (ce qu’on appelle être « sur le fond », c’est-à-dire lors du forage au fond du puits), à partir de la position neutre, les épaulements se referment et la chambre raccourcit. De même, lorsque le tube interne se déplace vers le bas par rapport au tube externe (ce qu’on appelle être « au-dessus du fond », c’est-à-dire lorsque l’ensemble est soulevé du fond) à partir de la position neutre, la chambre raccourcit également entre les épaulements.

 

Puisque le palier de butée se trouve entre les épaulements internes et externes, il est évident que le mouvement de l’ensemble dans un sens comme dans l’autre (c.-à-d. compression ou traction) exerce une charge de compression sur le palier. L'un des avantages énoncés pour cette disposition est qu’elle permet d’utiliser un seul palier pour les deux directions de poussée et, par conséquent, il est possible de former un ensemble plus court que ce qui serait possible si des paliers distincts étaient utilisés pour les poussées axiales vers le haut et vers le bas.

 

 

 

D.        Les revendications

 

[49]           Le brevet 630 comporte trois revendications. Seules les revendications 1 et 2 sont en litige en l’espèce.

 

[50]           La revendication 1 du brevet 630 se rapporte à une méthode d'exploitation d'un palier en utilisant des composants connus énoncés dans l'introduction et les étapes novatrices décrites aux paragraphes a, b et c de la revendication 1 :

[traduction]

 

1.         Une méthode pour accroître la capacité de charge de traction d’un palier de butée ayant une section tubulaire externe, une section tubulaire interne télescopique logée dans la section tubulaire externe, et des roulements disposés entre les sections tubulaires interne et externe pour faciliter la rotation relative des sections tubulaires externe et interne tout en supportant des charges radiales et axiales. Cette méthode comprend les étapes suivantes :

a.         Premièrement, former deux épaulements diamétralement opposés sur la face intérieure de la section tubulaire externe;

b.         Deuxièmement, former deux épaulements diamétralement opposés sur la face extérieure de la section tubulaire interne, de façon à ce que les épaulements de la section tubulaire interne soient relativement alignés avec les épaulements de la section tubulaire externe pour former une chambre de confinement;

c.         Troisièmement, placer au moins un palier de butée dans la chambre de confinement, le palier de butée étant doté d’un chemin de roulement de chaque côté, de façon à ce que le premier épaulement de la section tubulaire externe vienne s’appuyer contre le chemin de roulement du premier côté et que le deuxième épaulement de la section tubulaire interne vienne s’appuyer contre le chemin de roulement du deuxième côté lorsque le palier est soumis à une charge de compression, et de manière à ce que le deuxième épaulement de la section tubulaire externe vienne s’appuyer contre le chemin de roulement du deuxième côté et que le premier épaulement de la section tubulaire interne vienne s’appuyer contre le chemin de roulement du premier côté lorsque le palier est soumis à une charge de traction.

 

[51]           La revendication 2 se rapporte à des améliorations apportées à un palier. Les améliorations en question sont décrites aux paragraphes a, b et c. Il est important de souligner que la revendication 2 n’est pas une revendication dépendante; apparemment, l’inventeur a prévu que chacune des deux revendications puisse être autonome.

[traduction]

 

2.         L’amélioration d’un palier de butée ayant une section tubulaire externe, une section tubulaire interne télescopique logée dans la section tubulaire externe, et des roulements disposés entre les sections tubulaires interne et externe pour faciliter la rotation relative des sections tubulaires externe et interne tout en supportant des charges radiales et axiales. Les améliorations apportées comprennent :

a.         Deux épaulements diamétralement opposés sur la face intérieure de la section tubulaire externe;

b.         Deux épaulements diamétralement opposés sur la face extérieure de la section tubulaire interne, de façon à ce que les épaulements de la section tubulaire interne soient relativement parallèles aux épaulements de la section tubulaire externe pour former une chambre de confinement;

c.         Au moins un palier de butée dans la chambre de confinement, le palier de butée étant doté d’un chemin de roulement de chaque côté, de façon à ce que le premier épaulement de la section tubulaire externe vienne s’appuyer contre le chemin de roulement du premier côté et que le deuxième épaulement de la section tubulaire interne vienne s’appuyer contre le chemin de roulement du deuxième côté lorsque le palier est soumis à une charge de compression, et de manière à ce que le deuxième épaulement de la section tubulaire externe vienne s’appuyer contre le chemin de roulement du deuxième côté et que le premier épaulement de la section tubulaire interne vienne s’appuyer contre le chemin de roulement du premier côté lorsque le palier est soumis à une charge de traction.

 

 

[52]           Mises à part les modifications grammaticales apportées pour refléter la différence entre une « méthode » (revendication 1) et les « améliorations » (revendication 2), il y a peu de différence entre les deux revendications.

 

[53]           La revendication 3 n'est pas directement visée par le litige. Elle fait état de dispositifs de polarisation (ressorts) ajoutés à la chambre de confinement dont il est question dans les revendications 1 et 2. En d’autres termes, la revendication 3 est une revendication dépendante. Par conséquent, si je conclus que les revendications 1 et 2 sont invalides, il s’ensuivra forcément que la revendication 3 l’est aussi.

 

[54]           Un certain nombre de questions et de termes précis sont au centre de l’interprétation juste des revendications :

 

a)                   Les revendications convient-elles une signification qui limiterait leur application à un moteur de forage de fond?

 

b)                  Quelle est la signification de l’expression « télescopique logée » utilisée dans les revendications 1 et 2?

 

c)                  Que signifie, le cas échéant, l’utilisation des mots « relativement alignés » à la revendication 1 par opposition à l’expression « relativement parallèles » utilisée à la revendication 2?

 

d)                  Le terme « section tubulaire interne » englobe-t-il à la fois un tube cylindrique et un arbre?

 

[55]           J’examinerai chacune de ces questions.

 

            1)         Application des revendications à un moteur de forage de fond

 

[56]           La question concernant le domaine d’activité auquel les revendications se rapportent constitue un point de désaccord important dans l’interprétation des revendications. De l’avis des défendeurs, les revendications ne se rapportent pas à un secteur d'activité ni à un produit en particulier. Par contre, les demandeurs soutiennent que les revendications concernent un palier utilisé dans le forage d’un fond de terrain.

 

[57]           Les défendeurs s’appuient sur le témoignage de Bill Wenzel pour étayer l’argument selon lequel les revendications ne se limitent pas à une application propre à un secteur d’activité. Ils soulignent particulièrement l’échange suivant qui est survenu au cours du contre‑interrogatoire de Bill Wenzel mené par l’avocat des défendeurs :

[traduction]

 

Q. Y a-t-il – je reprends ma question. Puis-je – seriez-vous d’accord pour dire que l’invention que vous revendiquez se résume à – comporte les éléments suivants. Tout d’abord, il y a quatre épaulements qui forment une unité de confinement?

 

R. C’est exact.

 

Q. Ensuite, cette unité de confinement contient des paliers?

 

R. Exact.

 

Q. Un ou plusieurs paliers, mais au moins un palier?

 

R. C’est exact.

 

Q. Il y a des chemins de roulement?

 

R. C’est exact. Ils font partie du palier.

 

Q. Ils vont de chaque côté du palier, est-ce bien cela?

 

R. Oui. Un palier se compose essentiellement de trois pièces : un chemin de roulement, des roulements et un autre chemin de roulement.

 

Q. Un palier peut-il également être un palier à billes?

 

R. Oui, mais il y a tout de même un chemin de roulement de chaque côté.

 

Q. Non, je ne m’oppose pas à cet élément. J’essaie seulement de savoir si un palier peut aussi bien être un palier à rouleaux qu’un palier à billes?

 

R. Absolument.

 

Q. Alors il y a des paliers et des chemins de roulement, ou si vous le voulez, des paliers comprenant des chemins de roulement, sommes-nous d’accord là-dessus?

 

R. Oui.

 

Q. D’accord. Et il y a rotation relative entre les sections tubulaires interne et externe, n’est-ce pas?

 

R. C’est exact.

 

Q. Et ces termes élégants, sections tubulaires interne et externe, ne sont en fait simplement qu’une manière technique, disons, de décrire un tube?

 

R. C’est exact.

 

Q. Un cylindre, peut-être?

 

R. Oui.

 

Q. Donc, si vous avez ces quatre éléments, récapitulons : les épaulements formant – les quatre épaulements formant une unité de confinement; les roulements et les chemins de roulement, que l’on peut considérer comme faisant partie des paliers ou non, et il y a la rotation relative entre les cylindres. Constituent-ils l'essentiel de l’invention que vous revendiquez?

 

R. Je suppose, oui. Oui.

 

[58]           Le problème lié au fait que les défendeurs s'appuient sur l'opinion de Bill Wenzel pour l'interprétation du brevet est que Bill Wenzel n’est ni un expert autorisé à fournir un témoignage d’opinion à la Cour ni une personne moyennement versée dans l’art du point de vue duquel je dois interpréter les revendications. D’une part, la simple description de l'essence de l'invention qu'a donnée Bill Wenzel ne comprenait pas certains des composants ou des éléments mentionnés par les experts. D’autre part, une personne moyennement versée dans l’art interpréterait les revendications de manière à inclure le positionnement et le lien particulier entre les épaulements et les sections tubulaires. La description que Bill Wenzel a donnée de son invention n’est d’aucune utilité particulière quant à la question de l’interprétation des revendications.

 

[59]           Je conviens que le libellé de la revendication 2 ne comporte pas expressément les mots « fond » ou « pétrole et gaz » ou encore « moteur à boue ». Cela amènerait‑il un lecteur versé dans l’art à conclure que les revendications – en particulier la revendication 2 – ne se rapportent pas à un secteur d’activité et à un produit en particulier? Je ne crois pas que ce serait le cas.

 

[60]           Comme l’ont fait observer les défendeurs, le « préambule » de la revendication 1 et de la revendication 2 énonce l’état de la technique; les éléments de l’invention qui seraient nouveaux et innovateurs sont décrits dans les paragraphes a, b et c de chacune des revendications. Dans le préambule de la revendication 1, le terme « traction » est utilisé. Comme l’a confirmé M. Thicke, il s’agit d’un terme normalement associé au forage de terrains. Pourtant, dans la revendication 2, qui est presque identique à la première, le terme « traction » n’est pas utilisé. Compte tenu de cette étrange omission, j’estime qu’un lecteur versé dans l’art se tournerait vers le mémoire descriptif pour tenter de déterminer le but et la signification des revendications.

 

[61]           Pour donner une interprétation téléologique aux revendications d’un brevet, il me semble qu’il faudrait comprendre l’objet de l’invention et le problème que l’invention vise à résoudre. La plupart des inventeurs mettent au point des inventions brevetables dans le but de résoudre un problème. Quel problème le brevet 630 visait‑il à résoudre?

 

[62]           Comme l’indique le mémoire descriptif du brevet 630, la pratique établie au sein de l'industrie avant l’invention de Bill Wenzel consistait à utiliser deux groupes de paliers de butée distincts – l’un pour soutenir les charges de compression et l’autre, les charges de traction – dans un moteur de forage de fond. Selon la description fournie par Bill Wenzel, puisque les charges de compression sont normalement beaucoup plus importantes que les charges de traction, le palier destiné à recevoir les charges de traction était généralement conçu pour supporter des charges beaucoup moins importantes que l’ensemble ou le groupe de paliers destiné à recevoir les charges de compression. Dans son brevet, Bill Wenzel décrit cette pratique comme le [traduction] « maillon faible dans la conception des paliers » (brevet, p. 1, lignes 30-31). Bill Wenzel souligne toutefois, aux pages 1-2 du brevet, ce qui suit :

[traduction]

Lorsque le train de tiges de forage se coince temporairement dans le puits de forage, la force des secousses imprimées vers le haut pour décoincer le train de tiges dépasse souvent la capacité de charge du palier destiné à recevoir les charges de traction et endommage ce dernier.

 

[63]           Dans le résumé de son invention, Bill Wenzel indique que celle-ci offre une [traduction] « méthode pour accroître la capacité de charge d’un palier de butée sans augmenter la longueur de l’outil » (brevet, p. 2, lignes 12-14). En somme, il s’agit là du « problème » résolu par le brevet 630. Le problème cerné par Bill Wenzel n’est pas de nature générale; il s’agit d'un problème constaté uniquement dans le cadre de l’utilisation d’un palier dans un moteur de forage de fond. Si l’on considère que les revendications sont formulées de manière plus générale, celles-ci ne sont pas compatibles avec ces fins.

 

[64]           Par ailleurs, le brevet 630 porte le titre de « Méthode pour accroître la capacité de charge d’un palier de butée » et se rapporte à cet objet, comme l’énonce clairement le mémoire descriptif du brevet. À la page 1 (ligne 6) du brevet, l’inventeur désigne son invention comme étant un [traduction] « palier utilisé dans les outils de forage de fond de terrain ». D’autres éléments du brevet font également référence au domaine d'application de ce dernier; par exemple :

 

·                    Les figures 1 et 2 illustrent toutes deux clairement le palier dans le contexte d’un moteur de forage de fond.

 

·                    À la page 1 (lignes 15-18), il est écrit que les [traduction] « charges de compression sont plus importantes dans les applications de forage de terrain, car le poids du train de tiges est exercé sur le palier » [non souligné dans l’original].

 

[65]           Comme l’a déclaré M. Wooley dans son rapport d’expertise (pièce 1, onglet 59, article 3.1.1), [traduction] « de toute évidence, le brevet 630 de Wenzel est conçu pour les outils de fond utilisés pour le forage … ». Je suis d’accord. Le brevet 630 vise les moteurs de forage de fond et, à mon avis, il n’y a aucun doute qu’un lecteur versé dans l’art interpréterait les revendications dans ce contexte. Autrement dit, un lecteur versé dans l’art n’arriverait pas à la conclusion que ce brevet vise un palier du type que l'on voit, par exemple, sur les roues ferroviaires ou dans toute autre application du domaine pétrolier.

 

[66]           En somme, une interprétation téléologique des revendications, compatible avec le mémoire descriptif et les dessins, amènerait inévitablement le lecteur à conclure qu’il s’agit d’un palier pour moteur de forage de fond. Interpréter les revendications d’une manière qui chercherait à englober toutes les applications possibles des paliers, comme le laissent entendre les défendeurs, donnerait aux revendications une portée plus large que celle du brevet 630.

 

            2)         « télescopique logée »

 

[67]           Une partie des débats a porté sur l’expression « télescopique logée » qui figure dans les revendications 1 et 2. Après avoir entendu le témoignage des experts sur cette question, il me semble que les mots « télescopique logée » n’ajoutent absolument rien aux revendications. Ces revendications ne traitent pas de l’assemblage du palier. Le palier ne sert pas non plus à faciliter le mouvement alternatif vertical d’une section tubulaire tandis que l’autre demeure stationnaire; il permet plutôt le mouvement de rotation d’une section tubulaire par rapport à l’autre.

 

            3)         « relativement alignés » par opposition à « relativement parallèles »

 

[68]           Dans la revendication 1, l’inventeur utilise les mots « relativement alignés » pour décrire la position relative des épaulements de la section tubulaire interne par rapport aux épaulements de la section tubulaire externe. Dans la revendication 2, les mots « relativement parallèles » sont utilisés. Il s’agit là d’une curieuse différence. Il est clair que deux objets opposés ne peuvent être à la fois alignés et parallèles. Le terme « parallèle » a un sens mathématique précis; ce n’est pas le cas du mot « aligné ».

 

[69]           Interrogé à ce sujet, M. Miller a répondu comme suit :

[traduction]

C’est un mystère pour moi… Il est possible qu’il y ait parallélisme sans alignement. Alors vous savez, théoriquement, [son] parallélisme ne suffirait pas à – ne suffirait pas à former une chambre de confinement comme projeté.

 

Plus loin dans son témoignage, M. Miller a reconnu que, en tenant compte des dessins et des croquis de l’ensemble des éléments, on pouvait arriver à la conclusion que le mot « parallèle » est utilisé au même sens qu’« aligné » et qu’il signifie la même chose. Je conviens que cette interprétation est celle qui a le plus de sens.

 

[70]           Il est également utile d’interpréter les mots « parallèle » et « aligné » en contexte. Comme chacune des revendications l’indique ‑ que les épaulements soient alignés ou parallèles ‑, le but est de positionner les épaulements de telle sorte qu’ils forment une chambre de confinement. Il se peut que les mots « parallèles au » et « alignés avec » puissent être remplacés par « positionnés à côté des ». L’important est que les épaulements soient placés de manière à former une chambre de confinement.

 

[71]           En outre, je constate que l’adverbe « relativement » est utilisé pour modifier non seulement le mot « alignés », mais aussi le mot « parallèles ». Cet adverbe indique un relâchement de toute exigence stricte en matière de parallélisme ou d’alignement, ce qui amènerait notre personne fictive versée dans l’art (et moi de même) à conclure que l’interprétation la plus juste est que « relativement alignés » signifie la même chose que « relativement parallèles ». Dans les deux cas, le mot « relativement » signifie que de petits écarts sont admissibles ou que la plus grande partie – mais possiblement pas la totalité – de la surface des épaulements est alignée avec celle des autres épaulements.

 

            4)         « Section tubulaire interne »

 

[72]           Les défendeurs soutiennent que le terme « section tubulaire interne » pourrait désigner à la fois un cylindre percé d’un trou en son centre et un arbre plein. Aux fins de l’interprétation des revendications, je ne suis pas d’accord.

 

[73]           Comme il en a été fait mention plus haut, j’estime qu'une interprétation téléologique des revendications du brevet 630 restreint l’application de ces dernières à un moteur de forage de fond. Dans ce contexte, le terme « section tubulaire interne » ne peut pas désigner un arbre plein, car l’utilisation d’un tel arbre ne permettrait pas au moteur de forage de fonctionner de la manière prévue. L’expression « section tubulaire interne » doit donc désigner un cylindre creux.

 

E.         Éléments essentiels

 

[74]           Compte tenu de l’analyse qui précède, quels sont les éléments essentiels des revendications 1 et 2 du brevet 630? Dans son rapport d’expertise (pièce 1, onglet 59, article 3.3.1), M. Wooley fournit une liste exhaustive des divers composants de ces deux revendications :

[traduction]

1.                  Une section tubulaire externe.

 

2.                  Une section tubulaire interne télescopique logée dans la section tubulaire externe.

 

3.                  Des roulements disposés entre les sections tubulaires interne et externe pour faciliter la rotation relative des sections tubulaires externe et interne tout en supportant des charges radiales et axiales.

 

4.                  Deux épaulements diamétralement opposés sur la face intérieure de la section tubulaire externe.

 

5.                  Deux épaulements diamétralement opposés sur la face extérieure de la section tubulaire interne.

 

6.                  Les épaulements de la section tubulaire interne sont relativement alignés avec les épaulements de la section tubulaire externe (ou sont relativement parallèles à ceux-ci – revendication 2) pour former une chambre de confinement.

 

7.                  Au moins un palier de butée dans la chambre de confinement.

 

8.                  Le palier de butée est doté d’un chemin de roulement de chaque côté, de façon à ce que le premier épaulement de la section tubulaire externe vienne s’appuyer contre le chemin de roulement du premier côté et que le deuxième épaulement de la section tubulaire interne vienne s’appuyer contre le chemin de roulement du deuxième côté lorsque le palier est soumis à une charge de compression.

 

9.                  Le deuxième épaulement de la section tubulaire externe vient s’appuyer contre le chemin de roulement du deuxième côté et le premier épaulement de la section tubulaire interne vient s’appuyer contre le chemin de roulement du premier côté lorsque le palier est soumis à une charge de traction.

 

[75]           Monsieur Thicke a souscrit à cette liste de composants (pièce 1, onglet 54, annexe 12). Je conviens qu’il s’agit bien des composants du brevet 630, mais il reste encore à déterminer les composants essentiels des revendications.

 

[76]           Les trois premiers composants sont, comme le reconnaît l’inventeur dans le mémoire descriptif et comme l’énoncent les revendications 1 et 2, de simples mentions relatives à l’état de la technique qui existait à l’époque de l’invention de Bill Wenzel. Les composants « inventifs » ou essentiels de l’invention sont les composants 4 à 9 de la liste précédente.

 

F.         Conclusion concernant l’interprétation des revendications

 

[77]           Pour résumer la question de l’interprétation des revendications, je conclus que la revendication 1 (la méthode) et la revendication 2 (les améliorations) visent les moteurs de forage de fond dotés d’une section tubulaire externe et d’une section tubulaire interne séparées par des paliers pour en faciliter la rotation relative tout en supportant des charges radiales et axiales. La section tubulaire interne est un cylindre creux. Les éléments essentiels de l’invention divulguée aux revendications 1 et 2 sont les suivants :

 

1.                  Deux épaulements diamétralement opposés sur la face intérieure de la section tubulaire externe.

 

2.                  Deux épaulements diamétralement opposés sur la face extérieure de la section tubulaire interne.

 

3.                  Les épaulements de la section tubulaire interne sont relativement alignés avec les épaulements de la section tubulaire externe (ou sont relativement parallèles à ceux-ci) pour former une chambre de confinement.

 

4.                  Au moins un palier de butée dans la chambre de confinement.

 

5.                  Le palier de butée est doté d’un chemin de roulement de chaque côté, de façon à ce que :

 

a)                  Le premier épaulement de la section tubulaire externe vienne s’appuyer contre le chemin de roulement du premier côté et que le deuxième épaulement de la section tubulaire interne vienne s’appuyer contre le chemin de roulement du deuxième côté lorsque le palier est soumis à une charge de compression;

 

b)                  Le deuxième épaulement de la section tubulaire externe vienne s’appuyer contre le chemin de roulement du deuxième côté et que le premier épaulement de la section tubulaire interne vienne s’appuyer contre le chemin de roulement du premier côté lorsque le palier est soumis à une charge de traction.

 

[78]           C’est donc sur cette interprétation que je fonderai mon analyse des autres questions en litige.

 

VI.       ANTÉRIORITÉ

 

[79]           Les défendeurs soutiennent que le brevet 630 est invalide pour cause d'antériorité. Plus précisément, ils allèguent que l’invention du brevet 630 a été antériorisée par :

 

·                    un palier de moteur de forage (le palier 3103) conçu par Ken Wenzel, construit par Griffith Oil Tool et utilisé dans une opération de forage avant la date de dépôt du brevet 630 (1er octobre 1990);

 

·                    un tube carottier, dispositif utilisé pour le carottage. Le carottage est une opération qui est souvent accomplie lors du forage de puits de pétrole ou de gaz, et le dispositif utilisé pour cette opération était déjà bien connu du domaine pétrolier et gazier plusieurs dizaines d'années avant le dépôt du brevet 630.

 

A.        Principes généraux

 

[80]           Je commence la présente section en discutant des principes juridiques généraux de l’antériorité.

 

[81]           Le concept de l’antériorité découle de l’article 28.2 de la Loi sur les brevets, LRC 1985, ch. P-4 [la Loi]. En résumé, cette disposition exige que l’« objet que définit la revendication » ne doit pas avoir fait l’objet, avant la date de la revendication, d’une communication « qui l’a rendu accessible au public au Canada ou ailleurs ». L’alinéa 28.2b) est la disposition pertinente. LA voici :

Objet non divulgué

 (1) L’objet que définit la revendication d’une demande de brevet ne doit pas :

 

[. . .]

 

b) avant la date de la revendication, avoir fait, de la part d’une autre personne, l’objet d’une communication qui l’a rendu accessible au public au Canada ou ailleurs;

Subject-matter of claim must not be previously disclosed

 (1) The subject-matter defined by a claim in an application for a patent in Canada (the “pending application”) must not have been disclosed

 

. . .

 

 (b) before the claim date by a person not mentioned in paragraph (a) in such a manner that the subject-matter became available to the public in Canada or elsewhere;

 

[82]           L'arrêt de principe sur la question de l'antériorité est l’arrêt Apotex Inc c Sanofi-Synthelabo Canada Inc, 2008 CSC 61, [2008] 3 RCS 265 [Sanofi-Synthelabo], de la Cour suprême. Dans cet arrêt, la Cour suprême a conclu que la question de savoir si une invention est antériorisée exige que la Cour examine deux questions :

 

1.                  L’objet de l’invention a‑t‑il été rendu public en totalité dans une même divulgation?

 

2.                  À supposer que la divulgation ait été claire, aurait‑elle permis la réalisation de l’invention?

 

[83]           À la première étape de l’analyse, la Cour suprême a donné les indications suivantes, au paragraphe 25 :

En ce qui concerne la divulgation, la personne versée dans l’art [TRADUCTION] « est censée tenter de comprendre ce que l’auteur de la description [dans le brevet antérieur] a voulu dire » (par. 32). À cette étape, les essais successifs sont exclus. La personne versée dans l’art se contente de lire le brevet antérieur pour en comprendre la teneur.

 

[84]           Une fois qu’il a été établi qu’il y a eu divulgation, la question du caractère réalisable se pose. La Cour suprême a décrit comme suit le caractère réalisable au paragraphe 27 :

Dès lors que l’objet de l’invention est divulgué dans un brevet antérieur, on suppose que la personne versée dans l’art est disposée à procéder par essais successifs pour arriver à l’invention. Bien que de tels essais soient exclus à l’étape de la divulgation, ils ne le sont pas pour les besoins du caractère réalisable, car la question n’est plus de savoir si la personne versée dans l’art saisit la teneur de la divulgation du brevet antérieur, mais bien si elle est en mesure de réaliser l’invention.

 

[85]           La preuve pertinente quant à l’antériorité ne concerne que les réalisations antérieures, selon la compréhension qu’en aurait eue la personne qualifiée (Weatherford Canada Ltd c Corlac Inc, 2011 CAF 228, [2011] ACF no 1090 (QL), au paragraphe 42, inf. pour d’autres motifs, 2010 CF 602, 370 FTR 54 [Weatherford CAF]).

 

[86]           Dans la présente affaire, la question clé est de savoir si le palier 3103 a fait l’objet d’une communication « qui l’a rendu accessible au public au Canada ou ailleurs ». En ce qui a trait à cette question, l’affaire Baker Petrolite Corp c Canwell-Enviro Industries Ltd, 2002 CAF 158, 211 DLR (4th) 696 [Baker], est utile. Dans cet arrêt, la Cour d'appel dresse, au paragraphe 42, une liste non exhaustive de huit principes applicables dans le contexte de la divulgation découlant de la vente ou de l’utilisation antérieure. Bien que l’arrêt Baker ait été rendu avant l’arrêt Sanofi-Synthelabo de la Cour suprême, les premier et deuxième principes exposés par le juge Rothstein (alors à la Cour d’appel fédérale) dans Baker préfigurent d’une certaine façon l’arrêt Sanofi-Synthelabo. Les principes 3 et 6 sont particulièrement pertinents en l’espèce :

3.         L’utilisation antérieure ou la vente antérieure d’un produit chimique permettra au public de réaliser l’invention s’il est possible d’en découvrir la composition au moyen d’une analyse. […]

 

6.         Il n’est pas nécessaire de démontrer qu’un membre du public a effectivement analysé le produit qui a été vendu. Dans l’arrêt Lux, le juge Aldous a dit ce qui suit à la page 133 :

 

[Traduction] De plus, il est bien reconnu en droit qu’il n’est pas nécessaire de prouver qu’une personne a effectivement pris connaissance de la divulgation, pourvu que celle‑ci ait été rendue publique. Ainsi, une description antérieure contenue dans un ouvrage aura pour effet d’invalider un brevet si l’ouvrage en question se trouve sur une étagère d’une bibliothèque ouverte au public, indépendamment du fait que personne ne l’a lu et que celui‑ci se trouve dans un coin sombre et poussiéreux de la bibliothèque. Si l’ouvrage était accessible au public, celui‑ci aura le droit d’utiliser les renseignements qu’il contient pour réaliser l’invention sans devoir faire face à un obstacle découlant d’un monopole accordé par l’État.  [Non souligné dans l’original.]

 

Même si les commentaires du juge Aldous concernent l’exemple d’une publication antérieure, l’affaire Lux portait sur une utilisation antérieure et le principe qu’il a formulé s’applique tout aussi bien au cas de l’utilisation antérieure ou de la vente antérieure qu’à celui de la publication antérieure.

 

[Soulignement et caractères italiques dans l’original.]

 

[87]           Plus récemment, dans Bauer Hockey Corp c Easton Sports Canada Inc, 2010 CF 361, 366 FTR 24, au paragraphe 220, conf. par 2011 CAF 83, 414 NR 69 [Bauer CF] [Soulignement dans Bauer FC; notes de bas de page omises], notre Cour a appliqué le critère de la divulgation découlant de l’utilisation ou de la vente antérieure d’une machine qui avait été exposée par le juge Aldous dans Lux Traffic Controls Limited c Pike Signals, [1993] RPC 107 (Pat Ct), à la p. 134 [Lux] :

[Traduction]

Dans le cas d’une description écrite, c’est la description qui est rendue accessible au public, et il importe peu qu’elle ait été lue ou non. Dans le cas d’une machine, c’est la machine qui est rendue accessible, et il importe peu qu’on l’ait ou non fait fonctionner en public. Une machine, tout comme un livre, peut être examinée, et les renseignements découverts peuvent être consignés. Par conséquent, ce qui est rendu accessible au public dans une machine, par exemple un système de contrôle de la lumière, est ce que la personne versée dans l’art, si on lui demandait de décrire la construction et le fonctionnement de cette machine, écrirait après avoir effectué un essai ou un examen convenable. Pour invalider le brevet, la description consignée par la personne versée dans l’art devrait constituer une description claire et non ambiguë de l’invention revendiquée.

 

 

[88]           Ce qui est rendu accessible au public dépendra du type d’examen possible eu égard aux circonstances — par exemple, si l’article est en possession du public ou si le public peut seulement le consulter (Lux, précité, à la p. 134). Ce principe est illustré dans l’affaire Bauer Hockey Corp c Easton Sports Canada Inc, 2011 CAF 83, 414 NR 69, aux paragraphes 64 à 71, conf. par 2010 CF 361 [Bauer CAF], où la Cour d’appel a confirmé la conclusion du juge du procès selon laquelle une partie de la ligue d’essai ne constituait pas une divulgation au public parce que les prototypes de patins n’étaient accessibles que pour une inspection visuelle et qu’ils ne pouvaient être testés ni être examinés de près. Par conséquent, les éléments essentiels du brevet de Bauer n’auraient pas été révélés à une personne versée dans l’art qui aurait assisté à une partie de la ligue d’essai et qui aurait observé les patins portés par les participants.

 

[89]           Le mot « public » a été défini comme étant [Traduction] « une personne qui utilise sans contrainte en droit et en equity l’information » (Lux, précité, à la p. 132). La question de savoir si un acheteur décide de garder l’analyse confidentielle n'est pas pertinente; la vente inconditionnelle du produit en soi rend le produit accessible au public (Baker, précité, au paragraphe 97). Par conséquent, une divulgation ne rendra pas une invention « accessible au public » si elle survient dans une situation donnant lieu à une obligation de confidentialité (Weatherford CAF, précité, au paragraphe 52). Il en est ainsi parce que « [l]’obtention de renseignements confidentiels dans le cadre de rapports de confiance crée l’obligation de ne pas utiliser ces renseignements pour une autre fin que celle en vue de laquelle ils ont été donnés » (Lac Minerals Ltd c International Corona Resources Ltd, [1989] 2 RCS 574, au paragraphe 135, [1989] ACS no 83 (QL) [Lac Minerals]; Weatherford CAF, précité, au paragraphe 52).

 

[90]           Une utilisation à des fins expérimentales peut également ne pas permettre d'établir une divulgation au public. Toutefois, l’utilisation ne sera expérimentale que si l’utilisateur croit qu’il en est ainsi (Gibney c Ford Motor Co of Canada, 52 CPR 140, [1967] 2 ExCR 279, à la p. 163 [Gibney]). Le fait de remettre un appareil à un client, sans restriction quant à son utilisation ni obligation de garder le secret, a été considéré comme constituant une utilisation antérieure, si bien qu’un brevet a été déclaré invalide (Gibney, précité, aux pages 161 à 164).

 

B.         Application à la preuve

 

[91]           Ayant tiré ces principes de la jurisprudence, j’examinerai maintenant la preuve et les arguments présentés devant la Cour en l’espèce.

 

[92]           Je commencerai par l’affirmation des défendeurs selon laquelle les paliers que contiennent les tubes carottiers – dispositifs utilisés dans l’industrie pétrolière et gazière depuis des décennies – antériorisent l’objet du brevet 630. Dans la section des présents motifs traitant de l’évidence (à partir du paragraphe 147), j’analyse les différences entre un tube carottier (tel que décrit par les défendeurs) et le palier du brevet 630. À mon avis, ces différences sont suffisantes pour conclure que le tube carottier ne renferme pas l’objet défini par les revendications 1 ou 2 du brevet 630. Par conséquent, l’allégation d’antériorité ne peut être retenue en ce qui a trait au tube carottier. Je me pencherai plus longuement sur les différences dans la section des présents motifs traitant de l'évidence.

 

[93]           Le palier 3103 présente une situation bien différente. Le palier 3103 a été conçu et construit pour être utilisé dans un moteur de forage de fond. Les défendeurs prétendent que ce palier a été conçu par Ken Wenzel aux environs du mois d’août ou de septembre 1989. Ken Wenzel a témoigné que le palier 3103 est un outil court doté d'un palier étanche et de quatre épaulements formant une chambre de confinement avec un roulement unique capable de résister à la fois à des forces de compression et à des forces de traction. Selon Ken Wenzel, Griffith Oil Tool a construit des paliers 3103 et les a loués à la Ensco Technology Company (Ensco), laquelle les a utilisés sur un chantier de la Oryx Energy Company (Oryx) à Dilley, au Texas, au début des années 1990 (pièce 1, onglet 16). Fait plus important, le palier 3103 non breveté remplit exactement la même fonction que le palier décrit dans le brevet 630. Les défendeurs soutiennent que l’objet du brevet 630 est clairement antériorisé par le palier 3103.

 

[94]           Le premier volet du critère est la divulgation. La divulgation soulève trois questions distinctes :

 

1.                  L’art antérieur renferme‑t‑il l’objet défini par les revendications du brevet 630?

 

2.                  L'art antérieur a‑t‑il été divulgué avant la date de revendication du brevet 630?

 

3.                  L’objet du brevet 630 était‑il accessible au public?

 

[95]           Les défendeurs réussiront à établir le premier volet du critère énoncé dans Sanofi‑Synthelabo, précité, seulement s’il est possible de répondre par l’affirmative à toutes ces questions.

 

(1)        Le palier 3103 renferme‑t‑il l’objet du brevet 630?

 

[96]           Le brevet 630 sera antériorisé seulement si une antériorité renferme l’objet défini par ses revendications. L’antériorité doit seulement divulguer l’invention, et non le produit exact. (Baker, précité, aux paragraphes 42 (point 8) et 77).

 

[97]           Les éléments essentiels des revendications 1 et 2 du brevet 630 ont été énumérés précédemment, au paragraphe 77.

 

[98]           Après avoir entendu les témoignages des experts et examiné la preuve présentée devant la Cour, je suis d’avis qu’il existe entre le palier 3103 et le brevet 630 une seule différence qui est un tant soit peu pertinente. Cette différence est la présence de biseaux sur les épaulements du palier 3103; le brevet 630 ne mentionne pas explicitement l’existence d'épaulements biseautés.

 

[99]           Aucun expert n’a laissé entendre que le brevet 630 interdisait les épaulements biseautés. En contre-interrogatoire, M. Thicke a concédé que le brevet 630 ne précise pas la forme des quatre épaulements, ni n’interdit les épaulements biseautés.

 

[100]       Messieurs Nelson et Wooley ont tous deux témoigné que les revendications du brevet 630 ne précisent pas si les épaulements doivent être droits ou en angle. Monsieur Nelson a dit être d'avis que les épaulements biseautés du palier 3103 sont parallèles, bien qu’il les ait qualifiés de [traduction] « parallèles et interactifs » parce que les épaulements assurent la transmission de la charge des sections interne et externe au palier. Monsieur Nelson a expliqué que les épaulements sont parallèles parce que les biseaux des épaulements sont parallèles les uns par rapport aux autres. En d’autres termes, il y a deux ensembles d'épaulements parallèles. Monsieur Nelson a dit être d’avis que cette disposition satisfait aux exigences du brevet 630 et a conclu que le palier 3103 contient tous les éléments du brevet 630. Monsieur Wooley a lui aussi témoigné que les revendications du brevet 630 ne requièrent pas que les épaulements soient parallèles et placés à un angle de 90 degrés par rapport à l’axe. Monsieur Wooley a expliqué que les épaulements biseautés du palier 3103, bien qu'ils ne soient pas à 90 degrés par rapport à l'axe, remplissent la même fonction et sont tout de même des épaulements parallèles. Monsieur Wooley a également conclu que le palier 3103 [traduction] « contient essentiellement tous les éléments présents dans les revendications du brevet 630 ». Je suis d’accord avec MM. Wooley et Nelson.

 

[101]       Comme il ressort de l’analyse de l’interprétation des revendications, l’utilisation de l’adverbe « relativement » pour modifier les mots « aligné » et « parallèle », aux revendications 1 et 2, permet d'apporter de petites modifications à la majorité, mais peut-être pas à la totalité, des surfaces des épaulements du brevet 630. Par conséquent, le brevet 630 ne requiert pas d’épaulements carrés. J’estime que l’existence d'épaulements biseautés sur le palier 3103 ne change rien à la conclusion que le palier 3103 contient tous les éléments essentiels du brevet 630.

 

[102]       Cette conclusion est étayée par le témoignage de M. Thicke, selon lequel il serait assez simple d’aplatir les épaulements du palier 3103 pour le rendre identique au brevet 630. L’analyse de M. Thicke corrobore la conclusion selon laquelle le palier 3103 serait une contrefaçon du brevet 630 s’il avait été construit à une date ultérieure.

 

[103]       Monsieur Thicke a aussi souligné quelques autres différences entre les deux paliers. Plus précisément, il était d’avis que le brevet 630 est doté d’épaulements plus rigides et qu’il sépare les paliers radiaux du chemin de charge, en plus de comprendre un épaulement inférieur intégré, tandis que la structure de soutien inférieure du palier 3103 est moins solide. Il n'a pu être démontré que ces différences mineures ont une incidence significative sur le fonctionnement du palier 3103. Par ailleurs, aucune de ces variations présumées n'est reflétée dans les revendications du brevet 630, tel qu'il est interprété précédemment dans les présents motifs.

 

[104]        Par conséquent, je conclus que le palier 3103 contient l’objet défini par les revendications du brevet 630. En termes simples, si une personne versée dans l’art fabriquait un palier conforme au dessin du palier 3103, elle construirait un palier qui relève de la portée des revendications 1 et 2 du brevet 630.

 

(2)        Le palier 3103 est‑il antérieur au brevet 630?

 

[105]       La question qui se pose ensuite est de savoir si le palier 3103 est antérieur aux revendications du brevet 630. La date pertinente dans l’analyse relative à l’antériorité est le 1er octobre 1990, à savoir la date de revendication du brevet 630. Le brevet 630 sera invalide seulement si l’art antérieur a été divulgué avant cette date. Puisque Ken Wenzel n’a jamais présenté de demande de brevet pour le palier 3103, nous devons examiner minutieusement les faits pour établir s'il a été conçu et mis en usage avant la date de revendication du brevet 630.

 

[106]       Les parties ne s’entendent pas sur la date de création du palier 3103 des défendeurs. Ken Wenzel a témoigné que le palier 3103 a été conçu à partir d’un tracé fait à la main en vraie grandeur, qu’il a préparé aux environs du mois d’août ou de septembre 1989. Bien que Ken Wenzel se soit souvenu que deux paliers 3103 avaient été construits chez Griffith après la création du tracé et du dessin des pièces, il ne savait pas avec certitude si un troisième outil avait également été construit. Ken Wenzel a témoigné que les paliers 3103 ont été mis à l’essai dans l'atelier de Griffith, à Edmonton, avant d’être expédiés au commerce de location de Griffith à Rosenberg, au Texas, tous près de Houston. Ken Wenzel a expliqué que, de là, les paliers 3103 ont été loués à Ensco et expédiés à Dilley, au Texas, où Ensco entreprenait des travaux de forage pour le compte d’Oryx. Le contre-interrogatoire n'a pas ébranlé Ken Wenzel, dont l’essentiel du témoignage est demeuré solide; il était un témoin crédible.

 

[107]       Monsieur Kutinsky a travaillé comme dessinateur chez Griffith à partir de la fin de 1986 ou du début de 1987 jusqu’au 31 décembre 1990. Son témoignage corroborait plus ou moins celui de Ken Wenzel, même si M. Kutinsky semblait en fait un peu embrouillé quant aux dates des faits pertinents. Monsieur Kutinsky n’était pas certain de la nature du tracé qu'il a reçu de Ken Wenzel, ni de la date à laquelle il l'a reçu. Il a cependant témoigné qu'il a préparé des dessins d’assemblage et des dessins des pièces du palier 3103 à l’aide du logiciel AutoCAD. Monsieur Kutinsky a expliqué qu’il produit généralement au moins deux dessins d'assemblage : un premier avant de dessiner les pièces et un deuxième, révisé, après avoir terminé les dessins des pièces.

 

[108]       Monsieur Kutinsky a d’abord déclaré qu'il avait terminé le dessin d'assemblage vers le 27 septembre 1989 puis, au contre‑interrogatoire, il a affirmé qu’il avait terminé son dessin d’assemblage final le 6 novembre 1989. Monsieur Kutinsky a de plus déclaré qu’il avait vraisemblablement dressé une liste des pièces après avoir créé le deuxième dessin d’assemblage et que cette liste avait été créée le 23 octobre 1989. Cette date précède la date du dessin d’assemblage final de M. Kutinsky.

 

[109]       Les demandeurs ont signalé les contradictions présentes dans le témoignage de M. Kutinsky, ainsi que plusieurs autres incohérences dans les dates des dessins d’assemblage, des listes de pièces et des dessins des pièces. Ils ont également tenté de tirer la conclusion que le premier palier 3103 a été construit quelque temps après le mois de mai 1990. En outre, Bill Wenzel a témoigné que le dessin d’assemblage du palier 3103 était un [traduction] « faux dessin » créé par Ken Wenzel. Selon les demandeurs, il était tout aussi vraisemblable que le palier 3103 ait été conçu et utilisé après le mois de mai 1990 ou qu’il l’ait été au mois de février de la même année. Les demandeurs ont également tenté de démontrer que Ken Wenzel n’a pas quitté Griffith avant le 1er janvier 1991 et qu’il était donc difficile d’établir, selon la prépondérance des probabilités, qu’il y avait eu divulgation avant le 1er octobre 1990.

 

[110]       Un examen de tout le dossier sur ce point révèle que les contradictions alléguées ne sont pas aussi évidentes ou convaincantes que ce que les demandeurs soutiennent. Dans son témoignage, M. Kutinsky a expliqué que la date de la liste des pièces correspond à sa date de création et que cette date ne change pas en cas de mise à jour de la liste des pièces. Monsieur Kutinsky a également expliqué qu’il se peut que le dessin des pièces daté du 21 mai 1990 ait remplacé un dessin antérieur et que les dessins de remplacement ne soient pas indiqués comme des révisions. Il a de plus déclaré qu’un problème était probablement survenu dans le système de mise à jour de la liste des pièces lorsque les dessins des pièces ont été révisés. Bien que M. Kutinsky ne se souvînt pas parfaitement des faits, il a affirmé que le palier 3103 avait été conçu au cours de l'automne 1989. D'ailleurs, les témoignages de Ken Wenzel et de M. Kutinsky étaient corroborés par les dessins réalisés à l’aide du logiciel AutoCAD.

 

[111]       La question de la fiabilité et de l’intégrité des dessins du palier 3103 réalisés à l’aide du logiciel AutoCAD a été abordée par M. Finnie, l’un des experts des défendeurs. Monsieur Finnie était d’avis que les métadonnées du dessin du palier 3103 révélaient que le fichier avait été créé le 27 septembre 1989. Monsieur Finnie a examiné aussi bien les métadonnées internes que les métadonnées externes correspondant aux fichiers pour en arriver à cette conclusion. Il a expliqué que la date créée qui apparaît dans les métadonnées correspond en fait à l'horloge de l'ordinateur. Monsieur Finnie a reconnu que, au début des années 1990, il aurait été facile de changer les réglages de l’horloge interne d’un ordinateur, mais les demandeurs n’ont renvoyé à aucun élément de preuve démontrant que les dessins avaient été falsifiés (outre la simple affirmation de Bill Wenzel). Il est par conséquent plus probable que le palier 3103 ait été conçu au cours de l’automne 1989, à savoir avant la date de revendication du 1er octobre 1990.

 

[112]       Il est également probable que l’outil 3103 employé au chantier à Dilley était le même que l’outil mis au point par Griffith à l’automne 1989. La déclaration de Ken Wenzel suivant laquelle le palier 3103 avait été utilisé sur un chantier à Dilley au début de 1990 est corroborée par un bordereau d'emballage de Griffith indiquant que trois paliers 3103 avaient été expédiés à Ensco à Houston, au Texas, le 6 février 1990 (pièce 29). Monsieur Kutinsky a également déclaré dans son témoignage que des paliers 3103 avaient été fabriqués vers le 6 février 1990. Rien n'indique que les paliers 3103 employés à Dilley étaient des outils différents de ceux conçus par Ken Wenzel et fabriqués par Griffith à l’automne 1989. 

 

[113]       En résumé, il est donc plus probable que le palier 3103 ait été conçu et utilisé avant le 1er octobre 1990, soit avant la date des revendications du brevet 630.

 

(3)        Le palier 3103 était‑il accessible au public?

 

[114]       Tel qu’il a été expliqué précédemment, pour prouver que le brevet 630 a été antériorisé par le palier 3103, les défendeurs doivent établir que l’objet du brevet 630 a été divulgué. Les demandeurs soulèvent trois arguments pour faire valoir que le palier 3103 n’a pas été divulgué. En particulier, les demandeurs avancent que la divulgation au public n’était pas suffisante pour l’application du critère de l’antériorité, que la divulgation avait un caractère confidentiel et que la seule utilisation du palier 3103 était de nature expérimentale.

 

[115]       J’examinerai chacun de ces trois arguments séparément.

 

                        a)         Caractère suffisant de la divulgation

 

[116]       Les demandeurs prétendent que presque aucun renseignement concernant le palier 3103 n’a été divulgué pendant la durée du chantier à Dilley. Ils insistent sur les faits suivants pour étayer leur position :

 

·                    l'outil 3103 ne pouvait être démonté au chantier;

 

·                    rien n’indique que l’outil a été en fait démonté;

 

·                    rien n’indique ce qui est advenu de l’outil une fois retourné à l'atelier des défendeurs;

 

·                    Ken Wenzel n’a jamais parlé de la conception du palier 3103 à qui que ce soit d'autre.

 

[117]       Les demandeurs cherchent à établir une distinction entre la vente et la location d’une machine, en alléguant que cette distinction est importante en l’espèce parce qu’il n’était pas facile d’examiner le palier 3103. Les demandeurs comparent également le palier 3103 aux patins en cause dans Bauer CAF, précité. Ils soutiennent que personne n’aurait eu l’occasion de démonter le palier 3103 sur l’installation de forage, et qu'un tel événement aurait été inhabituel. Ils font observer que, comme dans Bauer CAF, une inspection visuelle ne divulguerait pas les éléments essentiels du palier 3103; les ouvriers n’y verraient qu'une tige. Les demandeurs affirment également que le témoignage de Ken Wenzel était incompatible avec la preuve documentaire. Ils ont invoqué Novopharm Ltd c Eli Lilly & Co, 2010 CF 915, 376 FTR 227, à l’appui de l’affirmation selon laquelle une preuve documentaire devrait être exigée lorsqu’un témoin fournit une preuve peu convaincante concernant un événement qui s’est produit il y a fort longtemps. Ils soutiennent de plus que les défendeurs n’ont pas réussi à établir qu’Ensco était en mesure de démonter l’outil.

 

[118]       Les arguments des demandeurs ne tiennent pas compte du fait que la preuve de l’antériorité n’exige pas qu’il soit démontré qu’un membre du public a effectivement analysé le palier 3103 (Baker, précité, au paragraphe 42 (point 6); Lux, précité, à la p. 133). Comme l’a déclaré le juge Aldous dans Lux, précité, à la p. 133 :

[Traduction]

[U]ne description antérieure contenue dans un ouvrage aura pour effet d’invalider un brevet si l’ouvrage en question se trouve sur une étagère d’une bibliothèque ouverte au public, indépendamment du fait que personne ne l’a lu et que celui‑ci se trouve dans un coin sombre et poussiéreux de la bibliothèque.

 

[119]       Les demandeurs soulignent à raison qu'une inspection visuelle de la tige du palier 3103 sur toute sa longueur n’aurait pas révélé son fonctionnement interne. Toutefois, la preuve dans la présente affaire révèle que les paliers 3103 n’étaient pas seulement accessibles pour une inspection visuelle. 

 

[120]       En particulier, Ken Wenzel a témoigné qu’il aurait amené le dessin d’assemblage à Dilley. Il a affirmé qu’il aurait examiné le dessin avec Ensco, si on le lui avait demandé, et qu'il était également disponible si on avait besoin de le consulter. Le fait que Ken Wenzel a dit qu’il ne souvenait pas avoir remis un dessin à Ensco ou l'avoir examiné avec les représentants de celle‑ci est peu important. Ken Wenzel a également déclaré que, si la tige était restée coincée dans le puits, Griffith aurait peut‑être eu à fournir à l’expert en repêchage, qui récupère les pièces de l'outil brisé dans le puits, les dessins du palier 3103. Monsieur Nelson a également témoigné que l’expert en repêchage consulte les dessins du fabricant pour s’assurer que toutes les pièces sont récupérées.

 

[121]       Je conviens que la preuve démontrant que le moteur a été retourné intact à Griffith indique qu’aucune inspection matérielle n’a eu lieu à Dilley. Toutefois, cette constatation n’est pas pertinente parce que les dessins pouvaient être examinés et que le palier 3103 aurait pu être démonté. Si l’outil s’était brisé à Dilley, l’expert en repêchage et les observateurs auraient vu le fonctionnement interne du palier 3103 pendant que les pièces étaient récupérées dans le puits. Les faits de la présente affaire sont donc différents de ceux exposés dans l’arrêt Bauer CAF, précité. De même, dans Weatherford Canada Ltd c Corlac Inc, 2010  CF 602, au paragraphe 307, 370 FTR 54, inf. pour d'autres motifs, 2011 CAF 228, [2011] ACF no 1090 [Weatherford CF], le juge Phelan a conclu qu'il n’y avait aucune preuve que les tiers, tels que les équipes de forage, de reconditionnement et de service et les observateurs occasionnels, avaient été mis au courant du fonctionnement interne des unités ni aucune preuve de ce que ceux‑ci avaient observé, tandis que, dans la présente affaire, la preuve révèle que Ken Wenzel était disponible si on avait besoin de le consulter et que les experts en repêchage avaient pu avoir accès aux plans ou consulter les concepteurs. Le fait que les outils 3103 étaient loués au lieu d’être vendus à Ensco n’enlève rien à ces possibilités d’examen.

 

[122]       Même s’il se peut qu’une personne versée dans l’art n’ait pas réussi à démonter le palier 3103 sur l'installation, elle aurait pu obtenir les renseignements pertinents en consultant Ken Wenzel ou les dessins du palier 3103 qui étaient disponibles. On pourrait y voir subsidiairement de l’antériorité découlant d’une publication. Dans un cas comme dans l’autre, le dessin du palier 3103 illustre clairement sa construction qui, à mon avis, renferme tous les éléments essentiels du brevet 630. Une analyse du dessin du palier 3103 aurait donc révélé les éléments essentiels du brevet 630 et permis à la personne versée dans l’art de réaliser l’invention.

 

[123]       Les faits de la présente affaire sont semblables à ceux de l’affaire Gibney, précitée, dans laquelle l'appareil en cause était fixé au moteur d'une automobile sans autre divulgation au client. En concluant qu'il y avait eu divulgation préalable, le juge Noël a affirmé ce qui suit, au paragraphe 162 :

[Traduction] Dans la présente affaire, dès que le client non identifié est reparti avec son véhicule sans ordonnance ni restriction le visant, quiconque voulait soulever le capot et [e]xaminer [l’appareil] y avait accès.

 

[Non souligné dans l’original.]

 

[124]       À mon avis, sous réserve de l’analyse qui suit concernant la confidentialité et l'expérimentation, n’importe qui aurait pu « soulever le capot » et examiner le palier 3103 au chantier de forage à Dilley.

 

                        b)         Confidentialité

 

[125]       Tel qu’il a été mentionné précédemment, la divulgation visée par une obligation de confidentialité ne satisfait pas au critère de la divulgation. En pareil cas, l’objet du brevet n’est pas « accessible au public ». Les demandeurs soulèvent un certain nombre d’arguments relativement à la question de la confidentialité.

 

[126]       Pour déterminer si la confidentialité existe, le tribunal peut tenir compte des facteurs établis par la Cour suprême dans Lac Minerals (Weatherford CAF, précité, au paragraphe 49). Dans Weatherford CAF, précité, la Cour d’appel a examiné la notion de confidentialité dans le contexte de la divulgation de l’art antérieur. En s’appuyant sur les décisions Lac Minerals et Coco c AN (Engineers) Ltd, [1969] RPC 41 (Ch), la Cour d’appel a affirmé ce qui suit au paragraphe 48 :

On juge que des renseignements ont été échangés dans le cadre d’une relation confidentielle lorsque [TRADUCTION] « tout homme raisonnable se mettant à la place de celui qui reçoit les renseignements se serait rendu compte, s’il existait des motifs raisonnables de le croire, que les renseignements lui ont été donnés de manière confidentielle » : Coco, pages 47 et 48. Le juge Sopinka a également fait référence au passage suivant de Coco (page 51), lequel a été cité par le juge dans la présente affaire :

 

[TRADUCTION] En particulier, lorsque des renseignements ayant une valeur commerciale ou industrielle sont donnés sur une base d’affaires en vue d’un objet déclaré, comme une entreprise conjointe ou la fabrication d’articles par une partie pour une autre, je considérerais que celui à qui ces renseignements ont été confiés doit faire une preuve très solide s’il veut réfuter la prétention qu’il était tenu à une obligation fondée sur des rapports de confiance.

 

[127]       L’absence de communication orale ou écrite concernant la confidentialité n’est pas décisive (Weatherford CAF, précité, au paragraphe 53). 

 

[128]       Il me semble qu’il y avait trois groupes de personnes qui avaient accès aux renseignements concernant le palier 3103 : a) les employés de Griffith ou de Dreco; b) les employés d’Ensco; c) les tiers qui avaient accès aux dessins ou au palier 3103. Un homme raisonnable se mettant à la place de quelqu’un faisant partie de l’un de ces trois groupes se serait‑il rendu compte que les renseignements lui avaient été donnés de manière confidentielle?

 

[129]       Les demandeurs avancent que tous ceux qui avaient participé à la conception et à la fabrication d'un palier 3103 travaillaient soit pour Griffith ou pour Dreco et étaient, par voie de conséquence, tenus à une obligation de confidentialité. Je suis d’accord avec les demandeurs pour dire que les employés de Griffith ou de Dreco étaient vraisemblablement assujettis à une obligation implicite de confidentialité. L’arrêt Pre-Cam Exploration & Development Ltd c McTavish, [1966] RCS 551, 57 DLR (2d) 557, de la Cour suprême valide la thèse selon laquelle les employés sont tenus à une obligation de confidentialité quant aux renseignements exclusifs auxquels ils ont accès en cours d’emploi.

 

[130]       Les demandeurs font ensuite valoir que les employés et les directeurs d’Ensco sont également assujettis à une obligation implicite de confidentialité en raison de l’existence d’un lien de coentreprise entre Ensco et Griffith. Le principal problème que pose cet argument est que la preuve n’étaye pas l’existence d’une coentreprise ou d’une entente de confidentialité entre Griffith et Ensco.

 

[131]       La seule preuve directe au dossier à cet égard est le témoignage non contredit de Ken Wenzel selon lequel il n’existait aucune entente de confidentialité entre Ensco et Griffith. Ken Wenzel pouvait avoir eu connaissance de ce fait même s’il n’avait pas participé à la négociation d’une entente juridique avec Ensco.

 

[132]       Les demandeurs allèguent que Griffith et Ensco étaient associées dans une coentreprise pour les raisons suivantes :

 

·                    Ensco était le fournisseur exclusif des outils de Griffith aux États‑Unis et elle en faisait la fourniture seulement s'ils étaient disponibles;

 

·                    Ensco a facturé des marchandises aux clients des deux sociétés et elles se sont partagé les produits;

 

·                    Ensco et Griffith exploitaient un atelier en commun à Rosenberg, au Texas.

 

Les demandeurs soutiennent que ces facteurs créaient un lien de coentreprise suffisant pour établir une expectative de confidentialité entre Griffith et Ensco.

 

[133]       La preuve n’étaye pas l’existence d’une coentreprise entre Ensco et Griffith, encore moins l’existence d’un lien de coentreprise suffisant pour établir une expectative de confidentialité. La preuve révèle seulement qu’Ensco a loué une fois trois paliers 3103 de Griffith. Rien n’indique que les paliers 3103 aient été traités de manière confidentielle à Ensco. En fait, le témoignage non contredit de Ken Wenzel lors du contre‑interrogatoire indique que Griffith et Ensco n’exploitaient pas une entreprise commune. À mon avis, Griffith et Ensco avaient conclu une entente commerciale – rien de plus.

 

[134]       Toutefois, même si je devais conclure qu’il existait une entente implicite de confidentialité visant les employés d’Ensco et de Griffith ou de Dreco, rien n’établit d’aucune façon qu’Oryx ou l’opérateur non désigné de l’installation de forage était tenu à une obligation de confidentialité.

 

[135]       Les demandeurs invoquent l'arrêt Lac Minerals, précité, comme décision faisant autorité à l’égard du principe voulant qu’il y ait confidentialité lorsque c’est ce à quoi on s’attend et ce qui est entendu. Comme exemple d’un pareil engagement non écrit de confidentialité, ils invoquent également Weatherford CAF, précité, et la décision de première instance antérieure dans Weatherford CF, précitée. Dans cette affaire, le juge Phelan a conclu que la divulgation antérieure d’un dispositif breveté avait été faite de manière confidentielle et il a par conséquent rejeté l’allégation d’antériorité des défenderesses. Cette conclusion a été confirmée par la Cour d’appel.

 

[136]       La situation en l’espèce est très différente de celle examinée par le juge Phelan dans Weatherford CF, précité. Dans cette affaire, les dispositifs brevetés employés dans les activités de champ pétrolifère ont été assimilés à des « prototypes » ou des « solutions à l’essai » visant à résoudre un problème commun dans la production de pétrole lourd (Weatherford CF, précité, au paragraphe 300). De plus, l'inventeur, M. Grenke, a témoigné sur le caractère confidentiel de la divulgation faite à des tiers durant l'essai du prototype en chantier. Comme le juge Phelan l'a affirmé au paragraphe 306 :

Il est évident que Grenke n’a pas divulgué les renseignements (ou autorisé Britton à les divulguer si tant est que celui‑ci n’ait jamais eu cette autorisation) ni à Amoco ni à Pan Canadian à des fins de divulgation publique et que sa divulgation n’a pas été imprudente. Eu égard à toutes les circonstances, il avait de bonnes raisons de croire que l’essence de son invention serait uniquement communiquée au public quand il serait prêt à le faire, et c’est en fait ce qui s’est produit avec les deux sociétés.

 

Sur la foi des faits de l’affaire, le juge Phelan était convaincu qu’une obligation de confidentialité existait entre ces parties.

 

[137]       Dans l’affaire dont je suis saisie, rien n’indique que le palier 3103 était un « prototype » ou une « solution à l’essai » visant à résoudre un problème. La preuve démontre très simplement qu’Ensco a demandé à Ken Wenzel de lui fournir un palier qui répondrait à ses besoins. Ken Wenzel a conçu et fourni le palier 3103 à la suite de cette demande dans un cadre commercial. Le palier 3103 avait déjà été testé dans les installations de Griffith à Edmonton avant d’être expédié au Texas et ensuite à Ensco pour être utilisé au chantier d’Oryx. Fait important, Ken Wenzel, le concepteur du palier 3103, a témoigné qu’il n’existait aucune expectative de confidentialité.

 

[138]       Je rejette l’argument des demandeurs selon lequel le palier 3103 a été divulgué seulement à Ensco, Oryx et d’autres personnes associées à l’utilisation du palier moyennant certaines conditions liées à la confidentialité. Je conclus qu’une personne raisonnable se mettant à la place d’Ensco, d’Oryx, d’un membre de l’équipe de forage, d’un expert en repêchage ou même d’un observateur occasionnel ne se serait pas rendu compte, s’il existait des motifs raisonnables de le croire, que les renseignements concernant le palier 3103 lui ont été donnés de manière confidentielle.

 

                        c)         Expérimentation

 

[139]       La divulgation n’est pas publique si l’utilisation antérieure est expérimentale seulement (Gibney, précité, aux pages 158 à 164). Les demandeurs prétendent que l’utilisation du palier 3103 à Dilley était expérimentale.

 

[140]       Ken Wenzel a déclaré qu’il ne pouvait se rappeler exactement pourquoi il s’est rendu à Dilley, mais qu’il était probable qu’il s’y soit rendu parce qu’il s’agissait d’un nouveau moteur qui n’avait jamais été utilisé et qu’il voulait voir comment il fonctionnait. Il a également affirmé qu’il a probablement donné des explications sur le moteur, examiné celui‑ci et même montré certaines composantes de celui‑ci à Bob Lenhart, un directeur d’Ensco. Lors de son contre‑interrogatoire, Ken Wenzel a affirmé que Dilley était un ouvrage rémunéré mais qu’on pouvait considérer qu’il s’agissait d’un essai, même si Griffith savait que le moteur fonctionnerait parce qu’il avait été testé en atelier. 

 

[141]       Les défendeurs soulignent à bon droit que tout ce qui est nouveau doit être utilisé une première fois. Ce fait ne transforme pas nécessairement une première utilisation en essai, particulièrement lorsque, comme en l'espèce, des essais ont déjà été effectués. Fait important, une utilisation sera expérimentale seulement si l’utilisateur croit que c’est le cas. Dans Gibney, par exemple, le juge Noël a conclu que l’exception relative à l’expérimentation ne s’appliquait pas parce que, même si le breveté considérait que l’utilisation en question était expérimentale, [Traduction] « il ne s’agissait pas d’une utilisation expérimentale pour le client non identifié parce qu’il n’était assujetti à aucune restriction ni ordonnance de non‑divulgation […] » (Gibney, précité, à la p. 163).

 

[142]       Dans la présente affaire, rien n’indique qu’Ensco ou Oryx considérait que le palier 3103 était utilisé à des fins expérimentales. Ensco n’était tenue à aucune obligation de confidentialité et elle a payé la location. Il est également révélateur que ni Ensco ni Oryx n’ont signalé avoir éprouvé des problèmes avec l'outil et rien n'indique qu'elles ont fait part d'une rétroaction quelconque à Griffith. Fait le plus important peut‑être, Ken Wenzel n’est même pas resté suffisamment longtemps à Dilley pour voir le palier 3103 à l’œuvre dans le puits. L'utilisation du palier 3103 à Dilley n’était donc pas expérimentale; sa divulgation était publique.

 

[143]       Pour conclure sur la question de savoir s’il y a eu divulgation du palier 3103, je reviens sur les arguments exposés au paragraphe 114 et je conclus ce qui suit, selon la prépondérance des probabilités :

 

·                    la divulgation au public du palier 3103 était suffisante pour l'application du critère de l'antériorité;

 

·                    la divulgation du palier 3103 n’avait pas un caractère confidentiel;

 

·                    l’unique utilisation du palier 3103 n’était pas de nature expérimentale.

 

[144]       Comme nous l’avons constaté précédemment, le critère de l’antériorité énoncé dans Sanofi‑Synthelabo se compose de deux volets – la divulgation et le caractère réalisable. En l’espèce, le caractère réalisable n’est pas en cause, parce qu’il ressort clairement de la preuve dont la Cour dispose que le palier 3103 a été utilisé dans un moteur de forage de fond de la même manière que le palier du brevet 630 est utilisé. Par conséquent, il est satisfait au volet du caractère réalisable du critère de l’antériorité. Sur la foi des faits dont la Cour dispose, le volet de la divulgation est déterminant.

 

C.                    Conclusion concernant l’antériorité

 

[145]       Pour résumer la question relative à l’antériorité, je suis d’avis que le palier décrit dans les revendications du brevet 630 a été antériorisé par le palier 3103. Suivant les termes employés à l’article 28.2 de la Loi sur les brevets, l’objet des revendications 1 et 2 du brevet 630 a été divulgué au public par le palier 3103, avant la date de la revendication, d’une manière « qui l’a rendu accessible au public au Canada ou ailleurs ».

 

[146]       Par conséquent, les revendications 1 et 2 du brevet 630 sont invalides.

 

VII.                 ÉVIDENCE

 

[147]       Outre leur argumentation relative à l'antériorité, les défendeurs affirment que les revendications du brevet 630 sont invalides parce qu’elles ont été rendues évidentes par un certain nombre d’inventions antérieures. J’examinerai maintenant la question de l’évidence au cas où j’aurais commis une erreur en concluant que l’invention du brevet 630 était antériorisée.

 

A.                    Principes juridiques

 

[148]       La Loi sur les brevets établit clairement qu’un brevet ne peut être obtenu si l’objet de la revendication est évident. L’alinéa 28.3b) de la Loi sur le brevet qui est la disposition pertinente en l’espèce est rédigé comme suit :

Objet non évident

 

28.3 L’objet que définit la revendication d’une demande de brevet ne doit pas, à la date de la revendication, être évident pour une personne versée dans l’art ou la science dont relève l’objet, eu égard à toute communication :

 

[. . .]

 

b) qui a été faite par toute autre personne avant la date de la revendication de manière telle qu’elle est devenue accessible au public au Canada ou ailleurs.

 

[Je souligne]

Invention must not be obvious

 

28.3 The subject-matter defined by a claim in an application for a patent in Canada must be subject-matter that would not have been obvious on the claim date to a person skilled in the art or science to which it pertains, having regard to

. . .  

 

(b) information disclosed before the claim date by a person not mentioned in paragraph (a) [the applicant, or a person who obtained knowledge, directly or indirectly, from the applicant] in such a manner that the information became available to the public in Canada or elsewhere.

 

[Emphasis added]

 

[149]       Le critère de l'évidence était l’une des questions en litige sur laquelle la Cour suprême du Canada s’est penchée dans Sanofi-Synthelabo, précité. Cette décision a été rendue dans le contexte d’une version antérieure de la Loi sur les brevets qui ne prévoyait pas expressément que les inventions évidentes n’étaient pas brevetables. Les parties conviennent que l’article 28.3 de la Loi sur les brevets actuelle s’applique. Même avec l’interdiction expresse prévue à l’article 28.3, les enseignements de Sanofi-Synthelabo éclairent mon analyse de la question dont je suis saisie.

 

[150]       Dans Sanofi-Synthelabo, précité, au paragraphe 67, le juge Rothstein a décrit la démarche de l’examen relatif à l'évidence, qui avait été mise au point dans les décisions anglaises Windsurfing International Inc c Tabur Marine (Great Britain) Ltd, [1985] RPC 59 (CA), et Pozzoli SPA c BDMO SA, [2007] FSR 37, [2007] EWCA Civ 588, en ces termes :

                        [Traduction]

(1)               a)         Identifier la « personne versée dans l’art ».

b)         Déterminer les connaissances générales courantes pertinentes de cette personne;

 

(2)               Définir l’idée originale de la revendication en cause, au besoin par voie d’interprétation;

 

(3)               Recenser les différences, s’il en est, entre ce qui ferait partie de « l’état de la technique » et l’idée originale qui sous‑tend la revendication ou son interprétation;

 

(4)               Abstraction faite de toute connaissance de l’invention revendiquée, ces différences constituent‑elles des étapes évidentes pour la personne versée dans l’art ou dénotent‑elles quelque inventivité?

 

B.                     La personne versée dans l’art

 

[151]       Comme nous l’avons vu précédemment, la personne versée dans l'art serait capable de comprendre les dessins et les revendications d'un brevet dans le domaine. Son expérience ferait en sorte qu’elle aurait des connaissances sur de nombreux de dispositifs mécaniques – comment ils sont fabriqués et utilisés et comment ils fonctionnement. Ces connaissances pourraient s’étendre à une compréhension de la façon dont sont forés les puits de pétrole et de gaz, y compris les différents environnements de forage. Cette personne posséderait également une compréhension de base (quoique pas très technique) des forces qui sont en jeu dans différentes conditions. Elle pourrait avoir un peu d’expérience d'adaptation ou de modification d’outils existants dans le but de répondre à un besoin; dans cette mesure, elle aurait une certaine capacité limitée à concevoir du matériel.

 

C.                    Les connaissances générales courantes

 

[152]       Quelles auraient été les connaissances générales courantes de la personne fictive versée dans l’art à la date de revendication du 1er octobre 1990?

 

[153]       Le premier type de connaissances générales courantes de la personne moyennement versée dans l’art serait celui inhérent à son travail et son expérience en tant que mécanicien ou concepteur dans l’industrie pétrolière. Monsieur Thicke a donné un résumé utile de l’étendue de ces connaissances durant le contre‑interrogatoire. Selon lui, la personne versée dans l’art aurait eu les connaissances générales suivantes à l’époque pertinente :

 

[traduction]

·                    « De très bonnes connaissances générales au sujet de tous les types de paliers différents : les paliers à billes à gorges profondes, les paliers de butée et les paliers à rouleaux utilisés pour les paliers radiaux »;

 

·                    Une certaine connaissance des forces de charge, bien qu’il se pourrait qu’une personne moyennement versée dans l’art ne [traduction] « connaisse pas nécessairement les charges de choc pouvant être associées à la charge sur le trépan lorsque ce dernier rebondit au-dessus du fond du puits »;

 

·                    Une certaine connaissance des autres outils de fond, comme les coulisses, les outils à impact et les tubes carottiers, ainsi qu’une connaissance de [traduction] « certaines des façons dont ces outils ont été conçus, acquise au moins en feuilletant des catalogues ou simplement en discutant avec des travailleurs sur le champ de pétrole ».

 

[154]       Outre les connaissances acquises avec les études et l’expérience, les connaissances générales de la personne versée dans l’art comprendraient également toute la documentation relative à son domaine de travail et dont elle connaît l'existence, documentation à laquelle elle se référerait systématiquement en cas d’oubli et dont elle sait qu’elle est généralement reconnue comme suffisamment fiable pour servir de fondement à d’autres ouvrages ou pour aider à comprendre l’art antérieur invoqué.

 

[155]       Dans l’affaire dont la Cour est saisie, les parties ont convenu que, à la fin des années 1980 et au début des années 1990, le World Oil Composite Catalog était l’un des catalogues les plus largement diffusés dans l’industrie pétrolière à l’échelle mondiale, avec une liste de milliers de clients de l’industrie pétrolière (pièce 43). Tous les experts s’entendaient pour dire qu’une personne versée dans l’art disposerait de cette source d’information.

 

[156]       Bill Wenzel nie avoir déjà consulté des catalogues d’outils de l’industrie pétrolière pour développer de nouvelles idées. Le fait que Bill Wenzel n’a pas compulsé le World Oil Composite Catalog ou d’autres catalogues durant le processus de conception est tout simplement dépourvu de pertinence dans le cadre du critère de l’évidence. Le critère est objectif en ce sens que je dois examiner les connaissances générales de la personne fictive versée dans l’art. Je conclus que le World Oil Composite Catalog aurait fait partie des connaissances générales de la personne versée dans l’art à l’époque pertinente. À mon avis, la personne moyennement versée dans l’art consulterait systématiquement le World Oil Composite Catalog.

 

[157]       Grâce au World Oil Composite Catalog et avec l’expérience des opérations de forage, la personne moyennement versée dans l’art aurait une bonne connaissance des outils à impact et des tubes carottiers et de leur fonctionnement. Dans leur dernier argument, les demandeurs ont reconnu que l’outil à impact et le tube carottier auraient été des réalisations antérieures.

 

[158]       Outre le World Oil Composite Catalog, les défendeurs et leurs experts ont fait état d’un certain nombre de brevets antérieurs qui, selon eux, feraient partie des connaissances générales courantes. Les défendeurs incluraient plus particulièrement les brevets antérieurs suivants :

 

·                    Le brevet américain no 4 511 193, octroyé le 16 avril 1985 et intitulé [traduction] « Palier de butée radial » (le brevet Geczy);

 

·                    Le brevet américain no 3 971 450, octroyé le 27 juillet 1976 et intitulé [traduction] « Outil de forage de puits » (le Brevet Fox);

 

·                    Le brevet américain no 1 643 338, octroyé le 27 septembre 1927 et intitulé [traduction] « Tube carottier » (le brevet Halvorsen);

 

·                    Le brevet américain no 4 382 639, octroyé le 10 mai 1983 et intitulé [traduction] « Palier de butée radial bidirectionnel à billes » (le brevet McGuffie);

 

·                    Le brevet américain no 939 269, octroyé le 9 novembre 1909 et intitulé [traduction] « Palier de butée » (le brevet Killian).

 

[159]       En outre, M. Wooley a également fait mention de la publication du brevet japonais no 53658 de 1981, intitulé [traduction] « Dispositif de réglage de la position de l’arbre » (le brevet japonais), traduit du japonais, et du brevet allemand no 456 196, octroyé le 17 février 1928 (le brevet allemand).

 

[160]       Contrairement au critère de l’antériorité, où l’art antérieur doit simplement être accessible au public, le critère de l’évidence exige que l’art antérieur soit quelque chose qui retiendrait vraisemblablement l’attention de la personne moyennement versée dans l’art. Il ne peut être présumé que le technicien versé dans son art mais sans esprit inventif considérerait l’art existant dans d’autres domaines (Almecon Industries Ltd c Nutron Manufacturing Ltd (1996), 108 FTR 161, au paragraphe 67 (CF 1re inst.), conf. par (1997) 69 ACWS (3d) 1108, 72 CPR (3d) 397 (CAF), demande de pourvoi refusée, [1997] CSCR no 374). En d’autres termes, il doit exister une raison, étayée par la preuve, qui justifierait qu’une personne versée dans l’art – et non seulement les experts orientés par les avocats – considère d’autres domaines que le domaine en cause. Dans la présente affaire, il faudrait qu'il existe une raison pour justifier que la personne moyennement versée dans l’art antérieur à partir d’un autre domaine que celui des applications de champ pétrolifère.

 

[161]       Je comprends que notre personne moyennement versée dans l’art serait au courant de l’existence de certains brevets. Qui plus est, elle les consulterait pour s’inspirer et développer ses idées. Par conséquent, je crois que, en l’espèce, la personne moyennement versée dans l’art aurait facilement accès aux brevets se rapportant aux paliers bidirectionnels dans le domaine du forage des puits de pétrole et de gaz et qu’elle ferait des recherches dans ceux‑ci. Les parties semblent convenir que ces recherches pourraient être faites par l’intermédiaire d’agents de brevets ou de l’Alberta Research Council.

 

[162]       Le brevet Geczy porte sur le [traduction] « palier de butée radial » d’un outil de forage de fond. Il s’agit d’un brevet du même domaine que le brevet 630. Comme il est indiqué à la rubrique [traduction] « Domaine de l’invention » du brevet Geczy :

[traduction]

Cette invention se rapporte aux outils de forage de fond. Plus particulièrement, cette invention porte sur les paliers radiaux et les paliers de butée pour ce type d’outils.

 

[163]       Étant donné que le brevet Geczy appartient au même domaine et que, même suivant une lecture rapide, on constate qu’il porte sur la conception et le fonctionnement des paliers de butée, il retiendrait vraisemblablement l’attention de la personne versée dans l’art. Je conclus que le brevet Geczy fait partie des connaissances générales courantes.

 

[164]       Je suis également disposée à accepter que le brevet Halvorsen portant sur un tube carottier fait partie de l’art antérieur. Comme nous l’avons vu précédemment, les tubes carottiers sont utilisés dans les opérations de forage de puits de pétrole et de gaz depuis des décennies.

 

[165]       Ma conclusion est différente pour les autres brevets invoqués par les défendeurs.

 

[166]       Il ne fait aucun doute que l’art antérieur provenant de l’étranger peut, dans certaines circonstances, se révéler très pertinent dans un débat sur l’évidence. Toutefois, dans la présente affaire, rien n'indique quand ou en quelles circonstances le brevet japonais et le brevet allemand ont été traduits en anglais ou comment la personne moyennement versée dans l’art dans le présent litige aurait pu être appelée à les connaître. J’estime que ni le brevet japonais ni le brevet allemand ne font partie des connaissances générales courantes de notre personne fictive versée dans l’art ou de l’art antérieur.

 

[167]       J’ai également des réserves à l’égard du fait que les défendeurs et leurs experts semblent croire que la personne moyennement versée dans l’art serait guidée vers les enseignements de brevets n’appartenant pas au domaine du forage des puits de pétrole et de gaz et serait en mesure de les appliquer.

 

[168]       Le brevet Killian qui porte sur une roue de wagon de chemin de fer ne cadre tellement pas avec la vie quotidienne de notre technicien versé dans l’art qu’il m’est difficile de croire qu’il pourrait même être repéré, encore moins qu’il ferait partie des connaissances générales de notre personne versée dans l’art. En fait, ce brevet datant de1909 a été versé en preuve dans la présente affaire simplement parce que M. Nelson l’a trouvé dans sa bibliothèque lorsqu’il préparait son rapport d’expertise. Le brevet Killian ne fait pas partie de l'art antérieur.

 

[169]       Le brevet McGuffie porte sur les paliers de butée bidirectionnels et les paliers radiaux à billes. Comme le décrit par l’inventeur (brevet McGuffie, colonne 1, lignes 8-12) :

[traduction]

De nombreuses applications doivent faire appel à des paliers capables de soutenir à la fois des charges radiales et axiales, par exemple pour préserver le rendement des moteurs électriques. En plus des charges radiales, il arrive souvent que les paliers utilisés doivent également être en mesure de soutenir des charges axiales dans deux directions.

 

[170]       Les experts des défendeurs concluent, dans une comparaison quelque peu forcée, que tous les composants du brevet 630 peuvent être observés dans les paliers du brevet McGuffie. Ma réticence à utiliser le brevet McGuffie pour appuyer l’évidence réside dans le fait qu’il y a peu d’éléments permettant de lier l’invention de M. McGuffie à un palier destiné à être utilisé dans un moteur de forage de fond. L’invention de McGuffie revendique un dispositif utilisé dans les moteurs électriques; il n’y est fait aucune mention d'une utilisation spécifique au domaine du forage de puits de pétrole et de gaz. Bien que le brevet McGuffie décrive un palier bidirectionnel, je ne crois pas qu’une personne moyennement versée dans l’art considérerait ce brevet utile pour concevoir un palier qui convienne aux circonstances uniques que présentent les opérations de forage de fond.

 

[171]       Le brevet Fox décrit un outil de forage de puits complet. Après un examen très approfondi des dessins du brevet Fox, un lecteur versé dans l’art pourrait discerner un palier à quatre roulements dans une (ou peut-être deux) chambre de confinement. Toutefois, ni les revendications ni le mémoire descriptif ne décrivent le fonctionnement du palier de l’outil. Par ailleurs, l’inventeur identifie l’objet de son invention, lequel est bien différent de l’objet du brevet 630. Plus précisément, on trouve ce qui suit aux lignes 51-56 de la colonne 1 :

[traduction]

L’objet principal de la présente invention est donc de fournir un outil où les roulements et/ou les autres pièces que contient la chambre de lubrification sont mieux protégés contre les boues de forage; et, plus particulièrement, où une telle protection est rendue possible grâce à l’utilisation de joints d'étanchéité plus ou moins courants.

 

[172]       Étant donné que le but du brevet Fox est de protéger le palier et que le brevet ne contient que peu de détails concernant le palier, j’en conclus qu’une recherche raisonnablement diligente des brevets pertinents ne permettrait pas de trouver le brevet Fox. Il ne fait pas partie des connaissances générales ni de l’art antérieur.

 

[173]       Bref, aux connaissances générales décrites par M. Thicke, j’ajouterais le World Oil Composite Catalog, ainsi que les brevets Halvorsen et Geczy. La question de savoir si ces connaissances générales amèneraient la personne moyennement versée dans l’art à l’invention du brevet 630 sera examinée plus loin.

 

D.        L’idée originale

 

[174]       L’étape suivante de l’analyse de l’évidence consiste à définir l’élément inventif. Une idée originale est presque toujours plus que la somme des composants. Dans le cas du brevet 630, chacun des composants essentiels des revendications, considéré séparément, pourrait vraisemblablement être jugé comme ne comportant aucun aspect inventif. Toutefois, cela reviendrait à donner une perspective trop étroite à ma tâche. À cet égard, je souligne la mise en garde faite par la juge Layden‑Stevenson dans Weatherford CAF, précité, au paragraphe 69, où la validité d’un brevet ‑désigné le brevet 937 ‑ était contestée :

De plus, le brevet 937 est un brevet par combinaison, Il est donc par essence constitué de la combinaison unique revendiquée, même s’il se peut que les éléments individuels de l’invention, pris un à un, ne soient pas inventifs. Comme notre Cour l’a récemment expliqué, « [i]l ne serait pas juste vis‑à‑vis la personne revendiquant une invention de combinaison de décomposer la combinaison en ses éléments pour conclure que, chacun de ceux‑ci étant bien connus, ladite combinaison est nécessairement évidente » : Bridgeview Manufacturing Inc. c. 931409 Alberta Ltd. (Central Alberta Hay Centre), 2010 CAF 188, 87 C.P.R. (4th) 195, paragraphe 51 (Bridgeview), autorisation de pourvoi rejetée, [2010] C.S.C.R. no 346; Free World Trust, paragraphe 27.

 

[175]       Avant le brevet 630, les moteurs de forage de fond, ou moteurs à boue, fonctionnaient à l’aide de deux ensembles de paliers différents; l'un pour supporter les charges de compression pendant le forage et l'autre, les charges de traction. À mon avis, l’élément inventif du brevet 630 repose sur le fait que Bill Wenzel a placé un ou plusieurs paliers de butée bidirectionnels dans une seule chambre de confinement contenant également des épaulements permettant à ces mêmes paliers de supporter à la fois les charges de compression et de traction auxquelles l’équipement est soumis pendant les opérations de forage.

 

E.         Les différences entre ce qui ferait partie de l’« état de la technique » et l’idée originale

 

[176]       J’examinerai maintenant les différences entre l’« état de la technique » et l’idée originale du brevet 630.

 

[177]       Un examen du World Oil Composite Catalog et de l’art antérieur précisé ci-dessus, formant les connaissances générales courantes en la matière, démontrerait clairement l’utilisation de paliers bidirectionnels dans une chambre de confinement dans le contexte de tubes carottiers. Un tube carottier est un dispositif utilisé pour prélever des carottes dans des puits de pétrole et de gaz. Une carotte, ou un échantillon carotté, est un échantillon de roche solide de forme cylindrique découpé dans une formation géologique. Les géologues pétroliers se servent des carottes pour évaluer la porosité et la perméabilité du sol.

 

[178]       En 1927, M. Halbert Halvorsen s’est vu octroyer le brevet américain 338. La description suivante semble contenir l’essentiel du brevet de M. Halvorsen (brevet Halvorsen, page 2, lignes 14-20) :

[traduction]

Au moyen d’un seul palier de butée à bille, j’ai fourni un mécanisme qui tiendra le tube carottier interne en position fixe par rapport au tube carottier externe tant lors du levage de la carotte que lors du forage, et qui permettra également une rotation relativement sans frottement entre les pièces.

 

Il y a une ressemblance frappante entre l’objet du brevet Halvorsen et celui décrit par Bill Wenzel dans le brevet 630.

[179]       La figure 1 du brevet Halvorsen, à laquelle a été ajouté un dessin plus détaillé du palier, est reproduite ci-dessous.


[180]       Le brevet Halvorsen est depuis longtemps expiré. Cependant, la structure et la fonction du palier sont présentes dans un certain nombre de tubes carottiers modernes. Les experts se sont concentrés sur un exemple représentatif, soit le dispositif de carottage Christensen Série 250P (le tube carottier Christensen). Le tube carottier Christensen a figuré dans le World Oil Composite Catalog à l'époque pertinente. La description de l’outil, donnée à la page 5031 du World Oil Composite Catalog, comprenait un diagramme du tube carottier Christensen et une liste de toutes ses pièces présentée séparément. Il est important de souligner que les pièces d’un palier de butée logé dans une chambre de confinement apparaissent sur le diagramme et sont énumérées dans la liste des pièces.

 

[181]       Les experts des défendeurs étaient tous d’avis que le brevet Halvorsen et le tube carottier Christensen contenaient les éléments essentiels des revendications 1 et 2 du brevet 630 (voir le rapport d’expertise Miller, pièce 1, onglet 58B, p. 5, 10; le rapport d’expertise Wooley, pièce 1, onglet 59, art. 4.1.4, 4.2.4). Le tableau suivant présente une comparaison des composants du brevet 630 (lesquels figurent ci-dessus dans la section des motifs portant sur l’interprétation des revendications) et de ceux du brevet Halvorsen. Les nombres qui figurent dans les colonnes correspondent à ceux utilisés dans les figures respectives des deux brevets.

 

Le brevet 630

Le brevet Halvorsen

Section tubulaire externe (12)

Section tubulaire externe (1, 18, 8)

Une section tubulaire interne logée dans la section tubulaire externe (14)

Une section tubulaire interne logée dans la section tubulaire externe (9, 10, 14)

Des roulements (18) sont disposés entre les sections tubulaires interne et externe pour faciliter la rotation relative des sections tubulaires externe et interne tout en supportant des charges radiales et axiales.

Des roulements sont disposés entre les sections tubulaires externe et interne pour faciliter la rotation relative des sections tubulaires tout en supportant principalement des charges de compression ainsi que de petites charges radiales (entre les chemins de roulement de la pièce 20)

Deux épaulements diamétralement opposés sur la face intérieure de la section tubulaire externe (22)

Deux épaulements diamétralement opposés sur la face intérieure de la section tubulaire externe (31)

 

Deux épaulements diamétralement opposés sur la face extérieure de la section tubulaire interne (26)

Deux épaulements diamétralement opposés sur la face extérieure de la section tubulaire interne (32)

Les épaulements de la section tubulaire interne sont relativement alignés avec les épaulements de la section tubulaire externe (et sont relativement parallèles à ceux-ci) pour former une chambre de confinement (32).

Épaulements relativement alignés (et parallèles) formant une chambre de confinement (formée par les pièces 1, 18, 10 et 12)

Au moins un palier de butée (18) dans la chambre de confinement, le palier de butée étant doté d’un chemin de roulement de chaque côté (34 et 36).

Un palier de butée dans la chambre de confinement (entre les chemins de roulement de la pièce 20)

Le premier épaulement de la section tubulaire externe vient s’appuyer contre le chemin de roulement du premier côté et le deuxième épaulement de la section tubulaire interne vient s’appuyer contre le chemin de roulement du deuxième côté lorsque le palier est soumis à une charge de compression.

Le premier épaulement de la section tubulaire externe (30) vient s’appuyer contre le chemin de roulement du premier côté (chemin de roulement supérieur de la pièce 20) et le deuxième épaulement de la section tubulaire interne (33) vient s’appuyer contre le chemin de roulement du deuxième côté (chemin de roulement inférieur de la pièce 20) lorsque le palier est soumis à une charge de compression.

Le deuxième épaulement de la section tubulaire externe vient s’appuyer contre le chemin de roulement du deuxième côté et le premier épaulement de la section tubulaire interne vient s’appuyer contre le chemin de roulement du premier côté lorsque le palier est soumis à une charge de traction.

Le deuxième épaulement de la section tubulaire externe (31) vient s’appuyer contre le chemin de roulement du deuxième côté (chemin de roulement inférieur de la pièce 20) et le premier épaulement de la section tubulaire interne (32) vient s’appuyer contre le chemin de roulement du premier côté (chemin de roulement supérieur de la pièce 20) lorsque le palier est soumis à une charge de traction.

 

 

[182]       En bref, le palier du tube carottier Halvorsen ou Christensen, tout comme le palier du brevet 630, se compose d'une unité de confinement à quatre épaulements, avec un ou plusieurs paliers bidirectionnels, et dans un cas comme dans l’autre, il y a rotation relative entre la section tubulaire externe et la section tubulaire interne.

 

[183]       Il y a toutefois des différences de fonctionnement. D’abord et avant tout, le tube carottier ne fait pas partie d’un moteur de forage. Qui plus est, le tube interne du carottier demeure stationnaire lorsque la couronne de carottage s’enfonce dans le sol; cela permet de réduire au minimum les dommages subis par la carotte lors du remplissage du tube carottier (rapport d’expertise Miller, pièce 1, onglet 58B, p. 5). Voilà donc une autre différence clé entre le dispositif du brevet 630 et le tube carottier Christensen (ou Halvorsen) puisque, dans un moteur de forage de fond, la section tubulaire interne n'est pas fixe. Ces différences ont été reconnues par les experts.

 

[184]       En plus de ces deux différences qui ont été soulevées par rapport à la fonction et l’utilisation globales, M. Thicke a présenté un certain nombre de différences supplémentaires que l’on peut résumer comme suit :

 

1.                  La concentration de toutes les charges en un seul palier à billes à gorges profondes limite la capacité de charge du tube carottier à des charges légères comparativement aux forces immenses auxquelles peut résister le palier du brevet 630.

 

2.                  Le palier du tube carottier ne peut pas soutenir la charge sur le trépan.

 

3.                  Le palier du tube carottier n’est soumis qu’à des charges radiales faibles ou nulles, tandis que le palier du brevet 630 est soumis à de lourdes charges radiales.

 

4.                  Le palier du tube carottier isole le tube carottier du train de tiges; le brevet 630 intègre la section tubulaire interne au train de tiges.

 

5.                  Le palier du tube carottier est situé loin du trépan; le palier du brevet 630 est près du trépan.

 

6.                  Le palier du tube carottier est situé dans un support de palier; le palier du brevet 630 est logé entre les sections tubulaires.

 

[185]       Certaines de ces différences ne sont pas étayées par la preuve. D’autres sont mineures ou sans importance.

 

[186]       Dans la mesure où les différences soulevées par M. Thicke se rapportent à la capacité de charge des paliers, je souligne que le brevet 630 ne précise pas la charge maximale admissible. En outre, M. Thicke n’a effectué aucune expérience pour tenter de calculer la capacité de charge du palier. Voici ce qu’a fait remarquer M. Miller (pièce 1, onglet 60, p. 2-3) :

[traduction]

 

Il n’est pas pertinent pour la question examinée de savoir si les supports des épaulements du palier 3103 sont plus forts ou plus faibles que ceux du palier du brevet 630…

 

[. . .]

 

Pour évaluer si le brevet 630 permet réellement d’augmenter la capacité de charge de traction, il serait nécessaire de procéder à une analyse des contraintes sur les chemins de roulement de palier qui soutiennent l’épaulement en question.

 

[187]       La troisième différence soulevée par M. Thicke se rapporte à la capacité de chaque dispositif à supporter des charges radiales. Contrairement à l’opinion de M. Thicke, les autres experts semblent s’entendre pour dire que le palier du brevet 630 pourrait supporter des charges radiales – bien qu’ils ne soient peut-être pas tous en accord sur l’importance des charges radiales que pourrait réellement supporter le palier Wenzel. En contre-interrogatoire, M. Nelson a déclaré que le palier du brevet 630 pourrait supporter une [traduction] « charge radiale relativement élevée ». Cependant, bien qu’il soit peut-être moins utile qu’un tube carottier puisse supporter une [traduction] « charge radiale élevée », M. Nelson a dit être d'avis que le tube carottier pourrait supporter une charge radiale.

 

[188]       L’incapacité du palier du tube carottier à supporter la charge sur le trépan (no 2) et la position éloignée du palier du tube carottier par rapport au trépan (no 5) sont des observations qui vont de soi puisque le tube carottier, dans son ensemble, est un dispositif différent d’un moteur de forage.

 

[189]       M. Thicke décrit le palier du tube carottier comme étant situé [traduction] « dans un support de palier » (pièce 1, onglet 54, paragraphe 16f)). Interrogé au sujet de cette prétendue différence, M. Wooley a simplement répondu :

[traduction]

Le support de palier est une section tubulaire, donc [M. Thicke] ne fait que donner un autre nom à quelque chose qui a la même fonction.

 

[190]       Je reconnais que les différences entre le tube carottier (comme présenté dans le brevet Halvorsen ou le tube carottier Christensen) et le brevet 630 sont probablement suffisantes pour réfuter l’argument de l’antériorité. Cependant, la question de l'évidence est de savoir s’il irait de soi, pour une personne versée dans l’art, d’essayer d’appliquer les éléments des tubes carottiers à un moteur de forage de fond.

 

[191]       Les différences entre le palier divulgué par le brevet Geczy et celui du brevet 630 sont importantes. En fait, elles sont importantes au point que je ne puis voir comment, sans rien d’autre, la personne versée dans l’art pourrait appliquer les enseignements du brevet Geczy pour en arriver au brevet 630. Toutefois, comme nous le constaterons plus loin, il se peut bien que le brevet Geczy, considéré dans la mosaïque entière qui comprend l'art antérieur, contribue à rendre le brevet 630 évident.

 

F.         L’évidence des différences

 

[192]       La question suivante est de savoir si les différences mentionnées entre l'art antérieur et le brevet 630 auraient été évidentes pour la personne moyennement versée dans l’art. Pour reprendre les termes du critère énoncé dans Sanofi-Synthelabo, abstraction faite de toute connaissance du brevet 630, les différences constitueraient‑elles des étapes évidentes pour la personne versée dans l’art ou dénoteraient‑elles quelque inventivité?

 

[193]       Pour décider si l’application des éléments des tubes carottiers ou de l’autre antériorité iraient de soi, je m’en tiendrai aux indications du juge Rothstein dans Sanofi-Synthelabo, précité, aux paragraphes 64, 65 et 66. Le juge Rothstein a affirmé que le critère dit de l’« essai allant de soi », dérivé de la jurisprudence du Royaume-Uni, commande la prudence et qu’il faut comprendre que « essai allant de soi » signifie qu’il est « très clair » ou « plus ou moins évident » que l’essai réussira :

J’estime que la notion d’« essai allant de soi » n’est applicable que lorsqu’il est très clair ou, pour reprendre les termes employés par le lord juge Jacob, qu’il est plus ou moins évident, que l’essai sera fructueux.

 

[194]       Pour conclure qu’une invention résulte d’un « essai allant de soi », le tribunal doit être convaincu selon la prépondérance des probabilités qu’il allait plus ou moins de soi de tenter d’arriver à l’invention. La seule possibilité d’obtenir quelque chose ne suffit pas (Sanofi‑Synthelabo, précité, aux paragraphes 65 et 66).

 

[195]       Si une analyse fondée sur le critère de l’« essai allant de soi » est justifiée, le juge Rothstein a proposé une liste non exhaustive de facteurs susceptibles de s'appliquer (Sanofi‑Synthelabo, précité, aux paragraphes 69 à 71) qui se résument comme suit :

 

1.                  Est‑il plus ou moins évident que l’essai sera fructueux? Existe‑t‑il un nombre déterminé de solutions prévisibles connues des personnes versées dans l’art?

 

2.                  Quels efforts — leur nature et leur ampleur — sont requis pour réaliser l’invention? Les essais sont‑ils courants ou l’expérimentation est‑elle longue et ardue de telle sorte que les essais ne peuvent être qualifiés de courants?

 

3.                  L’art antérieur fournit‑il un motif de rechercher la solution au problème qui sous‑tend le brevet?

 

4.                  Quelles sont les mesures concrètes ayant mené à l’invention? Du temps, de l’argent et des efforts y ont‑ils été consacrés?

 

[196]       Dans une affaire plus récente, Pfizer Canada Inc c Apotex Inc, 2009 CAF 8, [2009] 4 RCF 223, la Cour d’appel fédérale a donné au paragraphe 29 d’autres éclaircissements sur la notion d’« essai allant de soi » :

Le critère reconnu est celui de l’« essai allant de soi », où l’expression « allant de soi » signifie « très clair ». Suivant ce critère, une invention n’est pas rendue évidente par le fait que l’état de la technique aurait éveillé la personne versée dans l’art à la possibilité que quelque chose valait d’être tenté. L’invention doit aller plus ou moins de soi.

 

[Non souligné dans l'original.]

 

[197]       Une analyse fondée sur le critère de l’« essai allant de soi » est nettement justifiée en l’espèce. Le premier facteur est le plus pertinent; au procès, la preuve portait essentiellement sur ce facteur. Autrement dit, l’invention allait‑elle plus ou moins de soi?

 

[198]       La personne versée dans l’art n’examinerait pas seulement l'art antérieur; elle serait en mesure de faire certaines adaptations dénuées de caractère inventif pour faire en sorte de résoudre son problème. La première source de référence – le World Oil Composite Catalog – révélerait le tube carottier Christensen. Même M. Thicke a reconnu que la personne moyennement versée dans l’art pouvait faire les adaptations décrites dans le World Oil Composite Catalog, en disant ceci :

[traduction]

Je pense qu’une personne versée dans l’art feuilletterait des catalogues de paliers, par exemple, où l’on peut trouver de nombreux exemples de paliers différents dotés d’épaulements à divers endroits. Je pense que cette personne regarderait ces exemples et se dirait : « Oui, je pourrais trouver le moyen de les adapter à mon – à mon outil; si j’ajoutais cette structure de – autour de mon palier, j'aurais un palier qui ferait vraiment bien l’affaire pour moi. »

 

[199]       L’une des choses principales à retenir des deux tubes carottiers et de leurs paliers est la façon dont ils fonctionnent pour réduire la friction engendrée par la rotation relative de deux surfaces. Dans le cas du tube carottier Christensen ou Halvorsen, il y a rotation relative. À mon avis, il importe peu que la surface intérieure du tube carottier demeure stationnaire. Cette différence entre un tube carottier et le brevet 630 n’empêcherait pas une personne moyennement versée dans l’art d’appliquer le palier d’un tube carottier au palier d’un moteur de forage de fond.

 

[200]       À l’exception de M. Thicke, tous les experts ont convenu que l’application des éléments du palier d’un tube carottier à celui d’un moteur à boue irait de soi. Je suis d’accord. Il va plus ou moins de soi que le palier d’un tube carottier peut facilement être adapté dans le but de l’utiliser dans un moteur de forage de fond. Face à la problématique soulevée par Bill Wenzel, je suis convaincue qu’une personne moyennement versée dans l’art verrait qu'il est possible d’utiliser un palier de butée bidirectionnel dans une application différente mais connexe; en somme, il lui serait évident d’essayer d’utiliser, dans un moteur de fond, le palier du tube carottier Christensen ou celui décrit dans le brevet Halvorsen. À mon avis et selon les experts des défendeurs, les adaptations requises pour ce faire sont minimes. De plus, les efforts requis pour adapter le palier ne seraient ni prolongés ni ardus.

 

[201]       Même en supposant qu’une certaine inventivité serait tout de même nécessaire pour adapter le palier d'un tube carottier à un moteur de forage de fond, je demeure convaincue que le critère relatif à l'évidence serait satisfait en raison du brevet Geczy. Comme l’a observé M. Nelson, [traduction] « le brevet Geczy vise clairement un outil de fond à doubles paliers ». À partir du brevet Geczy, une personne moyennement versée dans l’art verrait qu'il est possible d’utiliser des paliers de butée bidirectionnels dans un moteur de forage de fond. Comme l’a décrit M. Wooley, le brevet Geczy contient  bien des épaulements alignés – bien qu’ils ne soient pas parallèles (pièce 1, onglet 59, article 4.10.3). Il y a certainement certaines leçons à tirer du palier Geczy.

 

[202]       Je reconnais que les différences sont nombreuses entre le palier Geczy et celui du brevet 630. Dans ce cas particulier, l’art antérieur ne suffirait pas, à lui seul, à rendre le brevet 630 évident. Cependant, le brevet Geczy se rapporte à un ensemble formé de paliers de butée bidirectionnels logés dans une chambre de confinement. À mon avis, les connaissances glanées lors de l'examen du tube carottier, conjuguées à celles tirées du brevet Geczy, amèneraient une personne moyennement versée dans l’art à l’invention décrite au brevet 630, et ce, avec peu d’efforts.

 

[203]       Comme dernière observation, je fais remarquer que Bill Wenzel a réussi à en arriver à la conception très rapidement, apparemment en peu temps ou avec peu d’efforts. Lorsqu’on lui a demandé quand il avait conçu le dispositif illustré dans le brevet, il a répondu ce qui suit :

[Traduction]

Je dirais que j’ai commencé à y travailler peut‑être, approximativement peut‑être un mois à peut‑être deux mois tout au plus avant la demande.

 

Il ne s’agit pas d’une invention dont la création a exigé des mois ou des années d’efforts.

 

[204]       Même si l’on tient compte du fait que Bill Wenzel est probablement plus compétent que notre personne fictive moyennement versée dans l’art, cette période extrêmement courte pour en arriver à la conception du brevet 630 est incroyable. Dans la présente affaire, le peu de temps dont Bill Wenzel a eu besoin pour mettre au point le palier soutient la conclusion selon laquelle l’invention était évidente.

 

G.        Conclusion concernant l’évidence

 

[205]       En somme, compte tenu des connaissances générales qu’il est possible d’acquérir grâce au tube carottier et au brevet Geczy, il va plus ou moins de soi qu'une personne versée dans l'art en serait arrivée à créer un palier pour moteur de forage comme celui décrit au brevet 630 et possédant tous les éléments essentiels du brevet 630 tels qu'énoncés au paragraphe 77 des présents motifs.

 

[206]       Pour reprendre les termes de l’article 28.3 de la Loi sur les brevets, j’estime que l’objet des revendications 1 et 2 du brevet 630 aurait été, à la date de la revendication, évident pour une personne versée dans l’art ou la science dont relève l’objet, eu égard à toute communication qui a été faite par une personne (autre que le demandeur ou un tiers ayant obtenu de lui l’information à cet égard de façon directe ou autrement) avant la date de la revendication de manière telle qu’il est devenu accessible au public au Canada ou ailleurs.

 

[207]       Je conclus, d’après la preuve dont je dispose que les revendications 1 et 2 du brevet 630 sont invalides pour cause d’évidence.

 

VIII.    UTILITÉ

 

[208]       Les défendeurs soutiennent également que le brevet 630 est invalide en raison du défaut de démontrer son utilité.

 

[209]       Pour établir l’absence d’utilité, la partie soupçonnée de contrefaçon doit démontrer que l’invention ne produira rien du tout ou qu’elle ne fera pas ce que le mémoire descriptif prédit qu’elle fera (Consolboard Inc c MacMillan Bloedel (Saskatchewan) Ltd, [1981] 1 RCS 504, 122 DLR (3d) 203 [Consolboard]; Eli Lilly Canada Inc c Novopharm Ltd, 2010 CAF 197, au paragraphe 75, 85 CPR (4th) 413 [Lilly]). Si le mémoire descriptif contient la « promesse » d’un résultat précis, il sera alors exigé que l’invention fonctionne de la manière prévue par le brevet (Consolboard, précité; Lilly, précité, au paragraphe 76).

 

[210]       Dans Lilly, précité, au paragraphe 93, la Cour d’appel a confirmé que la « promesse du brevet est un élément fondamental dans l’analyse de l’utilité » et qu’elle doit « être déterminée au début » de cette analyse. La Cour d’appel a expliqué que le juge de première instance doit interpréter la promesse « dans le contexte du brevet dans son ensemble, du point de vue de la personne versée dans l’art par rapport à l’état d’avancement de la science et aux données disponibles au moment du dépôt du brevet » (Lilly, précité, au paragraphe 93). Dans Apotex Inc c Pfizer Canada Inc, 2011 CAF 236, [2011] ACF no 1234, la Cour d’appel a affirmé au paragraphe 17 qu’un juge doit vérifier la promesse du brevet en fonction de son objet. La promesse du brevet est une question de droit, mais son analyse exigera généralement l’aide de témoins experts (Lilly, précité, au paragraphe 80). Il incombe à la partie soupçonnée de contrefaçon de prouver que l’invention n’a pas d’utilité (Lilly, précité, aux paragraphes 81 et 107).

 

[211]       Le premier problème que posent les arguments des défendeurs sur cette question est qu’ils n’ont pas clairement défini la promesse du brevet 630. Aucun des experts des défendeurs n’a fourni d’opinion sur la promesse jusqu’à ce qu’ils y soient invités durant leur témoignage. Là encore, les experts ne semblaient pas bien la saisir ni être capables de donner une réponse compréhensible.

 

[212]       Le second problème est que les experts des défendeurs se sont intéressés principalement aux faiblesses de la conception du palier du brevet 630. Ils étaient convaincus qu’il s’userait rapidement. Ce n’est pas, bien entendu, le critère de l’utilité. Nulle part dans le mémoire descriptif du brevet 630, l’inventeur ne fait-il la promesse d’une durabilité particulière.

 

[213]       Sur ce fondement, je conclurais vraisemblablement que les défendeurs ne se sont pas acquittés de leur fardeau de démontrer que le brevet 630 n’a pas d’utilité. Toutefois, compte tenu de ce que j’ai conclu concernant les critères de l’évidence et de l’antériorité, il n’est pas nécessaire de tirer une conclusion définitive sur cette question.

 

IX.       CONCLUSION

 

[214]       En conclusion, l’action des demandeurs sera rejetée. La demande reconventionnelle des défendeurs sera accueillie et ils auront droit à un jugement déclaratoire portant que le brevet 630 est invalide, lequel jugement sera rendu en même temps que les présents motifs de jugement.

 

[215]       En résumé, j’ai tiré deux conclusions principales, l’une comme l’autre étant suffisante pour conclure que les revendications 1 et 2 du brevet 630 sont invalides. De plus, puisque la revendication 3 est une revendication dépendante, ces deux conclusions font en sorte que la revendication 3 est également invalide.

 

1.                  L’objet des revendications 1 et 2 du brevet 630 a fait l'objet d'une communication, avant la date de la revendication, qui l'a rendue accessible au public au Canada ou ailleurs. Autrement dit, le palier décrit dans les revendications 1 et 2 du brevet 630 a été antériorisé par le palier 3103.

 

2.                  L’objet des revendications 1 et 2 du brevet 630 aurait été évident pour une personne moyennement versée dans l’art à la date de la revendication. En d’autres termes, compte tenu du tube carottier Halvorsen ou Christensen et du brevet Geczy, le palier du brevet 630 aurait été évident pour une personne versée dans l’art.

 

[216]       Compte tenu de ces conclusions, il n’est pas nécessaire que je tranche de manière définitive les autres questions soulevées par les parties dans leurs actes de procédure.

 

[217]       Les défendeurs ont droit aux dépens, qui sont à la charge des demandeurs. À la fin du procès, j’ai entendu les observations des parties sur la question des dépens. Ni l’une ni l’autre ne propose que je fixe un montant global; les parties s’attendent plutôt à ce que j’énonce les principes ou les lignes directrices qui devraient éclairer le calcul des dépens.

 

[218]       De façon générale, je souscris aux observations des défendeurs concernant l'adjudication des dépens. Certains éléments exigent toutefois que je formule des observations.

 

Experts en génie. J’ai de sérieuses réserves concernant le recouvrement par les défendeurs des frais relatifs aux trois experts en génie – MM. Miller, Nelson et Wooley. Je suis d’accord avec les demandeurs pour dire qu’il y avait beaucoup de chevauchement entre les opinions des trois experts, dont les services ont été retenus pour fournir une expertise en génie sur les questions relatives à la validité du brevet. Je ne vois aucune raison pour expliquer qu’un seul expert – ou peut‑être deux – n’aurait pas été suffisant pour fournir les opinions nécessaires à la Cour. Dans les circonstances et dans l’exercice de mon pouvoir discrétionnaire, je limiterai le recouvrement des frais relatifs aux experts à 60 p. 100 du total des honoraires et débours raisonnables des trois experts.

 

M. Finnie et M. Kanak. Les demandeurs soutiennent que les défendeurs ne devraient pas se voir accorder les frais de leur témoin expert, M. Finnie, et de leur témoin des faits, M. Kanak. Je ne suis pas d’accord. L’expertise de M. Finnie dans le domaine des médias numériques a été utile pour établir la genèse du palier 3103, une question qui était, dans une large mesure, essentielle à mes conclusions en l’espèce. La preuve factuelle de M. Kanak portait sur une question en litige. Même si la preuve de M. Kanak n’était pas nécessaire au bout du compte, les parties ne pouvaient pas le savoir lorsqu’il a comparu pour témoigner. Eu égard aux circonstances, les frais applicables de ces deux témoins devraient être recouvrables.

 

Requête concernant les assignations à témoigner. Le 31 août 2011, les défendeurs ont présenté un dossier de requête concernant une demande ex parte autorisant la délivrance d'assignations à témoigner. La Cour a décidé que la requête ne devrait pas être entendue ex parte, de sorte que les demandeurs ont dû préparer un dossier de requête en réponse. Les défendeurs se sont ensuite désistés leur requête. Si la requête avait été entendue, je suis bien certaine qu’elle aurait été rejetée et que les dépens auraient été adjugés aux demandeurs quelle que soit l’issue de la cause. Par conséquent, aux fins du calcul des dépens dans la présente affaire, les parties devraient procéder comme si pareille ordonnance avait été rendue.

 

Défaut d’admettre les faits. Contrairement à ce qu’affirment les défendeurs, je ne crois pas qu’il y ait lieu d’adjuger des dépens plus élevés parce que les demandeurs auraient refusé d’admettre certains faits.

 

Monsieur Pheasey. Monsieur Frederick Pheasey, directeur de l’une des sociétés défenderesses, a été constitué partie défenderesse. Les défendeurs soutiennent qu’ils devraient avoir droit à des dépens plus élevés parce que les demandeurs n’ont pas, au procès, donné suite aux allégations d’incitation qui auraient pu viser M. Pheasey. Je ne suis pas disposée à adjuger des dépens plus élevés pour ce motif. S’il est vrai que l’incitation n’a pas été établie (ou même s’il n’y a pas été donné suite) au procès, cette question est demeurée une question à débattre jusqu’au moment du procès. Les frais accrus qui auraient pu être engagés pour défendre M. Pheasey sont vraisemblablement largement compensés par le fait que les demandeurs n’ont présenté aucune preuve sur la question de l’incitation, écourtant ainsi largement la durée du procès.

 

[219]       En plus de ce qui précède, je suis d’avis d’ordonner qu'il soit tenu compte de ce qui suit dans le calcul des dépens :

 

·                    les dépens devraient être taxés suivant le nombre maximal d’unités prévues à la colonne IV du tableau du tarif B;

 

·                    les défendeurs ont droit aux honoraires d’un second avocat pour la préparation et la présence à la conférence préparatoire et aux conférences de gestion de l’instruction, la préparation des documents de requête et la préparation et la présence au procès et la préparation du plaidoyer;

 

·                    outre les honoraires et les débours des experts établis précédemment, les défendeurs ont droit au recouvrement de tous les débours raisonnables.

 

[220]       Enfin, je remercie les avocats pour leur conduite au cours du procès. Ils étaient bien préparés et ont fait preuve de professionnalisme, de courtoisie – tant envers le tribunal que les autres parties – et de compétence. Je suis particulièrement ravie de l’efficacité avec laquelle le procès s’est déroulé.


 

POST‑SCRIPTUM

 

[1]               Les présents motifs de jugement constituent la version intégrale des motifs confidentiels de jugement rendus le 18 novembre 2011 conformément à la directive  du 18 novembre 2011.

 

[2]               La Cour a demandé aux avocats des parties s’ils avaient des objections à ce que les motifs soient rendus publics dans leur version intégrale. Le 25 novembre 2011, les avocats des défendeurs ont informé la Cour qu’aucune partie des motifs confidentiels du jugement n’avait à être caviardée mais ils ont toutefois demandé que certaines modifications soient apportées. J’accepte les modifications demandées par les avocats des défendeurs. Ces modifications ont été d’ailleurs incorporées aux présents motifs publics du jugement.

 

« Judith A. Snider »

Juge

Ottawa (Ontario)

Motifs publics – 29 novembre 2011

Motifs confidentiels – 18 novembre 2011

 

Traduction certifiée conforme

Linda Brisebois, LL.B.


COUR FÉDÉRALE

 

AVOCATS INSCRITS AU DOSSIER

 

 

DOSSIER :                                        T-1327-05

 

INTITULÉ :                                       WENZEL DOWHOLE TOOLS LTD et al c

                                                            NATIONAL-OILWELL CANADA et al

 

LIEU DE L’AUDIENCE :                 Edmonton (Alberta)

 

DATE DE L’AUDIENCE :               Les 19, 20 et 21 septembre 2011

                                                            Les 26, 27, 28 et 29 septembre 2011

                                                            Les 3, 5 et 13 octobre 2011

 

MOTIFS PUBLICS

DU JUGEMENT :                             LA JUGE SNIDER

 

Les MOTIFS CONFIDENTIELS DU JUGEMENT ont été rendus le 18 novembre 2011 et les MOTIFS PUBLICS DU JUGEMENT l’ont été le 29 novembre 2011.

 

COMPARUTIONS :

 

Grant S. Dunlop

 

POUR LES DEMANDEURS ET DÉFENDEURS RECONVENTIONNELS

 

Kim D. Wakefield et

Dennis R. Schmidt

POUR LES DÉFENDEURS ET DEMANDEURS RECONVENTIONNELS

 

 

AVOCATS INSCRITS AU DOSSIER :

 

Ogilvie LLP

Avocats

Edmonton (Alberta)

 

POUR LES DEMANDEURS ET DÉFENDEURS RECONVENTIONNELS

Fraser Milner Casgrain LLP

Avocats

Edmonton (Alberta)

POUR LES DÉFENDEURS ET DEMANDEURS RECONVENTIONNELS

 

 

 

 Vous allez être redirigé vers la version la plus récente de la loi, qui peut ne pas être la version considérée au moment où le jugement a été rendu.